Power management strategies in wearable biosensing patches
OCT 10, 20259 MIN READ
Generate Your Research Report Instantly with AI Agent
Patsnap Eureka helps you evaluate technical feasibility & market potential.
Wearable Biosensing Power Management Background and Objectives
Wearable biosensing patches represent a significant advancement in healthcare monitoring technology, enabling continuous and non-invasive tracking of physiological parameters. The evolution of these devices has been marked by progressive miniaturization and integration of sensing capabilities, transitioning from bulky medical equipment to discreet, skin-adherent patches. This technological trajectory has been driven by innovations in flexible electronics, biocompatible materials, and low-power microelectronics since the early 2000s.
Power management has emerged as a critical bottleneck in the development of these systems. Initially, wearable biosensors relied on traditional battery technologies with limited capacity and rigid form factors, constraining both functionality and wear duration. The field has subsequently witnessed a paradigm shift toward ultra-low-power design methodologies and alternative energy sources to address these limitations.
The primary technical objective in this domain is to develop power management strategies that enable continuous, long-term operation of wearable biosensing patches while maintaining minimal form factor and user burden. This encompasses achieving power consumption below 1mW for multi-parameter sensing systems, extending operational lifetimes to weeks or months without intervention, and implementing energy harvesting techniques that can supplement or replace traditional batteries.
Current research aims to optimize the energy efficiency across all system components, including sensing elements, signal processing circuits, wireless communication modules, and data storage. Particular emphasis is placed on developing adaptive power management algorithms that can dynamically adjust system parameters based on contextual information and physiological states.
The field is simultaneously pursuing advancements in energy harvesting technologies specifically tailored for on-body applications. These include thermoelectric generators leveraging body-ambient temperature differentials, piezoelectric systems capturing energy from body movement, and near-field electromagnetic harvesting from ambient RF sources or dedicated transmitters.
Emerging objectives include the development of "zero-power" sensing paradigms that can operate without active power sources for specific applications, as well as the integration of artificial intelligence at the edge to enable intelligent power management decisions based on real-time data analysis.
The convergence of these technological trajectories aims to enable truly unobtrusive, "wear-and-forget" biosensing systems that can continuously monitor health parameters without user intervention for extended periods. This capability would represent a transformative advancement in preventive healthcare, chronic disease management, and remote patient monitoring paradigms.
Power management has emerged as a critical bottleneck in the development of these systems. Initially, wearable biosensors relied on traditional battery technologies with limited capacity and rigid form factors, constraining both functionality and wear duration. The field has subsequently witnessed a paradigm shift toward ultra-low-power design methodologies and alternative energy sources to address these limitations.
The primary technical objective in this domain is to develop power management strategies that enable continuous, long-term operation of wearable biosensing patches while maintaining minimal form factor and user burden. This encompasses achieving power consumption below 1mW for multi-parameter sensing systems, extending operational lifetimes to weeks or months without intervention, and implementing energy harvesting techniques that can supplement or replace traditional batteries.
Current research aims to optimize the energy efficiency across all system components, including sensing elements, signal processing circuits, wireless communication modules, and data storage. Particular emphasis is placed on developing adaptive power management algorithms that can dynamically adjust system parameters based on contextual information and physiological states.
The field is simultaneously pursuing advancements in energy harvesting technologies specifically tailored for on-body applications. These include thermoelectric generators leveraging body-ambient temperature differentials, piezoelectric systems capturing energy from body movement, and near-field electromagnetic harvesting from ambient RF sources or dedicated transmitters.
Emerging objectives include the development of "zero-power" sensing paradigms that can operate without active power sources for specific applications, as well as the integration of artificial intelligence at the edge to enable intelligent power management decisions based on real-time data analysis.
The convergence of these technological trajectories aims to enable truly unobtrusive, "wear-and-forget" biosensing systems that can continuously monitor health parameters without user intervention for extended periods. This capability would represent a transformative advancement in preventive healthcare, chronic disease management, and remote patient monitoring paradigms.
Market Analysis for Energy-Efficient Wearable Patches
The wearable biosensing patch market is experiencing significant growth, driven by increasing health consciousness and the rising prevalence of chronic diseases requiring continuous monitoring. Current market valuations place the global wearable medical device market at approximately 23 billion USD in 2023, with projections indicating a compound annual growth rate of 19% through 2030. Energy-efficient biosensing patches represent a rapidly expanding segment within this broader market.
Consumer demand for these devices is primarily fueled by the aging global population, with individuals over 65 representing the fastest-growing demographic segment for wearable health technology adoption. Healthcare providers are increasingly recommending these devices for remote patient monitoring, creating a substantial institutional market alongside direct consumer sales. The COVID-19 pandemic has accelerated this trend, with remote monitoring solutions seeing a 40% increase in adoption since 2020.
Market research indicates that battery life and energy efficiency rank among the top three purchasing considerations for consumers of wearable health technology, alongside accuracy and comfort. Surveys show that 78% of users cite insufficient battery life as a major pain point in current wearable devices, highlighting the critical importance of power management innovations.
The healthcare sector represents the largest market for biosensing patches, accounting for approximately 65% of total sales. Within this sector, cardiac monitoring applications lead with 38% market share, followed by glucose monitoring at 27%. Consumer fitness applications constitute a growing secondary market, particularly as energy efficiency improvements enable longer wear times and enhanced functionality.
Regional analysis reveals North America as the dominant market with 42% share, followed by Europe at 28% and Asia-Pacific at 22%. However, the Asia-Pacific region is demonstrating the fastest growth rate at 24% annually, driven by increasing healthcare expenditure and technological adoption in China and India.
Price sensitivity varies significantly across market segments. Premium medical-grade devices command prices between 100-500 USD, while consumer-oriented products typically range from 50-150 USD. Energy efficiency innovations that extend device lifespan or reduce replacement frequency have demonstrated a positive impact on consumer willingness to pay premium prices, with market research indicating consumers will pay up to 30% more for devices offering double the battery life.
Market forecasts suggest that innovations in energy harvesting technologies could potentially disrupt current market dynamics by enabling self-powered or ultra-long-lasting devices, potentially creating new market segments and use cases previously constrained by power limitations.
Consumer demand for these devices is primarily fueled by the aging global population, with individuals over 65 representing the fastest-growing demographic segment for wearable health technology adoption. Healthcare providers are increasingly recommending these devices for remote patient monitoring, creating a substantial institutional market alongside direct consumer sales. The COVID-19 pandemic has accelerated this trend, with remote monitoring solutions seeing a 40% increase in adoption since 2020.
Market research indicates that battery life and energy efficiency rank among the top three purchasing considerations for consumers of wearable health technology, alongside accuracy and comfort. Surveys show that 78% of users cite insufficient battery life as a major pain point in current wearable devices, highlighting the critical importance of power management innovations.
The healthcare sector represents the largest market for biosensing patches, accounting for approximately 65% of total sales. Within this sector, cardiac monitoring applications lead with 38% market share, followed by glucose monitoring at 27%. Consumer fitness applications constitute a growing secondary market, particularly as energy efficiency improvements enable longer wear times and enhanced functionality.
Regional analysis reveals North America as the dominant market with 42% share, followed by Europe at 28% and Asia-Pacific at 22%. However, the Asia-Pacific region is demonstrating the fastest growth rate at 24% annually, driven by increasing healthcare expenditure and technological adoption in China and India.
Price sensitivity varies significantly across market segments. Premium medical-grade devices command prices between 100-500 USD, while consumer-oriented products typically range from 50-150 USD. Energy efficiency innovations that extend device lifespan or reduce replacement frequency have demonstrated a positive impact on consumer willingness to pay premium prices, with market research indicating consumers will pay up to 30% more for devices offering double the battery life.
Market forecasts suggest that innovations in energy harvesting technologies could potentially disrupt current market dynamics by enabling self-powered or ultra-long-lasting devices, potentially creating new market segments and use cases previously constrained by power limitations.
Current Power Management Technologies and Limitations
Current power management technologies for wearable biosensing patches primarily rely on battery-based solutions, with lithium-ion and lithium-polymer batteries dominating the market due to their relatively high energy density and rechargeability. These conventional power sources typically provide 3-4.2V operating voltage and energy densities ranging from 100-265 Wh/kg, sufficient for many sensing applications but still limiting for long-term continuous monitoring scenarios.
Thin-film batteries have emerged as an alternative, offering flexibility and reduced form factors (thickness <1mm) that align better with wearable patch requirements. However, they suffer from significantly lower energy densities (typically 10-30 Wh/kg) and higher manufacturing costs, limiting their widespread adoption despite their physical advantages for skin-mounted applications.
Power management integrated circuits (PMICs) represent a critical component in current wearable biosensing systems. These specialized chips incorporate DC-DC converters, voltage regulators, and battery charging circuits to optimize power distribution. Advanced PMICs implement dynamic voltage scaling and adaptive power management algorithms that can reduce power consumption by 30-40% compared to static power management approaches.
Energy harvesting technologies have begun supplementing battery power in commercial wearable patches, though they remain limited in practical implementation. Photovoltaic cells can generate 1-10 mW/cm² in outdoor conditions but only 10-100 μW/cm² indoors. Thermoelectric generators exploit body-ambient temperature differentials but typically yield just 10-30 μW/cm² under optimal conditions. Piezoelectric and triboelectric harvesters convert mechanical motion to electricity but produce inconsistent power outputs highly dependent on user activity levels.
The primary limitations of current power management technologies center around energy density constraints, with even the best battery technologies providing insufficient power for continuous, high-frequency biosignal monitoring beyond 24-48 hours. This creates a fundamental trade-off between monitoring duration, sampling frequency, and device size that designers must constantly navigate.
Wireless power transfer technologies, including near-field inductive coupling and far-field RF harvesting, offer promising alternatives but suffer from low efficiency (typically <10% at practical distances) and pose potential safety concerns regarding tissue heating and electromagnetic exposure, particularly for continuous use scenarios.
Another significant limitation is the lack of truly integrated power management systems that effectively combine multiple harvesting modalities with intelligent storage and consumption strategies. Current systems typically rely on a single power source with basic power management, rather than implementing holistic approaches that could significantly extend device lifetime and functionality.
Thin-film batteries have emerged as an alternative, offering flexibility and reduced form factors (thickness <1mm) that align better with wearable patch requirements. However, they suffer from significantly lower energy densities (typically 10-30 Wh/kg) and higher manufacturing costs, limiting their widespread adoption despite their physical advantages for skin-mounted applications.
Power management integrated circuits (PMICs) represent a critical component in current wearable biosensing systems. These specialized chips incorporate DC-DC converters, voltage regulators, and battery charging circuits to optimize power distribution. Advanced PMICs implement dynamic voltage scaling and adaptive power management algorithms that can reduce power consumption by 30-40% compared to static power management approaches.
Energy harvesting technologies have begun supplementing battery power in commercial wearable patches, though they remain limited in practical implementation. Photovoltaic cells can generate 1-10 mW/cm² in outdoor conditions but only 10-100 μW/cm² indoors. Thermoelectric generators exploit body-ambient temperature differentials but typically yield just 10-30 μW/cm² under optimal conditions. Piezoelectric and triboelectric harvesters convert mechanical motion to electricity but produce inconsistent power outputs highly dependent on user activity levels.
The primary limitations of current power management technologies center around energy density constraints, with even the best battery technologies providing insufficient power for continuous, high-frequency biosignal monitoring beyond 24-48 hours. This creates a fundamental trade-off between monitoring duration, sampling frequency, and device size that designers must constantly navigate.
Wireless power transfer technologies, including near-field inductive coupling and far-field RF harvesting, offer promising alternatives but suffer from low efficiency (typically <10% at practical distances) and pose potential safety concerns regarding tissue heating and electromagnetic exposure, particularly for continuous use scenarios.
Another significant limitation is the lack of truly integrated power management systems that effectively combine multiple harvesting modalities with intelligent storage and consumption strategies. Current systems typically rely on a single power source with basic power management, rather than implementing holistic approaches that could significantly extend device lifetime and functionality.
Existing Power Optimization Strategies for Biosensing Patches
01 Dynamic power management systems
Dynamic power management systems adjust power consumption based on real-time needs and usage patterns. These systems monitor device activity and automatically transition between different power states to optimize energy efficiency. By implementing intelligent algorithms that can predict usage patterns and adjust power accordingly, these systems significantly reduce energy consumption during periods of low activity while ensuring optimal performance when needed.- Dynamic power management systems: Dynamic power management systems adjust power consumption based on real-time needs and usage patterns. These systems monitor device activities and automatically switch between different power states to optimize energy usage. By implementing intelligent algorithms that can predict usage patterns, these systems can proactively manage power resources, reducing energy waste during idle periods while ensuring optimal performance during active use.
- Energy-efficient hardware architectures: Energy-efficient hardware architectures focus on designing components that inherently consume less power while maintaining performance. These designs incorporate low-power processors, efficient memory systems, and optimized circuit layouts. By reducing voltage requirements, implementing power gating techniques, and utilizing specialized components designed for specific tasks, these architectures significantly reduce overall power consumption in electronic devices.
- Software-based power optimization: Software-based power optimization techniques focus on developing applications and operating systems that minimize energy consumption. These include code optimization to reduce processing requirements, efficient resource allocation, and intelligent scheduling algorithms. By implementing sleep modes, reducing background processes, and optimizing data processing workflows, software solutions can significantly extend battery life and reduce power consumption without hardware modifications.
- Power management in networked systems: Power management strategies for networked systems coordinate energy usage across multiple connected devices. These approaches include centralized power control systems, distributed energy management protocols, and cloud-based optimization services. By synchronizing power states, balancing workloads, and implementing intelligent routing algorithms, these strategies reduce overall energy consumption in complex systems like data centers, IoT networks, and telecommunications infrastructure.
- Renewable energy integration and storage: Strategies for integrating renewable energy sources with power management systems focus on maximizing the use of sustainable energy while ensuring consistent power availability. These approaches include intelligent battery management systems, predictive algorithms for energy harvesting, and hybrid power solutions. By optimizing energy storage, implementing smart charging protocols, and dynamically switching between power sources based on availability and demand, these systems reduce reliance on traditional power grids while maintaining operational efficiency.
02 Energy-efficient hardware architectures
Energy-efficient hardware architectures focus on designing components that inherently consume less power while maintaining performance. These designs incorporate low-power processors, efficient memory systems, and optimized circuit layouts. By reducing voltage requirements, implementing power gating techniques, and utilizing specialized components designed for specific tasks, these architectures minimize energy consumption at the hardware level.Expand Specific Solutions03 Software-based power optimization techniques
Software-based power optimization techniques involve implementing algorithms and programming practices that reduce computational overhead and energy consumption. These include code optimization, efficient resource allocation, and intelligent task scheduling. By minimizing unnecessary processing, optimizing data access patterns, and implementing sleep modes when applications are idle, these techniques can significantly improve power efficiency without hardware modifications.Expand Specific Solutions04 Power management in networked and distributed systems
Power management strategies for networked and distributed systems focus on optimizing energy consumption across multiple connected devices or components. These approaches include load balancing, coordinated sleep states, and intelligent data routing to minimize overall system power consumption. By implementing protocols that allow devices to communicate their power states and coordinate activities, these systems can achieve significant energy savings while maintaining network performance and reliability.Expand Specific Solutions05 Energy management frameworks and policies
Energy management frameworks and policies provide comprehensive approaches to power efficiency through structured methodologies and governance. These frameworks include energy auditing, setting efficiency targets, implementing monitoring systems, and establishing organizational policies for power usage. By creating standardized approaches to energy management, organizations can systematically identify inefficiencies, implement improvements, and track progress toward energy reduction goals.Expand Specific Solutions
Leading Companies in Wearable Power Management
The wearable biosensing patch power management market is in a growth phase, characterized by increasing adoption across healthcare monitoring applications. The market is expanding rapidly, projected to reach significant scale as remote patient monitoring becomes mainstream. Technologically, the field is advancing from early-stage solutions toward maturity, with key players driving innovation across different approaches. Companies like Philips, Huawei, and Sony are leveraging their consumer electronics expertise to develop energy-efficient solutions, while specialized firms such as LifeSignals and Verily focus on healthcare-specific implementations. Academic institutions including Caltech and Zhejiang University contribute fundamental research in energy harvesting and low-power designs. The competitive landscape features both established medical device manufacturers and technology companies racing to develop patches with longer battery life, improved comfort, and enhanced data capabilities.
Koninklijke Philips NV
Technical Solution: Philips has developed a sophisticated power management framework for wearable biosensing patches that integrates hardware and software optimization strategies. Their approach employs a multi-processor architecture with a primary ultra-low-power microcontroller handling essential functions and a secondary processor that activates only when complex processing is required. Philips' patches utilize advanced power gating techniques that completely shut down unused circuit blocks, reducing both active and leakage power consumption. Their system features adaptive biopotential acquisition circuits that dynamically adjust sampling rates and resolution based on signal quality and physiological context, conserving power during periods of stable monitoring. The patches incorporate a proprietary wireless protocol optimized for medical sensing applications that minimizes transmission overhead and employs sophisticated power management during connection maintenance. Philips has also implemented predictive battery management algorithms that estimate remaining operational time based on usage patterns and can adjust functionality to extend critical monitoring capabilities as battery levels decrease. Their patches feature thin, flexible batteries with high energy density specifically designed for wearable form factors, complemented by power conditioning circuits that maximize usable energy extraction from the battery cells.
Strengths: Philips' comprehensive approach balances clinical-grade monitoring with extended wear time, supported by their extensive experience in medical device development. Their adaptive sensing technologies maintain diagnostic quality while significantly reducing power consumption. Weaknesses: The sophisticated power management system adds complexity to firmware development and validation. The multi-processor approach, while power-efficient, increases component costs compared to simpler designs.
Huawei Technologies Co., Ltd.
Technical Solution: Huawei has developed a comprehensive power management strategy for wearable biosensing patches leveraging their expertise in telecommunications and consumer electronics. Their approach centers on a heterogeneous computing architecture that combines ultra-low-power microcontrollers with more powerful but energy-efficient application processors that activate only when complex analysis is required. Huawei's patches employ advanced power-aware sensor fusion algorithms that intelligently combine data from multiple biosensors to extract maximum physiological information while minimizing redundant sensing operations. Their system features dynamic clock and voltage scaling that adjusts processing speed and power based on the computational demands of different monitoring scenarios. The patches incorporate Huawei's proprietary RTOS (Real-Time Operating System) with sophisticated power management features including fine-grained task scheduling that prioritizes critical monitoring functions while deferring non-essential operations. Their wireless communication system utilizes Bluetooth Low Energy with proprietary optimizations that reduce connection maintenance overhead and employ adaptive transmission power based on signal quality and distance to the receiving device. Huawei has also implemented AI-driven power optimization that learns user activity patterns and adjusts sensing strategies accordingly, focusing power resources on the most relevant physiological parameters based on context.
Strengths: Huawei's extensive experience in consumer electronics enables highly optimized power management that balances functionality with battery life. Their AI-driven approach provides personalized power optimization that improves efficiency over time. Weaknesses: The sophisticated software stack requires significant computational resources that may offset some power savings. Their consumer electronics background may result in less focus on clinical validation compared to medical device specialists.
Key Innovations in Low-Power Biosensor Technologies
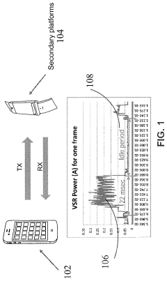
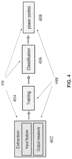
Wearable device-aware supervised power management for mobile platforms
PatentActiveUS10915156B2
Innovation
- A supervised power management system that establishes communication between primary and secondary platforms, collects input features and output measures to create a training set, predicts power consumption, and adjusts Dynamic Voltage Frequency Scaling (DVFS) parameters to optimize power usage and performance on both platforms.
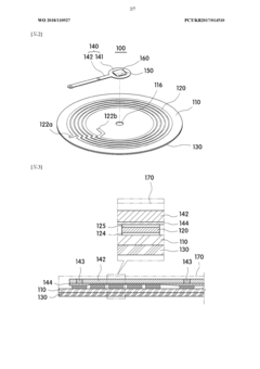
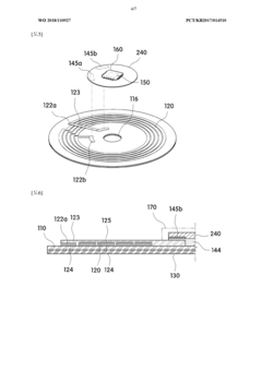
Patch-type sensor module
PatentWO2018110927A1
Innovation
- A patch-type sensor module with a flexible and breathable nanofiber web base material, an antenna pattern for data transmission and power harvesting, and a chemical layer for skin benefits, eliminating the need for a battery and enhancing attachment and skin compatibility.
Biocompatibility and User Experience Considerations
Biocompatibility represents a critical dimension in the development of wearable biosensing patches, directly influencing both user acceptance and clinical efficacy. Materials selected for these devices must maintain prolonged skin contact without causing irritation, allergic reactions, or tissue damage. Silicone-based polymers and medical-grade adhesives have emerged as industry standards due to their minimal inflammatory response and breathability characteristics.
Power management strategies significantly impact the biocompatibility profile of wearable patches. Heat generation from inefficient power systems can cause localized temperature increases, potentially leading to skin discomfort or even minor burns during extended wear periods. Recent innovations in thermal management include heat-dissipating materials and intelligent power cycling that maintains device temperature within biocompatible ranges (32-37°C).
User experience considerations extend beyond mere comfort to encompass psychological acceptance and integration into daily routines. Devices with minimal form factors and flexible substrates that conform to body contours demonstrate higher compliance rates in longitudinal studies. The weight distribution of battery components particularly influences user perception, with studies indicating that users prefer evenly distributed weight under 15 grams for continuous wear applications.
The relationship between power management and user experience manifests in several dimensions. Battery life directly correlates with user satisfaction metrics, with research showing that devices requiring charging more frequently than every 72 hours face significant adoption barriers. Seamless charging solutions, including wireless inductive charging and energy harvesting technologies, have demonstrated improved user adherence rates of up to 40% compared to traditional plug-in solutions.
Adaptive power management systems that respond to user activity patterns represent an emerging frontier in enhancing biocompatibility. These systems modulate sensing frequency and transmission power based on contextual awareness, reducing unnecessary power consumption during periods of user inactivity while maintaining clinical data integrity. This approach not only extends battery life but also minimizes heat generation during sleep periods when skin sensitivity may be heightened.
The integration of user feedback mechanisms into power management systems creates a virtuous cycle for device improvement. Visual indicators of battery status that are intuitive and accessible enable users to plan their activities around device capabilities, reducing anxiety about unexpected power depletion during critical monitoring periods.
Power management strategies significantly impact the biocompatibility profile of wearable patches. Heat generation from inefficient power systems can cause localized temperature increases, potentially leading to skin discomfort or even minor burns during extended wear periods. Recent innovations in thermal management include heat-dissipating materials and intelligent power cycling that maintains device temperature within biocompatible ranges (32-37°C).
User experience considerations extend beyond mere comfort to encompass psychological acceptance and integration into daily routines. Devices with minimal form factors and flexible substrates that conform to body contours demonstrate higher compliance rates in longitudinal studies. The weight distribution of battery components particularly influences user perception, with studies indicating that users prefer evenly distributed weight under 15 grams for continuous wear applications.
The relationship between power management and user experience manifests in several dimensions. Battery life directly correlates with user satisfaction metrics, with research showing that devices requiring charging more frequently than every 72 hours face significant adoption barriers. Seamless charging solutions, including wireless inductive charging and energy harvesting technologies, have demonstrated improved user adherence rates of up to 40% compared to traditional plug-in solutions.
Adaptive power management systems that respond to user activity patterns represent an emerging frontier in enhancing biocompatibility. These systems modulate sensing frequency and transmission power based on contextual awareness, reducing unnecessary power consumption during periods of user inactivity while maintaining clinical data integrity. This approach not only extends battery life but also minimizes heat generation during sleep periods when skin sensitivity may be heightened.
The integration of user feedback mechanisms into power management systems creates a virtuous cycle for device improvement. Visual indicators of battery status that are intuitive and accessible enable users to plan their activities around device capabilities, reducing anxiety about unexpected power depletion during critical monitoring periods.
Standardization and Certification Requirements
The standardization and certification landscape for wearable biosensing patches with advanced power management systems is increasingly complex yet critical for market acceptance and regulatory compliance. Currently, several key standards govern this space, including ISO 13485 for medical device quality management systems, IEC 60601-1 for medical electrical equipment safety, and IEEE 1708 for wearable, cuffless blood pressure measuring devices. These standards establish baseline requirements for safety, performance, and reliability that manufacturers must meet.
For power management specifically, standards such as IEC 62133 for battery safety and IEC 62368-1 for audio/video equipment safety have been adapted to address the unique challenges of wearable biosensors. The FDA in the United States requires premarket notification (510(k)) or premarket approval (PMA) depending on device classification, with power management systems being evaluated for both safety and effectiveness.
Certification processes typically involve third-party testing laboratories such as UL, TÜV, or SGS, which verify compliance with relevant standards. For wearable biosensing patches, this often includes electromagnetic compatibility (EMC) testing under IEC 60601-1-2, biocompatibility assessment following ISO 10993, and specific power-related tests such as battery endurance and thermal performance.
Emerging standards are being developed to address the unique power challenges of wearable biosensors. The IEC Technical Committee 124 is working on standards specifically for wearable electronic devices, while IEEE has initiatives focused on interoperability standards for wearable health technologies. These efforts aim to standardize power efficiency metrics, energy harvesting techniques, and power management protocols specific to biosensing applications.
Regional variations in certification requirements present significant challenges for global market entry. The European Union's Medical Device Regulation (MDR) imposes stricter requirements than previous directives, while China's NMPA has unique testing protocols for wearable medical devices. Japan's PMDA and South Korea's MFDS also maintain distinct certification pathways that manufacturers must navigate.
Future standardization efforts are likely to focus on establishing common metrics for power efficiency in biosensing applications, protocols for validating energy harvesting technologies, and frameworks for evaluating the reliability of power management systems under various use conditions. Industry consortia such as the Continua Health Alliance and the Bluetooth Special Interest Group are also developing complementary specifications that address power management in connected health devices.
For power management specifically, standards such as IEC 62133 for battery safety and IEC 62368-1 for audio/video equipment safety have been adapted to address the unique challenges of wearable biosensors. The FDA in the United States requires premarket notification (510(k)) or premarket approval (PMA) depending on device classification, with power management systems being evaluated for both safety and effectiveness.
Certification processes typically involve third-party testing laboratories such as UL, TÜV, or SGS, which verify compliance with relevant standards. For wearable biosensing patches, this often includes electromagnetic compatibility (EMC) testing under IEC 60601-1-2, biocompatibility assessment following ISO 10993, and specific power-related tests such as battery endurance and thermal performance.
Emerging standards are being developed to address the unique power challenges of wearable biosensors. The IEC Technical Committee 124 is working on standards specifically for wearable electronic devices, while IEEE has initiatives focused on interoperability standards for wearable health technologies. These efforts aim to standardize power efficiency metrics, energy harvesting techniques, and power management protocols specific to biosensing applications.
Regional variations in certification requirements present significant challenges for global market entry. The European Union's Medical Device Regulation (MDR) imposes stricter requirements than previous directives, while China's NMPA has unique testing protocols for wearable medical devices. Japan's PMDA and South Korea's MFDS also maintain distinct certification pathways that manufacturers must navigate.
Future standardization efforts are likely to focus on establishing common metrics for power efficiency in biosensing applications, protocols for validating energy harvesting technologies, and frameworks for evaluating the reliability of power management systems under various use conditions. Industry consortia such as the Continua Health Alliance and the Bluetooth Special Interest Group are also developing complementary specifications that address power management in connected health devices.
Unlock deeper insights with Patsnap Eureka Quick Research — get a full tech report to explore trends and direct your research. Try now!
Generate Your Research Report Instantly with AI Agent
Supercharge your innovation with Patsnap Eureka AI Agent Platform!







