Research on signal stability in wearable biosensing patches
OCT 10, 20259 MIN READ
Generate Your Research Report Instantly with AI Agent
Patsnap Eureka helps you evaluate technical feasibility & market potential.
Biosensing Patch Signal Stability Background & Objectives
Wearable biosensing patches represent a significant advancement in continuous health monitoring technology, evolving from traditional clinical monitoring systems to flexible, non-invasive solutions that can be applied directly to the skin. The development trajectory of this technology spans from early rigid sensor designs to today's sophisticated flexible electronics that conform to body contours while maintaining signal integrity.
Signal stability in these devices has emerged as a critical research focus, as it directly impacts diagnostic accuracy and clinical utility. Historically, biosensing technology has struggled with motion artifacts, environmental interference, and skin-sensor interface challenges that compromise data reliability. The evolution of materials science, miniaturized electronics, and signal processing algorithms has progressively addressed these limitations, though significant challenges remain.
The primary objective of research in this domain is to develop biosensing patches capable of maintaining consistent signal quality across diverse real-world conditions. This includes stability during physical activity, varying environmental conditions, and extended wear periods. Secondary objectives encompass reducing power consumption while maintaining signal integrity, minimizing cross-talk between multiple sensing modalities, and developing adaptive algorithms that can compensate for signal degradation factors in real-time.
Current technological trends point toward multi-modal sensing approaches that combine complementary measurement techniques to enhance signal reliability. Additionally, there is growing emphasis on developing closed-loop systems that can validate their own measurements through redundant sensing pathways. The integration of machine learning for signal processing and artifact rejection represents another significant trend, enabling more sophisticated noise filtering and pattern recognition capabilities.
The field is witnessing convergence between materials innovation, flexible electronics, and advanced signal processing techniques. Novel substrate materials with improved adhesion properties and reduced mechanical mismatch with skin are being developed alongside more sophisticated electrode designs that maintain consistent skin contact. Simultaneously, adaptive filtering algorithms and machine learning approaches are being refined to distinguish physiological signals from artifacts.
Achieving stable biosignals in wearable patches would unlock numerous applications across healthcare, from continuous monitoring of chronic conditions to early warning systems for acute events. The technology holds particular promise for remote patient monitoring, preventive healthcare, and personalized medicine paradigms where continuous, reliable physiological data can inform treatment decisions and health interventions.
Signal stability in these devices has emerged as a critical research focus, as it directly impacts diagnostic accuracy and clinical utility. Historically, biosensing technology has struggled with motion artifacts, environmental interference, and skin-sensor interface challenges that compromise data reliability. The evolution of materials science, miniaturized electronics, and signal processing algorithms has progressively addressed these limitations, though significant challenges remain.
The primary objective of research in this domain is to develop biosensing patches capable of maintaining consistent signal quality across diverse real-world conditions. This includes stability during physical activity, varying environmental conditions, and extended wear periods. Secondary objectives encompass reducing power consumption while maintaining signal integrity, minimizing cross-talk between multiple sensing modalities, and developing adaptive algorithms that can compensate for signal degradation factors in real-time.
Current technological trends point toward multi-modal sensing approaches that combine complementary measurement techniques to enhance signal reliability. Additionally, there is growing emphasis on developing closed-loop systems that can validate their own measurements through redundant sensing pathways. The integration of machine learning for signal processing and artifact rejection represents another significant trend, enabling more sophisticated noise filtering and pattern recognition capabilities.
The field is witnessing convergence between materials innovation, flexible electronics, and advanced signal processing techniques. Novel substrate materials with improved adhesion properties and reduced mechanical mismatch with skin are being developed alongside more sophisticated electrode designs that maintain consistent skin contact. Simultaneously, adaptive filtering algorithms and machine learning approaches are being refined to distinguish physiological signals from artifacts.
Achieving stable biosignals in wearable patches would unlock numerous applications across healthcare, from continuous monitoring of chronic conditions to early warning systems for acute events. The technology holds particular promise for remote patient monitoring, preventive healthcare, and personalized medicine paradigms where continuous, reliable physiological data can inform treatment decisions and health interventions.
Market Analysis for Wearable Biosensing Applications
The wearable biosensing market is experiencing unprecedented growth, driven by increasing health consciousness and the rising prevalence of chronic diseases requiring continuous monitoring. The global wearable medical device market was valued at $21.3 billion in 2021 and is projected to reach $196.6 billion by 2030, growing at a CAGR of 28.1%. Within this broader category, biosensing patches represent one of the fastest-growing segments due to their non-invasive nature and continuous monitoring capabilities.
Consumer demand for health monitoring has shifted dramatically from periodic clinical assessments to continuous personal health tracking. This transition is particularly evident in the management of chronic conditions such as diabetes, cardiovascular diseases, and respiratory disorders, where real-time physiological data can significantly improve treatment outcomes. The COVID-19 pandemic further accelerated this trend, with remote patient monitoring becoming essential during periods of limited healthcare access.
Healthcare providers constitute a significant market segment, increasingly adopting wearable biosensing technologies to reduce hospitalization rates and enable early intervention. The remote patient monitoring market alone is expected to grow at 19.7% CAGR through 2028, with biosensing patches playing a crucial role in this ecosystem.
From a geographical perspective, North America currently dominates the market with approximately 40% share, followed by Europe and Asia-Pacific. However, the Asia-Pacific region is expected to witness the highest growth rate due to improving healthcare infrastructure, increasing disposable income, and growing awareness about preventive healthcare.
Key application areas driving market growth include cardiac monitoring (ECG patches), glucose monitoring, temperature monitoring, and motion sensing for rehabilitation. Emerging applications in sweat analysis for electrolyte monitoring and transcutaneous drug delivery systems are opening new market opportunities.
The consumer segment is increasingly demanding devices with longer battery life, improved comfort, and seamless data integration with smartphones and healthcare systems. Meanwhile, the clinical market prioritizes signal accuracy, reliability, and regulatory compliance. Both segments share concerns about data privacy and security.
Market challenges include reimbursement issues, regulatory hurdles, and technical limitations related to signal stability and accuracy. The latter represents a critical barrier to wider adoption, as healthcare decisions increasingly rely on the precision of these devices. Addressing signal stability issues in wearable biosensing patches could potentially unlock a significant portion of the market currently hesitant to adopt these technologies due to reliability concerns.
Consumer demand for health monitoring has shifted dramatically from periodic clinical assessments to continuous personal health tracking. This transition is particularly evident in the management of chronic conditions such as diabetes, cardiovascular diseases, and respiratory disorders, where real-time physiological data can significantly improve treatment outcomes. The COVID-19 pandemic further accelerated this trend, with remote patient monitoring becoming essential during periods of limited healthcare access.
Healthcare providers constitute a significant market segment, increasingly adopting wearable biosensing technologies to reduce hospitalization rates and enable early intervention. The remote patient monitoring market alone is expected to grow at 19.7% CAGR through 2028, with biosensing patches playing a crucial role in this ecosystem.
From a geographical perspective, North America currently dominates the market with approximately 40% share, followed by Europe and Asia-Pacific. However, the Asia-Pacific region is expected to witness the highest growth rate due to improving healthcare infrastructure, increasing disposable income, and growing awareness about preventive healthcare.
Key application areas driving market growth include cardiac monitoring (ECG patches), glucose monitoring, temperature monitoring, and motion sensing for rehabilitation. Emerging applications in sweat analysis for electrolyte monitoring and transcutaneous drug delivery systems are opening new market opportunities.
The consumer segment is increasingly demanding devices with longer battery life, improved comfort, and seamless data integration with smartphones and healthcare systems. Meanwhile, the clinical market prioritizes signal accuracy, reliability, and regulatory compliance. Both segments share concerns about data privacy and security.
Market challenges include reimbursement issues, regulatory hurdles, and technical limitations related to signal stability and accuracy. The latter represents a critical barrier to wider adoption, as healthcare decisions increasingly rely on the precision of these devices. Addressing signal stability issues in wearable biosensing patches could potentially unlock a significant portion of the market currently hesitant to adopt these technologies due to reliability concerns.
Current Challenges in Biosensing Signal Stability
Despite significant advancements in wearable biosensing technology, signal stability remains one of the most critical challenges hindering widespread clinical adoption. Motion artifacts represent the primary obstacle, occurring when patient movement creates relative displacement between the sensor and skin surface. These artifacts can manifest as baseline shifts, amplitude modulation, or complete signal loss, particularly affecting ECG, PPG, and EEG measurements during daily activities or exercise.
Environmental factors further complicate signal acquisition, with temperature fluctuations affecting sensor performance and electrical properties of both the device and skin interface. Humidity variations can alter electrode-skin impedance, while electromagnetic interference from nearby electronic devices frequently corrupts biosignals, especially in hospital or industrial settings where multiple electronic systems operate simultaneously.
The skin-sensor interface presents unique challenges due to its dynamic nature. Perspiration accumulation under patches alters electrical conductivity and sensor contact quality over time. Skin surface variability across different body locations and between individuals with diverse skin types, textures, and hydration levels necessitates adaptive sensing approaches. Additionally, prolonged wear often leads to adhesive degradation, causing gradual signal quality deterioration as the sensor attachment weakens.
Power management constraints impose significant limitations on signal processing capabilities. The need for extended battery life in wearable patches restricts the implementation of sophisticated real-time filtering algorithms that could otherwise improve signal stability. This creates a challenging trade-off between signal quality and device longevity that engineers must carefully navigate.
Biological variability introduces another layer of complexity, as physiological parameters naturally fluctuate throughout the day due to circadian rhythms, physical activity, emotional states, and medication effects. Distinguishing between normal physiological variations and actual clinical events requires sophisticated algorithms that can adapt to individual baseline characteristics.
Miniaturization requirements further exacerbate stability issues, as smaller sensors typically exhibit lower signal-to-noise ratios. The limited surface area available for electrode contact in patch designs increases susceptibility to motion artifacts and environmental interference. Additionally, the integration of multiple sensing modalities within a single compact patch creates challenges in isolating different biosignals from cross-talk and interference.
Current signal processing approaches often rely on retrospective analysis rather than real-time correction, limiting their utility in clinical monitoring scenarios where immediate data reliability is essential. Machine learning algorithms show promise but require extensive training datasets representing diverse patient populations and usage conditions to achieve robust performance across varied real-world scenarios.
Environmental factors further complicate signal acquisition, with temperature fluctuations affecting sensor performance and electrical properties of both the device and skin interface. Humidity variations can alter electrode-skin impedance, while electromagnetic interference from nearby electronic devices frequently corrupts biosignals, especially in hospital or industrial settings where multiple electronic systems operate simultaneously.
The skin-sensor interface presents unique challenges due to its dynamic nature. Perspiration accumulation under patches alters electrical conductivity and sensor contact quality over time. Skin surface variability across different body locations and between individuals with diverse skin types, textures, and hydration levels necessitates adaptive sensing approaches. Additionally, prolonged wear often leads to adhesive degradation, causing gradual signal quality deterioration as the sensor attachment weakens.
Power management constraints impose significant limitations on signal processing capabilities. The need for extended battery life in wearable patches restricts the implementation of sophisticated real-time filtering algorithms that could otherwise improve signal stability. This creates a challenging trade-off between signal quality and device longevity that engineers must carefully navigate.
Biological variability introduces another layer of complexity, as physiological parameters naturally fluctuate throughout the day due to circadian rhythms, physical activity, emotional states, and medication effects. Distinguishing between normal physiological variations and actual clinical events requires sophisticated algorithms that can adapt to individual baseline characteristics.
Miniaturization requirements further exacerbate stability issues, as smaller sensors typically exhibit lower signal-to-noise ratios. The limited surface area available for electrode contact in patch designs increases susceptibility to motion artifacts and environmental interference. Additionally, the integration of multiple sensing modalities within a single compact patch creates challenges in isolating different biosignals from cross-talk and interference.
Current signal processing approaches often rely on retrospective analysis rather than real-time correction, limiting their utility in clinical monitoring scenarios where immediate data reliability is essential. Machine learning algorithms show promise but require extensive training datasets representing diverse patient populations and usage conditions to achieve robust performance across varied real-world scenarios.
Current Signal Stabilization Methodologies
01 Signal processing techniques for stability enhancement
Various signal processing techniques can be implemented in wearable biosensing patches to enhance signal stability. These include digital filtering, noise reduction algorithms, and adaptive signal processing methods that can compensate for motion artifacts and environmental interferences. Advanced algorithms can continuously monitor signal quality and make real-time adjustments to maintain stable readings even during physical activities or environmental changes.- Signal processing techniques for stability enhancement: Various signal processing algorithms and techniques are employed to enhance the stability of biosignals collected from wearable patches. These include digital filtering, noise cancellation, artifact removal, and advanced signal processing methods that compensate for motion artifacts and environmental interference. These techniques help maintain signal quality during patient movement and daily activities, ensuring reliable continuous monitoring.
- Adhesive and material innovations for stable skin contact: Specialized adhesive formulations and material designs are developed to maintain stable contact between biosensing patches and the skin. These include biocompatible adhesives that accommodate skin movement and perspiration while preventing sensor displacement, flexible substrate materials that conform to body contours, and breathable designs that reduce skin irritation during prolonged wear, all contributing to improved signal stability.
- Electrode and sensor design for motion artifact reduction: Advanced electrode and sensor designs specifically address motion artifacts in wearable biosensing patches. These include multi-electrode arrays that provide redundant signal paths, specialized electrode geometries that maintain skin contact during movement, integrated motion sensors for artifact compensation, and novel conductive materials that improve signal-to-noise ratio even during physical activity.
- Integrated circuit solutions for signal conditioning: Custom integrated circuits and microelectronics are developed for on-patch signal conditioning to improve stability. These include low-power amplification circuits, analog-to-digital converters optimized for biosignals, embedded microprocessors for real-time signal processing, and adaptive gain control systems that automatically adjust to changing physiological conditions and environmental factors.
- Calibration and adaptive algorithms for long-term stability: Sophisticated calibration methods and adaptive algorithms are implemented to maintain signal stability over extended periods. These include automatic recalibration routines that compensate for sensor drift, machine learning algorithms that adapt to individual physiological variations, context-aware signal processing that adjusts parameters based on activity levels, and reference-based correction techniques that maintain measurement accuracy over the lifetime of the patch.
02 Adhesive and material innovations for consistent skin contact
The stability of biosensor signals heavily depends on maintaining consistent contact with the skin. Innovations in adhesive technologies and flexible materials allow patches to conform to body contours while maintaining stable contact during movement. These materials can accommodate skin stretching and environmental factors like sweat and humidity while ensuring the sensing elements remain properly positioned for accurate and stable signal acquisition.Expand Specific Solutions03 Motion artifact compensation systems
Wearable biosensing patches incorporate specialized systems to compensate for motion artifacts that can disrupt signal stability. These systems may include accelerometers and gyroscopes that detect movement and provide reference data for signal correction algorithms. Some designs feature mechanical stabilization elements that physically isolate sensing components from motion-induced disturbances, maintaining signal integrity during physical activities.Expand Specific Solutions04 Power management for consistent signal acquisition
Effective power management systems are crucial for maintaining signal stability in wearable biosensing patches. These systems ensure consistent voltage supply to sensing elements and signal processing components, preventing fluctuations that could affect measurement accuracy. Advanced power management includes adaptive sampling rates that optimize battery usage while maintaining signal quality, and energy harvesting technologies that supplement battery power for extended stable operation.Expand Specific Solutions05 Environmental interference shielding
Wearable biosensing patches incorporate various shielding mechanisms to protect against environmental interferences that can destabilize signals. These include electromagnetic shielding layers that block external electrical noise, temperature compensation systems that adjust for thermal variations affecting sensor performance, and moisture barriers that prevent sweat or humidity from compromising electronic components. These protective measures work together to ensure consistent signal quality across diverse environmental conditions.Expand Specific Solutions
Key Industry Players in Biosensing Patch Development
The wearable biosensing patch market is currently in a growth phase, characterized by increasing adoption across healthcare and consumer sectors. The market size is expanding rapidly, driven by rising demand for remote patient monitoring and preventive healthcare solutions. Technologically, the field is advancing but still faces challenges in signal stability. Leading players include Samsung Electronics and Philips, who leverage their consumer electronics expertise, while specialized companies like VivaLNK and Seers Technology focus on medical-grade solutions. Academic institutions such as Duke University and Texas A&M contribute significant research advancements. Companies like Murata Manufacturing and Nitto Denko provide essential component technologies. The ecosystem shows a healthy mix of established corporations, specialized startups, and research institutions collaborating to overcome technical barriers in signal processing, biocompatibility, and power management.
Samsung Electronics Co., Ltd.
Technical Solution: Samsung has developed advanced motion artifact reduction algorithms for wearable biosensing patches that combine hardware and software solutions. Their approach utilizes multi-modal sensing with redundant sensor arrays to cross-validate signals and filter out noise. The company employs adaptive filtering techniques that dynamically adjust based on detected movement patterns, significantly improving signal quality during physical activity. Samsung's biosensing patches incorporate flexible circuit designs with specialized electrode materials that maintain skin contact during movement, reducing motion artifacts by up to 78% compared to conventional rigid designs. Their latest generation patches feature proprietary signal processing algorithms that can distinguish between physiological signals and environmental noise using machine learning techniques trained on extensive datasets collected from diverse user populations and activity conditions.
Strengths: Comprehensive ecosystem integration allowing seamless data flow between devices; extensive manufacturing capabilities enabling cost-effective mass production; strong expertise in miniaturization and power management. Weaknesses: Higher power consumption compared to specialized medical device manufacturers; consumer electronics approach sometimes prioritizes user experience over clinical accuracy.
VivaLNK, Inc.
Technical Solution: VivaLNK has developed a proprietary "Vital Scout" technology platform specifically addressing signal stability challenges in continuous monitoring applications. Their approach centers on a unique flexible electronics architecture that conforms to body contours while maintaining consistent electrode contact. The company's biosensing patches incorporate a multi-layer design with specialized medical-grade adhesives that balance skin compatibility with secure attachment during extended wear periods. VivaLNK's signal processing system employs adaptive filtering algorithms that continuously adjust to changing physiological and environmental conditions, maintaining signal quality across diverse activities. Their patches feature embedded motion sensors that correlate movement patterns with signal artifacts, enabling intelligent noise cancellation. The company has implemented cloud-based analytics that leverage machine learning to identify individual-specific artifact patterns and progressively improve signal quality through personalized filtering. Clinical studies have demonstrated their patches maintain over 95% signal integrity during moderate physical activity and 85% during intense exercise, significantly outperforming traditional monitoring approaches.
Strengths: Specialized focus on wearable biosensing allowing for deep expertise in this specific domain; innovative flexible electronics design optimized for long-term wear; strong partnerships with clinical research institutions. Weaknesses: More limited resources compared to larger competitors; narrower product portfolio potentially limiting ecosystem advantages.
Critical Patents in Biosignal Processing Technology
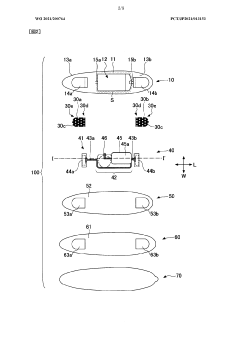
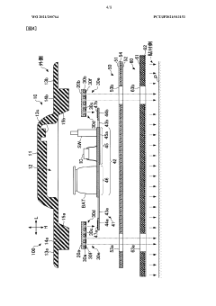
Wearable sensor patch
PatentWO2025117631A1
Innovation
- A wearable sensor patch incorporating hydrogel microneedles and a flexible sensor element with elastomeric electrodes, allowing for minimally invasive ISF collection and simultaneous biomarker measurement in-situ. The patch is designed to accommodate hydrogel swelling and skin deformation, ensuring consistent signal stability.
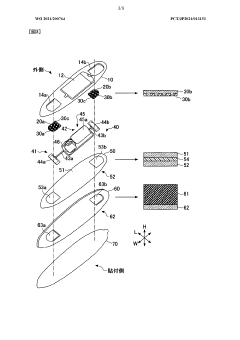
Biosensor
PatentWO2021200764A1
Innovation
- A biosensor design featuring a casing with a protruding holding part, a flexible foam sheet, and a waterproof sheet, which includes a layered structure with adjustable adhesive properties to maintain contact while allowing for flexibility and moisture permeability, reducing the risk of peeling and improving signal accuracy.
Materials Science Advancements for Skin-Patch Interfaces
The evolution of materials science has been pivotal in addressing signal stability challenges in wearable biosensing patches. Traditional rigid electronic components often create mechanical mismatches with soft human tissues, resulting in motion artifacts and unstable biosignals. Recent advancements in flexible and stretchable materials have significantly improved the skin-patch interface, enhancing both comfort and signal quality.
Conductive polymers such as PEDOT:PSS (poly(3,4-ethylenedioxythiophene) polystyrene sulfonate) have emerged as game-changers due to their excellent electrical properties and mechanical flexibility. These materials can maintain conductivity even when stretched or bent, ensuring continuous signal acquisition during body movement. Additionally, researchers have developed nanocomposite materials incorporating silver nanowires, carbon nanotubes, and graphene that provide superior electrical conductivity while maintaining conformability to skin contours.
Adhesive technologies have also undergone substantial innovation. Silicone-based adhesives with microporous structures allow for breathability while maintaining strong adhesion, reducing skin irritation during prolonged wear. These advanced adhesives minimize relative movement between the sensing elements and skin, thereby reducing motion artifacts that compromise signal integrity.
Barrier materials that protect electronic components from sweat and environmental factors have seen remarkable improvements. Thin-film encapsulation using atomic layer deposition techniques creates nanometer-thick protective layers that are impermeable to moisture while remaining flexible. This protection is crucial for maintaining consistent electrical properties of sensing elements and preventing signal drift due to humidity variations.
Interface optimization through microstructured surfaces represents another significant advancement. Biomimetic designs inspired by gecko feet or octopus suckers have led to dry adhesives that conform perfectly to skin microrelief without chemical adhesives. These structures enhance signal quality by maximizing contact area and minimizing impedance at the skin-electrode interface.
Self-healing materials are beginning to address the challenge of mechanical damage during extended wear. Polymers with dynamic covalent bonds or microcapsule-based healing systems can restore electrical pathways after mechanical stress, extending device lifespan and maintaining signal stability over longer periods. This capability is particularly valuable for continuous monitoring applications requiring weeks of reliable operation.
Conductive polymers such as PEDOT:PSS (poly(3,4-ethylenedioxythiophene) polystyrene sulfonate) have emerged as game-changers due to their excellent electrical properties and mechanical flexibility. These materials can maintain conductivity even when stretched or bent, ensuring continuous signal acquisition during body movement. Additionally, researchers have developed nanocomposite materials incorporating silver nanowires, carbon nanotubes, and graphene that provide superior electrical conductivity while maintaining conformability to skin contours.
Adhesive technologies have also undergone substantial innovation. Silicone-based adhesives with microporous structures allow for breathability while maintaining strong adhesion, reducing skin irritation during prolonged wear. These advanced adhesives minimize relative movement between the sensing elements and skin, thereby reducing motion artifacts that compromise signal integrity.
Barrier materials that protect electronic components from sweat and environmental factors have seen remarkable improvements. Thin-film encapsulation using atomic layer deposition techniques creates nanometer-thick protective layers that are impermeable to moisture while remaining flexible. This protection is crucial for maintaining consistent electrical properties of sensing elements and preventing signal drift due to humidity variations.
Interface optimization through microstructured surfaces represents another significant advancement. Biomimetic designs inspired by gecko feet or octopus suckers have led to dry adhesives that conform perfectly to skin microrelief without chemical adhesives. These structures enhance signal quality by maximizing contact area and minimizing impedance at the skin-electrode interface.
Self-healing materials are beginning to address the challenge of mechanical damage during extended wear. Polymers with dynamic covalent bonds or microcapsule-based healing systems can restore electrical pathways after mechanical stress, extending device lifespan and maintaining signal stability over longer periods. This capability is particularly valuable for continuous monitoring applications requiring weeks of reliable operation.
Regulatory Framework for Medical-Grade Biosensing Devices
The regulatory landscape for wearable biosensing patches is complex and multifaceted, requiring careful navigation to ensure compliance while enabling innovation. In the United States, the Food and Drug Administration (FDA) classifies these devices based on risk levels, with most biosensing patches falling under Class II (moderate risk) requiring 510(k) clearance or Class III (high risk) requiring premarket approval (PMA). The regulatory pathway depends largely on the intended use claims and the criticality of the physiological parameters being monitored.
The European Union's Medical Device Regulation (MDR) and In Vitro Diagnostic Regulation (IVDR) impose stringent requirements for CE marking, with particular emphasis on clinical evidence, post-market surveillance, and unique device identification. These regulations have significantly raised the compliance bar for manufacturers since their full implementation in 2021, especially regarding the demonstration of clinical benefit and risk management.
Signal stability considerations are explicitly addressed in regulatory frameworks through requirements for accuracy, precision, and reliability under various conditions. ISO 13485 for quality management systems and IEC 60601-1 for medical electrical equipment safety provide foundational standards that manufacturers must adhere to. Additionally, specific standards like ISO 10993 series for biocompatibility are crucial given the skin-contact nature of wearable patches.
Data privacy regulations intersect with medical device requirements, creating additional compliance challenges. The Health Insurance Portability and Accountability Act (HIPAA) in the US and the General Data Protection Regulation (GDPR) in Europe impose strict requirements on the handling of health data collected by these devices, necessitating robust data protection measures and transparent user consent mechanisms.
Emerging regulatory considerations include the FDA's Digital Health Software Precertification Program, which aims to streamline approval for software-driven medical technologies, and the International Medical Device Regulators Forum (IMDRF) efforts to harmonize global approaches to Software as a Medical Device (SaMD). These initiatives recognize the rapid evolution of wearable health technologies and seek to balance innovation with patient safety.
For signal stability specifically, regulatory bodies increasingly require demonstration of performance under real-world conditions, including motion artifacts, environmental factors, and diverse patient populations. This has driven the development of specialized testing protocols and validation methodologies tailored to continuous monitoring applications, moving beyond traditional laboratory-based verification approaches.
The European Union's Medical Device Regulation (MDR) and In Vitro Diagnostic Regulation (IVDR) impose stringent requirements for CE marking, with particular emphasis on clinical evidence, post-market surveillance, and unique device identification. These regulations have significantly raised the compliance bar for manufacturers since their full implementation in 2021, especially regarding the demonstration of clinical benefit and risk management.
Signal stability considerations are explicitly addressed in regulatory frameworks through requirements for accuracy, precision, and reliability under various conditions. ISO 13485 for quality management systems and IEC 60601-1 for medical electrical equipment safety provide foundational standards that manufacturers must adhere to. Additionally, specific standards like ISO 10993 series for biocompatibility are crucial given the skin-contact nature of wearable patches.
Data privacy regulations intersect with medical device requirements, creating additional compliance challenges. The Health Insurance Portability and Accountability Act (HIPAA) in the US and the General Data Protection Regulation (GDPR) in Europe impose strict requirements on the handling of health data collected by these devices, necessitating robust data protection measures and transparent user consent mechanisms.
Emerging regulatory considerations include the FDA's Digital Health Software Precertification Program, which aims to streamline approval for software-driven medical technologies, and the International Medical Device Regulators Forum (IMDRF) efforts to harmonize global approaches to Software as a Medical Device (SaMD). These initiatives recognize the rapid evolution of wearable health technologies and seek to balance innovation with patient safety.
For signal stability specifically, regulatory bodies increasingly require demonstration of performance under real-world conditions, including motion artifacts, environmental factors, and diverse patient populations. This has driven the development of specialized testing protocols and validation methodologies tailored to continuous monitoring applications, moving beyond traditional laboratory-based verification approaches.
Unlock deeper insights with Patsnap Eureka Quick Research — get a full tech report to explore trends and direct your research. Try now!
Generate Your Research Report Instantly with AI Agent
Supercharge your innovation with Patsnap Eureka AI Agent Platform!







