Wearable biosensing patches in sports performance monitoring applications
OCT 10, 20259 MIN READ
Generate Your Research Report Instantly with AI Agent
Patsnap Eureka helps you evaluate technical feasibility & market potential.
Sports Biosensing Patch Technology Evolution and Objectives
Wearable biosensing patches represent a significant evolution in sports performance monitoring technology, emerging from the convergence of miniaturized electronics, advanced materials science, and biomedical engineering. The journey began in the early 2000s with rudimentary wearable sensors primarily focused on basic physiological measurements such as heart rate and step counting. These initial devices were bulky, uncomfortable, and offered limited functionality, constraining their adoption in professional sports environments.
The mid-2010s marked a pivotal shift with the introduction of flexible electronics and stretchable substrates, enabling the development of conformal biosensing patches that could adhere directly to an athlete's skin. This breakthrough addressed previous limitations related to comfort and signal quality, allowing for continuous monitoring during intense physical activities without impeding performance or causing discomfort.
Recent technological advancements have further revolutionized this field, particularly through innovations in microfluidics, nanomaterials, and low-power wireless communication protocols. Modern biosensing patches can now simultaneously monitor multiple biomarkers including electrolytes, metabolites, and hormones in sweat, providing comprehensive insights into an athlete's physiological state in real-time.
The primary objective of current wearable biosensing patch technology is to establish a non-invasive, continuous monitoring system that delivers actionable physiological data to optimize athletic performance while minimizing injury risk. This includes early fatigue detection, hydration status monitoring, and personalized training load management based on individual physiological responses rather than standardized metrics.
Another critical goal is the development of predictive analytics capabilities through the integration of artificial intelligence and machine learning algorithms. By analyzing historical and real-time biosensor data, these systems aim to forecast potential performance decrements or injury risks before they manifest physically, enabling proactive intervention strategies.
The technology evolution is increasingly focused on addressing the challenge of signal specificity and accuracy under varying environmental conditions and exercise intensities. Current research emphasizes improving sensor stability during prolonged use, enhancing biomarker detection sensitivity, and developing more sophisticated algorithms to filter motion artifacts that can compromise data quality.
Looking forward, the field is trending toward fully integrated biosensing ecosystems that combine on-body sensing with edge computing capabilities, allowing for preliminary data processing directly on the patch before transmission. This approach aims to reduce power consumption, enhance data security, and provide more immediate feedback to athletes and coaches during training and competition.
The mid-2010s marked a pivotal shift with the introduction of flexible electronics and stretchable substrates, enabling the development of conformal biosensing patches that could adhere directly to an athlete's skin. This breakthrough addressed previous limitations related to comfort and signal quality, allowing for continuous monitoring during intense physical activities without impeding performance or causing discomfort.
Recent technological advancements have further revolutionized this field, particularly through innovations in microfluidics, nanomaterials, and low-power wireless communication protocols. Modern biosensing patches can now simultaneously monitor multiple biomarkers including electrolytes, metabolites, and hormones in sweat, providing comprehensive insights into an athlete's physiological state in real-time.
The primary objective of current wearable biosensing patch technology is to establish a non-invasive, continuous monitoring system that delivers actionable physiological data to optimize athletic performance while minimizing injury risk. This includes early fatigue detection, hydration status monitoring, and personalized training load management based on individual physiological responses rather than standardized metrics.
Another critical goal is the development of predictive analytics capabilities through the integration of artificial intelligence and machine learning algorithms. By analyzing historical and real-time biosensor data, these systems aim to forecast potential performance decrements or injury risks before they manifest physically, enabling proactive intervention strategies.
The technology evolution is increasingly focused on addressing the challenge of signal specificity and accuracy under varying environmental conditions and exercise intensities. Current research emphasizes improving sensor stability during prolonged use, enhancing biomarker detection sensitivity, and developing more sophisticated algorithms to filter motion artifacts that can compromise data quality.
Looking forward, the field is trending toward fully integrated biosensing ecosystems that combine on-body sensing with edge computing capabilities, allowing for preliminary data processing directly on the patch before transmission. This approach aims to reduce power consumption, enhance data security, and provide more immediate feedback to athletes and coaches during training and competition.
Market Analysis for Athletic Performance Monitoring Solutions
The athletic performance monitoring market has witnessed substantial growth in recent years, driven by increasing adoption of wearable technology among professional athletes, sports teams, and fitness enthusiasts. The global sports analytics market, which encompasses performance monitoring solutions, was valued at approximately $2.5 billion in 2022 and is projected to reach $8.4 billion by 2028, representing a compound annual growth rate (CAGR) of 22.3%.
Wearable biosensing patches represent a rapidly expanding segment within this market. These devices offer continuous, non-invasive monitoring of various physiological parameters critical to athletic performance, including heart rate variability, muscle oxygen saturation, hydration levels, and electrolyte balance. The market for these specialized patches is expected to grow at a CAGR of 25.7% through 2027, outpacing the broader wearable technology sector.
Demand for these solutions is segmented across multiple user categories. Professional sports organizations constitute approximately 35% of the market, valuing precise biometric data for optimizing training regimens and preventing injuries. The collegiate sports segment represents 22% of the market, while individual consumers account for 43%, driven by increasing health consciousness and the democratization of advanced training methodologies.
Regional analysis reveals North America as the dominant market with 42% share, followed by Europe (28%) and Asia-Pacific (21%). The Asia-Pacific region is experiencing the fastest growth rate at 29.3% annually, attributed to increasing sports investments in China, Japan, and Australia, alongside rising disposable incomes and fitness awareness.
Key market drivers include technological advancements in flexible electronics and miniaturized sensors, growing emphasis on injury prevention through early detection of physiological anomalies, and increasing integration of artificial intelligence for predictive analytics. The COVID-19 pandemic has accelerated market growth by heightening health consciousness and driving remote training solutions.
Challenges facing market expansion include concerns regarding data privacy and security, accuracy limitations in current-generation sensors, and relatively high costs limiting mass-market adoption. Additionally, regulatory hurdles related to medical device classification in certain regions pose barriers to market entry and product development.
Consumer preference analysis indicates strong demand for solutions offering real-time feedback (cited by 78% of users), seamless data integration with training platforms (65%), and extended battery life (82%). Price sensitivity remains high among recreational athletes, with 67% indicating willingness to pay premium prices only for solutions demonstrating clear performance benefits.
Wearable biosensing patches represent a rapidly expanding segment within this market. These devices offer continuous, non-invasive monitoring of various physiological parameters critical to athletic performance, including heart rate variability, muscle oxygen saturation, hydration levels, and electrolyte balance. The market for these specialized patches is expected to grow at a CAGR of 25.7% through 2027, outpacing the broader wearable technology sector.
Demand for these solutions is segmented across multiple user categories. Professional sports organizations constitute approximately 35% of the market, valuing precise biometric data for optimizing training regimens and preventing injuries. The collegiate sports segment represents 22% of the market, while individual consumers account for 43%, driven by increasing health consciousness and the democratization of advanced training methodologies.
Regional analysis reveals North America as the dominant market with 42% share, followed by Europe (28%) and Asia-Pacific (21%). The Asia-Pacific region is experiencing the fastest growth rate at 29.3% annually, attributed to increasing sports investments in China, Japan, and Australia, alongside rising disposable incomes and fitness awareness.
Key market drivers include technological advancements in flexible electronics and miniaturized sensors, growing emphasis on injury prevention through early detection of physiological anomalies, and increasing integration of artificial intelligence for predictive analytics. The COVID-19 pandemic has accelerated market growth by heightening health consciousness and driving remote training solutions.
Challenges facing market expansion include concerns regarding data privacy and security, accuracy limitations in current-generation sensors, and relatively high costs limiting mass-market adoption. Additionally, regulatory hurdles related to medical device classification in certain regions pose barriers to market entry and product development.
Consumer preference analysis indicates strong demand for solutions offering real-time feedback (cited by 78% of users), seamless data integration with training platforms (65%), and extended battery life (82%). Price sensitivity remains high among recreational athletes, with 67% indicating willingness to pay premium prices only for solutions demonstrating clear performance benefits.
Current Wearable Patch Technologies and Limitations
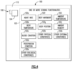
Wearable biosensing patches represent a significant advancement in sports performance monitoring, offering continuous, real-time physiological data collection through flexible, skin-adherent devices. Current technologies primarily utilize four main sensing modalities: electrochemical sensors for detecting biomarkers in sweat (lactate, glucose, electrolytes); electrical sensors measuring biopotentials (ECG, EMG); optical sensors for blood oxygen and heart rate monitoring; and temperature/pressure sensors for thermal regulation and biomechanical assessment.
Leading commercial solutions include Abbott's Libre Sense Glucose Sport Biosensor, which provides continuous glucose monitoring for athletes, and Epicore Biosystems' sweat analysis patches that measure hydration status and electrolyte loss. MC10's BioStamp nPoint offers comprehensive motion analysis and vital sign monitoring through an ultra-thin, conformal design. Kenzen's ECHO Smart Patch focuses on core body temperature and hydration monitoring for heat stress prevention.
Despite these advancements, significant limitations persist in current wearable patch technologies. Power management remains a critical challenge, with most devices requiring frequent recharging or replacement, limiting continuous monitoring during extended training sessions or competitions. Battery miniaturization efforts often compromise operational longevity, creating a persistent engineering dilemma.
Data accuracy and reliability issues emerge particularly during high-intensity activities when motion artifacts and perspiration can interfere with sensor readings. Cross-sensitivity between analytes in sweat analysis frequently leads to measurement errors, while skin-sensor interface degradation over time affects signal quality and measurement consistency.
Biocompatibility concerns present another significant limitation, as prolonged skin contact can cause irritation, allergic reactions, or comfort issues. The adhesive technologies that enable secure attachment during vigorous movement often compromise breathability and user comfort during extended wear periods.
Integration challenges exist between hardware miniaturization and analytical capability. Most current patches focus on limited physiological parameters rather than providing comprehensive physiological profiling. This specialization creates fragmentation in the monitoring ecosystem, requiring athletes to wear multiple devices for complete performance assessment.
Data standardization remains problematic across different manufacturers' platforms, hindering interoperability and comprehensive analysis. The proprietary nature of many systems creates isolated data ecosystems that limit the potential for integrated performance analytics and longitudinal tracking across different training environments and competitive seasons.
Leading commercial solutions include Abbott's Libre Sense Glucose Sport Biosensor, which provides continuous glucose monitoring for athletes, and Epicore Biosystems' sweat analysis patches that measure hydration status and electrolyte loss. MC10's BioStamp nPoint offers comprehensive motion analysis and vital sign monitoring through an ultra-thin, conformal design. Kenzen's ECHO Smart Patch focuses on core body temperature and hydration monitoring for heat stress prevention.
Despite these advancements, significant limitations persist in current wearable patch technologies. Power management remains a critical challenge, with most devices requiring frequent recharging or replacement, limiting continuous monitoring during extended training sessions or competitions. Battery miniaturization efforts often compromise operational longevity, creating a persistent engineering dilemma.
Data accuracy and reliability issues emerge particularly during high-intensity activities when motion artifacts and perspiration can interfere with sensor readings. Cross-sensitivity between analytes in sweat analysis frequently leads to measurement errors, while skin-sensor interface degradation over time affects signal quality and measurement consistency.
Biocompatibility concerns present another significant limitation, as prolonged skin contact can cause irritation, allergic reactions, or comfort issues. The adhesive technologies that enable secure attachment during vigorous movement often compromise breathability and user comfort during extended wear periods.
Integration challenges exist between hardware miniaturization and analytical capability. Most current patches focus on limited physiological parameters rather than providing comprehensive physiological profiling. This specialization creates fragmentation in the monitoring ecosystem, requiring athletes to wear multiple devices for complete performance assessment.
Data standardization remains problematic across different manufacturers' platforms, hindering interoperability and comprehensive analysis. The proprietary nature of many systems creates isolated data ecosystems that limit the potential for integrated performance analytics and longitudinal tracking across different training environments and competitive seasons.
Technical Solutions for Wearable Athletic Monitoring
01 Flexible and adhesive biosensing patches
Wearable biosensing patches designed with flexible and adhesive materials that conform to the body's contours for continuous monitoring. These patches incorporate stretchable electronics and skin-friendly adhesives to ensure comfort during prolonged wear while maintaining reliable sensor contact with the skin. The flexible design allows for natural movement without compromising data collection accuracy, making them suitable for various applications including healthcare monitoring and athletic performance tracking.- Flexible and adhesive biosensing patches: Wearable biosensing patches designed with flexible and adhesive materials that conform to the body's contours for continuous monitoring. These patches incorporate stretchable electronics and skin-friendly adhesives to ensure comfort during extended wear while maintaining reliable sensor contact with the skin. The flexibility allows for natural movement without compromising data collection accuracy, making them suitable for long-term health monitoring applications.
- Sweat analysis and biomarker detection: Biosensing patches specifically designed to collect and analyze sweat for various biomarkers. These patches incorporate microfluidic channels and electrochemical sensors to detect analytes such as glucose, lactate, electrolytes, and stress hormones in real-time. The technology enables non-invasive monitoring of physiological parameters through sweat, providing insights into metabolic health, hydration status, and stress levels without the need for blood sampling.
- Wireless data transmission and connectivity: Integration of wireless communication technologies in biosensing patches for seamless data transmission to smartphones, cloud platforms, or healthcare systems. These patches incorporate low-power Bluetooth, NFC, or other wireless protocols to transmit collected biometric data in real-time or at scheduled intervals. The connectivity features enable remote patient monitoring, telemedicine applications, and integration with electronic health records, allowing healthcare providers to access vital patient data without physical contact.
- Energy harvesting and power management: Advanced power management systems and energy harvesting technologies for extended operation of wearable biosensing patches. These innovations include thin-film batteries, solar cells, piezoelectric elements, or thermal energy harvesters that convert body heat or movement into electrical energy. Power optimization techniques and low-energy components ensure continuous operation for days or weeks without recharging, making the patches practical for long-term health monitoring applications.
- Multi-parameter physiological monitoring: Comprehensive biosensing patches capable of simultaneously monitoring multiple physiological parameters. These advanced patches integrate various sensor types to track vital signs such as heart rate, respiratory rate, body temperature, blood oxygen levels, and movement patterns in a single wearable device. The multi-parameter approach provides a more complete picture of the wearer's health status, enabling more accurate health assessments and early detection of potential medical issues through pattern recognition and correlation of different physiological signals.
02 Biomarker detection and analysis systems
Advanced biosensing patches capable of detecting and analyzing multiple biomarkers simultaneously from bodily fluids such as sweat, interstitial fluid, or blood. These systems incorporate specialized sensors that can measure various physiological indicators including glucose levels, electrolytes, metabolites, and stress hormones. The patches process this data in real-time, providing valuable insights into the wearer's health status and enabling early detection of potential health issues or performance optimization opportunities.Expand Specific Solutions03 Wireless data transmission and connectivity
Biosensing patches equipped with wireless communication capabilities that enable seamless data transmission to smartphones, tablets, or cloud platforms. These patches utilize technologies such as Bluetooth, NFC, or low-power wireless protocols to transmit collected biometric data for analysis and storage. The wireless connectivity allows for remote monitoring by healthcare providers, real-time alerts for critical conditions, and integration with health management applications, enhancing the overall utility and effectiveness of the wearable biosensing system.Expand Specific Solutions04 Energy harvesting and power management
Innovative power solutions for wearable biosensing patches that extend operational lifetime through energy harvesting techniques and efficient power management. These patches incorporate technologies that can harvest energy from body heat, movement, or ambient light to supplement or replace traditional batteries. Advanced power management systems optimize energy consumption by controlling sensor duty cycles and data transmission frequencies, ensuring continuous operation for extended periods without requiring frequent charging or replacement.Expand Specific Solutions05 Multi-parameter physiological monitoring
Comprehensive biosensing patches designed to monitor multiple physiological parameters simultaneously, providing a holistic view of the wearer's health status. These patches integrate various sensor types to track vital signs such as heart rate, respiratory rate, body temperature, blood oxygen levels, and physical activity. The multi-parameter approach enables more accurate health assessments, detection of correlations between different physiological indicators, and personalized health insights based on the combined data analysis.Expand Specific Solutions
Leading Companies in Sports Biosensing Industry
The wearable biosensing patches market for sports performance monitoring is in a growth phase, with increasing adoption driven by technological advancements in miniaturization and wireless connectivity. The global market size is projected to expand significantly, fueled by rising interest in personalized health metrics and athletic optimization. Technologically, the field is maturing rapidly with companies at different development stages. Leading players include Philips, which leverages its healthcare expertise for advanced biosensing solutions, and VivaLNK, specializing in medical-grade wearable devices. University research centers like UC Regents and North Carolina State University contribute fundamental innovations, while specialized firms such as LifeSignals and Seers Technology focus on specific biosensing applications. Intel provides essential computing infrastructure, and companies like GoerTek bring manufacturing expertise to scale production of these sophisticated monitoring patches.
The Regents of the University of California
Technical Solution: The University of California has developed an advanced wearable biosensing patch system for sports performance monitoring through their research initiatives across multiple campuses. Their technology features a flexible, stretchable electronic platform that incorporates microfluidic channels for sweat analysis alongside conventional vital sign monitoring. The patches can simultaneously measure electrolytes (sodium, potassium), metabolites (lactate, glucose), pH levels, and biomarkers of muscle fatigue in real-time through electrochemical sensing techniques. This comprehensive approach provides a more complete physiological profile than conventional vital-sign-only monitors. The system employs a unique "lab-on-skin" architecture that integrates sample collection, biofluid routing, chemical sensing, and signal processing in an ultra-thin form factor that conforms perfectly to skin contours. Their patches utilize advanced materials including graphene-based sensors and stretchable polymers that maintain functionality even when stretched up to 300% of their original dimensions, ensuring comfort and reliability during intense physical activity.
Strengths: Unparalleled comprehensive biochemical analysis capabilities that provide deeper physiological insights than conventional vital sign monitors; exceptional material science innovations enabling extreme comfort and durability; strong scientific validation through peer-reviewed research. Weaknesses: Currently at a more experimental stage compared to commercial alternatives; higher manufacturing complexity potentially leading to increased costs; requires more specialized knowledge for data interpretation compared to mainstream solutions.
North Carolina State University
Technical Solution: North Carolina State University has developed a groundbreaking textile-based wearable biosensing system specifically designed for sports performance monitoring. Their technology integrates conductive yarns, functional inks, and miniaturized electronics directly into athletic apparel, creating "smart garments" that function as distributed sensor networks across the body. These textile-integrated sensors can monitor muscle activity through EMG (electromyography), joint angles through specialized strain sensors, and physiological parameters including heart rate, respiration, and skin temperature. The system employs a unique "textile circuit" architecture that eliminates the need for conventional rigid circuit boards, resulting in garments that maintain the comfort, washability, and durability of standard athletic wear. Their technology incorporates a proprietary signal processing methodology that can filter out motion artifacts—a common challenge in sports monitoring—using sensor fusion algorithms that combine data from complementary sensor types to extract meaningful performance metrics even during high-intensity activities.
Strengths: Superior comfort and user experience through seamless integration with existing athletic apparel; comprehensive whole-body monitoring capabilities beyond what patch-based systems can achieve; excellent durability with demonstrated functionality after 50+ wash cycles. Weaknesses: More complex initial fitting and calibration requirements compared to simple patch solutions; higher manufacturing costs due to specialized textile production processes; currently limited to specific garment types rather than universal application.
Key Patents in Sweat Analysis and Biometric Sensing
Wearable patches for sports
PatentPendingUS20220378372A1
Innovation
- A wearable patch with a sensor and transmitter circuit that attaches to the skin, monitoring conditions like heart rate, temperature, and movement, and transmitting data wirelessly to a monitor for real-time feedback and analysis.
Wearable sensor patch
PatentWO2025117631A1
Innovation
- A wearable sensor patch incorporating hydrogel microneedles and a flexible sensor element with elastomeric electrodes, allowing for minimally invasive ISF collection and simultaneous biomarker measurement in-situ. The patch is designed to accommodate hydrogel swelling and skin deformation, ensuring consistent signal stability.
Material Science Advancements for Skin-friendly Adhesives
Recent advancements in material science have revolutionized the development of skin-friendly adhesives for wearable biosensing patches in sports performance monitoring. Traditional adhesives often caused skin irritation during prolonged use, limiting the effectiveness of continuous monitoring systems for athletes. The evolution of biocompatible materials has addressed this critical challenge, enabling extended wear periods without compromising skin integrity.
Silicone-based adhesives represent a significant breakthrough, offering superior breathability while maintaining strong adhesion properties. These materials allow moisture vapor transmission, preventing the accumulation of sweat beneath the patch—a crucial feature for sports applications where perspiration is inevitable. Research indicates that silicone-based adhesives reduce skin maceration by approximately 40% compared to conventional acrylic alternatives.
Hydrocolloid adhesives have emerged as another promising solution, particularly for applications requiring extended wear periods. These materials absorb moisture while maintaining structural integrity, adapting to the dynamic environment of athletic performance. Studies demonstrate that hydrocolloid-based patches can remain effectively adhered for up to 7 days, even under intense physical activity conditions.
Nanotechnology integration has further enhanced adhesive performance through the development of micropatterned adhesive surfaces. These designs increase contact area while reducing the required adhesive strength, minimizing skin trauma upon removal. Electron microscopy analysis reveals that these micropatterns distribute adhesive forces more evenly across the skin surface, reducing localized stress points by up to 60%.
Biodegradable adhesives represent the latest frontier, incorporating naturally derived polymers such as modified chitosan and hyaluronic acid derivatives. These materials not only provide effective adhesion but also offer controlled degradation properties, reducing environmental impact. Preliminary clinical evaluations indicate comparable performance to synthetic alternatives with significantly reduced skin sensitization rates.
Smart adhesives with stimuli-responsive properties are currently under development, capable of modulating adhesion strength in response to environmental factors. These materials can potentially adjust their properties based on skin moisture levels or temperature changes during athletic performance, optimizing comfort while maintaining functional attachment.
Manufacturing innovations have enabled the production of gradient adhesive systems, featuring varying adhesive properties across the patch surface. This design approach allows for stronger adhesion at the periphery while maintaining gentler contact in central sensing regions, optimizing both security and comfort during high-intensity athletic activities.
Silicone-based adhesives represent a significant breakthrough, offering superior breathability while maintaining strong adhesion properties. These materials allow moisture vapor transmission, preventing the accumulation of sweat beneath the patch—a crucial feature for sports applications where perspiration is inevitable. Research indicates that silicone-based adhesives reduce skin maceration by approximately 40% compared to conventional acrylic alternatives.
Hydrocolloid adhesives have emerged as another promising solution, particularly for applications requiring extended wear periods. These materials absorb moisture while maintaining structural integrity, adapting to the dynamic environment of athletic performance. Studies demonstrate that hydrocolloid-based patches can remain effectively adhered for up to 7 days, even under intense physical activity conditions.
Nanotechnology integration has further enhanced adhesive performance through the development of micropatterned adhesive surfaces. These designs increase contact area while reducing the required adhesive strength, minimizing skin trauma upon removal. Electron microscopy analysis reveals that these micropatterns distribute adhesive forces more evenly across the skin surface, reducing localized stress points by up to 60%.
Biodegradable adhesives represent the latest frontier, incorporating naturally derived polymers such as modified chitosan and hyaluronic acid derivatives. These materials not only provide effective adhesion but also offer controlled degradation properties, reducing environmental impact. Preliminary clinical evaluations indicate comparable performance to synthetic alternatives with significantly reduced skin sensitization rates.
Smart adhesives with stimuli-responsive properties are currently under development, capable of modulating adhesion strength in response to environmental factors. These materials can potentially adjust their properties based on skin moisture levels or temperature changes during athletic performance, optimizing comfort while maintaining functional attachment.
Manufacturing innovations have enabled the production of gradient adhesive systems, featuring varying adhesive properties across the patch surface. This design approach allows for stronger adhesion at the periphery while maintaining gentler contact in central sensing regions, optimizing both security and comfort during high-intensity athletic activities.
Data Privacy and Security in Athletic Biometric Collection
The collection of biometric data from athletes through wearable biosensing patches presents significant privacy and security challenges. As these devices continuously monitor physiological parameters such as heart rate, body temperature, muscle activity, and sweat composition, they generate vast amounts of sensitive personal health information. This data requires robust protection frameworks to prevent unauthorized access, misuse, or breaches that could compromise athlete privacy and potentially lead to competitive disadvantages.
Current security implementations in athletic biometric systems typically employ multi-layered approaches. Encryption protocols secure data both at rest and in transit, with many leading solutions utilizing AES-256 encryption standards. Authentication mechanisms have evolved beyond simple passwords to include biometric verification and multi-factor authentication, particularly for accessing athlete performance dashboards and historical data repositories.
Despite these measures, vulnerabilities persist across the biosensing ecosystem. Wireless transmission protocols used by many patches, including Bluetooth Low Energy (BLE) and Near Field Communication (NFC), contain exploitable security gaps. Research has documented successful man-in-the-middle attacks against poorly configured BLE implementations in sports wearables, allowing interception of unencrypted biometric data streams.
Regulatory frameworks governing athletic biometric data vary significantly across jurisdictions, creating compliance challenges for global sports organizations. The European Union's GDPR imposes strict requirements on consent and data minimization, while U.S. regulations remain fragmented. Sports leagues have begun developing their own policies, with the NBA and NFL implementing collective bargaining agreements that explicitly address biometric data ownership and usage limitations.
Emerging threats in this domain include sophisticated adversarial attacks that can manipulate sensor readings to create false performance metrics. These attacks could potentially influence team selection decisions or contract negotiations. Additionally, the aggregation of longitudinal biometric data creates unique athlete "signatures" that may be identifiable even when supposedly anonymized, raising concerns about re-identification risks.
Future security architectures for athletic biosensing patches are increasingly incorporating on-device processing capabilities to minimize data transmission requirements. Edge computing approaches allow preliminary analysis to occur directly on the patch, with only relevant insights rather than raw data being transmitted to central systems. This data minimization strategy significantly reduces potential attack surfaces while addressing privacy concerns.
Current security implementations in athletic biometric systems typically employ multi-layered approaches. Encryption protocols secure data both at rest and in transit, with many leading solutions utilizing AES-256 encryption standards. Authentication mechanisms have evolved beyond simple passwords to include biometric verification and multi-factor authentication, particularly for accessing athlete performance dashboards and historical data repositories.
Despite these measures, vulnerabilities persist across the biosensing ecosystem. Wireless transmission protocols used by many patches, including Bluetooth Low Energy (BLE) and Near Field Communication (NFC), contain exploitable security gaps. Research has documented successful man-in-the-middle attacks against poorly configured BLE implementations in sports wearables, allowing interception of unencrypted biometric data streams.
Regulatory frameworks governing athletic biometric data vary significantly across jurisdictions, creating compliance challenges for global sports organizations. The European Union's GDPR imposes strict requirements on consent and data minimization, while U.S. regulations remain fragmented. Sports leagues have begun developing their own policies, with the NBA and NFL implementing collective bargaining agreements that explicitly address biometric data ownership and usage limitations.
Emerging threats in this domain include sophisticated adversarial attacks that can manipulate sensor readings to create false performance metrics. These attacks could potentially influence team selection decisions or contract negotiations. Additionally, the aggregation of longitudinal biometric data creates unique athlete "signatures" that may be identifiable even when supposedly anonymized, raising concerns about re-identification risks.
Future security architectures for athletic biosensing patches are increasingly incorporating on-device processing capabilities to minimize data transmission requirements. Edge computing approaches allow preliminary analysis to occur directly on the patch, with only relevant insights rather than raw data being transmitted to central systems. This data minimization strategy significantly reduces potential attack surfaces while addressing privacy concerns.
Unlock deeper insights with Patsnap Eureka Quick Research — get a full tech report to explore trends and direct your research. Try now!
Generate Your Research Report Instantly with AI Agent
Supercharge your innovation with Patsnap Eureka AI Agent Platform!







