Battery Management Systems for Rapidly Deployable Energy Solutions
AUG 8, 202510 MIN READ
Generate Your Research Report Instantly with AI Agent
Patsnap Eureka helps you evaluate technical feasibility & market potential.
BMS Tech Background and Objectives
Battery Management Systems (BMS) have become increasingly crucial in the rapidly evolving landscape of energy solutions. The development of BMS technology has been driven by the growing demand for efficient, reliable, and quickly deployable energy storage systems across various sectors. This technology has its roots in the early days of rechargeable batteries but has seen significant advancements in recent years due to the proliferation of electric vehicles, renewable energy integration, and portable electronic devices.
The evolution of BMS technology has been marked by several key milestones. Initially, BMS were simple analog circuits designed to prevent overcharging. As battery technologies advanced, so did the complexity of BMS, incorporating digital control systems, advanced algorithms for state estimation, and communication interfaces. The integration of microprocessors and sophisticated software has enabled more precise monitoring and control of battery parameters, leading to improved safety, longevity, and performance of energy storage systems.
Current trends in BMS technology focus on enhancing the intelligence and adaptability of these systems. Machine learning algorithms are being incorporated to predict battery behavior and optimize performance in real-time. The development of wireless BMS solutions is gaining traction, offering reduced wiring complexity and improved modularity for rapidly deployable energy solutions. Additionally, there is a growing emphasis on standardization and interoperability to facilitate the integration of BMS across different platforms and applications.
The primary objectives of modern BMS research for rapidly deployable energy solutions are multifaceted. Firstly, there is a push towards miniaturization and increased energy density, allowing for more compact and portable energy storage systems. Secondly, researchers aim to improve the accuracy of state estimation techniques, particularly for state of charge (SOC) and state of health (SOH) predictions, which are critical for optimizing battery usage and maintenance schedules. Thirdly, there is a focus on developing more robust and fault-tolerant BMS architectures to ensure reliable operation in diverse and challenging environments.
Another key objective is the enhancement of thermal management capabilities within BMS. As energy densities increase, effective thermal control becomes paramount for safety and performance. Researchers are exploring advanced cooling techniques and intelligent thermal management algorithms to address this challenge. Furthermore, there is a growing interest in developing BMS that can support multiple battery chemistries, providing flexibility for different applications and future-proofing against evolving battery technologies.
In conclusion, the field of Battery Management Systems for rapidly deployable energy solutions is at an exciting juncture. The convergence of advanced electronics, sophisticated algorithms, and innovative battery technologies is paving the way for more efficient, reliable, and versatile energy storage systems. As research continues to push the boundaries of what is possible, BMS technology is poised to play a pivotal role in shaping the future of portable and distributed energy solutions across various industries and applications.
The evolution of BMS technology has been marked by several key milestones. Initially, BMS were simple analog circuits designed to prevent overcharging. As battery technologies advanced, so did the complexity of BMS, incorporating digital control systems, advanced algorithms for state estimation, and communication interfaces. The integration of microprocessors and sophisticated software has enabled more precise monitoring and control of battery parameters, leading to improved safety, longevity, and performance of energy storage systems.
Current trends in BMS technology focus on enhancing the intelligence and adaptability of these systems. Machine learning algorithms are being incorporated to predict battery behavior and optimize performance in real-time. The development of wireless BMS solutions is gaining traction, offering reduced wiring complexity and improved modularity for rapidly deployable energy solutions. Additionally, there is a growing emphasis on standardization and interoperability to facilitate the integration of BMS across different platforms and applications.
The primary objectives of modern BMS research for rapidly deployable energy solutions are multifaceted. Firstly, there is a push towards miniaturization and increased energy density, allowing for more compact and portable energy storage systems. Secondly, researchers aim to improve the accuracy of state estimation techniques, particularly for state of charge (SOC) and state of health (SOH) predictions, which are critical for optimizing battery usage and maintenance schedules. Thirdly, there is a focus on developing more robust and fault-tolerant BMS architectures to ensure reliable operation in diverse and challenging environments.
Another key objective is the enhancement of thermal management capabilities within BMS. As energy densities increase, effective thermal control becomes paramount for safety and performance. Researchers are exploring advanced cooling techniques and intelligent thermal management algorithms to address this challenge. Furthermore, there is a growing interest in developing BMS that can support multiple battery chemistries, providing flexibility for different applications and future-proofing against evolving battery technologies.
In conclusion, the field of Battery Management Systems for rapidly deployable energy solutions is at an exciting juncture. The convergence of advanced electronics, sophisticated algorithms, and innovative battery technologies is paving the way for more efficient, reliable, and versatile energy storage systems. As research continues to push the boundaries of what is possible, BMS technology is poised to play a pivotal role in shaping the future of portable and distributed energy solutions across various industries and applications.
Market Demand Analysis for Rapid Energy Solutions
The market demand for rapidly deployable energy solutions has been experiencing significant growth in recent years, driven by various factors including increasing energy consumption, the need for emergency power supply, and the rise of renewable energy integration. Battery Management Systems (BMS) play a crucial role in these solutions, ensuring efficient and safe operation of energy storage systems.
In the context of emergency response and disaster relief, there is a growing demand for portable and quickly deployable power sources. Natural disasters, humanitarian crises, and military operations require immediate access to electricity in remote or damaged areas. This has led to an increased focus on developing compact, robust, and easily transportable energy solutions with advanced BMS capabilities.
The construction and infrastructure development sectors also contribute to the rising demand for rapid energy solutions. Temporary power supply for construction sites, events, and remote projects necessitates flexible and reliable energy storage systems. BMS technology enables these systems to operate efficiently, maximizing battery life and performance while ensuring safety.
The integration of renewable energy sources into existing power grids has created a need for energy storage solutions that can balance supply and demand. Rapidly deployable energy systems with sophisticated BMS can help manage intermittent renewable energy generation, providing grid stability and reducing reliance on fossil fuel-based backup power.
In the telecommunications industry, the expansion of 5G networks and the increasing number of remote cell sites have driven demand for reliable, off-grid power solutions. BMS-equipped energy storage systems are essential for maintaining uninterrupted communication services in areas with unreliable grid connections or during power outages.
The electric vehicle (EV) market's rapid growth has also influenced the demand for advanced BMS technology in portable charging solutions. As EV adoption increases, there is a growing need for mobile charging stations and emergency power sources for stranded vehicles, further driving the market for rapidly deployable energy solutions.
The healthcare sector presents another significant market opportunity, particularly in the wake of global health crises. Portable medical equipment, temporary medical facilities, and vaccine cold chains require reliable and quickly deployable power sources with precise energy management capabilities.
As urbanization continues and smart city initiatives gain traction, there is an increasing demand for flexible energy solutions that can support various urban applications. These include temporary power for events, emergency backup for critical infrastructure, and rapid deployment of charging stations for electric mobility solutions.
In the context of emergency response and disaster relief, there is a growing demand for portable and quickly deployable power sources. Natural disasters, humanitarian crises, and military operations require immediate access to electricity in remote or damaged areas. This has led to an increased focus on developing compact, robust, and easily transportable energy solutions with advanced BMS capabilities.
The construction and infrastructure development sectors also contribute to the rising demand for rapid energy solutions. Temporary power supply for construction sites, events, and remote projects necessitates flexible and reliable energy storage systems. BMS technology enables these systems to operate efficiently, maximizing battery life and performance while ensuring safety.
The integration of renewable energy sources into existing power grids has created a need for energy storage solutions that can balance supply and demand. Rapidly deployable energy systems with sophisticated BMS can help manage intermittent renewable energy generation, providing grid stability and reducing reliance on fossil fuel-based backup power.
In the telecommunications industry, the expansion of 5G networks and the increasing number of remote cell sites have driven demand for reliable, off-grid power solutions. BMS-equipped energy storage systems are essential for maintaining uninterrupted communication services in areas with unreliable grid connections or during power outages.
The electric vehicle (EV) market's rapid growth has also influenced the demand for advanced BMS technology in portable charging solutions. As EV adoption increases, there is a growing need for mobile charging stations and emergency power sources for stranded vehicles, further driving the market for rapidly deployable energy solutions.
The healthcare sector presents another significant market opportunity, particularly in the wake of global health crises. Portable medical equipment, temporary medical facilities, and vaccine cold chains require reliable and quickly deployable power sources with precise energy management capabilities.
As urbanization continues and smart city initiatives gain traction, there is an increasing demand for flexible energy solutions that can support various urban applications. These include temporary power for events, emergency backup for critical infrastructure, and rapid deployment of charging stations for electric mobility solutions.
BMS Challenges in Rapid Deployment
Battery Management Systems (BMS) face significant challenges in rapidly deployable energy solutions. These systems must adapt to diverse environments and unpredictable conditions while maintaining optimal performance and safety. One of the primary challenges is the need for rapid setup and configuration. Traditional BMS often require extensive calibration and setup time, which is not feasible in scenarios demanding quick deployment.
The variability of power demands in rapidly deployed systems presents another hurdle. BMS must be capable of handling sudden load changes and power surges without compromising battery health or system stability. This requires advanced algorithms and predictive capabilities to anticipate and respond to fluctuating energy requirements.
Environmental factors pose a substantial challenge for BMS in rapid deployment scenarios. These systems may be exposed to extreme temperatures, humidity, dust, and vibrations. Ensuring reliable operation and accurate monitoring under such conditions demands robust hardware design and adaptive software solutions.
Interoperability is a critical issue in rapidly deployable energy solutions. BMS must be compatible with various battery chemistries, capacities, and configurations to accommodate different deployment scenarios. This versatility is essential but complicates the design and implementation of BMS solutions.
Communication and remote monitoring capabilities are vital for rapidly deployed BMS. These systems often operate in remote or inaccessible locations, necessitating reliable wireless communication protocols and secure data transmission methods. Ensuring consistent connectivity in challenging environments is a significant technical hurdle.
Safety considerations are paramount in rapid deployment scenarios. BMS must incorporate advanced fault detection and protection mechanisms to prevent thermal runaway, overcharging, and other potential hazards. The challenge lies in implementing these safety features without compromising the system's responsiveness and efficiency.
Scalability and modularity present additional challenges for BMS in rapid deployment. The ability to quickly scale energy storage capacity or reconfigure the system for different applications is crucial. Designing BMS architectures that allow for seamless expansion and adaptation without requiring extensive redesign or reconfiguration is a complex engineering task.
Energy efficiency and power optimization are ongoing challenges in rapidly deployable BMS. These systems must maximize battery life and performance while minimizing energy losses, even in suboptimal conditions. Developing intelligent charging and discharging strategies that adapt to varying environmental and operational factors is a key area of focus.
Human-Machine Interface (HMI) design for rapidly deployable BMS presents unique challenges. The interface must be intuitive and user-friendly, allowing for quick setup and operation by personnel with varying levels of technical expertise. Balancing simplicity with the need for comprehensive system control and monitoring is a delicate task.
The variability of power demands in rapidly deployed systems presents another hurdle. BMS must be capable of handling sudden load changes and power surges without compromising battery health or system stability. This requires advanced algorithms and predictive capabilities to anticipate and respond to fluctuating energy requirements.
Environmental factors pose a substantial challenge for BMS in rapid deployment scenarios. These systems may be exposed to extreme temperatures, humidity, dust, and vibrations. Ensuring reliable operation and accurate monitoring under such conditions demands robust hardware design and adaptive software solutions.
Interoperability is a critical issue in rapidly deployable energy solutions. BMS must be compatible with various battery chemistries, capacities, and configurations to accommodate different deployment scenarios. This versatility is essential but complicates the design and implementation of BMS solutions.
Communication and remote monitoring capabilities are vital for rapidly deployed BMS. These systems often operate in remote or inaccessible locations, necessitating reliable wireless communication protocols and secure data transmission methods. Ensuring consistent connectivity in challenging environments is a significant technical hurdle.
Safety considerations are paramount in rapid deployment scenarios. BMS must incorporate advanced fault detection and protection mechanisms to prevent thermal runaway, overcharging, and other potential hazards. The challenge lies in implementing these safety features without compromising the system's responsiveness and efficiency.
Scalability and modularity present additional challenges for BMS in rapid deployment. The ability to quickly scale energy storage capacity or reconfigure the system for different applications is crucial. Designing BMS architectures that allow for seamless expansion and adaptation without requiring extensive redesign or reconfiguration is a complex engineering task.
Energy efficiency and power optimization are ongoing challenges in rapidly deployable BMS. These systems must maximize battery life and performance while minimizing energy losses, even in suboptimal conditions. Developing intelligent charging and discharging strategies that adapt to varying environmental and operational factors is a key area of focus.
Human-Machine Interface (HMI) design for rapidly deployable BMS presents unique challenges. The interface must be intuitive and user-friendly, allowing for quick setup and operation by personnel with varying levels of technical expertise. Balancing simplicity with the need for comprehensive system control and monitoring is a delicate task.
Current BMS Solutions for Quick Deployment
01 Battery monitoring and control systems
These systems monitor various parameters of battery cells or packs, such as voltage, current, temperature, and state of charge. They use this data to optimize battery performance, ensure safe operation, and extend battery life through intelligent charging and discharging strategies.- Battery monitoring and control systems: These systems monitor various parameters of batteries, such as voltage, current, temperature, and state of charge. They use this information to optimize battery performance, extend battery life, and ensure safe operation. Advanced algorithms are employed to estimate battery health and predict remaining useful life.
- Thermal management in battery systems: Thermal management is crucial for battery performance and safety. These systems regulate battery temperature through cooling or heating mechanisms, preventing overheating and maintaining optimal operating conditions. They may include sensors, cooling circuits, and control algorithms to manage heat distribution across battery packs.
- Cell balancing techniques: Cell balancing ensures uniform charge distribution across multiple cells in a battery pack. This extends battery life, improves overall performance, and enhances safety. Various methods are employed, including passive and active balancing techniques, to equalize the state of charge of individual cells.
- Battery management for electric vehicles: Specialized battery management systems for electric vehicles focus on optimizing range, charging efficiency, and overall vehicle performance. These systems integrate with vehicle control units, manage power distribution, and implement strategies for regenerative braking and energy recovery.
- Smart charging and grid integration: Advanced battery management systems incorporate smart charging capabilities and grid integration features. These systems optimize charging schedules based on grid conditions, energy prices, and user preferences. They also enable vehicle-to-grid (V2G) functionality, allowing batteries to support grid stability and participate in energy markets.
02 Thermal management in battery systems
Thermal management is crucial for battery performance and longevity. These systems employ various cooling or heating methods to maintain optimal battery temperature, preventing overheating and ensuring efficient operation across different environmental conditions.Expand Specific Solutions03 Battery state estimation techniques
Advanced algorithms and methods are used to accurately estimate the state of charge, state of health, and remaining useful life of batteries. These techniques often involve machine learning, data analytics, and real-time monitoring to provide precise information for battery management.Expand Specific Solutions04 Cell balancing and charge equalization
These systems ensure that individual cells within a battery pack maintain similar charge levels. By redistributing charge between cells or controlling charging rates, they optimize overall battery performance and prevent premature degradation of certain cells.Expand Specific Solutions05 Integration with power electronics and energy management
Battery management systems are increasingly integrated with broader energy management systems and power electronics. This integration allows for optimized energy flow between batteries, renewable energy sources, and the grid, enhancing overall system efficiency and reliability.Expand Specific Solutions
Key Players in BMS Industry
The Battery Management Systems (BMS) market for rapidly deployable energy solutions is in a growth phase, driven by increasing demand for efficient energy storage and management. The market size is expanding, with projections indicating significant growth in the coming years. Technologically, BMS is advancing rapidly, with companies like Samsung SDI, EVE Energy, and BYD Semiconductor leading innovation. These firms are developing more sophisticated, intelligent, and efficient BMS solutions. The competitive landscape is diverse, including established electronics giants, specialized battery manufacturers, and emerging tech companies, each bringing unique strengths to the field. As the technology matures, we're seeing a trend towards more integrated, scalable, and adaptable BMS solutions to meet the evolving needs of various industries.
Samsung SDI Co., Ltd.
Technical Solution: Samsung SDI's BMS for rapidly deployable energy solutions focuses on modular and scalable designs. Their system utilizes advanced cell chemistry and intelligent power management algorithms to maximize energy density and cycle life. Samsung's BMS incorporates high-speed communication protocols for real-time monitoring and control, enabling rapid response to changing load conditions. The system features adaptive balancing techniques to optimize the performance of individual cells within large battery packs. Samsung SDI also emphasizes safety in their BMS design, implementing multi-layer protection mechanisms against thermal runaway and other potential hazards [4][6].
Strengths: Modular and scalable design, advanced cell chemistry, and robust safety features. Weaknesses: Potentially complex integration process for non-Samsung energy storage systems.
GM Global Technology Operations LLC
Technical Solution: GM's BMS for rapid energy deployment leverages their extensive experience in electric vehicle technology. Their system employs a distributed architecture with smart cell controllers, allowing for precise management of large-scale battery packs. GM's BMS utilizes advanced algorithms for SOC and SOH estimation, incorporating factors such as temperature, voltage, and current for accurate predictions. The system features adaptive charging protocols that optimize charging speed while minimizing battery degradation. GM's BMS also includes prognostics and health management (PHM) capabilities, enabling predictive maintenance and reducing downtime in rapid deployment scenarios [7][8].
Strengths: Extensive EV experience, distributed architecture for large-scale management, and advanced PHM capabilities. Weaknesses: Potential limitations in non-automotive energy storage applications.
Core BMS Innovations for Rapid Energy
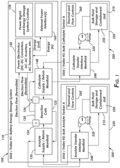
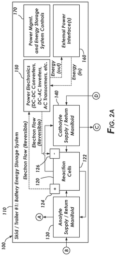
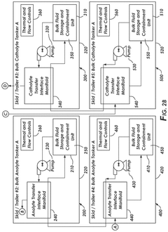
Rapidly Deployable Redox Flow Battery Energy Storage System
PatentPendingUS20240339639A1
Innovation
- A mobile redox battery energy storage system with a reaction cell, ion-exchange membrane, and detachable anolyte and catholyte tanker systems, featuring a common mobile platform for rapid deployment, serial/parallel tank connections for increased energy storage, and integrated thermal and flow controls for efficient fluid management.
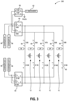
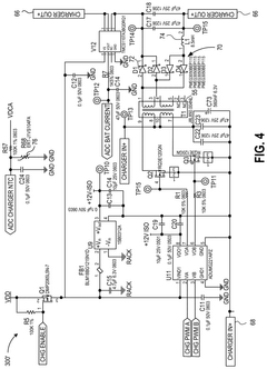
Battery management system and method of operation
PatentPendingUS20250105383A1
Innovation
- A battery energy storage system incorporating a dual-circuitry BMS with a first circuitry for protection management and a second circuitry for capacity management, which performs auxiliary services such as active cell-to-cell balancing, communication with external systems, and fault management, ensuring efficient operation and extended battery lifespan.
Energy Storage Regulations and Standards
Energy storage regulations and standards play a crucial role in ensuring the safety, reliability, and interoperability of rapidly deployable energy solutions, particularly in the context of battery management systems (BMS). These regulations and standards are continuously evolving to keep pace with technological advancements and address emerging challenges in the field.
At the international level, organizations such as the International Electrotechnical Commission (IEC) and the Institute of Electrical and Electronics Engineers (IEEE) have developed comprehensive standards for energy storage systems. The IEC 62933 series, for instance, provides guidelines for electrical energy storage systems, covering aspects such as safety considerations, environmental issues, and planning and installation.
In the United States, the National Fire Protection Association (NFPA) has established NFPA 855, which addresses the installation of stationary energy storage systems. This standard is particularly relevant for rapidly deployable solutions, as it outlines safety requirements for various types of energy storage technologies, including lithium-ion batteries.
The UL 1973 standard, developed by Underwriters Laboratories, focuses specifically on batteries for use in light electric rail and stationary applications. This standard is essential for ensuring the safety and performance of battery systems in rapidly deployable energy solutions.
For battery management systems, the ISO 26262 standard, although primarily developed for automotive applications, has become increasingly relevant in other sectors. It provides a framework for functional safety in electrical and electronic systems, which is applicable to BMS design and implementation in rapidly deployable energy solutions.
In Europe, the European Committee for Electrotechnical Standardization (CENELEC) has developed EN 50272-2, which covers safety requirements for secondary batteries and battery installations. This standard is particularly important for ensuring the safe operation of energy storage systems in various applications.
Regulatory bodies such as the Federal Energy Regulatory Commission (FERC) in the United States have also issued orders and guidelines that impact energy storage systems. FERC Order 841, for example, aims to remove barriers to the participation of electric storage resources in wholesale electricity markets.
As the demand for rapidly deployable energy solutions grows, there is an increasing focus on developing standards specific to mobile and temporary energy storage systems. The IEC Technical Committee 120 is currently working on standards that address the unique challenges of these systems, including transportation, rapid deployment, and integration with existing infrastructure.
Compliance with these regulations and standards is essential for manufacturers and operators of rapidly deployable energy solutions. It not only ensures safety and reliability but also facilitates market acceptance and interoperability across different systems and regions.
At the international level, organizations such as the International Electrotechnical Commission (IEC) and the Institute of Electrical and Electronics Engineers (IEEE) have developed comprehensive standards for energy storage systems. The IEC 62933 series, for instance, provides guidelines for electrical energy storage systems, covering aspects such as safety considerations, environmental issues, and planning and installation.
In the United States, the National Fire Protection Association (NFPA) has established NFPA 855, which addresses the installation of stationary energy storage systems. This standard is particularly relevant for rapidly deployable solutions, as it outlines safety requirements for various types of energy storage technologies, including lithium-ion batteries.
The UL 1973 standard, developed by Underwriters Laboratories, focuses specifically on batteries for use in light electric rail and stationary applications. This standard is essential for ensuring the safety and performance of battery systems in rapidly deployable energy solutions.
For battery management systems, the ISO 26262 standard, although primarily developed for automotive applications, has become increasingly relevant in other sectors. It provides a framework for functional safety in electrical and electronic systems, which is applicable to BMS design and implementation in rapidly deployable energy solutions.
In Europe, the European Committee for Electrotechnical Standardization (CENELEC) has developed EN 50272-2, which covers safety requirements for secondary batteries and battery installations. This standard is particularly important for ensuring the safe operation of energy storage systems in various applications.
Regulatory bodies such as the Federal Energy Regulatory Commission (FERC) in the United States have also issued orders and guidelines that impact energy storage systems. FERC Order 841, for example, aims to remove barriers to the participation of electric storage resources in wholesale electricity markets.
As the demand for rapidly deployable energy solutions grows, there is an increasing focus on developing standards specific to mobile and temporary energy storage systems. The IEC Technical Committee 120 is currently working on standards that address the unique challenges of these systems, including transportation, rapid deployment, and integration with existing infrastructure.
Compliance with these regulations and standards is essential for manufacturers and operators of rapidly deployable energy solutions. It not only ensures safety and reliability but also facilitates market acceptance and interoperability across different systems and regions.
Environmental Impact of Rapid Energy Solutions
The rapid deployment of energy solutions, particularly those involving battery management systems, has significant environmental implications that warrant careful consideration. These systems, while crucial for addressing immediate energy needs, can have both positive and negative impacts on the environment.
On the positive side, rapidly deployable energy solutions often incorporate renewable energy sources, such as solar or wind power, which can significantly reduce greenhouse gas emissions compared to traditional fossil fuel-based energy systems. Battery management systems play a crucial role in optimizing the use of these intermittent energy sources, ensuring efficient energy storage and distribution. This can lead to a reduction in overall carbon footprint and contribute to global efforts to mitigate climate change.
However, the environmental impact of battery production and disposal cannot be overlooked. The manufacturing process of batteries, especially lithium-ion batteries commonly used in these systems, involves the extraction of raw materials such as lithium, cobalt, and nickel. This mining activity can lead to habitat destruction, water pollution, and soil degradation in the areas where these resources are extracted. Additionally, the energy-intensive production process of batteries contributes to carbon emissions.
The end-of-life management of batteries also poses environmental challenges. Improper disposal of batteries can lead to the leaching of toxic materials into soil and water systems, potentially harming ecosystems and human health. While recycling technologies for batteries are improving, the current recycling rates for many battery components remain low, leading to resource waste and potential environmental contamination.
The rapid deployment nature of these energy solutions may also have localized environmental impacts. The installation of temporary or semi-permanent energy infrastructure can disrupt local ecosystems, particularly if deployed in sensitive areas. This includes potential impacts on wildlife habitats, vegetation, and local water resources. However, compared to traditional large-scale energy infrastructure projects, these rapidly deployable solutions often have a smaller physical footprint and can be more easily removed or relocated, potentially minimizing long-term environmental damage.
To mitigate these environmental concerns, it is crucial to implement comprehensive lifecycle management strategies for rapidly deployable energy solutions. This includes optimizing battery design for recyclability, improving battery recycling technologies and infrastructure, and implementing responsible sourcing practices for raw materials. Additionally, careful site selection and impact assessments should be conducted before deploying these systems to minimize disruption to local ecosystems.
In conclusion, while rapidly deployable energy solutions with advanced battery management systems offer significant potential for addressing urgent energy needs and supporting the transition to renewable energy, their environmental impact must be carefully managed. Balancing the immediate benefits of these systems with long-term environmental sustainability requires ongoing research, innovation, and responsible implementation practices.
On the positive side, rapidly deployable energy solutions often incorporate renewable energy sources, such as solar or wind power, which can significantly reduce greenhouse gas emissions compared to traditional fossil fuel-based energy systems. Battery management systems play a crucial role in optimizing the use of these intermittent energy sources, ensuring efficient energy storage and distribution. This can lead to a reduction in overall carbon footprint and contribute to global efforts to mitigate climate change.
However, the environmental impact of battery production and disposal cannot be overlooked. The manufacturing process of batteries, especially lithium-ion batteries commonly used in these systems, involves the extraction of raw materials such as lithium, cobalt, and nickel. This mining activity can lead to habitat destruction, water pollution, and soil degradation in the areas where these resources are extracted. Additionally, the energy-intensive production process of batteries contributes to carbon emissions.
The end-of-life management of batteries also poses environmental challenges. Improper disposal of batteries can lead to the leaching of toxic materials into soil and water systems, potentially harming ecosystems and human health. While recycling technologies for batteries are improving, the current recycling rates for many battery components remain low, leading to resource waste and potential environmental contamination.
The rapid deployment nature of these energy solutions may also have localized environmental impacts. The installation of temporary or semi-permanent energy infrastructure can disrupt local ecosystems, particularly if deployed in sensitive areas. This includes potential impacts on wildlife habitats, vegetation, and local water resources. However, compared to traditional large-scale energy infrastructure projects, these rapidly deployable solutions often have a smaller physical footprint and can be more easily removed or relocated, potentially minimizing long-term environmental damage.
To mitigate these environmental concerns, it is crucial to implement comprehensive lifecycle management strategies for rapidly deployable energy solutions. This includes optimizing battery design for recyclability, improving battery recycling technologies and infrastructure, and implementing responsible sourcing practices for raw materials. Additionally, careful site selection and impact assessments should be conducted before deploying these systems to minimize disruption to local ecosystems.
In conclusion, while rapidly deployable energy solutions with advanced battery management systems offer significant potential for addressing urgent energy needs and supporting the transition to renewable energy, their environmental impact must be carefully managed. Balancing the immediate benefits of these systems with long-term environmental sustainability requires ongoing research, innovation, and responsible implementation practices.
Unlock deeper insights with Patsnap Eureka Quick Research — get a full tech report to explore trends and direct your research. Try now!
Generate Your Research Report Instantly with AI Agent
Supercharge your innovation with Patsnap Eureka AI Agent Platform!






