Role of Software Updates in Battery Management System Evolution
AUG 8, 20259 MIN READ
Generate Your Research Report Instantly with AI Agent
Patsnap Eureka helps you evaluate technical feasibility & market potential.
BMS Software Update Background and Objectives
Battery Management Systems (BMS) have become an integral component in the evolution of electric vehicles and energy storage systems. As the complexity and performance requirements of these systems continue to grow, the role of software updates in BMS has become increasingly crucial. The background of BMS software updates can be traced back to the early days of electric vehicle development, where basic battery monitoring and control functions were implemented through fixed firmware.
With the rapid advancement of battery technology and the increasing demands for safety, efficiency, and longevity, BMS software has evolved from simple monitoring to sophisticated management systems. This evolution has necessitated the ability to update and improve BMS functionality over time, leading to the development of updateable software architectures.
The primary objective of BMS software updates is to enhance the overall performance and reliability of battery systems throughout their lifecycle. These updates aim to address various aspects, including improved battery state estimation, more accurate thermal management, enhanced safety features, and optimized charging strategies. By enabling remote updates, manufacturers can continuously refine their BMS algorithms and introduce new features without the need for physical hardware modifications.
Another critical objective of BMS software updates is to adapt to changing battery characteristics over time. As batteries age and their performance degrades, updates can help recalibrate the BMS to maintain optimal operation and extend the useful life of the battery pack. This adaptive approach is particularly important in the context of electric vehicles, where battery performance directly impacts range and overall vehicle efficiency.
Furthermore, BMS software updates play a vital role in addressing emerging security concerns and compliance with evolving regulatory standards. As the automotive and energy storage industries face increasing cybersecurity threats, regular software updates provide a means to patch vulnerabilities and implement enhanced security measures. Additionally, updates allow manufacturers to quickly respond to new regulations and safety standards, ensuring their products remain compliant in a rapidly changing regulatory landscape.
The development of over-the-air (OTA) update capabilities has significantly expanded the potential for BMS software evolution. OTA updates enable manufacturers to deploy new features, bug fixes, and performance improvements to entire fleets of vehicles or energy storage systems remotely. This capability not only reduces maintenance costs but also allows for rapid deployment of critical updates, enhancing the overall user experience and system reliability.
With the rapid advancement of battery technology and the increasing demands for safety, efficiency, and longevity, BMS software has evolved from simple monitoring to sophisticated management systems. This evolution has necessitated the ability to update and improve BMS functionality over time, leading to the development of updateable software architectures.
The primary objective of BMS software updates is to enhance the overall performance and reliability of battery systems throughout their lifecycle. These updates aim to address various aspects, including improved battery state estimation, more accurate thermal management, enhanced safety features, and optimized charging strategies. By enabling remote updates, manufacturers can continuously refine their BMS algorithms and introduce new features without the need for physical hardware modifications.
Another critical objective of BMS software updates is to adapt to changing battery characteristics over time. As batteries age and their performance degrades, updates can help recalibrate the BMS to maintain optimal operation and extend the useful life of the battery pack. This adaptive approach is particularly important in the context of electric vehicles, where battery performance directly impacts range and overall vehicle efficiency.
Furthermore, BMS software updates play a vital role in addressing emerging security concerns and compliance with evolving regulatory standards. As the automotive and energy storage industries face increasing cybersecurity threats, regular software updates provide a means to patch vulnerabilities and implement enhanced security measures. Additionally, updates allow manufacturers to quickly respond to new regulations and safety standards, ensuring their products remain compliant in a rapidly changing regulatory landscape.
The development of over-the-air (OTA) update capabilities has significantly expanded the potential for BMS software evolution. OTA updates enable manufacturers to deploy new features, bug fixes, and performance improvements to entire fleets of vehicles or energy storage systems remotely. This capability not only reduces maintenance costs but also allows for rapid deployment of critical updates, enhancing the overall user experience and system reliability.
Market Demand for Advanced BMS Solutions
The demand for advanced Battery Management System (BMS) solutions has been steadily increasing in recent years, driven by the rapid growth of electric vehicles (EVs) and renewable energy storage systems. As the automotive industry shifts towards electrification, there is a growing need for more sophisticated BMS technologies that can optimize battery performance, extend lifespan, and enhance safety.
One of the primary factors fueling this demand is the expanding EV market. With major automakers committing to electrify their fleets, the need for advanced BMS solutions has become critical. These systems play a crucial role in managing the complex lithium-ion battery packs used in EVs, ensuring optimal performance, safety, and longevity. As consumers demand longer driving ranges and faster charging times, BMS technologies must evolve to meet these expectations.
The renewable energy sector is another key driver of demand for advanced BMS solutions. As more countries invest in solar and wind power, the need for efficient energy storage systems has grown. Advanced BMS technologies are essential for managing large-scale battery storage installations, optimizing charge and discharge cycles, and ensuring grid stability.
In the consumer electronics market, there is a growing demand for devices with longer battery life and faster charging capabilities. This has led to increased interest in advanced BMS solutions that can maximize battery performance while ensuring safety and longevity. Smartphones, laptops, and wearable devices are all benefiting from improvements in BMS technology.
The industrial sector is also contributing to the demand for advanced BMS solutions. As factories and warehouses increasingly adopt automated systems and electric forklifts, there is a growing need for reliable and efficient battery management. Advanced BMS technologies can help optimize energy usage, reduce downtime, and extend the lifespan of industrial batteries.
Safety concerns are another significant factor driving the demand for advanced BMS solutions. High-profile incidents involving battery fires in EVs and consumer electronics have highlighted the importance of robust battery management systems. As a result, there is increasing pressure on manufacturers to implement more sophisticated BMS technologies that can detect and prevent potential safety issues.
The market for advanced BMS solutions is also being shaped by regulatory requirements. Governments around the world are implementing stricter emissions standards and promoting the adoption of clean energy technologies. This has led to increased investment in BMS research and development, as companies seek to comply with regulations and gain a competitive edge in the growing market for electric and hybrid vehicles.
One of the primary factors fueling this demand is the expanding EV market. With major automakers committing to electrify their fleets, the need for advanced BMS solutions has become critical. These systems play a crucial role in managing the complex lithium-ion battery packs used in EVs, ensuring optimal performance, safety, and longevity. As consumers demand longer driving ranges and faster charging times, BMS technologies must evolve to meet these expectations.
The renewable energy sector is another key driver of demand for advanced BMS solutions. As more countries invest in solar and wind power, the need for efficient energy storage systems has grown. Advanced BMS technologies are essential for managing large-scale battery storage installations, optimizing charge and discharge cycles, and ensuring grid stability.
In the consumer electronics market, there is a growing demand for devices with longer battery life and faster charging capabilities. This has led to increased interest in advanced BMS solutions that can maximize battery performance while ensuring safety and longevity. Smartphones, laptops, and wearable devices are all benefiting from improvements in BMS technology.
The industrial sector is also contributing to the demand for advanced BMS solutions. As factories and warehouses increasingly adopt automated systems and electric forklifts, there is a growing need for reliable and efficient battery management. Advanced BMS technologies can help optimize energy usage, reduce downtime, and extend the lifespan of industrial batteries.
Safety concerns are another significant factor driving the demand for advanced BMS solutions. High-profile incidents involving battery fires in EVs and consumer electronics have highlighted the importance of robust battery management systems. As a result, there is increasing pressure on manufacturers to implement more sophisticated BMS technologies that can detect and prevent potential safety issues.
The market for advanced BMS solutions is also being shaped by regulatory requirements. Governments around the world are implementing stricter emissions standards and promoting the adoption of clean energy technologies. This has led to increased investment in BMS research and development, as companies seek to comply with regulations and gain a competitive edge in the growing market for electric and hybrid vehicles.
Current BMS Software Update Challenges
Battery Management Systems (BMS) are critical components in modern electric vehicles and energy storage systems. As these systems evolve, software updates play an increasingly important role in enhancing performance, safety, and functionality. However, the process of updating BMS software faces several significant challenges in the current technological landscape.
One of the primary challenges is ensuring system reliability and safety during the update process. BMS software controls critical functions such as cell balancing, thermal management, and state-of-charge estimation. Any interruption or error during an update could potentially lead to system malfunction or safety hazards. Developing robust update mechanisms that can handle power interruptions, network failures, or hardware issues without compromising system integrity is a complex task.
Compatibility issues between new software versions and existing hardware configurations present another significant hurdle. As BMS hardware evolves, software updates must be designed to work seamlessly across different generations of hardware, which may have varying capabilities and limitations. This backward compatibility requirement often constrains the scope of potential improvements and increases development complexity.
Security concerns are paramount in BMS software updates. With the increasing connectivity of vehicles and energy storage systems, protecting against unauthorized access and malicious attacks during the update process is crucial. Implementing secure communication protocols, encryption methods, and authentication mechanisms adds layers of complexity to the update process.
The validation and testing of BMS software updates pose substantial challenges. Given the safety-critical nature of BMS functions, extensive testing is required to ensure that updates do not introduce new bugs or compromise existing functionalities. This process is time-consuming and resource-intensive, often requiring sophisticated simulation environments and real-world testing scenarios.
Regulatory compliance adds another dimension to the challenges faced in BMS software updates. As automotive and energy storage regulations evolve, software updates must adhere to stringent safety and performance standards. Navigating the complex landscape of international regulations and certification requirements can significantly impact the development and deployment of software updates.
The logistics of deploying updates to a large fleet of vehicles or energy storage systems present operational challenges. Coordinating the rollout of updates across diverse geographical locations, managing bandwidth constraints, and ensuring minimal disruption to end-users require sophisticated management systems and strategies.
Lastly, the rapid pace of technological advancement in battery technology and electric vehicle systems means that BMS software must continually evolve to support new features and optimizations. This constant need for innovation puts pressure on development teams to balance the implementation of new functionalities with maintaining system stability and reliability.
One of the primary challenges is ensuring system reliability and safety during the update process. BMS software controls critical functions such as cell balancing, thermal management, and state-of-charge estimation. Any interruption or error during an update could potentially lead to system malfunction or safety hazards. Developing robust update mechanisms that can handle power interruptions, network failures, or hardware issues without compromising system integrity is a complex task.
Compatibility issues between new software versions and existing hardware configurations present another significant hurdle. As BMS hardware evolves, software updates must be designed to work seamlessly across different generations of hardware, which may have varying capabilities and limitations. This backward compatibility requirement often constrains the scope of potential improvements and increases development complexity.
Security concerns are paramount in BMS software updates. With the increasing connectivity of vehicles and energy storage systems, protecting against unauthorized access and malicious attacks during the update process is crucial. Implementing secure communication protocols, encryption methods, and authentication mechanisms adds layers of complexity to the update process.
The validation and testing of BMS software updates pose substantial challenges. Given the safety-critical nature of BMS functions, extensive testing is required to ensure that updates do not introduce new bugs or compromise existing functionalities. This process is time-consuming and resource-intensive, often requiring sophisticated simulation environments and real-world testing scenarios.
Regulatory compliance adds another dimension to the challenges faced in BMS software updates. As automotive and energy storage regulations evolve, software updates must adhere to stringent safety and performance standards. Navigating the complex landscape of international regulations and certification requirements can significantly impact the development and deployment of software updates.
The logistics of deploying updates to a large fleet of vehicles or energy storage systems present operational challenges. Coordinating the rollout of updates across diverse geographical locations, managing bandwidth constraints, and ensuring minimal disruption to end-users require sophisticated management systems and strategies.
Lastly, the rapid pace of technological advancement in battery technology and electric vehicle systems means that BMS software must continually evolve to support new features and optimizations. This constant need for innovation puts pressure on development teams to balance the implementation of new functionalities with maintaining system stability and reliability.
Existing BMS Software Update Mechanisms
01 Over-the-air (OTA) software updates for battery management systems
Battery management systems can be updated remotely using over-the-air (OTA) technology. This allows for efficient distribution of software updates to improve battery performance, safety, and functionality without requiring physical access to the vehicle or device.- Over-the-air (OTA) software updates for battery management systems: Battery management systems can be updated remotely using over-the-air (OTA) technology. This allows for efficient distribution of software updates to improve battery performance, safety, and functionality without requiring physical access to the vehicle or device.
- Incremental updates and version control for BMS software: Implementing incremental updates and version control systems for battery management software ensures efficient updates while maintaining system stability. This approach allows for smaller, targeted updates and provides the ability to roll back to previous versions if issues arise.
- Security measures for BMS software updates: Incorporating robust security measures in the software update process for battery management systems is crucial to prevent unauthorized access and ensure the integrity of the updates. This includes encryption, authentication protocols, and secure communication channels.
- Adaptive update scheduling for BMS software: Implementing adaptive scheduling algorithms for battery management system software updates optimizes the update process based on factors such as battery state, system usage patterns, and available network connectivity. This ensures updates are performed at the most opportune times to minimize disruption.
- Integration of BMS updates with overall vehicle software management: Coordinating battery management system software updates with the broader vehicle software ecosystem ensures compatibility and optimal performance. This integrated approach allows for synchronized updates across various vehicle systems and components.
02 Incremental updates for battery management software
Incremental update methods are used to efficiently update battery management system software. This approach involves transmitting only the changes or differences between the current version and the new version, reducing data transfer requirements and update time.Expand Specific Solutions03 Secure update mechanisms for battery management systems
Secure update mechanisms are implemented to protect battery management systems from unauthorized access or malicious updates. These mechanisms may include encryption, digital signatures, and secure boot processes to ensure the integrity and authenticity of software updates.Expand Specific Solutions04 Adaptive update scheduling for battery management systems
Adaptive scheduling techniques are used to optimize the timing of battery management system updates. These methods consider factors such as battery state, vehicle usage patterns, and network connectivity to determine the most appropriate time for software updates.Expand Specific Solutions05 Version control and rollback capabilities for battery management software
Version control systems and rollback capabilities are implemented to manage different versions of battery management software. This allows for easy tracking of changes, comparison between versions, and the ability to revert to a previous stable version in case of issues with a new update.Expand Specific Solutions
Key Players in BMS Software Industry
The Battery Management System (BMS) evolution in electric vehicles is currently in a growth phase, with the market expanding rapidly due to increasing EV adoption. The global BMS market size is projected to reach billions of dollars by 2025. Technologically, BMS is advancing towards more sophisticated software-driven solutions, with companies like LG Energy Solution, Contemporary Amperex Technology, and Samsung SDI leading innovation. These firms are developing intelligent BMS with predictive analytics, over-the-air updates, and integration with vehicle systems. However, the technology is still evolving, with ongoing research in areas like AI-powered BMS and cloud connectivity to enhance battery performance and longevity.
Contemporary Amperex Technology Co., Ltd.
Technical Solution: CATL has developed an advanced Battery Management System (BMS) with over-the-air (OTA) software update capabilities. Their system utilizes AI algorithms to optimize battery performance and longevity[1]. The BMS continuously monitors cell voltages, temperatures, and current, adjusting parameters in real-time. Software updates enable the introduction of new features, such as improved thermal management algorithms and more accurate state-of-charge estimations[2]. CATL's BMS also incorporates predictive maintenance capabilities, using machine learning to forecast potential issues before they occur, thus reducing downtime and extending battery life[3].
Strengths: Advanced AI integration, predictive maintenance, and continuous optimization. Weaknesses: Potential cybersecurity risks associated with OTA updates, and dependency on consistent network connectivity for updates.
Samsung SDI Co., Ltd.
Technical Solution: Samsung SDI has implemented a sophisticated BMS with remote software update functionality. Their system employs a multi-layered approach to battery management, incorporating both cell-level and pack-level monitoring[4]. The BMS uses advanced algorithms to balance cells, manage thermal conditions, and optimize charging/discharging cycles. Software updates allow for the implementation of new safety features, improved energy efficiency algorithms, and enhanced diagnostic capabilities[5]. Samsung's BMS also includes a unique "self-learning" feature that adapts to individual usage patterns over time, further optimizing battery performance and lifespan[6].
Strengths: Multi-layered management approach, self-learning capabilities, and comprehensive safety features. Weaknesses: Complexity of the system may lead to higher costs and potential difficulties in troubleshooting.
Core Innovations in BMS Software Updates
Firmware update system of battery management system, and method related thereto
PatentPendingEP4280052A1
Innovation
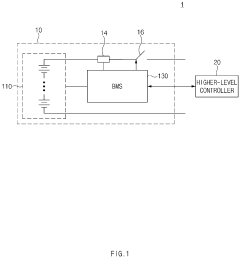
- The battery pack management apparatus divides the firmware into packet information and transmits it to battery module management apparatuses, which monitor battery data and transmit it back, also encoding and relaying this information to ensure complete data collection and communication, even in areas with poor connectivity.
Battery management device and method, and battery system including same
PatentPendingEP4503374A1
Innovation
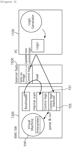
- A battery management apparatus and method that utilizes a virtual machine to execute updated control logic without stopping battery monitoring, allowing for real-time recognition and execution of updated control logic from a control logic generator.
Cybersecurity Considerations in BMS Updates
Cybersecurity has become a critical consideration in the evolution of Battery Management System (BMS) software updates. As BMS technology advances, the potential vulnerabilities and attack vectors increase, necessitating robust security measures to protect against cyber threats. One of the primary concerns is the integrity of software updates, ensuring that only authorized and verified updates are installed on the BMS.
To address this challenge, manufacturers are implementing secure boot processes and cryptographic signing of firmware updates. These measures verify the authenticity of the software before installation, preventing the execution of malicious code. Additionally, encryption of communication channels between the BMS and update servers is crucial to prevent man-in-the-middle attacks and unauthorized access to sensitive data.
Another important aspect is the protection of intellectual property and proprietary algorithms within the BMS software. Manufacturers are employing obfuscation techniques and secure enclaves to safeguard their valuable code from reverse engineering attempts. This not only protects their competitive advantage but also prevents potential attackers from exploiting vulnerabilities in the system.
The increasing connectivity of BMS to external networks and cloud services introduces new attack surfaces. To mitigate these risks, developers are implementing robust authentication mechanisms, access control lists, and network segmentation. These measures ensure that only authorized devices and personnel can interact with the BMS, reducing the risk of unauthorized access and potential data breaches.
As over-the-air (OTA) updates become more prevalent in BMS, the security of the update process itself becomes paramount. Manufacturers are adopting secure OTA protocols that include integrity checks, rollback protection, and fail-safe mechanisms. These features ensure that updates are delivered and installed securely, with the ability to revert to a previous stable version in case of any issues.
The threat landscape for BMS is constantly evolving, necessitating ongoing security assessments and updates. Regular penetration testing and vulnerability scanning are becoming standard practices in the industry. These proactive measures help identify potential weaknesses before they can be exploited by malicious actors.
Furthermore, the integration of artificial intelligence and machine learning algorithms in BMS introduces new cybersecurity challenges. Protecting these AI models from adversarial attacks and ensuring the integrity of the data used for training and decision-making processes are emerging areas of focus in BMS cybersecurity research.
To address this challenge, manufacturers are implementing secure boot processes and cryptographic signing of firmware updates. These measures verify the authenticity of the software before installation, preventing the execution of malicious code. Additionally, encryption of communication channels between the BMS and update servers is crucial to prevent man-in-the-middle attacks and unauthorized access to sensitive data.
Another important aspect is the protection of intellectual property and proprietary algorithms within the BMS software. Manufacturers are employing obfuscation techniques and secure enclaves to safeguard their valuable code from reverse engineering attempts. This not only protects their competitive advantage but also prevents potential attackers from exploiting vulnerabilities in the system.
The increasing connectivity of BMS to external networks and cloud services introduces new attack surfaces. To mitigate these risks, developers are implementing robust authentication mechanisms, access control lists, and network segmentation. These measures ensure that only authorized devices and personnel can interact with the BMS, reducing the risk of unauthorized access and potential data breaches.
As over-the-air (OTA) updates become more prevalent in BMS, the security of the update process itself becomes paramount. Manufacturers are adopting secure OTA protocols that include integrity checks, rollback protection, and fail-safe mechanisms. These features ensure that updates are delivered and installed securely, with the ability to revert to a previous stable version in case of any issues.
The threat landscape for BMS is constantly evolving, necessitating ongoing security assessments and updates. Regular penetration testing and vulnerability scanning are becoming standard practices in the industry. These proactive measures help identify potential weaknesses before they can be exploited by malicious actors.
Furthermore, the integration of artificial intelligence and machine learning algorithms in BMS introduces new cybersecurity challenges. Protecting these AI models from adversarial attacks and ensuring the integrity of the data used for training and decision-making processes are emerging areas of focus in BMS cybersecurity research.
Regulatory Framework for BMS Software Updates
The regulatory framework for Battery Management System (BMS) software updates is a critical aspect of the evolving landscape of electric vehicle (EV) technology. As BMS plays a crucial role in ensuring the safety, performance, and longevity of EV batteries, regulatory bodies worldwide have recognized the need for comprehensive guidelines governing software updates in this domain.
At the forefront of these regulations is the United Nations Economic Commission for Europe (UNECE) Regulation No. 156, which addresses software update and software update management systems. This regulation, adopted in 2020, sets forth requirements for vehicle manufacturers to implement robust processes for managing software updates throughout a vehicle's lifecycle, including those affecting the BMS.
The regulation mandates that manufacturers establish a Software Update Management System (SUMS) to ensure the security and integrity of software updates. This system must include processes for identifying affected vehicles, assessing the impact of updates on vehicle systems, and ensuring that updates do not compromise vehicle safety or environmental performance.
In the context of BMS, these regulations require manufacturers to demonstrate that software updates do not negatively impact battery performance, safety features, or compliance with existing type-approval requirements. This includes rigorous testing and validation procedures to verify the effectiveness and safety of BMS software updates before deployment.
Furthermore, the regulatory framework emphasizes the importance of cybersecurity in the context of software updates. Manufacturers must implement measures to protect against unauthorized access to vehicle systems and ensure the authenticity and integrity of software updates. This is particularly crucial for BMS, given its direct impact on battery operation and overall vehicle safety.
The European Union's General Safety Regulation (GSR) also plays a significant role in shaping the regulatory landscape for BMS software updates. The GSR requires vehicles to be equipped with event data recorders and systems for over-the-air updates, both of which have implications for BMS software management and updates.
In the United States, the National Highway Traffic Safety Administration (NHTSA) has issued guidelines on cybersecurity best practices for modern vehicles, which include considerations for secure software updates. While not specifically focused on BMS, these guidelines provide a framework that manufacturers must consider when implementing software update processes for all vehicle systems, including BMS.
As the technology continues to evolve, regulatory bodies are likely to refine and expand their frameworks to address emerging challenges and opportunities in BMS software updates. This may include more specific requirements for data logging, update frequency, and long-term performance monitoring of BMS software updates.
At the forefront of these regulations is the United Nations Economic Commission for Europe (UNECE) Regulation No. 156, which addresses software update and software update management systems. This regulation, adopted in 2020, sets forth requirements for vehicle manufacturers to implement robust processes for managing software updates throughout a vehicle's lifecycle, including those affecting the BMS.
The regulation mandates that manufacturers establish a Software Update Management System (SUMS) to ensure the security and integrity of software updates. This system must include processes for identifying affected vehicles, assessing the impact of updates on vehicle systems, and ensuring that updates do not compromise vehicle safety or environmental performance.
In the context of BMS, these regulations require manufacturers to demonstrate that software updates do not negatively impact battery performance, safety features, or compliance with existing type-approval requirements. This includes rigorous testing and validation procedures to verify the effectiveness and safety of BMS software updates before deployment.
Furthermore, the regulatory framework emphasizes the importance of cybersecurity in the context of software updates. Manufacturers must implement measures to protect against unauthorized access to vehicle systems and ensure the authenticity and integrity of software updates. This is particularly crucial for BMS, given its direct impact on battery operation and overall vehicle safety.
The European Union's General Safety Regulation (GSR) also plays a significant role in shaping the regulatory landscape for BMS software updates. The GSR requires vehicles to be equipped with event data recorders and systems for over-the-air updates, both of which have implications for BMS software management and updates.
In the United States, the National Highway Traffic Safety Administration (NHTSA) has issued guidelines on cybersecurity best practices for modern vehicles, which include considerations for secure software updates. While not specifically focused on BMS, these guidelines provide a framework that manufacturers must consider when implementing software update processes for all vehicle systems, including BMS.
As the technology continues to evolve, regulatory bodies are likely to refine and expand their frameworks to address emerging challenges and opportunities in BMS software updates. This may include more specific requirements for data logging, update frequency, and long-term performance monitoring of BMS software updates.
Unlock deeper insights with Patsnap Eureka Quick Research — get a full tech report to explore trends and direct your research. Try now!
Generate Your Research Report Instantly with AI Agent
Supercharge your innovation with Patsnap Eureka AI Agent Platform!







