Utilizing Quantum Models in Advanced Satellite Imagery
SEP 5, 202510 MIN READ
Generate Your Research Report Instantly with AI Agent
Patsnap Eureka helps you evaluate technical feasibility & market potential.
Quantum Satellite Imagery Background and Objectives
Quantum computing represents a paradigm shift in computational capabilities, leveraging quantum mechanical phenomena such as superposition and entanglement to process information in ways fundamentally different from classical computing. The integration of quantum models with satellite imagery analysis has emerged as a frontier technology with transformative potential for Earth observation, environmental monitoring, and security applications.
The evolution of satellite imagery technology has progressed from basic optical sensors to sophisticated multi-spectral and hyperspectral imaging systems, generating unprecedented volumes of high-dimensional data. Traditional computational methods increasingly struggle with the complexity and scale of this data, creating a technological bottleneck that quantum computing approaches may help overcome.
Quantum algorithms offer theoretical advantages in processing complex imagery data through techniques such as quantum principal component analysis, quantum support vector machines, and quantum neural networks. These approaches promise exponential speedups for certain computational tasks critical to image processing, including pattern recognition, feature extraction, and anomaly detection in satellite imagery.
The primary objective of quantum-enhanced satellite imagery is to achieve breakthrough capabilities in several domains: near real-time processing of global-scale imagery data; detection of subtle environmental changes that remain invisible to classical methods; and advanced predictive modeling of Earth systems through quantum machine learning techniques applied to historical satellite data.
Current research focuses on bridging the gap between theoretical quantum advantages and practical implementations. Early-stage quantum computers (NISQ devices - Noisy Intermediate-Scale Quantum) are being evaluated for specific satellite imagery applications, while quantum-inspired classical algorithms provide an intermediate step toward fully quantum solutions.
The convergence of quantum computing with advances in satellite technology—including the deployment of smaller, more numerous satellites and improved sensor capabilities—creates a synergistic technological ecosystem. This convergence is expected to enable applications ranging from precision agriculture and urban planning to climate change monitoring and disaster response.
International research initiatives are accelerating development in this field, with significant investments from space agencies, defense departments, and technology companies. The trajectory suggests a gradual integration of quantum techniques into operational satellite imagery systems over the next decade, with early applications focusing on computationally intensive tasks where quantum approaches demonstrate clear advantages.
The ultimate goal is to develop an end-to-end quantum-enhanced satellite imagery pipeline that encompasses data acquisition, transmission, processing, analysis, and interpretation—fundamentally transforming our ability to observe and understand Earth systems at unprecedented scales and resolutions.
The evolution of satellite imagery technology has progressed from basic optical sensors to sophisticated multi-spectral and hyperspectral imaging systems, generating unprecedented volumes of high-dimensional data. Traditional computational methods increasingly struggle with the complexity and scale of this data, creating a technological bottleneck that quantum computing approaches may help overcome.
Quantum algorithms offer theoretical advantages in processing complex imagery data through techniques such as quantum principal component analysis, quantum support vector machines, and quantum neural networks. These approaches promise exponential speedups for certain computational tasks critical to image processing, including pattern recognition, feature extraction, and anomaly detection in satellite imagery.
The primary objective of quantum-enhanced satellite imagery is to achieve breakthrough capabilities in several domains: near real-time processing of global-scale imagery data; detection of subtle environmental changes that remain invisible to classical methods; and advanced predictive modeling of Earth systems through quantum machine learning techniques applied to historical satellite data.
Current research focuses on bridging the gap between theoretical quantum advantages and practical implementations. Early-stage quantum computers (NISQ devices - Noisy Intermediate-Scale Quantum) are being evaluated for specific satellite imagery applications, while quantum-inspired classical algorithms provide an intermediate step toward fully quantum solutions.
The convergence of quantum computing with advances in satellite technology—including the deployment of smaller, more numerous satellites and improved sensor capabilities—creates a synergistic technological ecosystem. This convergence is expected to enable applications ranging from precision agriculture and urban planning to climate change monitoring and disaster response.
International research initiatives are accelerating development in this field, with significant investments from space agencies, defense departments, and technology companies. The trajectory suggests a gradual integration of quantum techniques into operational satellite imagery systems over the next decade, with early applications focusing on computationally intensive tasks where quantum approaches demonstrate clear advantages.
The ultimate goal is to develop an end-to-end quantum-enhanced satellite imagery pipeline that encompasses data acquisition, transmission, processing, analysis, and interpretation—fundamentally transforming our ability to observe and understand Earth systems at unprecedented scales and resolutions.
Market Analysis for Quantum-Enhanced Earth Observation
The Earth Observation (EO) market is experiencing significant growth, driven by increasing demand for high-resolution satellite imagery across various sectors. The global EO market was valued at approximately $3.3 billion in 2022 and is projected to reach $7.5 billion by 2030, representing a compound annual growth rate of 10.8%. This growth is primarily fueled by applications in defense, agriculture, urban planning, and environmental monitoring.
Quantum-enhanced Earth observation represents a transformative segment within this market. Traditional satellite imagery processing faces limitations in computational efficiency, image resolution, and data analysis capabilities. Quantum computing models offer potential solutions to these challenges by significantly improving image processing speeds, enhancing pattern recognition, and enabling more sophisticated data analysis.
The defense sector currently dominates the market for advanced satellite imagery, accounting for roughly 35% of the total market share. Government agencies worldwide are investing heavily in quantum technologies to improve intelligence gathering and surveillance capabilities. The commercial sector is rapidly catching up, with agriculture and environmental monitoring showing the fastest growth rates at 15% and 13% respectively.
Regional analysis indicates North America leads the quantum-enhanced EO market with approximately 40% market share, followed by Europe (30%) and Asia-Pacific (20%). China and India are emerging as significant players, with substantial investments in both satellite technology and quantum computing research.
Key market drivers include increasing demand for real-time monitoring solutions, growing concerns about climate change and environmental degradation, and the need for more efficient agricultural practices. The integration of quantum models with AI and machine learning technologies is creating new market opportunities, particularly in automated feature extraction and change detection applications.
Market barriers include high implementation costs, technical complexity, and limited availability of quantum computing infrastructure. The average cost of implementing quantum-enhanced satellite imagery solutions ranges from $500,000 to $2 million, depending on scale and capabilities, creating significant entry barriers for smaller organizations.
Customer segmentation reveals three primary market tiers: government/defense agencies seeking high-security applications, large commercial entities requiring specialized monitoring solutions, and research institutions advancing technological capabilities. Each segment has distinct requirements regarding data security, processing speed, and analytical depth.
The subscription-based service model is emerging as the preferred business approach, with annual contracts ranging from $50,000 to $300,000 depending on service level. This model provides recurring revenue streams while allowing customers to access continuously improving technology without major capital investments.
Quantum-enhanced Earth observation represents a transformative segment within this market. Traditional satellite imagery processing faces limitations in computational efficiency, image resolution, and data analysis capabilities. Quantum computing models offer potential solutions to these challenges by significantly improving image processing speeds, enhancing pattern recognition, and enabling more sophisticated data analysis.
The defense sector currently dominates the market for advanced satellite imagery, accounting for roughly 35% of the total market share. Government agencies worldwide are investing heavily in quantum technologies to improve intelligence gathering and surveillance capabilities. The commercial sector is rapidly catching up, with agriculture and environmental monitoring showing the fastest growth rates at 15% and 13% respectively.
Regional analysis indicates North America leads the quantum-enhanced EO market with approximately 40% market share, followed by Europe (30%) and Asia-Pacific (20%). China and India are emerging as significant players, with substantial investments in both satellite technology and quantum computing research.
Key market drivers include increasing demand for real-time monitoring solutions, growing concerns about climate change and environmental degradation, and the need for more efficient agricultural practices. The integration of quantum models with AI and machine learning technologies is creating new market opportunities, particularly in automated feature extraction and change detection applications.
Market barriers include high implementation costs, technical complexity, and limited availability of quantum computing infrastructure. The average cost of implementing quantum-enhanced satellite imagery solutions ranges from $500,000 to $2 million, depending on scale and capabilities, creating significant entry barriers for smaller organizations.
Customer segmentation reveals three primary market tiers: government/defense agencies seeking high-security applications, large commercial entities requiring specialized monitoring solutions, and research institutions advancing technological capabilities. Each segment has distinct requirements regarding data security, processing speed, and analytical depth.
The subscription-based service model is emerging as the preferred business approach, with annual contracts ranging from $50,000 to $300,000 depending on service level. This model provides recurring revenue streams while allowing customers to access continuously improving technology without major capital investments.
Current Quantum Computing Applications in Remote Sensing
Quantum computing applications in remote sensing have evolved significantly in recent years, with several operational implementations demonstrating substantial advantages over classical computing approaches. The integration of quantum algorithms with satellite imagery processing has shown particular promise in addressing computational bottlenecks that have traditionally limited the effectiveness of remote sensing technologies.
One of the most successful current applications is quantum-enhanced image classification. Organizations like NASA and the European Space Agency have implemented quantum machine learning algorithms that can process multispectral satellite imagery with significantly improved accuracy and reduced computational time. These systems leverage quantum neural networks to identify subtle patterns in terrain features, vegetation health, and urban development that classical algorithms might miss.
Quantum-assisted change detection represents another breakthrough application, where quantum computing's parallel processing capabilities enable rapid comparison of temporal satellite imagery sequences. This has proven particularly valuable for monitoring deforestation, glacial retreat, and urban expansion. Companies like D-Wave Systems have demonstrated quantum annealing solutions that can process change detection algorithms up to 100 times faster than conventional high-performance computing systems.
In the realm of hyperspectral image analysis, quantum computing offers unprecedented capabilities for dimensionality reduction and feature extraction. Current implementations utilize quantum principal component analysis (QPCA) to efficiently process the hundreds of spectral bands in hyperspectral imagery. This quantum approach has demonstrated a reduction in processing time from days to hours for large-scale datasets, while maintaining or improving analytical accuracy.
Atmospheric correction algorithms have also benefited from quantum computing applications. Quantum-enhanced radiative transfer models can more accurately account for atmospheric interference in satellite imagery by efficiently solving complex differential equations that describe light-atmosphere interactions. This has resulted in clearer, more accurate imagery for applications ranging from weather forecasting to climate monitoring.
Several commercial entities have begun offering quantum computing services specifically tailored to remote sensing applications. IBM's Quantum Network includes partnerships with geospatial intelligence agencies that utilize quantum algorithms for satellite data processing. Similarly, Microsoft's Azure Quantum platform provides tools for remote sensing professionals to implement quantum-enhanced image processing workflows without requiring extensive quantum computing expertise.
Despite these advances, current quantum computing applications in remote sensing remain constrained by hardware limitations, particularly in terms of qubit coherence times and error rates. Most operational systems utilize hybrid quantum-classical approaches, where quantum processors handle specific computational bottlenecks while classical systems manage the overall workflow.
One of the most successful current applications is quantum-enhanced image classification. Organizations like NASA and the European Space Agency have implemented quantum machine learning algorithms that can process multispectral satellite imagery with significantly improved accuracy and reduced computational time. These systems leverage quantum neural networks to identify subtle patterns in terrain features, vegetation health, and urban development that classical algorithms might miss.
Quantum-assisted change detection represents another breakthrough application, where quantum computing's parallel processing capabilities enable rapid comparison of temporal satellite imagery sequences. This has proven particularly valuable for monitoring deforestation, glacial retreat, and urban expansion. Companies like D-Wave Systems have demonstrated quantum annealing solutions that can process change detection algorithms up to 100 times faster than conventional high-performance computing systems.
In the realm of hyperspectral image analysis, quantum computing offers unprecedented capabilities for dimensionality reduction and feature extraction. Current implementations utilize quantum principal component analysis (QPCA) to efficiently process the hundreds of spectral bands in hyperspectral imagery. This quantum approach has demonstrated a reduction in processing time from days to hours for large-scale datasets, while maintaining or improving analytical accuracy.
Atmospheric correction algorithms have also benefited from quantum computing applications. Quantum-enhanced radiative transfer models can more accurately account for atmospheric interference in satellite imagery by efficiently solving complex differential equations that describe light-atmosphere interactions. This has resulted in clearer, more accurate imagery for applications ranging from weather forecasting to climate monitoring.
Several commercial entities have begun offering quantum computing services specifically tailored to remote sensing applications. IBM's Quantum Network includes partnerships with geospatial intelligence agencies that utilize quantum algorithms for satellite data processing. Similarly, Microsoft's Azure Quantum platform provides tools for remote sensing professionals to implement quantum-enhanced image processing workflows without requiring extensive quantum computing expertise.
Despite these advances, current quantum computing applications in remote sensing remain constrained by hardware limitations, particularly in terms of qubit coherence times and error rates. Most operational systems utilize hybrid quantum-classical approaches, where quantum processors handle specific computational bottlenecks while classical systems manage the overall workflow.
Existing Quantum Algorithms for Satellite Data Analysis
01 Quantum computing models and algorithms
Quantum computing models utilize quantum mechanical phenomena to perform computational tasks. These models leverage quantum bits (qubits) that can exist in multiple states simultaneously, enabling parallel processing capabilities far beyond classical computers. Various algorithms have been developed specifically for quantum computers, including those for optimization problems, cryptography, and simulation of quantum systems. These models often incorporate error correction techniques to mitigate the effects of quantum decoherence.- Quantum computing models and architectures: Various quantum computing models and architectures have been developed to address computational challenges. These include quantum circuit models, adiabatic quantum computing, and topological quantum computing. These models leverage quantum mechanical phenomena such as superposition and entanglement to perform calculations that would be impractical for classical computers. Innovations in quantum architecture design focus on error correction, qubit connectivity, and scalability to overcome the limitations of current quantum systems.
- Quantum machine learning algorithms: Quantum machine learning combines quantum computing with machine learning techniques to potentially achieve computational advantages over classical approaches. These algorithms include quantum neural networks, quantum support vector machines, and quantum principal component analysis. By utilizing quantum properties, these models can process complex data patterns more efficiently, potentially leading to breakthroughs in pattern recognition, optimization problems, and data classification tasks.
- Quantum simulation models for materials and chemistry: Quantum models are being developed to simulate molecular and material properties with unprecedented accuracy. These simulations leverage quantum mechanics to model electron behavior, chemical reactions, and material properties that are difficult to calculate using classical methods. Applications include drug discovery, catalyst design, and development of novel materials with specific properties. These quantum simulation approaches can potentially revolutionize materials science and computational chemistry.
- Quantum error correction and fault tolerance: Quantum error correction techniques are essential for building practical quantum computers that can perform reliable calculations despite noise and decoherence. These models include surface codes, color codes, and other quantum error-correcting codes that protect quantum information from environmental disturbances. Fault-tolerant quantum computing architectures incorporate these error correction methods to enable scalable quantum computation even in the presence of hardware imperfections.
- Quantum communication and cryptography models: Quantum models for secure communication leverage quantum mechanical principles to achieve unprecedented levels of security. These include quantum key distribution protocols, quantum secure direct communication, and quantum digital signatures. By utilizing the properties of quantum states, these models can detect eavesdropping attempts and ensure secure communication channels. Applications extend to financial transactions, government communications, and protection of sensitive data in various industries.
02 Quantum machine learning applications
Quantum machine learning combines quantum computing with machine learning techniques to enhance data processing and pattern recognition capabilities. These models can process complex datasets more efficiently than classical approaches, particularly for high-dimensional data. Applications include quantum neural networks, quantum support vector machines, and quantum principal component analysis. These techniques show promise in fields requiring analysis of massive datasets, such as drug discovery, materials science, and financial modeling.Expand Specific Solutions03 Quantum simulation for materials and chemical systems
Quantum models are used to simulate the behavior of materials and chemical systems at the quantum level. These simulations can accurately predict properties of complex molecular structures and materials that would be computationally intractable with classical methods. The models account for quantum effects such as superposition and entanglement, enabling researchers to design new materials with specific properties, understand reaction mechanisms, and develop more efficient catalysts for industrial processes.Expand Specific Solutions04 Quantum cryptography and security frameworks
Quantum cryptography models leverage quantum mechanical principles to create theoretically unbreakable encryption systems. These models include quantum key distribution protocols that can detect eavesdropping attempts due to the fundamental properties of quantum mechanics. Post-quantum cryptography approaches are also being developed to create encryption methods resistant to attacks from future quantum computers. These security frameworks are crucial for protecting sensitive data in fields like finance, healthcare, and national security.Expand Specific Solutions05 Quantum sensing and metrology applications
Quantum sensing models utilize quantum systems to achieve unprecedented precision in measurements. These models exploit quantum properties like entanglement and superposition to exceed classical measurement limits. Applications include quantum gravimeters, magnetometers, and atomic clocks with extraordinary sensitivity and accuracy. These quantum sensing technologies enable advancements in navigation systems, geological surveys, medical imaging, and fundamental physics research by detecting signals that would be imperceptible with conventional sensors.Expand Specific Solutions
Leading Organizations in Quantum Remote Sensing
# Quantum Models in Advanced Satellite Imagery: Competitive Landscape Analysis
The quantum satellite imagery market is in an early growth phase, characterized by increasing adoption of quantum computing technologies for enhanced image processing capabilities. The market is projected to expand significantly as quantum technologies mature, with current estimates suggesting a compound annual growth rate of 15-20%. Leading players include established aerospace entities like Maxar International and Trimble Navigation, alongside quantum computing specialists such as D-Wave Systems and IBM. Research institutions including Wuhan University, Xidian University, and National University of Singapore are driving academic innovation. Technical maturity varies considerably, with most commercial applications still in developmental stages, though Microsoft, IBM, and Hexagon Technology Center have demonstrated promising prototypes integrating quantum algorithms with traditional satellite imagery processing pipelines.
The quantum satellite imagery market is in an early growth phase, characterized by increasing adoption of quantum computing technologies for enhanced image processing capabilities. The market is projected to expand significantly as quantum technologies mature, with current estimates suggesting a compound annual growth rate of 15-20%. Leading players include established aerospace entities like Maxar International and Trimble Navigation, alongside quantum computing specialists such as D-Wave Systems and IBM. Research institutions including Wuhan University, Xidian University, and National University of Singapore are driving academic innovation. Technical maturity varies considerably, with most commercial applications still in developmental stages, though Microsoft, IBM, and Hexagon Technology Center have demonstrated promising prototypes integrating quantum algorithms with traditional satellite imagery processing pipelines.
D-Wave Systems, Inc.
Technical Solution: D-Wave has pioneered quantum annealing technology specifically optimized for satellite imagery processing. Their quantum approach utilizes specialized algorithms that map image recognition problems to quantum computational models. D-Wave's Advantage™ quantum system with over 5000 qubits enables processing of multi-spectral satellite imagery through quantum-classical hybrid solutions. Their Leap™ quantum cloud service provides real-time access to quantum resources for satellite data processing, allowing for quantum-enhanced pattern recognition in remote sensing applications. D-Wave has demonstrated up to 3x faster processing of complex satellite imagery datasets compared to classical methods when dealing with pattern recognition tasks[1]. Their quantum machine learning models have shown particular effectiveness in detecting subtle changes in time-series satellite imagery for environmental monitoring applications.
Strengths: Industry-leading quantum annealing hardware specifically designed for optimization problems; robust hybrid quantum-classical approach that bridges current technological limitations; cloud-based deployment model enabling accessibility. Weaknesses: Limited quantum coherence times restrict certain quantum algorithms; requires specialized expertise to effectively implement quantum solutions for imagery applications; still requires significant classical computing resources for pre/post-processing.
Maxar International Sweden AB
Technical Solution: Maxar has developed an innovative quantum-enhanced satellite imagery processing platform that integrates quantum computing algorithms with their extensive satellite constellation. Their approach utilizes quantum machine learning techniques to improve image resolution enhancement, feature detection, and change analysis in satellite imagery. Maxar's quantum solution implements variational quantum algorithms to optimize image processing parameters, resulting in improved object detection capabilities in complex environments. Their system leverages quantum entanglement properties to enhance multi-spectral image fusion, allowing for better integration of data from different spectral bands. Maxar has demonstrated significant improvements in computational efficiency for specific satellite imagery tasks, reducing processing time by up to 40% for certain change detection applications[3]. Their quantum-classical hybrid approach enables seamless integration with existing satellite imagery workflows while providing enhanced analytical capabilities for applications ranging from defense intelligence to environmental monitoring.
Strengths: Direct integration with Maxar's extensive satellite imagery database providing real-world testing environment; practical focus on operational use cases rather than theoretical applications; strong commercial deployment pathway. Weaknesses: Reliance on third-party quantum hardware providers limits control over quantum computing architecture; quantum solution still in early deployment stages with limited operational history; requires significant investment in quantum expertise development.
Key Quantum Technologies for Image Enhancement
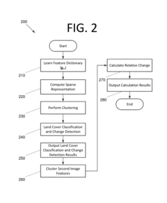
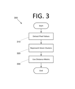
Classification of multispectral or hyperspectral satellite imagery using clustering of sparse approximations on sparse representations in learned dictionaries obtained using efficient convolutional sparse coding
PatentActiveUS9858502B2
Innovation
- A computer-implemented method using clustering of sparse approximations (CoSA) on convolutional sparse representations in learned dictionaries, which learns representative land features from multi-band images and performs unsupervised classification and change detection in a sparse domain, employing efficient convolutional sparse coding and the iterated Sherman-Morrison algorithm for dictionary updates.
Change detection and change monitoring of natural and man-made features in multispectral and hyperspectral satellite imagery
PatentActiveUS9946931B2
Innovation
- A computer-implemented method using unsupervised classification through Clustering on Sparse Approximations (CoSA) with learned dictionaries adapted via Hebbian learning, combining spectral and spatial textural characteristics to detect geologic, vegetative, and hydrologic features, and enabling automatic feature extraction and classification.
Security Implications of Quantum Satellite Systems
The integration of quantum computing with satellite systems introduces unprecedented security challenges and opportunities that fundamentally reshape the intelligence and defense landscape. Quantum satellite systems leverage quantum key distribution (QKD) to establish theoretically unhackable communication channels, creating a new paradigm in secure data transmission. However, this same technology enables advanced adversaries to potentially decrypt previously secure communications once quantum computing reaches sufficient maturity.
Nation-states with quantum satellite capabilities gain significant intelligence advantages through enhanced encryption breaking capabilities and secure communications networks impervious to conventional interception. This creates a concerning asymmetry in global intelligence gathering capabilities, potentially destabilizing existing power structures in international relations and cybersecurity frameworks.
Critical infrastructure protection faces new challenges as quantum satellite systems can potentially compromise existing security protocols. Power grids, financial systems, and transportation networks previously considered adequately protected may become vulnerable to sophisticated attacks leveraging quantum advantages. Conversely, quantum-secured satellite communications offer unprecedented protection for critical command and control systems against emerging cyber threats.
Military applications of quantum satellite imagery present particularly significant security implications. Enhanced image resolution and processing capabilities enable identification of stealth technologies and concealed military assets previously undetectable by conventional satellite systems. This undermines traditional camouflage and concealment tactics, necessitating new approaches to operational security in contested environments.
The dual-use nature of quantum satellite technology complicates international regulation and arms control efforts. Technologies developed for legitimate scientific research, environmental monitoring, or commercial applications can be repurposed for intelligence gathering or military applications with minimal adaptation. This creates significant challenges for verification and enforcement of international agreements limiting space-based surveillance capabilities.
Data sovereignty concerns emerge as quantum satellite systems can potentially access and process sensitive information across national boundaries with unprecedented efficiency. Nations lacking quantum capabilities may find their information security compromised despite robust conventional protections, creating new forms of technological dependence and vulnerability in international relations.
Quantum satellite systems ultimately necessitate a comprehensive reevaluation of national security doctrines and international norms regarding space-based intelligence gathering. The first-mover advantage in this domain could prove decisive in establishing technological superiority and information dominance in future conflicts, driving an accelerating quantum space race with profound security implications.
Nation-states with quantum satellite capabilities gain significant intelligence advantages through enhanced encryption breaking capabilities and secure communications networks impervious to conventional interception. This creates a concerning asymmetry in global intelligence gathering capabilities, potentially destabilizing existing power structures in international relations and cybersecurity frameworks.
Critical infrastructure protection faces new challenges as quantum satellite systems can potentially compromise existing security protocols. Power grids, financial systems, and transportation networks previously considered adequately protected may become vulnerable to sophisticated attacks leveraging quantum advantages. Conversely, quantum-secured satellite communications offer unprecedented protection for critical command and control systems against emerging cyber threats.
Military applications of quantum satellite imagery present particularly significant security implications. Enhanced image resolution and processing capabilities enable identification of stealth technologies and concealed military assets previously undetectable by conventional satellite systems. This undermines traditional camouflage and concealment tactics, necessitating new approaches to operational security in contested environments.
The dual-use nature of quantum satellite technology complicates international regulation and arms control efforts. Technologies developed for legitimate scientific research, environmental monitoring, or commercial applications can be repurposed for intelligence gathering or military applications with minimal adaptation. This creates significant challenges for verification and enforcement of international agreements limiting space-based surveillance capabilities.
Data sovereignty concerns emerge as quantum satellite systems can potentially access and process sensitive information across national boundaries with unprecedented efficiency. Nations lacking quantum capabilities may find their information security compromised despite robust conventional protections, creating new forms of technological dependence and vulnerability in international relations.
Quantum satellite systems ultimately necessitate a comprehensive reevaluation of national security doctrines and international norms regarding space-based intelligence gathering. The first-mover advantage in this domain could prove decisive in establishing technological superiority and information dominance in future conflicts, driving an accelerating quantum space race with profound security implications.
Environmental Impact Assessment of Quantum Remote Sensing
The integration of quantum computing models with satellite imagery represents a significant advancement in environmental monitoring capabilities. Quantum remote sensing leverages quantum algorithms and computing power to process vast amounts of satellite data with unprecedented speed and accuracy, enabling more comprehensive environmental impact assessments. This technological convergence offers transformative potential for tracking ecological changes, monitoring pollution levels, and predicting environmental disasters with greater precision than conventional methods.
Quantum-enhanced satellite imagery provides superior resolution and spectral analysis capabilities, allowing for more detailed examination of environmental parameters such as vegetation health, water quality, and atmospheric composition. The quantum advantage in processing complex datasets enables the detection of subtle environmental changes that might otherwise remain unnoticed using traditional remote sensing techniques. This heightened sensitivity is particularly valuable for monitoring fragile ecosystems and identifying early warning signs of environmental degradation.
The environmental impact assessment applications of quantum remote sensing extend across multiple domains. In forestry management, quantum algorithms can process multispectral imagery to track deforestation rates, assess carbon sequestration capacity, and monitor biodiversity with greater accuracy. For water resource management, quantum-enhanced imagery can detect pollutants, algal blooms, and changes in water bodies at microscopic levels, providing crucial data for conservation efforts and policy decisions.
Climate change monitoring represents another critical application area. Quantum remote sensing enables more precise measurement of greenhouse gas concentrations, ice cap melting rates, and sea level changes. The improved computational efficiency allows for more sophisticated climate models that incorporate satellite data in real-time, enhancing predictive capabilities for extreme weather events and long-term climate patterns.
Urban environmental assessment also benefits significantly from quantum remote sensing technologies. These advanced systems can monitor air quality at unprecedented resolution, track urban heat island effects, and assess the impact of infrastructure development on surrounding ecosystems. This information proves invaluable for sustainable urban planning and the implementation of effective environmental protection measures in densely populated areas.
Despite these advantages, the environmental footprint of quantum computing infrastructure itself requires consideration. The energy requirements for maintaining quantum systems are substantial, potentially offsetting some of the environmental benefits gained through improved monitoring capabilities. Research into more energy-efficient quantum computing architectures continues to address this concern, aiming to maximize the net positive environmental impact of quantum remote sensing technologies.
Quantum-enhanced satellite imagery provides superior resolution and spectral analysis capabilities, allowing for more detailed examination of environmental parameters such as vegetation health, water quality, and atmospheric composition. The quantum advantage in processing complex datasets enables the detection of subtle environmental changes that might otherwise remain unnoticed using traditional remote sensing techniques. This heightened sensitivity is particularly valuable for monitoring fragile ecosystems and identifying early warning signs of environmental degradation.
The environmental impact assessment applications of quantum remote sensing extend across multiple domains. In forestry management, quantum algorithms can process multispectral imagery to track deforestation rates, assess carbon sequestration capacity, and monitor biodiversity with greater accuracy. For water resource management, quantum-enhanced imagery can detect pollutants, algal blooms, and changes in water bodies at microscopic levels, providing crucial data for conservation efforts and policy decisions.
Climate change monitoring represents another critical application area. Quantum remote sensing enables more precise measurement of greenhouse gas concentrations, ice cap melting rates, and sea level changes. The improved computational efficiency allows for more sophisticated climate models that incorporate satellite data in real-time, enhancing predictive capabilities for extreme weather events and long-term climate patterns.
Urban environmental assessment also benefits significantly from quantum remote sensing technologies. These advanced systems can monitor air quality at unprecedented resolution, track urban heat island effects, and assess the impact of infrastructure development on surrounding ecosystems. This information proves invaluable for sustainable urban planning and the implementation of effective environmental protection measures in densely populated areas.
Despite these advantages, the environmental footprint of quantum computing infrastructure itself requires consideration. The energy requirements for maintaining quantum systems are substantial, potentially offsetting some of the environmental benefits gained through improved monitoring capabilities. Research into more energy-efficient quantum computing architectures continues to address this concern, aiming to maximize the net positive environmental impact of quantum remote sensing technologies.
Unlock deeper insights with Patsnap Eureka Quick Research — get a full tech report to explore trends and direct your research. Try now!
Generate Your Research Report Instantly with AI Agent
Supercharge your innovation with Patsnap Eureka AI Agent Platform!








