Analysis of Photonic Neural Networks in Data Processing
OCT 1, 20259 MIN READ
Generate Your Research Report Instantly with AI Agent
Patsnap Eureka helps you evaluate technical feasibility & market potential.
Photonic Neural Networks Background and Objectives
Photonic neural networks represent a revolutionary approach to computing that leverages the unique properties of light for information processing. The concept emerged in the late 1980s but has gained significant momentum in the past decade due to the increasing limitations of electronic computing systems, particularly in terms of energy efficiency and processing speed. These optical computing architectures utilize photons instead of electrons to perform neural network operations, offering potential advantages in parallelism, bandwidth, and energy consumption.
The evolution of photonic neural networks has been closely tied to advancements in integrated photonics, nonlinear optics, and machine learning algorithms. Early implementations relied on bulk optical components, making systems large and impractical for commercial applications. However, recent breakthroughs in photonic integrated circuits (PICs) have enabled the miniaturization and scalability necessary for practical implementations, driving renewed interest in this technology.
The primary objective of photonic neural networks in data processing is to overcome the von Neumann bottleneck that plagues traditional computing architectures. By performing computations at the speed of light and enabling true parallel processing, these systems aim to dramatically accelerate machine learning tasks while reducing energy consumption by orders of magnitude compared to electronic counterparts.
Current research goals focus on developing photonic neural networks capable of handling complex deep learning models with performance comparable to or exceeding electronic systems. This includes improving the precision and stability of optical computing elements, increasing the density of photonic components, and developing efficient interfaces between electronic and photonic domains.
Another critical objective is addressing the growing computational demands of artificial intelligence applications, particularly in data centers where energy consumption has become a significant concern. Photonic neural networks promise to deliver high-performance computing with substantially lower power requirements, potentially revolutionizing how data-intensive tasks are processed.
The integration of photonic neural networks with existing computing infrastructure represents another important goal. Researchers are exploring hybrid architectures that combine the strengths of both electronic and photonic systems, creating pathways for gradual adoption of this technology without requiring wholesale replacement of existing infrastructure.
As data volumes continue to grow exponentially across industries, photonic neural networks aim to provide scalable solutions for real-time processing of complex datasets, enabling applications ranging from autonomous vehicles and advanced robotics to next-generation medical diagnostics and scientific discovery.
The evolution of photonic neural networks has been closely tied to advancements in integrated photonics, nonlinear optics, and machine learning algorithms. Early implementations relied on bulk optical components, making systems large and impractical for commercial applications. However, recent breakthroughs in photonic integrated circuits (PICs) have enabled the miniaturization and scalability necessary for practical implementations, driving renewed interest in this technology.
The primary objective of photonic neural networks in data processing is to overcome the von Neumann bottleneck that plagues traditional computing architectures. By performing computations at the speed of light and enabling true parallel processing, these systems aim to dramatically accelerate machine learning tasks while reducing energy consumption by orders of magnitude compared to electronic counterparts.
Current research goals focus on developing photonic neural networks capable of handling complex deep learning models with performance comparable to or exceeding electronic systems. This includes improving the precision and stability of optical computing elements, increasing the density of photonic components, and developing efficient interfaces between electronic and photonic domains.
Another critical objective is addressing the growing computational demands of artificial intelligence applications, particularly in data centers where energy consumption has become a significant concern. Photonic neural networks promise to deliver high-performance computing with substantially lower power requirements, potentially revolutionizing how data-intensive tasks are processed.
The integration of photonic neural networks with existing computing infrastructure represents another important goal. Researchers are exploring hybrid architectures that combine the strengths of both electronic and photonic systems, creating pathways for gradual adoption of this technology without requiring wholesale replacement of existing infrastructure.
As data volumes continue to grow exponentially across industries, photonic neural networks aim to provide scalable solutions for real-time processing of complex datasets, enabling applications ranging from autonomous vehicles and advanced robotics to next-generation medical diagnostics and scientific discovery.
Market Demand for Optical Computing Solutions
The optical computing market is experiencing significant growth driven by the increasing limitations of traditional electronic computing systems. As data volumes continue to expand exponentially across industries, conventional electronic processors face fundamental physical constraints in terms of power consumption, heat generation, and processing speed. This has created a substantial market opportunity for photonic neural networks and other optical computing solutions that can process information at the speed of light with significantly lower energy requirements.
Market research indicates that the global optical computing market is projected to grow at a compound annual growth rate of over 30% through 2028, with particular demand emerging from data centers, telecommunications, artificial intelligence applications, and high-performance computing sectors. The primary market drivers include the need for reduced latency in real-time applications, energy efficiency concerns in large-scale computing facilities, and the computational demands of increasingly complex AI models.
Financial institutions represent a particularly promising vertical market, where high-frequency trading operations require ultra-low latency processing capabilities that photonic neural networks can potentially deliver. Similarly, healthcare organizations processing large volumes of medical imaging data stand to benefit significantly from the parallel processing capabilities of optical computing solutions.
Geographically, North America currently leads the market adoption curve, with major technology companies and research institutions making substantial investments in photonic computing research and development. The Asia-Pacific region is experiencing the fastest growth rate, particularly in China, Japan, and South Korea, where government initiatives are actively supporting the development of next-generation computing technologies.
Customer pain points driving market demand include the increasing power consumption of data centers, which currently account for approximately 2% of global electricity usage, and the computational bottlenecks in training large AI models, which can take weeks on conventional hardware. Photonic neural networks offer a compelling value proposition by potentially reducing energy consumption by orders of magnitude while simultaneously increasing processing speeds.
Market surveys reveal that enterprise customers are particularly interested in hybrid electronic-photonic solutions that allow for gradual integration with existing infrastructure, rather than complete replacement. This suggests a significant market opportunity for transitional technologies that combine the strengths of both computing paradigms while mitigating adoption risks.
The competitive landscape remains relatively nascent, with most solutions still in research or early commercialization phases, indicating substantial first-mover advantages for companies that can successfully bring scalable photonic neural network solutions to market. Industry analysts predict that the first widely adopted applications will likely be in specialized accelerator cards for specific computational tasks rather than general-purpose computing.
Market research indicates that the global optical computing market is projected to grow at a compound annual growth rate of over 30% through 2028, with particular demand emerging from data centers, telecommunications, artificial intelligence applications, and high-performance computing sectors. The primary market drivers include the need for reduced latency in real-time applications, energy efficiency concerns in large-scale computing facilities, and the computational demands of increasingly complex AI models.
Financial institutions represent a particularly promising vertical market, where high-frequency trading operations require ultra-low latency processing capabilities that photonic neural networks can potentially deliver. Similarly, healthcare organizations processing large volumes of medical imaging data stand to benefit significantly from the parallel processing capabilities of optical computing solutions.
Geographically, North America currently leads the market adoption curve, with major technology companies and research institutions making substantial investments in photonic computing research and development. The Asia-Pacific region is experiencing the fastest growth rate, particularly in China, Japan, and South Korea, where government initiatives are actively supporting the development of next-generation computing technologies.
Customer pain points driving market demand include the increasing power consumption of data centers, which currently account for approximately 2% of global electricity usage, and the computational bottlenecks in training large AI models, which can take weeks on conventional hardware. Photonic neural networks offer a compelling value proposition by potentially reducing energy consumption by orders of magnitude while simultaneously increasing processing speeds.
Market surveys reveal that enterprise customers are particularly interested in hybrid electronic-photonic solutions that allow for gradual integration with existing infrastructure, rather than complete replacement. This suggests a significant market opportunity for transitional technologies that combine the strengths of both computing paradigms while mitigating adoption risks.
The competitive landscape remains relatively nascent, with most solutions still in research or early commercialization phases, indicating substantial first-mover advantages for companies that can successfully bring scalable photonic neural network solutions to market. Industry analysts predict that the first widely adopted applications will likely be in specialized accelerator cards for specific computational tasks rather than general-purpose computing.
Current State and Challenges in Photonic Neural Networks
Photonic neural networks (PNNs) have emerged as a promising alternative to conventional electronic neural networks, offering potential advantages in processing speed, energy efficiency, and bandwidth. Currently, the field is witnessing significant advancements across academic institutions and industry research labs globally, with notable progress in both theoretical frameworks and experimental implementations.
The current state of PNN technology demonstrates several successful proof-of-concept implementations. Researchers have developed various architectures including coherent optical neural networks, diffractive deep neural networks, and reservoir computing systems. These implementations leverage photonic components such as Mach-Zehnder interferometers, microring resonators, and phase change materials to perform neural network operations at the speed of light.
Despite these advancements, PNNs face substantial technical challenges that limit their widespread adoption. One primary challenge is the difficulty in implementing precise, programmable, and stable optical weights. Unlike electronic systems where weight values can be stored digitally, photonic systems require physical mechanisms to represent and update weights, often resulting in issues with accuracy and drift over time.
Scalability remains another significant hurdle. Current experimental demonstrations typically involve small-scale networks with limited neurons and layers. Scaling to larger networks comparable to state-of-the-art electronic neural networks presents challenges in terms of optical component integration, signal crosstalk, and accumulated noise.
The nonlinearity implementation in photonic systems presents a fundamental challenge. While nonlinear activation functions are essential for neural network functionality, efficient optical nonlinearities that operate at low power levels remain difficult to achieve. Current solutions often involve hybrid approaches that convert signals between optical and electronic domains, introducing latency and energy overhead.
Fabrication challenges also impede progress, as photonic integrated circuits require precise manufacturing processes to ensure consistent performance across components. Variations in fabrication can lead to device-to-device differences that affect network training and inference accuracy.
From a geographical perspective, research in PNNs shows concentration in North America, Europe, and East Asia. The United States leads with significant contributions from institutions like MIT, Stanford, and companies such as Lightmatter and Lightelligence. European research is strong in the UK, Germany, and the Netherlands, while China, Japan, and South Korea are rapidly expanding their research capabilities in this domain.
The integration of PNNs with existing data processing infrastructure presents compatibility challenges. Current data centers and computing systems are optimized for electronic processing, requiring significant architectural changes to fully leverage photonic neural networks. This integration challenge extends to developing efficient interfaces between electronic and photonic domains to minimize conversion losses.
The current state of PNN technology demonstrates several successful proof-of-concept implementations. Researchers have developed various architectures including coherent optical neural networks, diffractive deep neural networks, and reservoir computing systems. These implementations leverage photonic components such as Mach-Zehnder interferometers, microring resonators, and phase change materials to perform neural network operations at the speed of light.
Despite these advancements, PNNs face substantial technical challenges that limit their widespread adoption. One primary challenge is the difficulty in implementing precise, programmable, and stable optical weights. Unlike electronic systems where weight values can be stored digitally, photonic systems require physical mechanisms to represent and update weights, often resulting in issues with accuracy and drift over time.
Scalability remains another significant hurdle. Current experimental demonstrations typically involve small-scale networks with limited neurons and layers. Scaling to larger networks comparable to state-of-the-art electronic neural networks presents challenges in terms of optical component integration, signal crosstalk, and accumulated noise.
The nonlinearity implementation in photonic systems presents a fundamental challenge. While nonlinear activation functions are essential for neural network functionality, efficient optical nonlinearities that operate at low power levels remain difficult to achieve. Current solutions often involve hybrid approaches that convert signals between optical and electronic domains, introducing latency and energy overhead.
Fabrication challenges also impede progress, as photonic integrated circuits require precise manufacturing processes to ensure consistent performance across components. Variations in fabrication can lead to device-to-device differences that affect network training and inference accuracy.
From a geographical perspective, research in PNNs shows concentration in North America, Europe, and East Asia. The United States leads with significant contributions from institutions like MIT, Stanford, and companies such as Lightmatter and Lightelligence. European research is strong in the UK, Germany, and the Netherlands, while China, Japan, and South Korea are rapidly expanding their research capabilities in this domain.
The integration of PNNs with existing data processing infrastructure presents compatibility challenges. Current data centers and computing systems are optimized for electronic processing, requiring significant architectural changes to fully leverage photonic neural networks. This integration challenge extends to developing efficient interfaces between electronic and photonic domains to minimize conversion losses.
Current Photonic Neural Network Architectures
01 Optical computing architectures for neural networks
Photonic neural networks utilize optical computing architectures to process data using light instead of electricity. These systems leverage optical components such as waveguides, resonators, and interferometers to perform neural network computations with higher speed and energy efficiency. The optical approach allows for parallel processing of information through wavelength multiplexing and enables complex matrix operations essential for neural network functionality.- Optical computing architectures for neural networks: Photonic neural networks utilize optical computing architectures to process data at high speeds. These systems leverage light-based components to perform neural network computations, offering advantages in processing speed and energy efficiency compared to traditional electronic systems. The architectures typically include optical elements such as waveguides, resonators, and interferometers that can implement matrix operations fundamental to neural network processing.
- Photonic tensor processing for AI applications: Specialized photonic tensor processing units are designed for artificial intelligence applications, enabling efficient handling of complex data structures. These systems use optical components to perform tensor operations critical for deep learning algorithms. The photonic approach allows for parallel processing of multiple data streams simultaneously, significantly accelerating computational tasks in machine learning applications while reducing power consumption compared to electronic alternatives.
- Integrated photonic-electronic neural network systems: Hybrid systems that combine photonic and electronic components create versatile neural network architectures. These integrated solutions leverage the speed and parallelism of optical processing while maintaining compatibility with existing electronic infrastructure. The integration typically involves optical interconnects, photodetectors, and electronic control circuits working together to optimize data processing performance while managing the conversion between optical and electronic domains.
- Neuromorphic photonic computing techniques: Neuromorphic photonic computing implements brain-inspired architectures using optical components to mimic neural functions. These systems utilize photonic elements that can emulate spiking neurons and synaptic connections, enabling efficient processing of complex patterns and temporal data. The neuromorphic approach allows for adaptive learning capabilities within the optical domain, supporting applications in pattern recognition, signal processing, and autonomous systems.
- Quantum-enhanced photonic neural networks: Advanced photonic neural networks incorporate quantum effects to enhance computational capabilities. These systems leverage quantum properties such as superposition and entanglement within photonic circuits to perform complex calculations beyond classical limits. The quantum-enhanced approach enables novel processing paradigms for handling high-dimensional data and solving optimization problems that are challenging for conventional computing architectures.
02 Integrated photonic processors for AI applications
Integrated photonic processors combine multiple optical components on a single chip to create compact neural network systems. These processors incorporate photonic integrated circuits (PICs) that enable efficient implementation of artificial intelligence algorithms. The integration allows for reduced footprint, lower power consumption, and enhanced processing capabilities for complex data analysis tasks, making them suitable for edge computing and data centers.Expand Specific Solutions03 Optical signal encoding and processing techniques
Advanced techniques for encoding and processing information in optical signals are fundamental to photonic neural networks. These methods include phase encoding, amplitude modulation, and coherent detection schemes that translate data into optical domain for processing. The encoding techniques enable efficient representation of neural network weights and activations using properties of light, allowing for high-dimensional data processing with minimal latency.Expand Specific Solutions04 Hybrid electronic-photonic neural systems
Hybrid systems combine electronic and photonic components to leverage the advantages of both technologies. These architectures use electronic circuits for control and memory functions while employing photonic elements for high-speed data processing and transmission. The hybrid approach addresses challenges in interfacing with existing digital systems while providing acceleration for computationally intensive neural network operations through optical processing.Expand Specific Solutions05 Neuromorphic photonic computing implementations
Neuromorphic photonic computing aims to mimic brain-like processing using optical components. These implementations utilize specialized photonic structures that emulate neuron and synapse behaviors through light-based interactions. The neuromorphic approach enables efficient pattern recognition, learning capabilities, and adaptive processing that can handle complex data streams with significantly reduced power consumption compared to traditional computing methods.Expand Specific Solutions
Key Industry Players in Photonic Computing
Photonic Neural Networks in data processing are emerging as a transformative technology, currently in the early growth phase with significant market expansion potential. The global market is experiencing rapid growth, driven by increasing demand for high-speed, energy-efficient computing solutions. Leading players like Lightmatter, Intel, and IBM are advancing commercial applications, while academic institutions including MIT, Tsinghua University, and Shanghai Jiao Tong University are conducting foundational research. Companies such as Google, Microsoft, and Meta are exploring integration possibilities for data centers. The technology is approaching commercial viability, with several players demonstrating working prototypes, though widespread deployment remains 3-5 years away as challenges in scalability, integration with existing systems, and manufacturing standardization are addressed.
Lightmatter, Inc.
Technical Solution: Lightmatter has developed Passage, a wafer-scale programmable photonic interconnect that enables chip-to-chip communication using light rather than electricity. Their Envise platform integrates photonic processing units (PPUs) specifically designed for AI acceleration. The technology uses silicon photonics to perform matrix-vector multiplications in the analog domain using phase-change materials and waveguides, achieving computational speeds orders of magnitude faster than traditional electronic systems. Their architecture employs coherent light sources, Mach-Zehnder interferometers, and photodetectors to implement neural network operations directly in the optical domain, significantly reducing energy consumption while increasing processing speed for AI workloads.
Strengths: Dramatically lower power consumption (>90% reduction compared to GPU solutions); Ultra-high bandwidth for data processing; Near-zero latency for matrix operations. Weaknesses: Sensitivity to temperature fluctuations; Integration challenges with existing electronic systems; Limited maturity compared to established electronic computing platforms.
Massachusetts Institute of Technology
Technical Solution: MIT has pioneered programmable nanophotonic processors that implement artificial neural network models. Their approach uses an array of Mach-Zehnder interferometers (MZIs) arranged in a mesh configuration to perform matrix operations with light. The technology employs phase shifters to program the optical interference patterns, enabling direct implementation of neural network weight matrices in hardware. MIT researchers have demonstrated optical neural networks capable of performing image recognition tasks at the speed of light, with minimal energy consumption. Their latest developments include neuromorphic photonic chips that can be trained in-situ using optical backpropagation techniques, allowing for adaptive learning capabilities directly in the photonic domain without electronic conversion bottlenecks.
Strengths: Cutting-edge research combining fundamental physics with practical applications; Highly energy-efficient implementations; Ability to perform parallel matrix operations at light speed. Weaknesses: Currently limited to research prototypes rather than commercial products; Challenges in scaling to large network architectures; Requires specialized expertise to implement and maintain.
Core Innovations in Optical Data Processing
Data processing apparatus by learning of neural network, data processing method by learning of neural network, and recording medium recording the data processing method
PatentActiveUS11741356B2
Innovation
- The proposed solution involves forming a projection space using output values from a neural network and reference vectors, allowing for linear processing and classification of new data without relying on gradient descent algorithms, thereby improving inference performance under limited conditions.
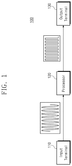
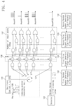
Data processing device of spike neural network and data processing method of thereof
PatentPendingUS20210383192A1
Innovation
- A data processing device with a processor that differentiates time series data to determine maximum and minimum value points, generating a spike train signal based on differential values, and outputs this signal to external axons, adjusting frequency using random numbers and oscillators.
Energy Efficiency Comparison with Electronic Systems
Photonic neural networks demonstrate remarkable energy efficiency advantages over their electronic counterparts, particularly in data processing applications. Traditional electronic systems face fundamental limitations due to resistive heating and interconnect bottlenecks, resulting in significant power consumption during data movement between memory and processing units. In contrast, photonic implementations leverage light's inherent parallelism and minimal heat generation to achieve superior energy efficiency metrics.
Quantitative analyses reveal that photonic neural networks can achieve energy efficiencies in the femtojoule per operation range, representing orders of magnitude improvement over electronic implementations. For instance, recent silicon photonic matrix multiplication units demonstrate energy consumption as low as 3.8 fJ per multiply-accumulate operation, compared to 100-200 fJ in advanced electronic CMOS implementations. This efficiency gap widens further when considering large-scale neural network operations.
The energy advantage stems from several inherent properties of optical systems. First, photons do not interact with each other in linear optical media, eliminating crosstalk issues that plague electronic systems. Second, wavelength division multiplexing enables multiple signals to propagate simultaneously through the same physical channel without interference, dramatically increasing throughput without proportional energy increases. Third, optical interconnects maintain signal integrity over longer distances without the need for repeaters or amplifiers that consume additional power in electronic systems.
Temperature sensitivity represents another critical factor in this comparison. Electronic systems require substantial cooling infrastructure as processing demands increase, with cooling costs often exceeding the direct computational energy requirements. Photonic systems generate significantly less heat during operation, reducing or eliminating these auxiliary energy demands and further widening the efficiency gap.
When examining specific neural network architectures, convolutional neural networks (CNNs) show particularly dramatic efficiency improvements when implemented photonically. The inherent parallelism of optical Fourier transforms enables convolution operations to be performed at near-zero additional energy cost, compared to the computationally intensive sliding window operations required in electronic implementations.
Despite these advantages, it's important to note that current photonic systems still require electronic interfaces for input/output operations and control circuitry, creating hybrid systems where the overall energy efficiency depends on the optimization of these electronic-photonic boundaries. As integration technologies advance, the proportion of operations handled photonically continues to increase, driving system-level efficiency closer to the theoretical photonic limits.
Quantitative analyses reveal that photonic neural networks can achieve energy efficiencies in the femtojoule per operation range, representing orders of magnitude improvement over electronic implementations. For instance, recent silicon photonic matrix multiplication units demonstrate energy consumption as low as 3.8 fJ per multiply-accumulate operation, compared to 100-200 fJ in advanced electronic CMOS implementations. This efficiency gap widens further when considering large-scale neural network operations.
The energy advantage stems from several inherent properties of optical systems. First, photons do not interact with each other in linear optical media, eliminating crosstalk issues that plague electronic systems. Second, wavelength division multiplexing enables multiple signals to propagate simultaneously through the same physical channel without interference, dramatically increasing throughput without proportional energy increases. Third, optical interconnects maintain signal integrity over longer distances without the need for repeaters or amplifiers that consume additional power in electronic systems.
Temperature sensitivity represents another critical factor in this comparison. Electronic systems require substantial cooling infrastructure as processing demands increase, with cooling costs often exceeding the direct computational energy requirements. Photonic systems generate significantly less heat during operation, reducing or eliminating these auxiliary energy demands and further widening the efficiency gap.
When examining specific neural network architectures, convolutional neural networks (CNNs) show particularly dramatic efficiency improvements when implemented photonically. The inherent parallelism of optical Fourier transforms enables convolution operations to be performed at near-zero additional energy cost, compared to the computationally intensive sliding window operations required in electronic implementations.
Despite these advantages, it's important to note that current photonic systems still require electronic interfaces for input/output operations and control circuitry, creating hybrid systems where the overall energy efficiency depends on the optimization of these electronic-photonic boundaries. As integration technologies advance, the proportion of operations handled photonically continues to increase, driving system-level efficiency closer to the theoretical photonic limits.
Integration Challenges with Existing Infrastructure
The integration of photonic neural networks (PNNs) into existing computational infrastructure presents significant challenges that must be addressed for widespread adoption. Current data processing systems are predominantly based on electronic architectures, creating a fundamental compatibility gap when introducing photonic components. The interface between electronic and photonic domains requires specialized transducers and signal conversion mechanisms, which introduce latency and energy overhead, potentially undermining the speed advantages of photonic processing.
Physical integration constraints pose another major hurdle. Conventional data centers and computing facilities are designed around electronic cooling requirements, power distribution systems, and spatial configurations that may not accommodate the unique thermal management needs and dimensional specifications of photonic systems. The footprint of current photonic components often exceeds that of their electronic counterparts, creating space utilization challenges in existing facilities.
Software compatibility represents a critical integration barrier. The vast ecosystem of algorithms, frameworks, and development tools has been optimized for electronic computing paradigms. Adapting this software infrastructure to efficiently leverage photonic neural networks requires substantial redesign of computational models and programming interfaces. Current machine learning frameworks lack native support for the unique computational properties of photonic systems, such as continuous-valued operations and wavelength-division multiplexing capabilities.
From a skills perspective, the workforce trained in electronic systems design and maintenance requires significant retraining to handle photonic technologies. This knowledge gap extends across the entire value chain, from design engineers to system administrators and maintenance personnel, creating organizational resistance to adoption despite technical merits.
Cost considerations further complicate integration efforts. The initial capital expenditure for retrofitting existing infrastructure with photonic capabilities is substantial, with uncertain return on investment timelines. Many organizations operate under strict budget constraints that make wholesale infrastructure transformation financially prohibitive, even when long-term operational benefits are demonstrable.
Standardization remains underdeveloped in the photonic neural network domain. Unlike electronic systems with well-established protocols and interfaces, photonic computing lacks industry-wide standards for interconnection, data formats, and performance metrics. This standardization gap impedes interoperability between different vendors' photonic solutions and creates integration uncertainties that discourage adoption by risk-averse enterprise customers.
Physical integration constraints pose another major hurdle. Conventional data centers and computing facilities are designed around electronic cooling requirements, power distribution systems, and spatial configurations that may not accommodate the unique thermal management needs and dimensional specifications of photonic systems. The footprint of current photonic components often exceeds that of their electronic counterparts, creating space utilization challenges in existing facilities.
Software compatibility represents a critical integration barrier. The vast ecosystem of algorithms, frameworks, and development tools has been optimized for electronic computing paradigms. Adapting this software infrastructure to efficiently leverage photonic neural networks requires substantial redesign of computational models and programming interfaces. Current machine learning frameworks lack native support for the unique computational properties of photonic systems, such as continuous-valued operations and wavelength-division multiplexing capabilities.
From a skills perspective, the workforce trained in electronic systems design and maintenance requires significant retraining to handle photonic technologies. This knowledge gap extends across the entire value chain, from design engineers to system administrators and maintenance personnel, creating organizational resistance to adoption despite technical merits.
Cost considerations further complicate integration efforts. The initial capital expenditure for retrofitting existing infrastructure with photonic capabilities is substantial, with uncertain return on investment timelines. Many organizations operate under strict budget constraints that make wholesale infrastructure transformation financially prohibitive, even when long-term operational benefits are demonstrable.
Standardization remains underdeveloped in the photonic neural network domain. Unlike electronic systems with well-established protocols and interfaces, photonic computing lacks industry-wide standards for interconnection, data formats, and performance metrics. This standardization gap impedes interoperability between different vendors' photonic solutions and creates integration uncertainties that discourage adoption by risk-averse enterprise customers.
Unlock deeper insights with Patsnap Eureka Quick Research — get a full tech report to explore trends and direct your research. Try now!
Generate Your Research Report Instantly with AI Agent
Supercharge your innovation with Patsnap Eureka AI Agent Platform!