Comparison of Photonic Neural Network Methodologies
OCT 1, 20259 MIN READ
Generate Your Research Report Instantly with AI Agent
Patsnap Eureka helps you evaluate technical feasibility & market potential.
Photonic Neural Networks Background and Objectives
Photonic neural networks represent a revolutionary approach to computing that leverages the unique properties of light to perform neural network computations. The concept emerged in the late 1980s but has gained significant momentum over the past decade due to the limitations of traditional electronic computing systems, particularly in terms of energy efficiency and processing speed. As Moore's Law approaches its physical limits, photonic neural networks offer a promising alternative that could potentially overcome the bottlenecks associated with electronic systems.
The evolution of photonic neural networks has been closely tied to advancements in integrated photonics, optical materials, and machine learning algorithms. Early implementations relied on bulk optical components, making systems large and impractical for commercial applications. However, recent breakthroughs in silicon photonics, plasmonic structures, and photonic integrated circuits have enabled the miniaturization and integration of optical computing elements, bringing photonic neural networks closer to practical implementation.
Current research in photonic neural networks encompasses several methodologies, including coherent optical processing, reservoir computing, optical interference-based computing, and programmable nanophotonic processors. Each approach offers distinct advantages and faces unique challenges in terms of scalability, energy efficiency, and computational capability. The diversity of methodologies reflects the multifaceted nature of the field and the various ways in which light's properties can be harnessed for neural computation.
The primary objective of photonic neural network research is to develop computing systems that can process information at significantly higher speeds while consuming orders of magnitude less energy compared to electronic counterparts. This goal is particularly relevant for applications requiring real-time processing of massive datasets, such as deep learning inference, scientific simulations, and signal processing for telecommunications.
Another critical objective is to achieve practical integration with existing computing infrastructure, allowing for hybrid electro-optical systems that leverage the strengths of both paradigms. This includes developing efficient optical-electronic interfaces, addressing manufacturing challenges, and ensuring compatibility with established programming frameworks and algorithms.
Looking forward, the field aims to demonstrate clear advantages in specific application domains where traditional computing approaches struggle, such as ultrafast machine learning, quantum information processing, and neuromorphic computing. The ultimate vision is to establish photonic neural networks as a viable and complementary technology within the broader computing ecosystem, potentially revolutionizing how we approach artificial intelligence and high-performance computing tasks.
The evolution of photonic neural networks has been closely tied to advancements in integrated photonics, optical materials, and machine learning algorithms. Early implementations relied on bulk optical components, making systems large and impractical for commercial applications. However, recent breakthroughs in silicon photonics, plasmonic structures, and photonic integrated circuits have enabled the miniaturization and integration of optical computing elements, bringing photonic neural networks closer to practical implementation.
Current research in photonic neural networks encompasses several methodologies, including coherent optical processing, reservoir computing, optical interference-based computing, and programmable nanophotonic processors. Each approach offers distinct advantages and faces unique challenges in terms of scalability, energy efficiency, and computational capability. The diversity of methodologies reflects the multifaceted nature of the field and the various ways in which light's properties can be harnessed for neural computation.
The primary objective of photonic neural network research is to develop computing systems that can process information at significantly higher speeds while consuming orders of magnitude less energy compared to electronic counterparts. This goal is particularly relevant for applications requiring real-time processing of massive datasets, such as deep learning inference, scientific simulations, and signal processing for telecommunications.
Another critical objective is to achieve practical integration with existing computing infrastructure, allowing for hybrid electro-optical systems that leverage the strengths of both paradigms. This includes developing efficient optical-electronic interfaces, addressing manufacturing challenges, and ensuring compatibility with established programming frameworks and algorithms.
Looking forward, the field aims to demonstrate clear advantages in specific application domains where traditional computing approaches struggle, such as ultrafast machine learning, quantum information processing, and neuromorphic computing. The ultimate vision is to establish photonic neural networks as a viable and complementary technology within the broader computing ecosystem, potentially revolutionizing how we approach artificial intelligence and high-performance computing tasks.
Market Applications and Demand Analysis
The market for photonic neural networks is experiencing significant growth driven by increasing demands for high-speed, energy-efficient computing solutions across multiple industries. The global market for neuromorphic computing, which includes photonic neural networks, is projected to reach $8.9 billion by 2025, with a compound annual growth rate of 86.4% from 2020 to 2025.
The telecommunications sector represents one of the largest potential markets for photonic neural networks, particularly for signal processing applications. With the rollout of 5G networks and the anticipated development of 6G technologies, there is growing demand for ultra-fast, low-latency computing solutions capable of handling massive data throughput. Photonic neural networks offer processing speeds orders of magnitude faster than electronic counterparts, making them ideal for real-time network optimization and signal processing.
Data centers constitute another major market segment, where energy efficiency has become a critical concern. Traditional electronic computing architectures face fundamental limitations in power consumption, with cooling requirements accounting for up to 40% of data center operating costs. Photonic neural networks promise dramatic reductions in energy usage, potentially decreasing power consumption by 90% compared to electronic systems while simultaneously increasing processing speeds.
The artificial intelligence and machine learning sector presents perhaps the most transformative market opportunity. As AI models grow increasingly complex, traditional electronic hardware struggles to keep pace with computational demands. Market research indicates that 78% of enterprise AI projects face significant delays due to computational bottlenecks. Photonic neural networks offer a solution by enabling parallel processing at unprecedented speeds, particularly beneficial for applications like image recognition, natural language processing, and real-time decision systems.
Autonomous vehicles represent an emerging application area with stringent requirements for real-time processing. The market for computing systems in autonomous vehicles is expected to grow at 35% annually through 2028. Photonic neural networks could enable the rapid processing of sensor data required for safe navigation and decision-making in complex environments.
Healthcare applications, particularly in medical imaging analysis and drug discovery, are driving demand for more powerful neural network implementations. The ability of photonic systems to process complex datasets at high speeds could reduce diagnostic times and accelerate pharmaceutical research, addressing a market segment valued at $3.5 billion with projected annual growth of 41%.
Despite this promising outlook, market adoption faces challenges including high initial implementation costs, integration complexities with existing electronic systems, and the need for specialized expertise. These factors currently limit widespread commercial deployment, though rapid technological advances are steadily addressing these barriers.
The telecommunications sector represents one of the largest potential markets for photonic neural networks, particularly for signal processing applications. With the rollout of 5G networks and the anticipated development of 6G technologies, there is growing demand for ultra-fast, low-latency computing solutions capable of handling massive data throughput. Photonic neural networks offer processing speeds orders of magnitude faster than electronic counterparts, making them ideal for real-time network optimization and signal processing.
Data centers constitute another major market segment, where energy efficiency has become a critical concern. Traditional electronic computing architectures face fundamental limitations in power consumption, with cooling requirements accounting for up to 40% of data center operating costs. Photonic neural networks promise dramatic reductions in energy usage, potentially decreasing power consumption by 90% compared to electronic systems while simultaneously increasing processing speeds.
The artificial intelligence and machine learning sector presents perhaps the most transformative market opportunity. As AI models grow increasingly complex, traditional electronic hardware struggles to keep pace with computational demands. Market research indicates that 78% of enterprise AI projects face significant delays due to computational bottlenecks. Photonic neural networks offer a solution by enabling parallel processing at unprecedented speeds, particularly beneficial for applications like image recognition, natural language processing, and real-time decision systems.
Autonomous vehicles represent an emerging application area with stringent requirements for real-time processing. The market for computing systems in autonomous vehicles is expected to grow at 35% annually through 2028. Photonic neural networks could enable the rapid processing of sensor data required for safe navigation and decision-making in complex environments.
Healthcare applications, particularly in medical imaging analysis and drug discovery, are driving demand for more powerful neural network implementations. The ability of photonic systems to process complex datasets at high speeds could reduce diagnostic times and accelerate pharmaceutical research, addressing a market segment valued at $3.5 billion with projected annual growth of 41%.
Despite this promising outlook, market adoption faces challenges including high initial implementation costs, integration complexities with existing electronic systems, and the need for specialized expertise. These factors currently limit widespread commercial deployment, though rapid technological advances are steadily addressing these barriers.
Current State and Technical Challenges
Photonic neural networks (PNNs) have emerged as a promising alternative to conventional electronic neural networks, offering advantages in processing speed, energy efficiency, and bandwidth. Currently, the global research landscape shows significant advancements in this field, with major research institutions in North America, Europe, and Asia actively contributing to technological breakthroughs.
The current state of PNN methodologies can be categorized into several primary approaches. Coherent optical processing systems utilize interference and diffraction properties of light for matrix multiplication operations, demonstrating remarkable parallelism capabilities. Diffractive optical neural networks employ multiple layers of diffractive elements to perform complex transformations on optical wavefronts. Meanwhile, integrated photonic circuits implement neural network functionalities directly on silicon photonics platforms, offering miniaturization and scalability advantages.
Despite these advancements, significant technical challenges persist. Fabrication precision remains a critical bottleneck, as photonic components require nanometer-scale accuracy that pushes the boundaries of current manufacturing capabilities. Temperature sensitivity presents another substantial challenge, as photonic devices often exhibit performance variations with temperature fluctuations, necessitating sophisticated control systems or compensation mechanisms.
The nonlinearity implementation in photonic systems constitutes perhaps the most fundamental challenge. While electronic neural networks readily implement nonlinear activation functions, achieving comparable functionality in the optical domain requires complex approaches such as electro-optic modulators, nonlinear optical materials, or hybrid electro-optical systems, each with their own limitations and trade-offs.
Scalability issues also constrain widespread adoption, as current photonic neural network demonstrations typically operate at limited scales compared to their electronic counterparts. The integration density of photonic components lags significantly behind electronic integration, limiting the complexity of implementable networks.
From a geographical perspective, North American institutions and companies lead in fundamental research and patent filings, with particular strength in coherent optical processing approaches. European research centers excel in integrated photonic circuit implementations, while Asian institutions, particularly in China and Japan, demonstrate significant progress in novel materials for photonic computing and specialized manufacturing techniques.
The commercialization landscape remains nascent, with several startups emerging in recent years, though most applications remain in specialized domains such as signal processing, telecommunications, and specific high-performance computing tasks rather than general-purpose neural network applications.
The current state of PNN methodologies can be categorized into several primary approaches. Coherent optical processing systems utilize interference and diffraction properties of light for matrix multiplication operations, demonstrating remarkable parallelism capabilities. Diffractive optical neural networks employ multiple layers of diffractive elements to perform complex transformations on optical wavefronts. Meanwhile, integrated photonic circuits implement neural network functionalities directly on silicon photonics platforms, offering miniaturization and scalability advantages.
Despite these advancements, significant technical challenges persist. Fabrication precision remains a critical bottleneck, as photonic components require nanometer-scale accuracy that pushes the boundaries of current manufacturing capabilities. Temperature sensitivity presents another substantial challenge, as photonic devices often exhibit performance variations with temperature fluctuations, necessitating sophisticated control systems or compensation mechanisms.
The nonlinearity implementation in photonic systems constitutes perhaps the most fundamental challenge. While electronic neural networks readily implement nonlinear activation functions, achieving comparable functionality in the optical domain requires complex approaches such as electro-optic modulators, nonlinear optical materials, or hybrid electro-optical systems, each with their own limitations and trade-offs.
Scalability issues also constrain widespread adoption, as current photonic neural network demonstrations typically operate at limited scales compared to their electronic counterparts. The integration density of photonic components lags significantly behind electronic integration, limiting the complexity of implementable networks.
From a geographical perspective, North American institutions and companies lead in fundamental research and patent filings, with particular strength in coherent optical processing approaches. European research centers excel in integrated photonic circuit implementations, while Asian institutions, particularly in China and Japan, demonstrate significant progress in novel materials for photonic computing and specialized manufacturing techniques.
The commercialization landscape remains nascent, with several startups emerging in recent years, though most applications remain in specialized domains such as signal processing, telecommunications, and specific high-performance computing tasks rather than general-purpose neural network applications.
Comparative Analysis of Current PNN Methodologies
01 Optical computing architectures for neural networks
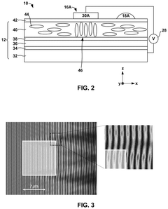
Photonic neural networks utilize optical computing architectures to process information using light instead of electricity. These systems leverage optical components such as waveguides, resonators, and interferometers to perform neural network operations with higher speed and energy efficiency compared to electronic implementations. The architecture typically includes optical signal processing units that can perform matrix multiplications and other mathematical operations required for neural network computations in the optical domain.- Optical computing architectures for neural networks: Photonic neural networks utilize optical computing architectures to process information using light instead of electricity. These systems leverage optical components such as waveguides, resonators, and interferometers to perform neural network operations with higher speed and energy efficiency compared to electronic implementations. The architecture enables parallel processing of data through wavelength division multiplexing and other optical techniques, allowing for faster computation of complex neural network operations.
- Integrated photonic devices for neural computing: Specialized integrated photonic devices are developed specifically for neural network implementations. These include optical weight banks, photonic tensor cores, and programmable meshes of Mach-Zehnder interferometers that can perform matrix multiplications and other neural network operations optically. Silicon photonics technology enables the integration of these components on chip-scale platforms, creating compact and scalable photonic neural network systems that can be manufactured using existing semiconductor fabrication techniques.
- Optical nonlinear activation functions: Implementation of nonlinear activation functions is crucial for photonic neural networks to perform complex computations. Various approaches utilize optical nonlinearities in materials, saturable absorbers, or electro-optic modulators to achieve nonlinear transformations of optical signals. These optical activation functions enable the network to model complex relationships in data while maintaining the speed advantages of optical processing, overcoming a significant challenge in fully optical neural network implementations.
- Coherent optical neural networks: Coherent optical neural networks leverage both amplitude and phase information of light to increase the computational capacity of photonic neural networks. By utilizing coherent light sources such as lasers and manipulating the phase relationships between optical signals, these systems can perform complex-valued neural network operations. This approach enables more efficient implementation of convolutional neural networks and other deep learning architectures in the optical domain, with applications in image recognition and signal processing.
- Hybrid electro-optical neural systems: Hybrid approaches combine electronic and photonic components to leverage the advantages of both domains. These systems typically use electronic components for control, programming, and certain computations while employing photonic elements for high-speed matrix operations and data transfer. The integration between electronic and photonic domains often involves electro-optic interfaces, allowing for seamless conversion between electrical and optical signals. This hybrid approach offers a practical path toward implementing neural networks that benefit from optical processing while maintaining compatibility with existing electronic systems.
02 Integrated photonic devices for neural processing
Specialized integrated photonic devices are developed specifically for neural network processing. These include photonic integrated circuits (PICs) that incorporate multiple optical components on a single chip, such as optical modulators, photodetectors, and phase shifters. These integrated devices enable compact implementation of neural network layers and can be fabricated using standard semiconductor manufacturing techniques, allowing for scalable production of photonic neural network hardware.Expand Specific Solutions03 Optical nonlinear activation functions
Implementation of nonlinear activation functions is a critical aspect of photonic neural networks. Various approaches are used to achieve optical nonlinearity, including the use of nonlinear optical materials, saturable absorbers, and optical resonators with nonlinear response. These components enable the realization of activation functions such as ReLU, sigmoid, or tanh in the optical domain, which are essential for the neural network's ability to model complex relationships in data.Expand Specific Solutions04 Hybrid electro-optical neural systems
Hybrid approaches combine electronic and photonic components to leverage the advantages of both domains. These systems typically use electronic components for control and programming while utilizing photonic elements for high-speed computation. The interface between electronic and optical domains is managed through electro-optical modulators and photodetectors. This hybrid approach allows for more flexible neural network implementations while still benefiting from the speed and parallelism of optical processing.Expand Specific Solutions05 Training methods for photonic neural networks
Specialized training methods are developed to account for the unique characteristics of photonic implementations. These include techniques for handling the physical constraints of optical systems, such as limited precision, phase noise, and fabrication variations. Backpropagation algorithms are adapted for optical systems, often incorporating models of the physical optical components to ensure accurate gradient calculations. Some approaches use pre-training on conventional electronic systems followed by fine-tuning on the photonic hardware.Expand Specific Solutions
Key Patents and Technical Innovations
Photonic neural network
PatentActiveUS12340301B2
Innovation
- A photonic neural network device featuring a planar waveguide, a layer with a changeable refractive index, and programmable electrodes that apply configurable voltages to induce amplitude or phase modulation of light, enabling reconfigurable and scalable neural network architecture.
Photonic neural network on silicon substrate based on tunable filter and its modulation method
PatentActiveJP2022542009A
Innovation
- A photonic neural network on a silicon substrate using tunable filters that integrate linear and nonlinear operations on-chip, utilizing Mach-Zehnder interferometer or Direct coupler networks, and tunable filters like Bragg reflection gratings or F-P cavity filters to achieve nonlinear activation functions through thermal or electrical modulation of refractive indices.
Energy Efficiency and Performance Benchmarks
Energy efficiency represents a critical benchmark for evaluating photonic neural network (PNN) methodologies. Conventional electronic neural networks face significant power consumption challenges, particularly in large-scale deployments. In contrast, PNNs offer theoretical advantages in energy efficiency by leveraging light's inherent parallelism and low-loss transmission properties. Recent benchmarking studies indicate that coherent optical neural networks can achieve energy efficiencies of 10-100 femtojoules per multiply-accumulate operation (MAC), compared to 1-10 picojoules per MAC in state-of-the-art electronic implementations.
Performance metrics for PNNs extend beyond energy considerations to include computational throughput, latency, and accuracy. Silicon photonic implementations have demonstrated throughput capabilities exceeding 100 trillion operations per second (TOPS) in matrix multiplication tasks, with sub-nanosecond latency. However, these impressive figures must be contextualized within practical constraints such as conversion overhead between electronic and photonic domains, which can significantly impact end-to-end system efficiency.
Different PNN architectures exhibit varying efficiency profiles. Coherent approaches utilizing phase encoding typically offer higher precision but require more complex control systems and stabilization mechanisms. Incoherent implementations based on intensity modulation demonstrate greater robustness to environmental variations but may sacrifice computational density. Hybrid approaches attempt to balance these trade-offs by combining the strengths of both paradigms.
Temperature sensitivity remains a significant challenge affecting both energy efficiency and performance stability. Most current PNN implementations require precise temperature control systems that consume additional power, partially offsetting the energy advantages. Recent innovations in athermal photonic designs show promise in addressing this limitation, with demonstrations of operational stability across 30°C temperature ranges without active cooling.
Scalability considerations reveal interesting efficiency trends across different PNN methodologies. While small-scale demonstrations often showcase impressive metrics, scaling to practical network sizes introduces additional challenges. Broadcast-and-weight architectures show favorable energy scaling for shallow networks but face limitations in deeper configurations. Time-multiplexed approaches offer better scaling for deep networks but introduce latency penalties that affect real-time applications.
Standardized benchmarking frameworks for PNNs remain in early development stages, complicating direct comparisons between different methodologies. Recent initiatives by industry consortia aim to establish common metrics and testing protocols that account for the unique characteristics of photonic implementations, including wavelength utilization efficiency, optical power budgets, and noise tolerance across different computational tasks.
Performance metrics for PNNs extend beyond energy considerations to include computational throughput, latency, and accuracy. Silicon photonic implementations have demonstrated throughput capabilities exceeding 100 trillion operations per second (TOPS) in matrix multiplication tasks, with sub-nanosecond latency. However, these impressive figures must be contextualized within practical constraints such as conversion overhead between electronic and photonic domains, which can significantly impact end-to-end system efficiency.
Different PNN architectures exhibit varying efficiency profiles. Coherent approaches utilizing phase encoding typically offer higher precision but require more complex control systems and stabilization mechanisms. Incoherent implementations based on intensity modulation demonstrate greater robustness to environmental variations but may sacrifice computational density. Hybrid approaches attempt to balance these trade-offs by combining the strengths of both paradigms.
Temperature sensitivity remains a significant challenge affecting both energy efficiency and performance stability. Most current PNN implementations require precise temperature control systems that consume additional power, partially offsetting the energy advantages. Recent innovations in athermal photonic designs show promise in addressing this limitation, with demonstrations of operational stability across 30°C temperature ranges without active cooling.
Scalability considerations reveal interesting efficiency trends across different PNN methodologies. While small-scale demonstrations often showcase impressive metrics, scaling to practical network sizes introduces additional challenges. Broadcast-and-weight architectures show favorable energy scaling for shallow networks but face limitations in deeper configurations. Time-multiplexed approaches offer better scaling for deep networks but introduce latency penalties that affect real-time applications.
Standardized benchmarking frameworks for PNNs remain in early development stages, complicating direct comparisons between different methodologies. Recent initiatives by industry consortia aim to establish common metrics and testing protocols that account for the unique characteristics of photonic implementations, including wavelength utilization efficiency, optical power budgets, and noise tolerance across different computational tasks.
Integration Challenges with Existing Computing Infrastructure
The integration of photonic neural networks (PNNs) with existing electronic computing infrastructure presents significant challenges that must be addressed for widespread adoption. Current computing ecosystems are built around electronic components with standardized interfaces, communication protocols, and software stacks optimized for traditional computing architectures. Photonic systems operate on fundamentally different principles, creating a technological disconnect that requires innovative bridging solutions.
One primary challenge is the electro-optical interface. Converting between electronic and optical domains introduces latency and energy overhead that can potentially negate the speed and efficiency advantages of photonic computing. This conversion process requires specialized components such as modulators and photodetectors that must operate at high speeds while maintaining signal integrity. The development of efficient, low-loss, and compact electro-optical interfaces remains an active research area with significant room for improvement.
Data format compatibility presents another substantial hurdle. Existing software frameworks, algorithms, and data structures are designed for electronic computing paradigms. Adapting these for photonic neural networks requires either comprehensive translation layers or entirely new programming models. This compatibility gap extends to development tools, debugging interfaces, and performance monitoring systems that currently lack support for photonic components.
Thermal management introduces additional integration challenges. Photonic components often have strict temperature requirements for stable operation, as wavelength characteristics and refractive indices can shift with temperature variations. This necessitates sophisticated thermal control systems that may be difficult to incorporate into existing computing environments designed primarily for electronic components with different thermal profiles.
Manufacturing integration also presents significant obstacles. While electronic computing benefits from decades of manufacturing optimization and standardization, photonic components often require specialized fabrication processes that may not be compatible with standard CMOS manufacturing lines. This manufacturing divergence creates barriers to cost-effective integration and mass production of hybrid electro-photonic systems.
Scaling considerations further complicate integration efforts. As photonic neural networks grow in complexity, ensuring consistent performance across larger systems becomes increasingly challenging. Issues such as optical power budgets, signal integrity over longer optical paths, and synchronization between multiple photonic processing units must be addressed through careful system design and novel architectural approaches.
One primary challenge is the electro-optical interface. Converting between electronic and optical domains introduces latency and energy overhead that can potentially negate the speed and efficiency advantages of photonic computing. This conversion process requires specialized components such as modulators and photodetectors that must operate at high speeds while maintaining signal integrity. The development of efficient, low-loss, and compact electro-optical interfaces remains an active research area with significant room for improvement.
Data format compatibility presents another substantial hurdle. Existing software frameworks, algorithms, and data structures are designed for electronic computing paradigms. Adapting these for photonic neural networks requires either comprehensive translation layers or entirely new programming models. This compatibility gap extends to development tools, debugging interfaces, and performance monitoring systems that currently lack support for photonic components.
Thermal management introduces additional integration challenges. Photonic components often have strict temperature requirements for stable operation, as wavelength characteristics and refractive indices can shift with temperature variations. This necessitates sophisticated thermal control systems that may be difficult to incorporate into existing computing environments designed primarily for electronic components with different thermal profiles.
Manufacturing integration also presents significant obstacles. While electronic computing benefits from decades of manufacturing optimization and standardization, photonic components often require specialized fabrication processes that may not be compatible with standard CMOS manufacturing lines. This manufacturing divergence creates barriers to cost-effective integration and mass production of hybrid electro-photonic systems.
Scaling considerations further complicate integration efforts. As photonic neural networks grow in complexity, ensuring consistent performance across larger systems becomes increasingly challenging. Issues such as optical power budgets, signal integrity over longer optical paths, and synchronization between multiple photonic processing units must be addressed through careful system design and novel architectural approaches.
Unlock deeper insights with Patsnap Eureka Quick Research — get a full tech report to explore trends and direct your research. Try now!
Generate Your Research Report Instantly with AI Agent
Supercharge your innovation with Patsnap Eureka AI Agent Platform!