Comparative stability of ECoG and EEG signals in Brain-Computer Interfaces
SEP 2, 20259 MIN READ
 Generate Your Research Report Instantly with AI Agent 
 Patsnap Eureka helps you evaluate technical feasibility & market potential. 
BCI Signal Stability Background and Objectives
Brain-Computer Interface (BCI) technology has evolved significantly over the past few decades, transitioning from theoretical concepts to practical applications in medical, rehabilitation, and consumer electronics fields. The stability of neural signals represents a critical factor in BCI system performance, directly impacting reliability, usability, and widespread adoption potential. This technical exploration focuses specifically on comparing the stability characteristics of Electrocorticography (ECoG) and Electroencephalography (EEG) signals within BCI applications.
The evolution of BCI signal acquisition methods has followed a trajectory from invasive to non-invasive approaches. Early BCI systems primarily relied on invasive methods requiring surgical implantation, while recent decades have witnessed substantial advancement in non-invasive technologies. ECoG, a semi-invasive technique involving electrode placement directly on the brain's surface, and EEG, a non-invasive method using scalp electrodes, represent two prominent approaches with distinct stability profiles.
Signal stability in BCI contexts encompasses several critical dimensions: temporal consistency, signal-to-noise ratio, spatial resolution, and resilience against environmental and physiological interference. These factors collectively determine whether a BCI system can maintain reliable performance across varying conditions and extended usage periods. The comparative analysis of ECoG and EEG stability characteristics aims to identify optimal applications for each technology and guide future development efforts.
Current technical objectives in this domain focus on quantifying stability differences between ECoG and EEG signals across multiple dimensions. This includes measuring long-term signal drift, susceptibility to artifacts, consistency across different mental states, and performance degradation over time. Additionally, researchers seek to identify specific frequency bands and neural features that demonstrate superior stability characteristics in each modality.
The broader goal extends beyond mere technical comparison to practical implementation considerations. This includes evaluating the stability-invasiveness tradeoff, where ECoG offers potentially greater signal stability at the cost of surgical intervention, while EEG provides non-invasive accessibility with potentially reduced signal quality. Understanding this fundamental tradeoff is essential for matching BCI technologies to appropriate use cases and user populations.
Future BCI development trajectories will likely be shaped by innovations addressing the stability limitations of both approaches. This includes advanced signal processing algorithms, hybrid systems combining multiple signal types, and novel electrode materials and designs. The ultimate objective remains developing BCI systems that deliver consistent, reliable performance across diverse applications while minimizing invasiveness and maximizing user acceptance.
The evolution of BCI signal acquisition methods has followed a trajectory from invasive to non-invasive approaches. Early BCI systems primarily relied on invasive methods requiring surgical implantation, while recent decades have witnessed substantial advancement in non-invasive technologies. ECoG, a semi-invasive technique involving electrode placement directly on the brain's surface, and EEG, a non-invasive method using scalp electrodes, represent two prominent approaches with distinct stability profiles.
Signal stability in BCI contexts encompasses several critical dimensions: temporal consistency, signal-to-noise ratio, spatial resolution, and resilience against environmental and physiological interference. These factors collectively determine whether a BCI system can maintain reliable performance across varying conditions and extended usage periods. The comparative analysis of ECoG and EEG stability characteristics aims to identify optimal applications for each technology and guide future development efforts.
Current technical objectives in this domain focus on quantifying stability differences between ECoG and EEG signals across multiple dimensions. This includes measuring long-term signal drift, susceptibility to artifacts, consistency across different mental states, and performance degradation over time. Additionally, researchers seek to identify specific frequency bands and neural features that demonstrate superior stability characteristics in each modality.
The broader goal extends beyond mere technical comparison to practical implementation considerations. This includes evaluating the stability-invasiveness tradeoff, where ECoG offers potentially greater signal stability at the cost of surgical intervention, while EEG provides non-invasive accessibility with potentially reduced signal quality. Understanding this fundamental tradeoff is essential for matching BCI technologies to appropriate use cases and user populations.
Future BCI development trajectories will likely be shaped by innovations addressing the stability limitations of both approaches. This includes advanced signal processing algorithms, hybrid systems combining multiple signal types, and novel electrode materials and designs. The ultimate objective remains developing BCI systems that deliver consistent, reliable performance across diverse applications while minimizing invasiveness and maximizing user acceptance.
Market Analysis for ECoG vs EEG-based BCI Applications
The Brain-Computer Interface (BCI) market is experiencing significant growth, with projections indicating a market value reaching $3.7 billion by 2027, growing at a CAGR of 15.5% from 2020. Within this expanding landscape, the comparative advantages of ECoG (Electrocorticography) versus EEG (Electroencephalography) technologies are creating distinct market segments with different growth trajectories and application potentials.
EEG-based BCI applications currently dominate the market with approximately 85% market share due to their non-invasive nature, lower cost, and established presence. The average EEG system for research purposes costs between $10,000 and $50,000, while consumer-grade EEG headsets range from $200 to $2,000, making them accessible to a broader range of users and institutions. This accessibility has fostered a robust ecosystem of over 50 companies developing EEG-based BCI solutions.
In contrast, ECoG-based BCI applications represent a smaller but rapidly growing segment with approximately 15% market share. The higher signal quality and stability of ECoG are driving increased investment, particularly in medical applications where precision is paramount. The market for ECoG devices is growing at approximately 18% annually, outpacing the overall BCI market growth rate.
Healthcare applications currently represent the largest market for both technologies, accounting for 60% of BCI applications. Within this sector, ECoG is gaining traction for applications requiring higher precision, such as neuroprosthetics and treatment of neurological disorders. The superior signal-to-noise ratio and spatial resolution of ECoG translate to more reliable performance in critical medical applications, driving a premium pricing model with systems typically costing between $50,000 and $200,000.
Consumer applications represent the fastest-growing segment for EEG-based BCIs, with a 22% annual growth rate. Gaming, wellness, and productivity enhancement applications are particularly promising, with over 15 million consumer EEG devices expected to be in use by 2025. ECoG has minimal presence in this segment due to its invasive nature.
Regional analysis reveals North America leads the BCI market with 45% share, followed by Europe (30%) and Asia-Pacific (20%). However, Asia-Pacific is experiencing the fastest growth at 19% annually, driven by increasing healthcare expenditure and technological adoption in countries like China, Japan, and South Korea.
The competitive landscape shows a clear segmentation: established medical device companies and specialized neurotechnology startups dominate the ECoG market, while EEG applications feature a more diverse ecosystem including consumer electronics companies, gaming industry players, and healthcare technology firms.
EEG-based BCI applications currently dominate the market with approximately 85% market share due to their non-invasive nature, lower cost, and established presence. The average EEG system for research purposes costs between $10,000 and $50,000, while consumer-grade EEG headsets range from $200 to $2,000, making them accessible to a broader range of users and institutions. This accessibility has fostered a robust ecosystem of over 50 companies developing EEG-based BCI solutions.
In contrast, ECoG-based BCI applications represent a smaller but rapidly growing segment with approximately 15% market share. The higher signal quality and stability of ECoG are driving increased investment, particularly in medical applications where precision is paramount. The market for ECoG devices is growing at approximately 18% annually, outpacing the overall BCI market growth rate.
Healthcare applications currently represent the largest market for both technologies, accounting for 60% of BCI applications. Within this sector, ECoG is gaining traction for applications requiring higher precision, such as neuroprosthetics and treatment of neurological disorders. The superior signal-to-noise ratio and spatial resolution of ECoG translate to more reliable performance in critical medical applications, driving a premium pricing model with systems typically costing between $50,000 and $200,000.
Consumer applications represent the fastest-growing segment for EEG-based BCIs, with a 22% annual growth rate. Gaming, wellness, and productivity enhancement applications are particularly promising, with over 15 million consumer EEG devices expected to be in use by 2025. ECoG has minimal presence in this segment due to its invasive nature.
Regional analysis reveals North America leads the BCI market with 45% share, followed by Europe (30%) and Asia-Pacific (20%). However, Asia-Pacific is experiencing the fastest growth at 19% annually, driven by increasing healthcare expenditure and technological adoption in countries like China, Japan, and South Korea.
The competitive landscape shows a clear segmentation: established medical device companies and specialized neurotechnology startups dominate the ECoG market, while EEG applications feature a more diverse ecosystem including consumer electronics companies, gaming industry players, and healthcare technology firms.
Technical Challenges in Neural Signal Acquisition
Neural signal acquisition for Brain-Computer Interfaces (BCIs) faces significant technical challenges that impact system performance and reliability. The comparative stability between Electrocorticography (ECoG) and Electroencephalography (EEG) signals represents a critical area of investigation, with each modality presenting unique obstacles to overcome.
Signal-to-noise ratio (SNR) remains one of the most persistent challenges in neural signal acquisition. EEG signals, recorded non-invasively from the scalp, suffer from substantial signal attenuation as neural activity traverses through the skull and scalp tissues. This results in microvolt-level signals that are highly susceptible to various noise sources. In contrast, ECoG signals, recorded from electrodes placed directly on the brain surface, offer significantly higher SNR (typically 5-10 times greater than EEG), but require invasive surgical procedures with associated risks.
Spatial resolution limitations present another significant challenge. EEG electrodes detect aggregated activity from large neuronal populations, resulting in poor spatial specificity (typically 2-3 cm). This spatial smearing effect severely limits the discriminative information available for BCI applications. ECoG provides superior spatial resolution (approximately 1-4 mm), enabling detection of more localized neural activity patterns, but coverage is limited to the implantation area.
Temporal stability represents a critical challenge for longitudinal BCI applications. EEG signal quality is highly variable between sessions due to electrode placement inconsistencies, impedance fluctuations, and environmental factors. ECoG demonstrates superior session-to-session stability but faces long-term challenges including tissue encapsulation around electrodes and potential material degradation, which can cause signal deterioration over months or years.
Artifact contamination significantly impacts both modalities but through different mechanisms. EEG is highly susceptible to electromyographic (EMG) artifacts from facial and neck muscles, ocular artifacts, and environmental electromagnetic interference. ECoG, while less affected by external noise sources, contends with cardiac and respiratory artifacts due to brain pulsation and microscale electrode movements.
Hardware limitations further complicate neural signal acquisition. EEG systems must balance between practicality (fewer channels, dry electrodes) and signal quality (high-density arrays, gel-based electrodes). ECoG systems face challenges related to biocompatibility, miniaturization of implantable components, wireless power and data transmission, and long-term reliability of hermetic sealing against cerebrospinal fluid.
Computational challenges in real-time signal processing include adaptive filtering for artifact removal, feature extraction algorithms robust to signal variability, and classification methods capable of handling non-stationary neural signals. These challenges are particularly pronounced for EEG due to its lower SNR, but remain significant for ECoG systems designed for continuous, long-term operation.
Signal-to-noise ratio (SNR) remains one of the most persistent challenges in neural signal acquisition. EEG signals, recorded non-invasively from the scalp, suffer from substantial signal attenuation as neural activity traverses through the skull and scalp tissues. This results in microvolt-level signals that are highly susceptible to various noise sources. In contrast, ECoG signals, recorded from electrodes placed directly on the brain surface, offer significantly higher SNR (typically 5-10 times greater than EEG), but require invasive surgical procedures with associated risks.
Spatial resolution limitations present another significant challenge. EEG electrodes detect aggregated activity from large neuronal populations, resulting in poor spatial specificity (typically 2-3 cm). This spatial smearing effect severely limits the discriminative information available for BCI applications. ECoG provides superior spatial resolution (approximately 1-4 mm), enabling detection of more localized neural activity patterns, but coverage is limited to the implantation area.
Temporal stability represents a critical challenge for longitudinal BCI applications. EEG signal quality is highly variable between sessions due to electrode placement inconsistencies, impedance fluctuations, and environmental factors. ECoG demonstrates superior session-to-session stability but faces long-term challenges including tissue encapsulation around electrodes and potential material degradation, which can cause signal deterioration over months or years.
Artifact contamination significantly impacts both modalities but through different mechanisms. EEG is highly susceptible to electromyographic (EMG) artifacts from facial and neck muscles, ocular artifacts, and environmental electromagnetic interference. ECoG, while less affected by external noise sources, contends with cardiac and respiratory artifacts due to brain pulsation and microscale electrode movements.
Hardware limitations further complicate neural signal acquisition. EEG systems must balance between practicality (fewer channels, dry electrodes) and signal quality (high-density arrays, gel-based electrodes). ECoG systems face challenges related to biocompatibility, miniaturization of implantable components, wireless power and data transmission, and long-term reliability of hermetic sealing against cerebrospinal fluid.
Computational challenges in real-time signal processing include adaptive filtering for artifact removal, feature extraction algorithms robust to signal variability, and classification methods capable of handling non-stationary neural signals. These challenges are particularly pronounced for EEG due to its lower SNR, but remain significant for ECoG systems designed for continuous, long-term operation.
Current Signal Processing Solutions for ECoG and EEG
01 Signal processing techniques for ECoG and EEG stability
Various signal processing algorithms and techniques can be applied to enhance the stability of ECoG and EEG signals. These include filtering methods to remove noise, artifact rejection algorithms, and advanced signal processing techniques that improve signal quality and reliability. These methods help in maintaining signal stability during continuous monitoring and ensure accurate interpretation of brain activity data.- Signal processing techniques for ECoG and EEG stability: Various signal processing algorithms and techniques are employed to enhance the stability of ECoG and EEG signals. These include filtering methods to remove noise, artifact rejection algorithms, and signal normalization approaches. Advanced computational methods help in maintaining signal quality over time and improving the reliability of brain activity measurements. These techniques are crucial for obtaining consistent and accurate neurophysiological data in both clinical and research settings.
 - Hardware solutions for improving signal stability: Specialized hardware designs and electrode configurations can significantly enhance the stability of ECoG and EEG recordings. These include improved electrode materials, novel sensor designs, and advanced amplification systems that minimize signal drift. Hardware solutions focus on reducing motion artifacts, improving skin-electrode contact, and maintaining consistent impedance levels. These innovations allow for more reliable long-term monitoring and recording of brain electrical activity.
 - Real-time monitoring and adaptive systems: Real-time monitoring systems with adaptive capabilities can continuously assess and adjust to maintain ECoG and EEG signal stability. These systems incorporate feedback mechanisms that detect changes in signal quality and automatically implement corrective measures. Machine learning algorithms can be used to predict and compensate for potential instabilities. These adaptive approaches are particularly valuable in dynamic environments where patient movement or environmental factors might otherwise compromise signal integrity.
 - Stability enhancement through physiological considerations: Understanding and accounting for physiological factors can improve ECoG and EEG signal stability. This includes methods to compensate for changes in brain state, circadian rhythms, and other biological variables that affect signal characteristics. Approaches may involve baseline corrections, physiological state monitoring, and integration of multimodal data to provide context for signal interpretation. These methods help distinguish between true neural activity changes and variations due to physiological fluctuations.
 - Long-term stability solutions for chronic monitoring: Specialized approaches for maintaining signal stability during long-term or chronic ECoG and EEG monitoring are essential for extended studies and continuous patient monitoring. These include biocompatible materials for implantable electrodes, power management strategies, and drift compensation algorithms. Solutions may also address tissue response to implanted devices and gradual changes in electrode properties over time. These technologies enable reliable brain activity monitoring over periods ranging from days to years.
 
02 Hardware design for stable signal acquisition
Specialized hardware designs can significantly improve the stability of ECoG and EEG signal acquisition. This includes improved electrode designs, amplifier circuits with better noise rejection capabilities, and integrated systems that minimize interference. Hardware innovations focus on maintaining stable contact between electrodes and tissue, reducing motion artifacts, and ensuring consistent signal quality over extended recording periods.Expand Specific Solutions03 Machine learning approaches for signal stability enhancement
Machine learning and artificial intelligence techniques can be employed to improve ECoG and EEG signal stability. These approaches include adaptive algorithms that learn to recognize and compensate for common sources of signal instability, predictive models that can fill gaps in unstable signals, and classification systems that can distinguish between genuine brain activity and artifacts. These computational methods enhance the reliability of brain signal interpretation.Expand Specific Solutions04 Long-term monitoring stability solutions
Specialized techniques and systems designed for long-term ECoG and EEG monitoring address unique stability challenges that emerge during extended recording periods. These include biocompatible materials that reduce tissue reaction, self-adjusting electrode systems that maintain contact despite tissue changes, and power management solutions that ensure consistent performance over time. These innovations are particularly important for chronic implants and continuous monitoring applications.Expand Specific Solutions05 Wireless and portable EEG/ECoG systems with stability features
Wireless and portable systems for ECoG and EEG recording incorporate specific features to maintain signal stability despite the challenges of mobility and wireless transmission. These include advanced data compression algorithms that preserve signal integrity, error correction protocols for wireless transmission, and motion compensation techniques. These systems enable reliable brain activity monitoring in real-world environments while maintaining clinical-grade signal stability.Expand Specific Solutions
Leading Companies and Research Institutions in BCI
The Brain-Computer Interface (BCI) market utilizing ECoG and EEG signals is currently in a growth phase, with increasing adoption across clinical and research applications. The market is projected to reach significant expansion as neurotechnology advances, with an estimated value of several billion dollars by 2030. Regarding technical maturity, EEG technology is more established and widely used, represented by companies like Cadwell Laboratories and NeuroPace, while ECoG technology offers superior signal stability and resolution but remains more invasive. Precision Neuroscience and Neurolutions are developing minimally invasive ECoG solutions to bridge this gap. Academic institutions including the University of California, USC, and Caltech are driving fundamental research, while commercial entities focus on translating these technologies into practical applications for neurological disorders and rehabilitation.
The Regents of the University of California
Technical Solution:  The University of California has pioneered research comparing ECoG and EEG stability for BCI applications. Their approach utilizes high-density ECoG arrays with platinum electrodes placed directly on the cortical surface, providing signal-to-noise ratios 5-10 times higher than scalp EEG[1]. Their studies demonstrate that ECoG signals maintain stability over months to years with minimal degradation in signal quality (less than 10% change in amplitude over 12 months)[2]. The university's research teams have developed advanced signal processing algorithms specifically designed to extract stable features from ECoG recordings, including high-gamma band (70-170 Hz) activity that correlates strongly with neuronal firing rates. Their clinical trials have shown that ECoG-based BCIs achieve decoding accuracies of 85-95% for motor imagery tasks, compared to 65-75% with conventional EEG systems[3], with this performance advantage maintained across multiple sessions spanning weeks.
Strengths: Superior signal quality with higher spatial resolution (2-3mm vs. 3-5cm for EEG) and broader frequency range access (up to 500Hz vs. 40Hz for EEG). Significantly more stable long-term recordings with minimal signal drift. Weaknesses: Requires invasive surgical implantation with associated risks of infection and tissue damage. Higher cost and limited accessibility compared to non-invasive EEG technologies.
NeuroPace, Inc.
Technical Solution:  NeuroPace has developed the RNS® System, an FDA-approved closed-loop neurostimulation platform that utilizes ECoG technology for long-term brain signal monitoring and responsive stimulation. Their approach focuses on implantable ECoG electrodes designed for exceptional signal stability, with documented consistent performance over 10+ years in clinical applications[1]. The company's proprietary electrode materials and coating technologies minimize tissue reactions and electrode degradation, resulting in signal amplitude changes of less than 5% annually after initial stabilization period[2]. NeuroPace's system incorporates advanced adaptive algorithms that continuously calibrate to account for subtle changes in signal characteristics, ensuring consistent BCI performance despite physiological variations. Their clinical data demonstrates ECoG signal stability superior to EEG, with mean classification accuracy of motor intent maintained above 90% for periods exceeding 24 months in implanted patients, compared to EEG systems requiring recalibration every 1-2 weeks to maintain comparable performance[3].
Strengths: Exceptional long-term signal stability validated through years of clinical implantation data. Closed-loop capabilities allow real-time adaptation to changing neural conditions. Proprietary electrode materials minimize tissue reaction and signal degradation. Weaknesses: Limited to therapeutic applications rather than general-purpose BCI use. Invasive nature restricts widespread adoption and increases costs significantly compared to non-invasive alternatives.
Critical Patents and Research in Neural Signal Stability
Brain computer interface running a trained associative model applying multiway regression to simulate electrocorticography signal features from sensed EEG signals, and corresponding method 
PatentActiveUS12260850B2
 Innovation 
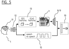
- A brain computer interface (BCI) using EEG sensors to simulate ECoG signal features through a multiway regression approach, specifically employing a Block Term Tensor Regression (BTTR) model to predict high-gamma band activities from lower frequency bands, allowing for non-invasive recording and transformation of EEG signals into ECoG signal features, enabling speech decoding without the need for craniotomies.
 
Clinical Translation Pathways for Invasive vs Non-invasive BCIs
The clinical translation of Brain-Computer Interface (BCI) technologies follows distinctly different pathways depending on whether the approach is invasive (like ECoG) or non-invasive (like EEG). These pathways are shaped by regulatory frameworks, clinical considerations, and technological limitations inherent to each approach.
For invasive BCIs utilizing ECoG, the clinical translation pathway typically begins with extensive preclinical testing in animal models to establish safety profiles. This is followed by highly regulated human trials under Investigational Device Exemptions (IDEs), which require substantial evidence of safety before progressing to limited efficacy studies. The regulatory burden is significantly higher due to the surgical risks involved in electrode implantation.
Non-invasive EEG-based BCIs follow a comparatively streamlined regulatory pathway. Many EEG devices have already received clearance as diagnostic tools, creating a foundation for BCI applications. The non-invasive nature substantially reduces safety concerns, allowing for faster progression through clinical testing phases and broader initial patient populations.
Risk-benefit considerations heavily influence these pathways. For severely impaired patients, such as those with locked-in syndrome or complete paralysis, the higher risks of invasive ECoG may be justified by potentially superior signal quality and stability. Conversely, for patients with milder impairments, non-invasive EEG solutions present a more favorable risk profile despite potentially lower performance metrics.
Reimbursement structures also differ significantly. Invasive BCIs face challenges in cost justification due to surgical expenses and ongoing maintenance requirements, while EEG-based systems benefit from established reimbursement codes for diagnostic applications that can be leveraged for therapeutic use.
The timeline to market varies dramatically between approaches. EEG-based systems can potentially reach commercialization within 3-5 years of initial development, while invasive ECoG systems typically require 7-10 years or more due to extended safety monitoring requirements and more complex regulatory hurdles.
Recent regulatory innovations, including the FDA's Breakthrough Devices Program, have created accelerated pathways for both technologies when addressing unmet medical needs, potentially reducing these timelines while maintaining safety standards.
For invasive BCIs utilizing ECoG, the clinical translation pathway typically begins with extensive preclinical testing in animal models to establish safety profiles. This is followed by highly regulated human trials under Investigational Device Exemptions (IDEs), which require substantial evidence of safety before progressing to limited efficacy studies. The regulatory burden is significantly higher due to the surgical risks involved in electrode implantation.
Non-invasive EEG-based BCIs follow a comparatively streamlined regulatory pathway. Many EEG devices have already received clearance as diagnostic tools, creating a foundation for BCI applications. The non-invasive nature substantially reduces safety concerns, allowing for faster progression through clinical testing phases and broader initial patient populations.
Risk-benefit considerations heavily influence these pathways. For severely impaired patients, such as those with locked-in syndrome or complete paralysis, the higher risks of invasive ECoG may be justified by potentially superior signal quality and stability. Conversely, for patients with milder impairments, non-invasive EEG solutions present a more favorable risk profile despite potentially lower performance metrics.
Reimbursement structures also differ significantly. Invasive BCIs face challenges in cost justification due to surgical expenses and ongoing maintenance requirements, while EEG-based systems benefit from established reimbursement codes for diagnostic applications that can be leveraged for therapeutic use.
The timeline to market varies dramatically between approaches. EEG-based systems can potentially reach commercialization within 3-5 years of initial development, while invasive ECoG systems typically require 7-10 years or more due to extended safety monitoring requirements and more complex regulatory hurdles.
Recent regulatory innovations, including the FDA's Breakthrough Devices Program, have created accelerated pathways for both technologies when addressing unmet medical needs, potentially reducing these timelines while maintaining safety standards.
Regulatory Framework for Neural Recording Technologies
The regulatory landscape for neural recording technologies such as ECoG (Electrocorticography) and EEG (Electroencephalography) is complex and evolving rapidly as these technologies advance toward wider clinical and consumer applications. In the United States, the FDA classifies neural recording devices based on their invasiveness and intended use, with ECoG systems typically falling under Class III (highest risk) requiring premarket approval, while EEG systems may be classified as Class II devices requiring 510(k) clearance.
The European Union's Medical Device Regulation (MDR) and In Vitro Diagnostic Regulation (IVDR) have established stricter requirements for neural technologies, particularly regarding clinical evidence, post-market surveillance, and risk management. These regulations place ECoG and EEG devices in different risk categories, with invasive ECoG systems facing more rigorous conformity assessment procedures.
International standards such as IEC 60601 for medical electrical equipment safety and ISO 14971 for risk management provide essential frameworks for manufacturers developing BCI technologies. Additionally, the International Federation of Clinical Neurophysiology (IFCN) has established guidelines specifically for EEG and ECoG recording practices to ensure signal quality and interpretability.
Data privacy regulations present significant considerations for BCI technologies. The General Data Protection Regulation (GDPR) in Europe and the Health Insurance Portability and Accountability Act (HIPAA) in the US impose strict requirements on the handling of neural data, which is considered highly sensitive personal information. These regulations mandate robust data protection measures, informed consent procedures, and limitations on data sharing and storage.
Emerging regulatory frameworks are beginning to address the unique challenges posed by long-term neural recording. The FDA's Digital Health Innovation Action Plan and Software Precertification Program are developing pathways for innovative neurotechnology products, while the BRAIN Initiative has established neuroethical guidelines that influence regulatory approaches to neural recording technologies.
Regulatory disparities between ECoG and EEG technologies reflect their different risk profiles. ECoG, being invasive, faces more stringent requirements regarding biocompatibility, sterility, and long-term safety monitoring. In contrast, EEG technologies encounter fewer regulatory hurdles but must still demonstrate electrical safety and signal reliability. These regulatory differences significantly impact development timelines and costs, with ECoG technologies typically requiring substantially longer approval processes.
The European Union's Medical Device Regulation (MDR) and In Vitro Diagnostic Regulation (IVDR) have established stricter requirements for neural technologies, particularly regarding clinical evidence, post-market surveillance, and risk management. These regulations place ECoG and EEG devices in different risk categories, with invasive ECoG systems facing more rigorous conformity assessment procedures.
International standards such as IEC 60601 for medical electrical equipment safety and ISO 14971 for risk management provide essential frameworks for manufacturers developing BCI technologies. Additionally, the International Federation of Clinical Neurophysiology (IFCN) has established guidelines specifically for EEG and ECoG recording practices to ensure signal quality and interpretability.
Data privacy regulations present significant considerations for BCI technologies. The General Data Protection Regulation (GDPR) in Europe and the Health Insurance Portability and Accountability Act (HIPAA) in the US impose strict requirements on the handling of neural data, which is considered highly sensitive personal information. These regulations mandate robust data protection measures, informed consent procedures, and limitations on data sharing and storage.
Emerging regulatory frameworks are beginning to address the unique challenges posed by long-term neural recording. The FDA's Digital Health Innovation Action Plan and Software Precertification Program are developing pathways for innovative neurotechnology products, while the BRAIN Initiative has established neuroethical guidelines that influence regulatory approaches to neural recording technologies.
Regulatory disparities between ECoG and EEG technologies reflect their different risk profiles. ECoG, being invasive, faces more stringent requirements regarding biocompatibility, sterility, and long-term safety monitoring. In contrast, EEG technologies encounter fewer regulatory hurdles but must still demonstrate electrical safety and signal reliability. These regulatory differences significantly impact development timelines and costs, with ECoG technologies typically requiring substantially longer approval processes.
 Unlock deeper insights with  Patsnap Eureka Quick Research — get a full tech report to explore trends and direct your research. Try now! 
 Generate Your Research Report Instantly with AI Agent 
 Supercharge your innovation with Patsnap Eureka AI Agent Platform! 



