How Brain-Computer Interfaces enable real-time cognitive workload assessment
SEP 2, 20259 MIN READ
 Generate Your Research Report Instantly with AI Agent 
 Patsnap Eureka helps you evaluate technical feasibility & market potential. 
BCI Cognitive Workload Assessment Background & Objectives
Brain-Computer Interface (BCI) technology has evolved significantly over the past three decades, transitioning from theoretical concepts to practical applications across various domains. The integration of BCI systems for cognitive workload assessment represents a critical advancement in human-machine interaction and performance optimization. Initially developed for medical applications to assist individuals with severe motor disabilities, BCI technology has expanded its scope to include cognitive state monitoring in high-performance environments such as aviation, military operations, and complex industrial settings.
The evolution of BCI technology for cognitive workload assessment has been driven by advances in neuroimaging techniques, signal processing algorithms, and machine learning approaches. Early systems relied primarily on invasive methods requiring surgical implantation of electrodes, limiting their practical application. However, recent developments in non-invasive technologies such as electroencephalography (EEG), functional near-infrared spectroscopy (fNIRS), and magnetoencephalography (MEG) have significantly enhanced the accessibility and usability of BCI systems for real-time cognitive assessment.
Current research in this field aims to address several key objectives. First, improving the accuracy and reliability of cognitive workload measurements through enhanced signal processing techniques and more sophisticated classification algorithms. Second, developing more user-friendly and less obtrusive BCI systems that can be deployed in real-world environments without disrupting normal activities. Third, establishing standardized protocols for cognitive workload assessment to enable cross-study comparisons and validation.
The potential applications of real-time cognitive workload assessment through BCI technology span numerous sectors. In aviation and transportation, these systems can monitor operator fatigue and cognitive overload to prevent accidents. In education, they can optimize learning experiences by adjusting content difficulty based on cognitive capacity. In healthcare, they offer possibilities for cognitive rehabilitation and monitoring of neurological conditions.
Technical challenges persist in achieving robust real-time assessment capabilities. These include minimizing signal artifacts from movement and environmental interference, reducing system calibration requirements, and developing algorithms capable of adapting to individual differences in neural signatures of cognitive workload. Additionally, there are significant challenges related to data interpretation, as the relationship between neural activity and cognitive states remains complex and not fully understood.
The trajectory of BCI technology for cognitive workload assessment points toward increasingly integrated, multimodal systems that combine various physiological measures with contextual information to provide more comprehensive and accurate assessments. The ultimate goal is to develop systems capable of continuous, unobtrusive monitoring that can provide actionable insights to optimize human performance and well-being across diverse operational contexts.
The evolution of BCI technology for cognitive workload assessment has been driven by advances in neuroimaging techniques, signal processing algorithms, and machine learning approaches. Early systems relied primarily on invasive methods requiring surgical implantation of electrodes, limiting their practical application. However, recent developments in non-invasive technologies such as electroencephalography (EEG), functional near-infrared spectroscopy (fNIRS), and magnetoencephalography (MEG) have significantly enhanced the accessibility and usability of BCI systems for real-time cognitive assessment.
Current research in this field aims to address several key objectives. First, improving the accuracy and reliability of cognitive workload measurements through enhanced signal processing techniques and more sophisticated classification algorithms. Second, developing more user-friendly and less obtrusive BCI systems that can be deployed in real-world environments without disrupting normal activities. Third, establishing standardized protocols for cognitive workload assessment to enable cross-study comparisons and validation.
The potential applications of real-time cognitive workload assessment through BCI technology span numerous sectors. In aviation and transportation, these systems can monitor operator fatigue and cognitive overload to prevent accidents. In education, they can optimize learning experiences by adjusting content difficulty based on cognitive capacity. In healthcare, they offer possibilities for cognitive rehabilitation and monitoring of neurological conditions.
Technical challenges persist in achieving robust real-time assessment capabilities. These include minimizing signal artifacts from movement and environmental interference, reducing system calibration requirements, and developing algorithms capable of adapting to individual differences in neural signatures of cognitive workload. Additionally, there are significant challenges related to data interpretation, as the relationship between neural activity and cognitive states remains complex and not fully understood.
The trajectory of BCI technology for cognitive workload assessment points toward increasingly integrated, multimodal systems that combine various physiological measures with contextual information to provide more comprehensive and accurate assessments. The ultimate goal is to develop systems capable of continuous, unobtrusive monitoring that can provide actionable insights to optimize human performance and well-being across diverse operational contexts.
Market Analysis for Real-time Cognitive Monitoring Solutions
The global market for real-time cognitive monitoring solutions is experiencing significant growth, driven by increasing demand across multiple sectors including healthcare, military, education, and industrial applications. Current market valuations indicate that the Brain-Computer Interface (BCI) market, which encompasses cognitive workload assessment technologies, is projected to reach approximately $3.7 billion by 2027, with a compound annual growth rate exceeding 15% from 2022 to 2027.
Healthcare represents the largest market segment, where cognitive monitoring solutions are being integrated into patient care systems for neurological disorder management, rehabilitation programs, and cognitive performance tracking. The aging global population and rising prevalence of neurological conditions have created substantial demand for these technologies, with hospitals and research institutions serving as primary adopters.
The military and aerospace sectors constitute rapidly expanding markets, where cognitive workload assessment is critical for monitoring pilot and operator fatigue, optimizing training programs, and enhancing mission-critical decision-making processes. Major defense contractors and government agencies have allocated significant research funding toward these technologies, recognizing their potential to improve operational safety and effectiveness.
In the commercial sector, neuromarketing firms and consumer research companies are increasingly utilizing cognitive monitoring tools to assess consumer responses to products, advertisements, and user experiences. This application area has seen particularly strong growth in North America and Europe, where companies are seeking more objective measures of consumer engagement beyond traditional survey methods.
The education and training market segment shows promising growth potential, with applications in adaptive learning systems, cognitive development monitoring, and attention assessment for students with learning disabilities. Several educational technology companies have begun incorporating cognitive monitoring features into their platforms, though widespread adoption remains in early stages.
Geographically, North America dominates the market with approximately 40% share, followed by Europe and Asia-Pacific. The Asia-Pacific region, particularly China, South Korea, and Japan, is expected to witness the fastest growth rate due to increasing healthcare expenditure, technological advancement initiatives, and growing awareness of neurological health.
Key market challenges include high equipment costs, technical complexity requiring specialized expertise, and ongoing concerns regarding data privacy and ethical considerations. These factors have limited adoption primarily to high-budget institutions and research facilities, though emerging portable and more affordable solutions are gradually expanding market accessibility.
Healthcare represents the largest market segment, where cognitive monitoring solutions are being integrated into patient care systems for neurological disorder management, rehabilitation programs, and cognitive performance tracking. The aging global population and rising prevalence of neurological conditions have created substantial demand for these technologies, with hospitals and research institutions serving as primary adopters.
The military and aerospace sectors constitute rapidly expanding markets, where cognitive workload assessment is critical for monitoring pilot and operator fatigue, optimizing training programs, and enhancing mission-critical decision-making processes. Major defense contractors and government agencies have allocated significant research funding toward these technologies, recognizing their potential to improve operational safety and effectiveness.
In the commercial sector, neuromarketing firms and consumer research companies are increasingly utilizing cognitive monitoring tools to assess consumer responses to products, advertisements, and user experiences. This application area has seen particularly strong growth in North America and Europe, where companies are seeking more objective measures of consumer engagement beyond traditional survey methods.
The education and training market segment shows promising growth potential, with applications in adaptive learning systems, cognitive development monitoring, and attention assessment for students with learning disabilities. Several educational technology companies have begun incorporating cognitive monitoring features into their platforms, though widespread adoption remains in early stages.
Geographically, North America dominates the market with approximately 40% share, followed by Europe and Asia-Pacific. The Asia-Pacific region, particularly China, South Korea, and Japan, is expected to witness the fastest growth rate due to increasing healthcare expenditure, technological advancement initiatives, and growing awareness of neurological health.
Key market challenges include high equipment costs, technical complexity requiring specialized expertise, and ongoing concerns regarding data privacy and ethical considerations. These factors have limited adoption primarily to high-budget institutions and research facilities, though emerging portable and more affordable solutions are gradually expanding market accessibility.
Current BCI Technology Landscape and Challenges
Brain-Computer Interface (BCI) technology has evolved significantly over the past decade, with current systems broadly categorized into invasive, semi-invasive, and non-invasive approaches. Invasive BCIs involve direct implantation of electrodes into brain tissue, offering superior signal quality but presenting substantial medical risks. Semi-invasive technologies like electrocorticography (ECoG) position electrodes beneath the skull but outside the brain, balancing signal quality with reduced invasiveness. Non-invasive methods, particularly electroencephalography (EEG), functional near-infrared spectroscopy (fNIRS), and functional magnetic resonance imaging (fMRI), dominate the commercial and research landscapes due to their accessibility and safety profiles.
The current technological landscape for cognitive workload assessment via BCI faces several significant challenges. Signal acquisition remains problematic, with EEG systems struggling with poor spatial resolution, susceptibility to noise, and signal variability across users. Even advanced dry electrode systems, which eliminate conductive gel requirements, suffer from lower signal-to-noise ratios compared to traditional wet electrodes. Signal processing algorithms, while improving, still contend with the complex, non-stationary nature of brain signals and the difficulty of isolating cognitive workload indicators from other neural activities.
Machine learning approaches for cognitive state classification have made substantial progress but require extensive training data and often lack generalizability across different users and contexts. Current systems typically achieve 70-85% accuracy in workload classification under controlled laboratory conditions, but performance degrades significantly in real-world environments with movement artifacts, emotional variations, and attention fluctuations.
Hardware limitations present additional obstacles. Existing portable BCI systems compromise between wearability and signal quality, with truly wearable systems offering limited channel counts and reduced spatial coverage. Battery life constraints further restrict continuous monitoring capabilities, with most portable systems limited to 6-8 hours of operation before requiring recharging.
From a user perspective, current BCI systems for workload assessment remain cumbersome, requiring specialized expertise for setup and calibration. The time required for electrode placement (15-30 minutes for research-grade EEG) and system calibration (typically 10-20 minutes per user) presents significant barriers to practical implementation in workplace or educational settings.
Regulatory and ethical frameworks have not kept pace with technological developments, creating uncertainty regarding data privacy, informed consent, and potential misuse of cognitive state information. This regulatory gap has slowed commercial adoption and implementation of BCI technologies for cognitive workload assessment in non-research settings.
The current technological landscape for cognitive workload assessment via BCI faces several significant challenges. Signal acquisition remains problematic, with EEG systems struggling with poor spatial resolution, susceptibility to noise, and signal variability across users. Even advanced dry electrode systems, which eliminate conductive gel requirements, suffer from lower signal-to-noise ratios compared to traditional wet electrodes. Signal processing algorithms, while improving, still contend with the complex, non-stationary nature of brain signals and the difficulty of isolating cognitive workload indicators from other neural activities.
Machine learning approaches for cognitive state classification have made substantial progress but require extensive training data and often lack generalizability across different users and contexts. Current systems typically achieve 70-85% accuracy in workload classification under controlled laboratory conditions, but performance degrades significantly in real-world environments with movement artifacts, emotional variations, and attention fluctuations.
Hardware limitations present additional obstacles. Existing portable BCI systems compromise between wearability and signal quality, with truly wearable systems offering limited channel counts and reduced spatial coverage. Battery life constraints further restrict continuous monitoring capabilities, with most portable systems limited to 6-8 hours of operation before requiring recharging.
From a user perspective, current BCI systems for workload assessment remain cumbersome, requiring specialized expertise for setup and calibration. The time required for electrode placement (15-30 minutes for research-grade EEG) and system calibration (typically 10-20 minutes per user) presents significant barriers to practical implementation in workplace or educational settings.
Regulatory and ethical frameworks have not kept pace with technological developments, creating uncertainty regarding data privacy, informed consent, and potential misuse of cognitive state information. This regulatory gap has slowed commercial adoption and implementation of BCI technologies for cognitive workload assessment in non-research settings.
Current Methods for Real-time Cognitive Workload Measurement
01 EEG-based cognitive workload assessment systems
Brain-computer interfaces can utilize electroencephalography (EEG) signals to assess cognitive workload in real-time. These systems analyze brainwave patterns to determine mental effort levels during various tasks. The technology can detect changes in cognitive load, allowing for adaptive interfaces that respond to user mental states. EEG-based systems are particularly valuable for monitoring cognitive fatigue and optimizing task performance in high-stress environments.- EEG-based cognitive workload assessment methods: Brain-computer interfaces can utilize electroencephalography (EEG) signals to assess cognitive workload in real-time. These systems analyze brainwave patterns to determine mental effort levels during tasks. Advanced algorithms process EEG data to identify specific neural signatures associated with different cognitive load states, enabling continuous monitoring of mental exertion. This approach allows for objective measurement of cognitive workload without requiring subjective self-reporting from users.
 - Multimodal sensing for workload measurement: Combining multiple physiological signals with EEG data creates more robust cognitive workload assessment systems. These multimodal approaches integrate eye tracking, heart rate variability, galvanic skin response, and other biometric indicators alongside brain activity measurements. By fusing data from various sensors, these systems can provide more accurate and comprehensive workload assessments across different contexts and individual differences, improving the reliability of cognitive state detection.
 - Adaptive systems responding to cognitive workload: Brain-computer interfaces can dynamically adjust system behavior based on detected cognitive workload levels. These adaptive systems monitor user mental states in real-time and modify task difficulty, information presentation, or automation levels to maintain optimal cognitive load. Applications include adaptive training environments, workload-aware vehicle interfaces, and intelligent tutoring systems that personalize content delivery based on the user's current cognitive capacity, helping to prevent mental overload or underload.
 - Machine learning algorithms for workload classification: Advanced machine learning techniques are employed to classify cognitive workload levels from brain-computer interface data. These algorithms, including deep learning networks, support vector machines, and ensemble methods, can identify complex patterns in neural signals that correspond to different mental workload states. Training these models requires labeled datasets of brain activity during tasks with known cognitive demands. Once trained, these algorithms can accurately classify workload levels in real-time, enabling responsive BCI applications.
 - Wearable and portable BCI solutions for workload monitoring: Miniaturized, wearable brain-computer interface systems enable cognitive workload assessment in everyday environments. These portable solutions incorporate dry electrodes, wireless connectivity, and low-power processing to monitor brain activity outside laboratory settings. Advances in sensor technology and signal processing allow these systems to function effectively despite movement artifacts and environmental noise. Applications include workplace safety monitoring, driver fatigue detection, and cognitive performance optimization for professionals in high-stress environments.
 
02 Multimodal sensing approaches for workload measurement
Combining multiple physiological signals with EEG improves the accuracy of cognitive workload assessment. These multimodal approaches integrate data from eye tracking, heart rate variability, galvanic skin response, and facial expressions alongside brain activity measurements. By fusing different data streams, these systems can provide more robust and comprehensive workload assessments across varying environmental conditions and individual differences.Expand Specific Solutions03 Adaptive learning environments using BCI workload monitoring
Brain-computer interfaces can enhance educational experiences by monitoring cognitive workload during learning activities. These systems adjust content difficulty based on real-time assessment of mental effort, preventing cognitive overload or disengagement. The technology enables personalized learning paths that maintain optimal challenge levels for each user, improving knowledge retention and skill acquisition while reducing frustration and learning fatigue.Expand Specific Solutions04 Machine learning algorithms for workload classification
Advanced machine learning techniques are employed to classify cognitive workload levels from brain-computer interface data. These algorithms can distinguish between different mental states and workload intensities by identifying patterns in neural signals. Deep learning approaches, including convolutional and recurrent neural networks, improve classification accuracy and enable real-time workload prediction. The systems can be trained to recognize individual differences in cognitive processing and adapt to user-specific workload indicators.Expand Specific Solutions05 Wearable and portable BCI devices for continuous workload monitoring
Miniaturized, wearable brain-computer interface systems enable continuous cognitive workload assessment in real-world settings. These portable devices use dry electrodes and wireless connectivity to monitor brain activity outside laboratory environments. The technology allows for long-term workload tracking during daily activities, professional tasks, or specialized operations. Applications include monitoring cognitive states of vehicle operators, medical professionals, and industrial workers to prevent accidents caused by mental fatigue or excessive cognitive load.Expand Specific Solutions
Leading Companies and Research Institutions in BCI Field
Brain-Computer Interface (BCI) technology for real-time cognitive workload assessment is currently in an early growth phase, with the market expanding rapidly but still developing. The global BCI market is projected to reach approximately $3.7 billion by 2027, with cognitive assessment applications representing a significant segment. Technologically, we observe varying maturity levels across key players: established research institutions (Tianjin University, CNRS, University of Washington) are advancing fundamental science; specialized BCI companies (NextMind, Neurable, MindPortal) are developing commercial applications; while technology giants (Huawei, Philips, Mitsubishi Electric) are integrating these capabilities into broader systems. Academic-industry partnerships are accelerating development, with Asian universities and Western companies leading innovation in non-invasive monitoring solutions that balance accuracy with practicality for workplace applications.
NextMind SAS
Technical Solution:  NextMind has developed a non-invasive BCI headset that utilizes advanced EEG technology to measure neural activity in real-time for cognitive workload assessment. Their system employs machine learning algorithms to decode visual cortex signals, allowing for the detection of attention levels and mental effort. The technology incorporates dry electrodes positioned at the occipital region to capture neural signals with minimal setup time. NextMind's proprietary signal processing pipeline includes artifact removal, feature extraction, and classification algorithms that can identify cognitive states with reported accuracy rates of over 85% in controlled environments. Their SDK enables developers to integrate cognitive workload metrics into various applications, from productivity tools to adaptive learning systems, with latency under 100ms for real-time feedback loops.
Strengths: Non-invasive approach with dry electrodes enables practical everyday use; real-time processing capabilities with low latency; strong focus on visual cortex signals provides unique insights into visual attention and cognitive load. Weaknesses: Limited electrode coverage compared to full-cap EEG systems may restrict the range of cognitive states that can be detected; primarily optimized for visual processing rather than comprehensive cognitive assessment.
Koninklijke Philips NV
Technical Solution:  Philips has developed an advanced BCI system for healthcare applications that enables real-time cognitive workload assessment. Their technology combines EEG monitoring with physiological sensors in a medical-grade platform designed for clinical reliability. The system utilizes proprietary algorithms that analyze spectral power changes in multiple frequency bands (theta, alpha, beta) across different brain regions to characterize cognitive load states. Philips' approach incorporates adaptive filtering techniques to minimize motion artifacts and environmental noise, making it suitable for ambulatory monitoring. Their cognitive workload assessment framework has been validated in clinical studies for applications including rehabilitation, cognitive training, and monitoring of mental fatigue in healthcare workers. The system can detect subtle changes in cognitive load with reported sensitivity of 87% and specificity of 83% when compared to standardized cognitive assessment tools.
Strengths: Medical-grade quality and regulatory compliance enables clinical applications; extensive validation through peer-reviewed research enhances credibility; integration with Philips' broader healthcare ecosystem creates comprehensive monitoring solutions. Weaknesses: Higher cost and complexity compared to consumer-oriented systems; primarily designed for clinical settings rather than everyday use; may require professional setup and interpretation.
Key BCI Signal Processing and Machine Learning Approaches
Cognitive workload recognition from temporal series information 
PatentWO2024015018A1
 Innovation 
- The Attention-Enabled Recognition Network (ARecNet) employs a feature-level fusion architecture across multiple input modes, including EEG signals, eye movements, and vehicle states, using a sequence-to-sequence learning paradigm with LSTM networks and a classifier layer to predict cognitive workload levels in real-time.
 
System for real-time measurement of the activity of a cognitive function and method for calibrating such a system 
PatentWO2019101807A1
 Innovation 
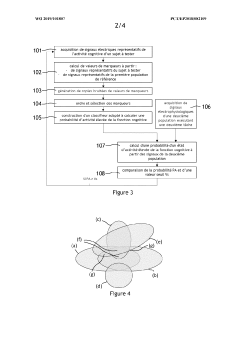
- A method and system for calibrating brain-machine interfaces that involve acquiring electrical signals from subjects performing specific tasks to differentiate between low and high cognitive function states, generating noisy copies of marker values to control measurement error, and constructing a classifier using machine learning to determine the probability of cognitive function states, allowing for real-time measurement of cognitive activity.
 
Ethical and Privacy Considerations in Neural Data Collection
The collection of neural data through Brain-Computer Interfaces (BCIs) for cognitive workload assessment raises significant ethical and privacy concerns that must be addressed before widespread implementation. Neural data represents one of the most intimate forms of personal information, directly reflecting an individual's cognitive processes, emotional states, and potentially even thoughts. This unprecedented access to the human mind necessitates robust ethical frameworks and privacy protections.
Primary concerns include informed consent protocols, which must be comprehensive enough to ensure users fully understand what data is being collected, how it will be used, stored, and potentially shared. Traditional consent models may be insufficient when dealing with neural data, as the implications of sharing such information may not be fully comprehensible to the average user. Enhanced consent procedures with ongoing opportunities for users to review and revoke permissions are essential.
Data security presents another critical challenge. Neural data collected through BCIs must be protected with state-of-the-art encryption and security measures to prevent unauthorized access. The potential consequences of neural data breaches could be far more severe than traditional data breaches, potentially exposing deeply personal cognitive patterns and mental states.
Questions of data ownership also emerge prominently. Who owns the neural data collected—the individual, the technology provider, or the organization implementing the BCI system? Clear legal frameworks must be established to define ownership rights and limitations on how neural data can be monetized or repurposed beyond its initial collection context.
The potential for discrimination based on cognitive workload patterns represents another ethical dimension. If employers gain access to cognitive workload assessments, they might discriminate against individuals who process information differently or experience higher cognitive loads during certain tasks, creating new forms of workplace inequality.
Long-term psychological impacts of continuous cognitive monitoring must also be considered. Awareness of being monitored could create anxiety or alter natural cognitive processes—a phenomenon similar to the observer effect in physics—potentially invalidating the very data being collected while causing psychological harm.
Regulatory frameworks specifically addressing neural data collection remain underdeveloped in most jurisdictions. As BCI technology advances, policymakers must work with neuroscientists, ethicists, and privacy experts to develop appropriate governance structures that balance innovation with fundamental rights to cognitive liberty and mental privacy.
Primary concerns include informed consent protocols, which must be comprehensive enough to ensure users fully understand what data is being collected, how it will be used, stored, and potentially shared. Traditional consent models may be insufficient when dealing with neural data, as the implications of sharing such information may not be fully comprehensible to the average user. Enhanced consent procedures with ongoing opportunities for users to review and revoke permissions are essential.
Data security presents another critical challenge. Neural data collected through BCIs must be protected with state-of-the-art encryption and security measures to prevent unauthorized access. The potential consequences of neural data breaches could be far more severe than traditional data breaches, potentially exposing deeply personal cognitive patterns and mental states.
Questions of data ownership also emerge prominently. Who owns the neural data collected—the individual, the technology provider, or the organization implementing the BCI system? Clear legal frameworks must be established to define ownership rights and limitations on how neural data can be monetized or repurposed beyond its initial collection context.
The potential for discrimination based on cognitive workload patterns represents another ethical dimension. If employers gain access to cognitive workload assessments, they might discriminate against individuals who process information differently or experience higher cognitive loads during certain tasks, creating new forms of workplace inequality.
Long-term psychological impacts of continuous cognitive monitoring must also be considered. Awareness of being monitored could create anxiety or alter natural cognitive processes—a phenomenon similar to the observer effect in physics—potentially invalidating the very data being collected while causing psychological harm.
Regulatory frameworks specifically addressing neural data collection remain underdeveloped in most jurisdictions. As BCI technology advances, policymakers must work with neuroscientists, ethicists, and privacy experts to develop appropriate governance structures that balance innovation with fundamental rights to cognitive liberty and mental privacy.
Practical Applications Across Industries and Use Cases
Brain-Computer Interface (BCI) technology for real-time cognitive workload assessment has found significant applications across diverse industries, transforming how organizations monitor, manage, and optimize human cognitive performance. In aviation and aerospace, pilots and air traffic controllers benefit from continuous cognitive load monitoring systems that detect fatigue, stress, and attention lapses before they become critical safety issues. These systems provide real-time alerts when cognitive resources are approaching depletion, allowing for timely intervention and task redistribution.
In healthcare settings, BCI-based cognitive workload assessment enables medical professionals to maintain optimal performance during lengthy surgeries or critical care scenarios. Surgeons utilizing these systems demonstrate improved decision-making capabilities during extended procedures, while nursing staff experience reduced burnout through better-managed cognitive demands. Additionally, rehabilitation programs leverage this technology to tailor cognitive exercises based on patients' real-time mental capacity.
The transportation industry has implemented BCI systems in commercial vehicles to monitor driver alertness and cognitive engagement. Long-haul truck drivers equipped with unobtrusive EEG headsets receive automated warnings when attention wanes, significantly reducing accident rates. Similarly, train operators and maritime personnel benefit from systems that detect cognitive overload before performance deterioration occurs.
Educational institutions have adopted BCI cognitive assessment tools to optimize learning environments. These applications measure student engagement and cognitive load during different instructional methods, allowing educators to adjust teaching strategies in real-time. Adaptive learning platforms now incorporate these metrics to automatically adjust content difficulty based on individual cognitive capacity, resulting in improved knowledge retention and reduced learning fatigue.
In high-pressure corporate environments, BCI systems monitor knowledge workers during complex analytical tasks. Financial analysts reviewing market data, software developers debugging complex code, and strategic planners developing business models all benefit from systems that detect cognitive saturation points. Organizations implementing these technologies report improved work quality, reduced decision-making errors, and enhanced employee wellbeing through better-managed cognitive demands.
Military and emergency response applications represent another crucial domain, where personnel operating in high-stress environments use BCI systems to maintain optimal cognitive performance. Command centers monitor team cognitive loads during crisis situations, enabling more effective resource allocation and preventing cognitive overload during critical operations.
In healthcare settings, BCI-based cognitive workload assessment enables medical professionals to maintain optimal performance during lengthy surgeries or critical care scenarios. Surgeons utilizing these systems demonstrate improved decision-making capabilities during extended procedures, while nursing staff experience reduced burnout through better-managed cognitive demands. Additionally, rehabilitation programs leverage this technology to tailor cognitive exercises based on patients' real-time mental capacity.
The transportation industry has implemented BCI systems in commercial vehicles to monitor driver alertness and cognitive engagement. Long-haul truck drivers equipped with unobtrusive EEG headsets receive automated warnings when attention wanes, significantly reducing accident rates. Similarly, train operators and maritime personnel benefit from systems that detect cognitive overload before performance deterioration occurs.
Educational institutions have adopted BCI cognitive assessment tools to optimize learning environments. These applications measure student engagement and cognitive load during different instructional methods, allowing educators to adjust teaching strategies in real-time. Adaptive learning platforms now incorporate these metrics to automatically adjust content difficulty based on individual cognitive capacity, resulting in improved knowledge retention and reduced learning fatigue.
In high-pressure corporate environments, BCI systems monitor knowledge workers during complex analytical tasks. Financial analysts reviewing market data, software developers debugging complex code, and strategic planners developing business models all benefit from systems that detect cognitive saturation points. Organizations implementing these technologies report improved work quality, reduced decision-making errors, and enhanced employee wellbeing through better-managed cognitive demands.
Military and emergency response applications represent another crucial domain, where personnel operating in high-stress environments use BCI systems to maintain optimal cognitive performance. Command centers monitor team cognitive loads during crisis situations, enabling more effective resource allocation and preventing cognitive overload during critical operations.
 Unlock deeper insights with  Patsnap Eureka Quick Research — get a full tech report to explore trends and direct your research. Try now! 
 Generate Your Research Report Instantly with AI Agent 
 Supercharge your innovation with Patsnap Eureka AI Agent Platform! 







