High-resolution Brain-Computer Interfaces mapping for sensory restoration applications
SEP 2, 20259 MIN READ
 Generate Your Research Report Instantly with AI Agent 
 Patsnap Eureka helps you evaluate technical feasibility & market potential. 
BCI Technology Evolution and Objectives
Brain-Computer Interfaces (BCIs) have evolved significantly since their inception in the 1970s, transitioning from rudimentary systems capable of basic signal detection to sophisticated platforms enabling complex neural decoding. The evolution of high-resolution BCIs specifically for sensory restoration represents a convergence of neuroscience, engineering, and computational advances that has accelerated dramatically in the past decade.
Early BCI systems focused primarily on motor function restoration, with limited spatial resolution and signal processing capabilities. The paradigm shift toward sensory restoration applications began in the early 2000s, when researchers demonstrated the feasibility of artificial sensory feedback through direct neural stimulation. This marked the beginning of bidirectional BCIs, capable of both recording neural activity and delivering sensory information back to the brain.
The technological trajectory has been characterized by exponential improvements in electrode density and signal quality. First-generation sensory BCIs utilized arrays with dozens of electrodes, while current systems incorporate thousands of channels, enabling unprecedented spatial resolution for mapping sensory cortices. This high-density mapping is crucial for sensory restoration, as it allows for precise targeting of specific neural populations responsible for different sensory modalities.
Parallel advances in signal processing algorithms, particularly machine learning approaches, have dramatically enhanced the extraction of meaningful information from complex neural signals. Modern BCIs employ sophisticated decoding algorithms that can interpret neural patterns with increasing accuracy, facilitating more natural sensory experiences for users.
The primary objective of high-resolution BCI mapping for sensory restoration is to create functional replacements for damaged sensory pathways. This includes developing systems capable of translating external stimuli into neural code that the brain can interpret as natural sensation. For vision restoration, this means converting camera input into patterns of electrical stimulation that the visual cortex can process. For tactile sensation, it involves translating pressure, temperature, and texture information into somatosensory neural patterns.
Secondary objectives include minimizing invasiveness while maximizing information transfer, developing long-term stable interfaces that resist biological degradation, and creating adaptive systems that can learn and evolve with the user's brain. The ultimate goal is to achieve sensory experiences that are indistinguishable from natural perception, requiring both technological innovation and deeper understanding of neural coding principles.
Recent breakthroughs in materials science, particularly flexible and biocompatible electronics, have enabled the development of interfaces that conform to the brain's surface, reducing tissue damage and improving signal quality. These advances, combined with wireless power and data transmission technologies, are moving the field toward fully implantable systems suitable for long-term clinical use in sensory restoration applications.
Early BCI systems focused primarily on motor function restoration, with limited spatial resolution and signal processing capabilities. The paradigm shift toward sensory restoration applications began in the early 2000s, when researchers demonstrated the feasibility of artificial sensory feedback through direct neural stimulation. This marked the beginning of bidirectional BCIs, capable of both recording neural activity and delivering sensory information back to the brain.
The technological trajectory has been characterized by exponential improvements in electrode density and signal quality. First-generation sensory BCIs utilized arrays with dozens of electrodes, while current systems incorporate thousands of channels, enabling unprecedented spatial resolution for mapping sensory cortices. This high-density mapping is crucial for sensory restoration, as it allows for precise targeting of specific neural populations responsible for different sensory modalities.
Parallel advances in signal processing algorithms, particularly machine learning approaches, have dramatically enhanced the extraction of meaningful information from complex neural signals. Modern BCIs employ sophisticated decoding algorithms that can interpret neural patterns with increasing accuracy, facilitating more natural sensory experiences for users.
The primary objective of high-resolution BCI mapping for sensory restoration is to create functional replacements for damaged sensory pathways. This includes developing systems capable of translating external stimuli into neural code that the brain can interpret as natural sensation. For vision restoration, this means converting camera input into patterns of electrical stimulation that the visual cortex can process. For tactile sensation, it involves translating pressure, temperature, and texture information into somatosensory neural patterns.
Secondary objectives include minimizing invasiveness while maximizing information transfer, developing long-term stable interfaces that resist biological degradation, and creating adaptive systems that can learn and evolve with the user's brain. The ultimate goal is to achieve sensory experiences that are indistinguishable from natural perception, requiring both technological innovation and deeper understanding of neural coding principles.
Recent breakthroughs in materials science, particularly flexible and biocompatible electronics, have enabled the development of interfaces that conform to the brain's surface, reducing tissue damage and improving signal quality. These advances, combined with wireless power and data transmission technologies, are moving the field toward fully implantable systems suitable for long-term clinical use in sensory restoration applications.
Market Analysis for Sensory Restoration Solutions
The sensory restoration market is experiencing significant growth, driven by technological advancements in Brain-Computer Interfaces (BCIs) and increasing prevalence of sensory impairments globally. The market for high-resolution BCI solutions specifically targeting sensory restoration applications is projected to reach $3.5 billion by 2028, with a compound annual growth rate of 14.7% from 2023 to 2028.
Sensory impairments affect a substantial portion of the global population. Approximately 466 million people worldwide have disabling hearing loss, while 285 million people are visually impaired. Additionally, over 2 million people live with limb loss in the United States alone, many requiring sensory feedback solutions. These statistics represent a significant addressable market for BCI-based sensory restoration technologies.
The market segmentation reveals distinct application areas with varying growth potentials. Hearing restoration currently dominates with 38% market share, followed by visual restoration (27%), somatosensory restoration (22%), and other sensory applications (13%). The somatosensory segment, which includes touch and proprioception restoration, is expected to grow at the fastest rate due to advancements in high-resolution neural interfaces and increasing demand for advanced prosthetic solutions.
Geographically, North America leads the market with 42% share, followed by Europe (28%), Asia-Pacific (21%), and rest of the world (9%). However, the Asia-Pacific region is projected to witness the highest growth rate due to increasing healthcare expenditure, growing awareness, and improving access to advanced medical technologies.
The customer landscape for sensory restoration solutions spans multiple segments. Healthcare providers constitute the largest customer segment (48%), followed by research institutions (23%), defense organizations (16%), and direct consumer applications (13%). The consumer segment is expected to grow significantly as BCI technologies become more accessible and user-friendly.
Key market drivers include technological advancements in electrode materials and neural signal processing, increasing prevalence of sensory disorders due to aging populations, growing acceptance of implantable medical devices, and substantial research funding from both public and private sectors. The market is also benefiting from favorable regulatory pathways for neurotechnology devices in major markets.
However, several factors constrain market growth, including high development and implementation costs, technical challenges in achieving sufficient spatial resolution, concerns regarding long-term biocompatibility of implanted devices, and ethical considerations surrounding neural interfaces. Additionally, reimbursement challenges and limited awareness among healthcare providers about advanced BCI solutions remain significant barriers to market penetration.
Sensory impairments affect a substantial portion of the global population. Approximately 466 million people worldwide have disabling hearing loss, while 285 million people are visually impaired. Additionally, over 2 million people live with limb loss in the United States alone, many requiring sensory feedback solutions. These statistics represent a significant addressable market for BCI-based sensory restoration technologies.
The market segmentation reveals distinct application areas with varying growth potentials. Hearing restoration currently dominates with 38% market share, followed by visual restoration (27%), somatosensory restoration (22%), and other sensory applications (13%). The somatosensory segment, which includes touch and proprioception restoration, is expected to grow at the fastest rate due to advancements in high-resolution neural interfaces and increasing demand for advanced prosthetic solutions.
Geographically, North America leads the market with 42% share, followed by Europe (28%), Asia-Pacific (21%), and rest of the world (9%). However, the Asia-Pacific region is projected to witness the highest growth rate due to increasing healthcare expenditure, growing awareness, and improving access to advanced medical technologies.
The customer landscape for sensory restoration solutions spans multiple segments. Healthcare providers constitute the largest customer segment (48%), followed by research institutions (23%), defense organizations (16%), and direct consumer applications (13%). The consumer segment is expected to grow significantly as BCI technologies become more accessible and user-friendly.
Key market drivers include technological advancements in electrode materials and neural signal processing, increasing prevalence of sensory disorders due to aging populations, growing acceptance of implantable medical devices, and substantial research funding from both public and private sectors. The market is also benefiting from favorable regulatory pathways for neurotechnology devices in major markets.
However, several factors constrain market growth, including high development and implementation costs, technical challenges in achieving sufficient spatial resolution, concerns regarding long-term biocompatibility of implanted devices, and ethical considerations surrounding neural interfaces. Additionally, reimbursement challenges and limited awareness among healthcare providers about advanced BCI solutions remain significant barriers to market penetration.
High-Resolution BCI Technical Challenges
High-resolution Brain-Computer Interfaces (BCIs) face several significant technical challenges that impede their widespread application in sensory restoration. The primary challenge lies in achieving sufficient spatial and temporal resolution to accurately map neural activity corresponding to sensory experiences. Current electrode arrays typically offer either high spatial resolution with limited coverage or broad coverage with lower resolution, creating a fundamental trade-off that limits effectiveness in sensory applications.
Signal acquisition presents another major hurdle, as neural signals related to sensory processing are often weak and embedded within substantial background noise. The signal-to-noise ratio (SNR) becomes particularly problematic when attempting to detect fine sensory discriminations, such as distinguishing between similar tactile sensations or visual stimuli with minimal differences.
Biocompatibility and long-term stability of implanted devices represent critical challenges for chronic applications. Materials that maintain consistent performance while minimizing tissue inflammation and scarring are essential for sensory restoration, which typically requires years of continuous operation. Current materials often trigger foreign body responses that degrade signal quality over time, particularly problematic for high-resolution applications where even minor signal degradation can significantly impact performance.
Data processing pipelines face computational bottlenecks when handling the massive datasets generated by high-resolution BCIs. Real-time processing requirements for sensory applications demand algorithms that can extract meaningful patterns from neural activity with minimal latency, while maintaining high accuracy across varying environmental conditions and physiological states.
Power management presents a significant engineering challenge, as high-resolution systems typically require substantial energy for operation. Wireless power transmission technologies remain limited in their ability to deliver sufficient power without generating excessive heat, which can damage neural tissue and compromise signal quality.
The translation between detected neural signals and meaningful sensory feedback requires sophisticated decoding algorithms that can interpret complex patterns of neural activity. Current approaches often struggle to generalize across different contexts and adapt to the neuroplastic changes that occur during long-term BCI use for sensory restoration.
Regulatory and safety considerations further complicate development, as high-resolution invasive BCIs must meet stringent requirements regarding electrical safety, thermal effects, and long-term biocompatibility. These challenges collectively necessitate interdisciplinary approaches combining neuroscience, materials engineering, signal processing, and clinical expertise to advance high-resolution BCI technology for sensory restoration applications.
Signal acquisition presents another major hurdle, as neural signals related to sensory processing are often weak and embedded within substantial background noise. The signal-to-noise ratio (SNR) becomes particularly problematic when attempting to detect fine sensory discriminations, such as distinguishing between similar tactile sensations or visual stimuli with minimal differences.
Biocompatibility and long-term stability of implanted devices represent critical challenges for chronic applications. Materials that maintain consistent performance while minimizing tissue inflammation and scarring are essential for sensory restoration, which typically requires years of continuous operation. Current materials often trigger foreign body responses that degrade signal quality over time, particularly problematic for high-resolution applications where even minor signal degradation can significantly impact performance.
Data processing pipelines face computational bottlenecks when handling the massive datasets generated by high-resolution BCIs. Real-time processing requirements for sensory applications demand algorithms that can extract meaningful patterns from neural activity with minimal latency, while maintaining high accuracy across varying environmental conditions and physiological states.
Power management presents a significant engineering challenge, as high-resolution systems typically require substantial energy for operation. Wireless power transmission technologies remain limited in their ability to deliver sufficient power without generating excessive heat, which can damage neural tissue and compromise signal quality.
The translation between detected neural signals and meaningful sensory feedback requires sophisticated decoding algorithms that can interpret complex patterns of neural activity. Current approaches often struggle to generalize across different contexts and adapt to the neuroplastic changes that occur during long-term BCI use for sensory restoration.
Regulatory and safety considerations further complicate development, as high-resolution invasive BCIs must meet stringent requirements regarding electrical safety, thermal effects, and long-term biocompatibility. These challenges collectively necessitate interdisciplinary approaches combining neuroscience, materials engineering, signal processing, and clinical expertise to advance high-resolution BCI technology for sensory restoration applications.
Current High-Resolution Neural Mapping Approaches
01 Neural signal acquisition and processing for BCI
Brain-Computer Interfaces rely on sophisticated neural signal acquisition and processing techniques to accurately capture brain activity. These systems employ various sensors and electrodes to detect electrical signals from the brain with high spatial and temporal resolution. Advanced signal processing algorithms are used to filter noise, extract relevant features, and interpret neural patterns, enabling precise mapping of brain activity for effective BCI operation.- Neural signal acquisition and processing for BCI: Advanced techniques for acquiring and processing neural signals are essential for brain-computer interfaces. These methods involve high-resolution mapping of brain activity through various recording technologies that capture electrical signals from the brain. Signal processing algorithms are then applied to filter, amplify, and interpret these signals, converting them into commands that can control external devices. This approach enables more accurate and responsive brain-computer interfaces for various applications.
 - Electrode array technologies for high-resolution mapping: Specialized electrode arrays are designed for high-resolution mapping of brain activity in BCI systems. These arrays can be implantable or non-invasive, featuring dense arrangements of microelectrodes that provide spatial and temporal precision in neural recording. Advanced materials and fabrication techniques improve biocompatibility and signal quality, while flexible substrates allow the electrodes to conform to brain tissue, enhancing long-term stability and reducing tissue damage during chronic implantation.
 - Machine learning algorithms for neural decoding: Machine learning algorithms play a crucial role in decoding neural signals for brain-computer interfaces. These algorithms analyze complex patterns in brain activity to interpret user intent, improving the accuracy of high-resolution brain mapping. Deep learning networks and adaptive algorithms can be trained to recognize specific neural patterns associated with particular thoughts or movements, enabling more intuitive control of external devices. These computational approaches continuously improve through user feedback, enhancing the precision of neural decoding over time.
 - Non-invasive BCI mapping technologies: Non-invasive technologies for brain-computer interfaces focus on high-resolution mapping without requiring surgical implantation. These approaches include advanced electroencephalography (EEG), functional near-infrared spectroscopy (fNIRS), and magnetoencephalography (MEG) systems that can detect neural activity from outside the skull. Enhanced signal processing techniques compensate for the reduced signal quality compared to invasive methods, while portable and wearable designs improve usability in everyday settings, making BCI technology more accessible for various applications.
 - Real-time visualization and feedback systems: Real-time visualization and feedback systems are essential components of high-resolution brain mapping for BCI applications. These systems provide immediate visual representation of neural activity, allowing users and clinicians to observe brain function during BCI operation. Interactive feedback mechanisms help users learn to modulate their brain activity more effectively, improving control precision. Advanced display technologies and augmented reality interfaces enhance the user experience, while data management systems handle the large volumes of information generated during high-resolution mapping sessions.
 
02 High-resolution electrode arrays and implantable devices
High-density electrode arrays and implantable neural interfaces are critical for achieving high-resolution brain mapping in BCI systems. These devices feature miniaturized electrodes arranged in precise configurations to maximize spatial coverage while minimizing tissue damage. Advanced materials and fabrication techniques enable the development of flexible, biocompatible interfaces that can maintain stable long-term recordings from specific brain regions, providing detailed neural activity maps for BCI applications.Expand Specific Solutions03 Real-time neural decoding algorithms
Real-time neural decoding algorithms transform complex brain signals into meaningful commands for BCI systems. These algorithms employ machine learning techniques, including deep neural networks and adaptive filters, to identify patterns in neural activity associated with specific intentions or movements. By continuously analyzing high-resolution neural data streams, these systems can create detailed functional maps of brain activity and translate them into precise control signals with minimal latency.Expand Specific Solutions04 Non-invasive high-resolution brain mapping techniques
Non-invasive approaches to high-resolution brain mapping utilize advanced imaging and sensing technologies to capture neural activity without requiring surgical implantation. These methods include enhanced EEG systems with improved spatial resolution, functional near-infrared spectroscopy (fNIRS), and magnetoencephalography (MEG). By combining multiple non-invasive modalities and applying sophisticated signal processing, these techniques can create detailed brain maps that approach the resolution of invasive methods while eliminating surgical risks.Expand Specific Solutions05 Integration of BCI with augmented reality and feedback systems
Advanced BCI systems integrate high-resolution brain mapping with augmented reality and sensory feedback mechanisms to create closed-loop interfaces. These systems provide users with real-time visual, auditory, or tactile feedback based on their neural activity, enabling more intuitive control and accelerated learning. The combination of precise neural mapping with immersive feedback enhances user experience and improves the accuracy and efficiency of brain-computer communication for various applications including rehabilitation, assistive technology, and human augmentation.Expand Specific Solutions
Leading Research Institutions and Companies
High-resolution Brain-Computer Interfaces (BCIs) for sensory restoration applications are currently in an early growth phase, with the market expected to expand significantly as technology matures. The global BCI market is projected to reach several billion dollars by 2030, driven by medical applications and increasing investment. The technology remains in developmental stages with varying degrees of maturity across players. Companies like Precision Neuroscience and Neurable are developing minimally invasive interfaces, while Cognixion focuses on communication systems translating brainwaves directly. Academic institutions including Tianjin University, Zhejiang University, and University of California are advancing fundamental research. Huawei represents major tech corporations entering this space, while research organizations like NICT and CEA contribute specialized expertise. The competitive landscape features a mix of startups, established tech companies, and academic institutions collaborating to overcome significant technical and regulatory challenges.
Precision Neuroscience Corp.
Technical Solution:  Precision Neuroscience has developed the Layer 7 Cortical Interface, an ultra-thin, flexible neural interface designed specifically for high-resolution brain-computer interface (BCI) applications in sensory restoration. Their technology consists of a film-like array of microelectrodes that conforms to the brain's surface without penetrating tissue, allowing for high-density neural recording with minimal invasiveness. The Layer 7 system captures neural signals at unprecedented spatial resolution (up to 1,024 channels) while maintaining signal quality comparable to traditional penetrating electrodes. Their proprietary signal processing algorithms filter noise and extract meaningful neural patterns related to sensory perception, enabling real-time decoding of neural activity for sensory feedback applications. The interface is designed with a specialized insertion mechanism that allows for minimally invasive placement through a small cranial opening, reducing surgical risks and recovery time compared to traditional BCI implantation procedures.
Strengths: Non-penetrating design minimizes tissue damage and inflammatory response while maintaining high signal quality; ultra-thin flexible materials conform to brain surface for stable long-term recording; high-density electrode arrays provide superior spatial resolution. Weaknesses: Surface recording may capture less specific neural signals than penetrating electrodes; technology is relatively new with limited long-term human data; may require more sophisticated signal processing to compensate for lower signal-to-noise ratio compared to intracortical electrodes.
Neurable, Inc.
Technical Solution:  Neurable has developed a high-resolution BCI platform specifically optimized for sensory restoration applications. Their technology employs a hybrid approach combining non-invasive EEG with transcranial magnetic stimulation (TMS) in a closed-loop system. The EEG component features a high-density array of 256 electrodes with advanced spatial filtering techniques to improve source localization accuracy critical for sensory mapping. Neurable's proprietary signal processing pipeline incorporates real-time artifact rejection algorithms and adaptive spatial filters that enhance the signal-to-noise ratio of sensory-related neural activity. Their neural decoding framework utilizes a combination of convolutional neural networks and recurrent neural networks trained on large datasets of sensory processing patterns, enabling accurate interpretation of complex sensory intentions. The integrated TMS component provides precise neuromodulation capabilities, allowing for targeted stimulation of sensory cortical areas to induce controlled sensory percepts. The system includes a comprehensive software development kit that enables researchers and developers to create customized sensory restoration applications tailored to specific user needs and sensory modalities.
Strengths: Closed-loop design allows for both neural recording and stimulation in a single system; high-density electrode array provides superior spatial resolution compared to standard EEG; comprehensive SDK facilitates rapid development of specialized sensory applications. Weaknesses: Combined EEG/TMS approach increases system complexity and cost; TMS component has limitations in spatial specificity compared to invasive stimulation methods; system requires expert calibration for optimal performance.
Breakthrough Patents in Neural Interface Technology
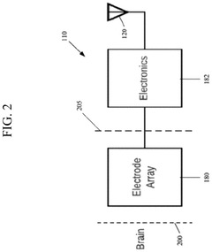
High resolution brain-electronics interface 
PatentActiveUS11191950B2
 Innovation 
- A high-resolution brain-electronic interface is developed by forming a semiconductor circuit on a silicon substrate, thinning it using a tensile stress layer, and transferring it to a biocompatible silk film, enabling dense placement of components less than 10 micrometers apart for precise neuronal detection and stimulation.
 
Systems and methods for visualizing brain activity in real time at high spatial and temporal resolution 
PatentPendingUS20250114024A1
 Innovation 
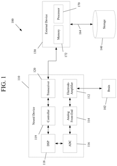
- A neural device with a non-penetrating cortical surface microelectrode array that records neural activity at high frequency and spatial resolution, coupled with a transceiver for low-latency data transmission to an external device for real-time visualization.
 
Clinical Trial Requirements and Safety Standards
Clinical trials for high-resolution Brain-Computer Interfaces (BCIs) in sensory restoration applications must adhere to stringent regulatory frameworks established by authorities such as the FDA in the United States and the EMA in Europe. These trials typically follow a phased approach, beginning with preclinical testing on animal models to establish preliminary safety profiles before progressing to human subjects. Phase I trials focus on safety assessments with small cohorts (typically 10-20 participants), while Phase II expands to evaluate both safety and preliminary efficacy with 20-100 participants.
For invasive BCI systems intended for sensory restoration, ISO 14708 standards governing active implantable medical devices must be strictly followed. These standards specify requirements for sterility, biocompatibility, electrical safety, and electromagnetic compatibility. Additionally, the FDA's guidance on implantable neurological devices outlines specific considerations for long-term neural interfaces, including material degradation assessment and chronic tissue response monitoring.
Risk management protocols for high-resolution BCIs must address both physical and psychological safety concerns. Physical risks include surgical complications, infection, tissue damage, and device failure, while psychological risks encompass potential cognitive changes, identity disruption, and psychological dependence on the technology. The ISO 14971 standard provides a comprehensive framework for risk management that must be implemented throughout the device lifecycle.
Informed consent procedures for BCI clinical trials require special attention due to the novel nature of the technology and potential vulnerability of participants with sensory impairments. Consent documents must clearly communicate both known and unknown risks, realistic expectations of benefits, and the experimental nature of the intervention. Ethics committees typically require enhanced monitoring protocols for these trials, including regular neuropsychological assessments.
Long-term safety monitoring is particularly critical for sensory restoration BCIs, with post-market surveillance extending 5-10 years beyond initial approval. This includes tracking of adverse events, device performance metrics, and quality-of-life outcomes. The emergence of international BCI safety standards, such as those being developed by IEEE Working Group P2731, aims to harmonize safety requirements across jurisdictions and accelerate responsible innovation in this rapidly evolving field.
Data security and privacy standards represent another crucial dimension of BCI safety, with requirements for encryption of neural data, secure transmission protocols, and robust authentication mechanisms to prevent unauthorized access to what is essentially the most personal form of biological data.
For invasive BCI systems intended for sensory restoration, ISO 14708 standards governing active implantable medical devices must be strictly followed. These standards specify requirements for sterility, biocompatibility, electrical safety, and electromagnetic compatibility. Additionally, the FDA's guidance on implantable neurological devices outlines specific considerations for long-term neural interfaces, including material degradation assessment and chronic tissue response monitoring.
Risk management protocols for high-resolution BCIs must address both physical and psychological safety concerns. Physical risks include surgical complications, infection, tissue damage, and device failure, while psychological risks encompass potential cognitive changes, identity disruption, and psychological dependence on the technology. The ISO 14971 standard provides a comprehensive framework for risk management that must be implemented throughout the device lifecycle.
Informed consent procedures for BCI clinical trials require special attention due to the novel nature of the technology and potential vulnerability of participants with sensory impairments. Consent documents must clearly communicate both known and unknown risks, realistic expectations of benefits, and the experimental nature of the intervention. Ethics committees typically require enhanced monitoring protocols for these trials, including regular neuropsychological assessments.
Long-term safety monitoring is particularly critical for sensory restoration BCIs, with post-market surveillance extending 5-10 years beyond initial approval. This includes tracking of adverse events, device performance metrics, and quality-of-life outcomes. The emergence of international BCI safety standards, such as those being developed by IEEE Working Group P2731, aims to harmonize safety requirements across jurisdictions and accelerate responsible innovation in this rapidly evolving field.
Data security and privacy standards represent another crucial dimension of BCI safety, with requirements for encryption of neural data, secure transmission protocols, and robust authentication mechanisms to prevent unauthorized access to what is essentially the most personal form of biological data.
Ethical Implications of Neural Interface Technology
The integration of neural interface technology into medical and consumer applications raises profound ethical questions that must be addressed before widespread adoption. High-resolution Brain-Computer Interfaces (BCIs) for sensory restoration particularly challenge traditional ethical frameworks due to their direct interaction with neural processes that define human experience and identity.
Privacy concerns represent a primary ethical consideration, as BCIs capable of high-resolution mapping collect unprecedented amounts of neural data. This information may reveal not only sensory experiences but potentially thoughts, emotions, and intentions—raising questions about mental privacy rights that existing legal frameworks are ill-equipped to address.
Autonomy and informed consent become increasingly complex when considering sensory restoration applications. Patients with sensory impairments may feel pressured to adopt these technologies despite uncertain long-term consequences. The power differential between technology providers and users demands robust consent protocols that account for both immediate benefits and potential future implications of neural data collection.
Identity and authenticity questions emerge when considering how artificially restored sensory experiences might differ from natural ones. Users of high-resolution BCIs may experience a hybrid perception that blends natural and artificial sensory inputs, potentially altering their sense of self. This raises philosophical questions about what constitutes "authentic" human experience and whether technologically mediated sensory restoration fundamentally changes personhood.
Access and equity issues cannot be overlooked, as high-resolution neural interfaces for sensory restoration will likely be expensive and initially available only to privileged populations. This threatens to create a "sensory divide" where enhanced or restored sensory capabilities become markers of socioeconomic status rather than universal healthcare provisions.
Dual-use concerns arise as technologies developed for therapeutic sensory restoration could potentially be repurposed for enhancement in non-clinical populations or surveillance applications. The same mapping capabilities that restore vision could potentially be used to extract visual information from unwilling subjects.
Regulatory frameworks currently lag behind technological capabilities, creating an ethical governance gap. The unique nature of neural data requires specialized protections beyond general data privacy regulations, particularly when considering the irreversible nature of some neural interface implementations and their intimate connection to human cognition and experience.
Privacy concerns represent a primary ethical consideration, as BCIs capable of high-resolution mapping collect unprecedented amounts of neural data. This information may reveal not only sensory experiences but potentially thoughts, emotions, and intentions—raising questions about mental privacy rights that existing legal frameworks are ill-equipped to address.
Autonomy and informed consent become increasingly complex when considering sensory restoration applications. Patients with sensory impairments may feel pressured to adopt these technologies despite uncertain long-term consequences. The power differential between technology providers and users demands robust consent protocols that account for both immediate benefits and potential future implications of neural data collection.
Identity and authenticity questions emerge when considering how artificially restored sensory experiences might differ from natural ones. Users of high-resolution BCIs may experience a hybrid perception that blends natural and artificial sensory inputs, potentially altering their sense of self. This raises philosophical questions about what constitutes "authentic" human experience and whether technologically mediated sensory restoration fundamentally changes personhood.
Access and equity issues cannot be overlooked, as high-resolution neural interfaces for sensory restoration will likely be expensive and initially available only to privileged populations. This threatens to create a "sensory divide" where enhanced or restored sensory capabilities become markers of socioeconomic status rather than universal healthcare provisions.
Dual-use concerns arise as technologies developed for therapeutic sensory restoration could potentially be repurposed for enhancement in non-clinical populations or surveillance applications. The same mapping capabilities that restore vision could potentially be used to extract visual information from unwilling subjects.
Regulatory frameworks currently lag behind technological capabilities, creating an ethical governance gap. The unique nature of neural data requires specialized protections beyond general data privacy regulations, particularly when considering the irreversible nature of some neural interface implementations and their intimate connection to human cognition and experience.
 Unlock deeper insights with  Patsnap Eureka Quick Research — get a full tech report to explore trends and direct your research. Try now! 
 Generate Your Research Report Instantly with AI Agent 
 Supercharge your innovation with Patsnap Eureka AI Agent Platform! 







