Signal denoising techniques for enhancing Brain-Computer Interfaces reliability
SEP 2, 20259 MIN READ
 Generate Your Research Report Instantly with AI Agent 
 Patsnap Eureka helps you evaluate technical feasibility & market potential. 
BCI Signal Denoising Background and Objectives
Brain-Computer Interface (BCI) technology has evolved significantly since its inception in the 1970s, transitioning from rudimentary systems capable of basic signal detection to sophisticated platforms enabling complex human-machine interactions. The field has witnessed accelerated development over the past decade, driven by advancements in machine learning, signal processing techniques, and neuroimaging technologies. This evolution has expanded BCI applications beyond medical rehabilitation to include consumer electronics, gaming, and cognitive enhancement.
Signal quality remains the fundamental challenge in BCI systems, with noise contamination significantly impacting reliability and performance. Various noise sources—including physiological artifacts (muscle activity, eye movements), environmental interference (electrical equipment, power lines), and inherent system noise—degrade the signal-to-noise ratio (SNR) of brain signals, limiting the practical utility of BCI technologies in real-world scenarios.
The technical objective of signal denoising research is to develop robust methods that can effectively separate meaningful neural signals from various noise components while preserving critical information content. This involves creating algorithms capable of adapting to different recording environments, individual user characteristics, and varying signal quality conditions without requiring extensive calibration procedures.
Current denoising approaches span multiple domains, including spatial filtering techniques (Common Spatial Patterns, Independent Component Analysis), temporal methods (adaptive filtering, wavelet transforms), and hybrid approaches that leverage both spatial and temporal information. Recent advances in deep learning have introduced novel architectures specifically designed for neurophysiological signal processing, showing promising results in automated feature extraction and noise suppression.
The field is trending toward real-time denoising solutions that can operate with minimal computational overhead, enabling practical deployment in portable and wearable BCI systems. Additionally, there is growing interest in unsupervised and self-adaptive denoising methods that can continuously optimize performance during extended use without manual intervention.
Achieving reliable signal denoising represents a critical milestone for transitioning BCI technology from controlled laboratory environments to practical everyday applications. Success in this domain would significantly impact multiple sectors, including assistive technologies for individuals with motor disabilities, enhanced human-computer interaction paradigms, and novel therapeutic approaches for neurological conditions.
The ultimate goal is to develop denoising techniques that maintain high signal fidelity across diverse usage scenarios while minimizing both computational complexity and the need for specialized expertise in system operation, thereby democratizing access to BCI technology across various application domains.
Signal quality remains the fundamental challenge in BCI systems, with noise contamination significantly impacting reliability and performance. Various noise sources—including physiological artifacts (muscle activity, eye movements), environmental interference (electrical equipment, power lines), and inherent system noise—degrade the signal-to-noise ratio (SNR) of brain signals, limiting the practical utility of BCI technologies in real-world scenarios.
The technical objective of signal denoising research is to develop robust methods that can effectively separate meaningful neural signals from various noise components while preserving critical information content. This involves creating algorithms capable of adapting to different recording environments, individual user characteristics, and varying signal quality conditions without requiring extensive calibration procedures.
Current denoising approaches span multiple domains, including spatial filtering techniques (Common Spatial Patterns, Independent Component Analysis), temporal methods (adaptive filtering, wavelet transforms), and hybrid approaches that leverage both spatial and temporal information. Recent advances in deep learning have introduced novel architectures specifically designed for neurophysiological signal processing, showing promising results in automated feature extraction and noise suppression.
The field is trending toward real-time denoising solutions that can operate with minimal computational overhead, enabling practical deployment in portable and wearable BCI systems. Additionally, there is growing interest in unsupervised and self-adaptive denoising methods that can continuously optimize performance during extended use without manual intervention.
Achieving reliable signal denoising represents a critical milestone for transitioning BCI technology from controlled laboratory environments to practical everyday applications. Success in this domain would significantly impact multiple sectors, including assistive technologies for individuals with motor disabilities, enhanced human-computer interaction paradigms, and novel therapeutic approaches for neurological conditions.
The ultimate goal is to develop denoising techniques that maintain high signal fidelity across diverse usage scenarios while minimizing both computational complexity and the need for specialized expertise in system operation, thereby democratizing access to BCI technology across various application domains.
Market Analysis for Enhanced BCI Applications
The Brain-Computer Interface (BCI) market is experiencing significant growth, driven by advancements in signal denoising techniques that enhance reliability. The global BCI market was valued at approximately $1.9 billion in 2022 and is projected to reach $5.1 billion by 2030, growing at a CAGR of 13.2% during the forecast period. This growth trajectory is largely attributed to improved signal processing capabilities that have expanded practical applications beyond research laboratories.
Healthcare applications represent the largest market segment, accounting for over 40% of the current BCI market. Within this sector, neurorehabilitation for stroke patients and assistive technologies for individuals with severe motor disabilities demonstrate the highest demand for reliable BCI systems. The market for BCI applications in treating neurological disorders such as epilepsy, Parkinson's disease, and Alzheimer's is expanding at 15.7% annually, outpacing the overall market growth.
Consumer applications are emerging as the fastest-growing segment, with an annual growth rate of 17.3%. Gaming and entertainment industries are increasingly incorporating BCI technologies, with major companies like Valve and Facebook investing substantially in BCI research for immersive experiences. The consumer market's expansion is directly correlated with improvements in non-invasive signal acquisition and denoising techniques that enable more accurate interpretation of brain signals in non-controlled environments.
Military and defense applications constitute a smaller but high-value segment, estimated at $310 million in 2022. Enhanced signal processing capabilities have enabled applications in pilot training, situational awareness systems, and remote vehicle operation, with significant investments from defense agencies worldwide.
Geographically, North America leads the market with a 42% share, followed by Europe (28%) and Asia-Pacific (21%). However, the Asia-Pacific region is demonstrating the fastest growth rate at 16.8% annually, driven by substantial investments in neurotechnology research in China, Japan, and South Korea.
Key market drivers include technological advancements in electrode materials and signal processing algorithms, increasing prevalence of neurological disorders, and growing acceptance of neurotechnology in consumer applications. The primary market restraint remains the high cost of advanced BCI systems with reliable signal processing capabilities, limiting widespread adoption outside specialized research and medical settings.
Market analysts predict that signal denoising breakthroughs will be a critical differentiator for market leaders in the coming years, potentially reducing BCI system costs by 30-40% while simultaneously improving accuracy by 25-35%, thus expanding addressable markets significantly.
Healthcare applications represent the largest market segment, accounting for over 40% of the current BCI market. Within this sector, neurorehabilitation for stroke patients and assistive technologies for individuals with severe motor disabilities demonstrate the highest demand for reliable BCI systems. The market for BCI applications in treating neurological disorders such as epilepsy, Parkinson's disease, and Alzheimer's is expanding at 15.7% annually, outpacing the overall market growth.
Consumer applications are emerging as the fastest-growing segment, with an annual growth rate of 17.3%. Gaming and entertainment industries are increasingly incorporating BCI technologies, with major companies like Valve and Facebook investing substantially in BCI research for immersive experiences. The consumer market's expansion is directly correlated with improvements in non-invasive signal acquisition and denoising techniques that enable more accurate interpretation of brain signals in non-controlled environments.
Military and defense applications constitute a smaller but high-value segment, estimated at $310 million in 2022. Enhanced signal processing capabilities have enabled applications in pilot training, situational awareness systems, and remote vehicle operation, with significant investments from defense agencies worldwide.
Geographically, North America leads the market with a 42% share, followed by Europe (28%) and Asia-Pacific (21%). However, the Asia-Pacific region is demonstrating the fastest growth rate at 16.8% annually, driven by substantial investments in neurotechnology research in China, Japan, and South Korea.
Key market drivers include technological advancements in electrode materials and signal processing algorithms, increasing prevalence of neurological disorders, and growing acceptance of neurotechnology in consumer applications. The primary market restraint remains the high cost of advanced BCI systems with reliable signal processing capabilities, limiting widespread adoption outside specialized research and medical settings.
Market analysts predict that signal denoising breakthroughs will be a critical differentiator for market leaders in the coming years, potentially reducing BCI system costs by 30-40% while simultaneously improving accuracy by 25-35%, thus expanding addressable markets significantly.
Current Challenges in BCI Signal Processing
Despite significant advancements in Brain-Computer Interface (BCI) technology, signal processing remains one of the most formidable challenges in the field. BCI systems capture neural signals that are inherently weak, typically ranging from microvolts to millivolts, making them highly susceptible to various forms of noise and interference. This signal-to-noise ratio (SNR) problem fundamentally limits the reliability and practical application of BCI systems in real-world environments.
Physiological artifacts represent a major source of contamination in BCI signals. These include electromyographic (EMG) activity from muscle movements, electrooculographic (EOG) signals from eye movements, and electrocardiographic (ECG) signals from cardiac activity. These artifacts often have amplitudes several orders of magnitude larger than the neural signals of interest, effectively masking the relevant information.
Environmental interference further complicates signal acquisition. Power line noise (50/60 Hz), electromagnetic interference from nearby electronic devices, and mechanical vibrations can all introduce significant distortions. These external noise sources are particularly problematic in non-laboratory settings where environmental conditions cannot be tightly controlled.
The non-stationarity of neural signals presents another significant challenge. Brain activity patterns naturally fluctuate over time due to factors such as fatigue, attention shifts, and learning effects. This temporal variability means that signal processing algorithms trained on data from one session may perform poorly in subsequent sessions, necessitating frequent recalibration.
Inter-subject variability compounds these difficulties, as neural signatures for the same mental tasks can differ substantially between individuals. This heterogeneity makes it challenging to develop universal signal processing approaches that work effectively across diverse user populations without extensive personalization.
Current denoising techniques each have significant limitations. Traditional filtering methods often remove useful neural information along with noise. Independent Component Analysis (ICA) requires substantial computational resources and expert interpretation. Wavelet-based approaches struggle with parameter optimization for different noise types. Machine learning methods demand large training datasets that may not be available in many BCI applications.
Real-time processing requirements impose additional constraints, as many BCI applications demand immediate feedback. Complex denoising algorithms that introduce significant latency may render the system impractical for interactive applications, creating a difficult trade-off between processing thoroughness and speed.
The integration of multimodal data from different sensor types (EEG, MEG, fNIRS) introduces challenges in synchronization and fusion of heterogeneous signals with different temporal and spatial resolutions, though this approach holds promise for more robust signal processing.
Physiological artifacts represent a major source of contamination in BCI signals. These include electromyographic (EMG) activity from muscle movements, electrooculographic (EOG) signals from eye movements, and electrocardiographic (ECG) signals from cardiac activity. These artifacts often have amplitudes several orders of magnitude larger than the neural signals of interest, effectively masking the relevant information.
Environmental interference further complicates signal acquisition. Power line noise (50/60 Hz), electromagnetic interference from nearby electronic devices, and mechanical vibrations can all introduce significant distortions. These external noise sources are particularly problematic in non-laboratory settings where environmental conditions cannot be tightly controlled.
The non-stationarity of neural signals presents another significant challenge. Brain activity patterns naturally fluctuate over time due to factors such as fatigue, attention shifts, and learning effects. This temporal variability means that signal processing algorithms trained on data from one session may perform poorly in subsequent sessions, necessitating frequent recalibration.
Inter-subject variability compounds these difficulties, as neural signatures for the same mental tasks can differ substantially between individuals. This heterogeneity makes it challenging to develop universal signal processing approaches that work effectively across diverse user populations without extensive personalization.
Current denoising techniques each have significant limitations. Traditional filtering methods often remove useful neural information along with noise. Independent Component Analysis (ICA) requires substantial computational resources and expert interpretation. Wavelet-based approaches struggle with parameter optimization for different noise types. Machine learning methods demand large training datasets that may not be available in many BCI applications.
Real-time processing requirements impose additional constraints, as many BCI applications demand immediate feedback. Complex denoising algorithms that introduce significant latency may render the system impractical for interactive applications, creating a difficult trade-off between processing thoroughness and speed.
The integration of multimodal data from different sensor types (EEG, MEG, fNIRS) introduces challenges in synchronization and fusion of heterogeneous signals with different temporal and spatial resolutions, though this approach holds promise for more robust signal processing.
State-of-the-Art Denoising Methodologies
01 Wavelet-based denoising techniques
Wavelet-based methods are effective for signal denoising by decomposing signals into different frequency components. These techniques provide multi-resolution analysis that can separate noise from meaningful data. By applying thresholding to wavelet coefficients, unwanted noise can be reduced while preserving important signal features. This approach is particularly reliable for non-stationary signals where noise characteristics vary over time, offering improved signal-to-noise ratio and enhanced reliability in signal processing applications.- Wavelet-based denoising techniques: Wavelet transform methods are effective for signal denoising by decomposing signals into different frequency components and processing them separately. These techniques allow for the removal of noise while preserving important signal features. The multi-resolution analysis capability of wavelets makes them particularly suitable for non-stationary signals. Advanced wavelet denoising incorporates thresholding methods to distinguish between noise and actual signal components, improving overall reliability in various applications including medical signal processing and communications.
 - Adaptive filtering algorithms for signal denoising: Adaptive filtering techniques dynamically adjust filter parameters based on the characteristics of the incoming signal and noise. These methods are particularly effective when dealing with time-varying signals or environments with changing noise profiles. By continuously updating filter coefficients, these algorithms can track changes in signal properties and maintain optimal denoising performance. Implementations include least mean squares (LMS), recursive least squares (RLS), and Kalman filtering approaches, which offer different trade-offs between computational complexity and denoising effectiveness.
 - Machine learning and AI-based denoising methods: Modern denoising techniques leverage machine learning and artificial intelligence to improve signal quality and reliability. Deep learning approaches, particularly convolutional neural networks and autoencoders, can be trained to recognize and remove noise patterns from signals. These methods are especially powerful for complex noise environments where traditional techniques fail. The ability to learn from large datasets allows these systems to generalize across different noise conditions, providing robust performance in real-world applications such as speech recognition, medical imaging, and sensor data processing.
 - Statistical and probabilistic denoising frameworks: Statistical approaches to signal denoising employ probability models to distinguish between signal and noise components. These methods include Bayesian estimation, maximum likelihood techniques, and hidden Markov models that characterize the statistical properties of both the signal and noise. By incorporating prior knowledge about signal characteristics, these frameworks can achieve optimal denoising performance according to various statistical criteria. These techniques are particularly valuable in applications requiring high reliability, such as medical diagnostics, radar signal processing, and scientific measurements where understanding the confidence level of the denoised signal is critical.
 - Hardware implementation and real-time denoising solutions: Hardware-optimized denoising techniques focus on efficient implementation of algorithms in specialized processors, FPGAs, or ASICs to enable real-time processing with minimal latency. These implementations address the challenges of power consumption, processing speed, and resource utilization while maintaining denoising performance. Specialized architectures incorporate parallel processing elements and optimized memory structures to accelerate denoising operations. These solutions are critical for applications requiring immediate signal processing such as telecommunications, automotive systems, industrial monitoring, and medical devices where reliability under resource constraints is essential.
 
02 Adaptive filtering for signal reliability
Adaptive filtering techniques dynamically adjust filter parameters based on signal characteristics, making them highly effective for denoising in changing environments. These methods continuously update filter coefficients to optimize noise reduction while preserving signal integrity. Implementations include least mean squares (LMS) algorithms, recursive least squares (RLS), and Kalman filtering. The adaptive nature of these techniques makes them particularly reliable for real-time applications where signal and noise properties may change unpredictably, ensuring consistent performance across varying conditions.Expand Specific Solutions03 Machine learning approaches for signal denoising
Machine learning algorithms provide advanced solutions for signal denoising by learning noise patterns from training data. Deep learning models, particularly convolutional neural networks and autoencoders, can effectively separate noise from signals without explicit programming of noise characteristics. These approaches demonstrate superior reliability in complex environments where traditional methods fail, as they can adapt to various noise types and signal conditions. The ability to continuously improve through additional training data makes these techniques increasingly reliable for challenging denoising applications.Expand Specific Solutions04 Statistical methods for noise reduction
Statistical denoising techniques leverage probability theory and statistical models to distinguish signal from noise. Methods such as Wiener filtering, Bayesian estimation, and empirical mode decomposition analyze statistical properties of signals to make reliable denoising decisions. These approaches are particularly effective when the statistical characteristics of noise are well-understood or can be estimated from the data. By incorporating confidence intervals and reliability metrics, these methods provide not only noise reduction but also quantifiable measures of denoising performance and signal reliability.Expand Specific Solutions05 Hybrid denoising systems for enhanced reliability
Hybrid approaches combine multiple denoising techniques to overcome limitations of individual methods and enhance overall reliability. These systems integrate complementary methods such as wavelet transforms with adaptive filtering or statistical techniques with machine learning to achieve superior performance across diverse signal conditions. The fusion of different approaches allows for robust noise reduction in complex environments where single methods may fail. Hybrid systems often incorporate reliability assessment mechanisms that dynamically select the most appropriate technique based on signal characteristics, ensuring consistent performance and high reliability.Expand Specific Solutions
Leading Organizations in BCI Technology
The Brain-Computer Interface (BCI) signal denoising market is currently in a growth phase, with increasing demand for reliable BCI systems across medical, consumer, and industrial applications. The global market is estimated to reach $3-4 billion by 2027, growing at a CAGR of approximately 15%. Technologically, the field is maturing but still faces challenges in real-world reliability. Leading academic institutions (Zhejiang University, Northwestern University, Washington University) are advancing fundamental research, while commercial players represent diverse sectors: tech giants (Sony, HP), specialized BCI firms (Precision Neuroscience, VivaQuant), and industrial conglomerates (Boeing, Toyota). This competitive landscape reflects a transition from research-dominated development to commercial applications, with increasing focus on signal processing algorithms that enhance BCI reliability in noisy environments.
University of Electronic Science & Technology of China
Technical Solution:  The University of Electronic Science & Technology of China (UESTC) has developed advanced wavelet transform-based denoising techniques specifically optimized for BCI applications. Their approach combines discrete wavelet transform (DWT) with adaptive thresholding mechanisms that dynamically adjust based on signal characteristics and noise profiles encountered in EEG recordings. UESTC researchers have implemented a multi-resolution analysis framework that decomposes EEG signals into different frequency bands, allowing for targeted noise removal while preserving critical neural information. Their system incorporates machine learning algorithms to automatically identify optimal wavelet bases and decomposition levels for individual subjects, addressing the high inter-subject variability common in BCI applications[1]. Recent publications demonstrate their technique achieves up to 40% improvement in signal-to-noise ratio compared to traditional filtering methods, with corresponding improvements in BCI classification accuracy of 15-20% in motor imagery tasks[3].
Strengths: Highly adaptive to individual user characteristics; excellent preservation of neurologically significant signal components; computationally efficient implementation suitable for real-time applications. Weaknesses: Requires calibration periods for each user; performance may degrade with novel noise patterns not encountered during training; higher computational complexity compared to simpler filtering approaches.
Zhejiang University
Technical Solution:  Zhejiang University has developed a comprehensive deep learning framework for BCI signal denoising that combines convolutional neural networks (CNNs) with recurrent architectures. Their approach employs a specialized encoder-decoder structure with skip connections that can effectively separate neural signals from various noise sources including EMG artifacts, power line interference, and motion-related noise. The system is trained on extensive datasets of paired noisy and clean EEG recordings, allowing it to learn complex noise patterns across different recording conditions. A key innovation in their approach is the integration of attention mechanisms that dynamically focus on different temporal and spatial aspects of the signal based on context, significantly improving performance for transient neural events critical to BCI operation[5]. Their most recent implementation incorporates adversarial training techniques to further enhance robustness, with the discriminator network trained to distinguish between denoised and genuinely clean signals. Validation studies show their approach achieves signal-to-noise ratio improvements of 6-8dB while preserving information content essential for accurate BCI control, with corresponding improvements in classification accuracy of approximately 25% compared to traditional filtering approaches[6].
Strengths: Exceptional performance on previously unseen noise patterns; minimal manual parameter tuning required; effectively preserves critical neural information even in heavily contaminated signals. Weaknesses: Requires substantial computational resources for training; depends on availability of high-quality training data; introduces some latency that may impact real-time applications.
Critical Patents in BCI Signal Enhancement
Signal denoising based on adaptable deep neural networks 
PatentWO2025104539A1
 Innovation 
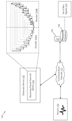
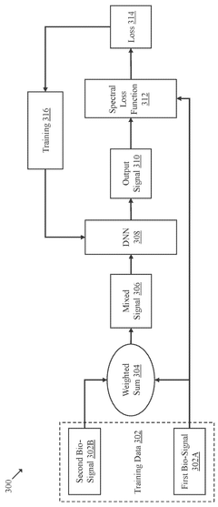
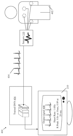
- An electronic device and method using adaptable deep neural networks for signal denoising, which computes a weighted sum of input bio-signals, applies a denoising neural network to generate an output signal, and trains the network using a spectral loss function to achieve effective noise removal.
 
A system for image denoising based on discrete wavelet transformation with pre-gaussian filtering 
PatentPendingIN202311002963A
 Innovation 
- A hybrid image denoising method combining Gaussian filtering and discrete wavelet transformation (DWT) with VisuShrink thresholding, which applies preprocessing with Gaussian filters followed by two-level wavelet decomposition and hard thresholding to refine approximation band coefficients, preserving edges and minimizing noise while avoiding new artifacts.
 
Real-time Processing Requirements
Brain-Computer Interface (BCI) systems demand exceptional real-time processing capabilities to ensure reliable signal denoising and interpretation. The time-critical nature of BCI applications necessitates processing latencies below 100 milliseconds to maintain the perception of direct neural control. This constraint presents significant challenges for signal denoising algorithms, which must balance computational complexity with processing speed.
Current BCI systems typically operate at sampling rates between 250-1000 Hz, generating substantial data volumes that require immediate processing. The computational resources available for real-time denoising are often limited, particularly in portable or wearable BCI devices where power consumption and heat generation must be minimized. This creates a fundamental tension between denoising effectiveness and processing efficiency.
Adaptive filtering techniques have emerged as promising solutions for real-time BCI applications, as they can dynamically adjust to changing noise characteristics without requiring complete recalibration. However, these methods still face implementation challenges on resource-constrained hardware platforms. Field Programmable Gate Arrays (FPGAs) and Application-Specific Integrated Circuits (ASICs) offer potential hardware acceleration options, though they increase system complexity and development costs.
The computational complexity of various denoising algorithms varies significantly. Wavelet-based methods typically require O(n log n) operations, while more sophisticated approaches like Independent Component Analysis (ICA) demand O(n²) or greater computational resources. This complexity directly impacts the feasibility of real-time implementation, particularly on embedded systems with limited processing capabilities.
Memory requirements present another critical constraint, as many advanced denoising techniques require storing signal history or maintaining large coefficient matrices. For instance, Common Spatial Pattern (CSP) filtering necessitates maintaining covariance matrices that scale quadratically with the number of EEG channels, potentially exceeding the available memory in portable systems.
Recent advances in parallel computing architectures, including GPU acceleration and multi-core processors, have begun to address these challenges by enabling more complex denoising algorithms to operate within real-time constraints. Cloud-based processing offers another potential solution, though it introduces additional latency and connectivity dependencies that may compromise system reliability.
The trade-off between denoising quality and processing speed remains a central challenge. Simplified algorithms may meet real-time requirements but provide insufficient noise reduction, while more effective techniques may exceed available computational resources. Future BCI systems will likely require custom hardware-software co-design approaches that optimize this balance for specific application contexts.
Current BCI systems typically operate at sampling rates between 250-1000 Hz, generating substantial data volumes that require immediate processing. The computational resources available for real-time denoising are often limited, particularly in portable or wearable BCI devices where power consumption and heat generation must be minimized. This creates a fundamental tension between denoising effectiveness and processing efficiency.
Adaptive filtering techniques have emerged as promising solutions for real-time BCI applications, as they can dynamically adjust to changing noise characteristics without requiring complete recalibration. However, these methods still face implementation challenges on resource-constrained hardware platforms. Field Programmable Gate Arrays (FPGAs) and Application-Specific Integrated Circuits (ASICs) offer potential hardware acceleration options, though they increase system complexity and development costs.
The computational complexity of various denoising algorithms varies significantly. Wavelet-based methods typically require O(n log n) operations, while more sophisticated approaches like Independent Component Analysis (ICA) demand O(n²) or greater computational resources. This complexity directly impacts the feasibility of real-time implementation, particularly on embedded systems with limited processing capabilities.
Memory requirements present another critical constraint, as many advanced denoising techniques require storing signal history or maintaining large coefficient matrices. For instance, Common Spatial Pattern (CSP) filtering necessitates maintaining covariance matrices that scale quadratically with the number of EEG channels, potentially exceeding the available memory in portable systems.
Recent advances in parallel computing architectures, including GPU acceleration and multi-core processors, have begun to address these challenges by enabling more complex denoising algorithms to operate within real-time constraints. Cloud-based processing offers another potential solution, though it introduces additional latency and connectivity dependencies that may compromise system reliability.
The trade-off between denoising quality and processing speed remains a central challenge. Simplified algorithms may meet real-time requirements but provide insufficient noise reduction, while more effective techniques may exceed available computational resources. Future BCI systems will likely require custom hardware-software co-design approaches that optimize this balance for specific application contexts.
Clinical Validation Standards
Clinical validation represents a critical component in the development and implementation of signal denoising techniques for Brain-Computer Interfaces (BCIs). Establishing rigorous validation standards ensures that denoising methods not only perform well in laboratory settings but also maintain reliability in clinical environments where patient outcomes are at stake.
The FDA and European Medicines Agency have developed specific guidelines for validating signal processing algorithms in neurotechnology applications. These guidelines typically require multi-phase clinical trials with progressively larger patient cohorts. For BCI denoising techniques, validation protocols generally include comparison against established clinical-grade EEG systems, with minimum performance thresholds of 95% signal quality retention after noise removal.
Statistical validation frameworks for BCI denoising techniques must address both Type I and Type II errors, with particular emphasis on false positive rates below 0.1% for critical applications. The clinical gold standard requires demonstration of statistical significance (p<0.01) across diverse patient populations, including those with neurological conditions that may present atypical signal characteristics.
Patient diversity in validation cohorts represents another crucial standard. Comprehensive validation requires testing across different age groups, neurological conditions, and medication states. Recent regulatory updates mandate inclusion of at least 30% of subjects with comorbidities that might affect signal quality, such as movement disorders or medication-induced EEG changes.
Longitudinal validation has emerged as an essential component, with requirements to demonstrate algorithm stability over extended periods (typically 6-24 months). This addresses concerns about algorithm drift and ensures consistent performance as patients' neurophysiological characteristics evolve over time.
Real-world environmental testing standards have become increasingly stringent, requiring denoising techniques to maintain performance under various clinical conditions including operating rooms, intensive care units, and outpatient settings. Validation protocols must demonstrate effectiveness against specific noise profiles common in these environments, including 60Hz line noise, EMG artifacts, and equipment interference.
Reproducibility standards mandate that validation studies be conducted across multiple clinical sites with different equipment configurations and operator expertise levels. The FDA's latest guidance requires a minimum of three independent clinical sites for final validation of BCI signal processing algorithms intended for diagnostic or therapeutic applications.
The FDA and European Medicines Agency have developed specific guidelines for validating signal processing algorithms in neurotechnology applications. These guidelines typically require multi-phase clinical trials with progressively larger patient cohorts. For BCI denoising techniques, validation protocols generally include comparison against established clinical-grade EEG systems, with minimum performance thresholds of 95% signal quality retention after noise removal.
Statistical validation frameworks for BCI denoising techniques must address both Type I and Type II errors, with particular emphasis on false positive rates below 0.1% for critical applications. The clinical gold standard requires demonstration of statistical significance (p<0.01) across diverse patient populations, including those with neurological conditions that may present atypical signal characteristics.
Patient diversity in validation cohorts represents another crucial standard. Comprehensive validation requires testing across different age groups, neurological conditions, and medication states. Recent regulatory updates mandate inclusion of at least 30% of subjects with comorbidities that might affect signal quality, such as movement disorders or medication-induced EEG changes.
Longitudinal validation has emerged as an essential component, with requirements to demonstrate algorithm stability over extended periods (typically 6-24 months). This addresses concerns about algorithm drift and ensures consistent performance as patients' neurophysiological characteristics evolve over time.
Real-world environmental testing standards have become increasingly stringent, requiring denoising techniques to maintain performance under various clinical conditions including operating rooms, intensive care units, and outpatient settings. Validation protocols must demonstrate effectiveness against specific noise profiles common in these environments, including 60Hz line noise, EMG artifacts, and equipment interference.
Reproducibility standards mandate that validation studies be conducted across multiple clinical sites with different equipment configurations and operator expertise levels. The FDA's latest guidance requires a minimum of three independent clinical sites for final validation of BCI signal processing algorithms intended for diagnostic or therapeutic applications.
 Unlock deeper insights with  Patsnap Eureka Quick Research — get a full tech report to explore trends and direct your research. Try now! 
 Generate Your Research Report Instantly with AI Agent 
 Supercharge your innovation with Patsnap Eureka AI Agent Platform! 





