Cross-modal sensory substitution using Brain-Computer Interfaces platforms
SEP 2, 20259 MIN READ
Generate Your Research Report Instantly with AI Agent
Patsnap Eureka helps you evaluate technical feasibility & market potential.
BCI Cross-modal Substitution Background & Objectives
Cross-modal sensory substitution represents a revolutionary approach in neuroscience and assistive technology, aiming to replace or augment impaired sensory modalities by translating information from one sensory channel to another. The concept emerged in the 1960s with Bach-y-Rita's pioneering work on tactile-vision substitution systems, which demonstrated the brain's remarkable neuroplasticity in adapting to novel sensory inputs. Over subsequent decades, this field has evolved from rudimentary mechanical systems to sophisticated digital interfaces, with Brain-Computer Interface (BCI) technology emerging as a particularly promising platform for implementation.
The integration of BCI with cross-modal sensory substitution marks a significant technological convergence, combining direct neural signal acquisition with advanced signal processing to create more intuitive and effective sensory replacement systems. This approach leverages the brain's inherent ability to reinterpret and adapt to new sensory information channels, potentially offering more natural and seamless sensory experiences for users with sensory impairments.
Recent technological advancements in BCI hardware, including non-invasive electroencephalography (EEG) systems with improved signal quality and invasive electrode arrays with enhanced longevity, have accelerated progress in this domain. Concurrently, machine learning algorithms have dramatically improved the decoding of neural signals, enabling more precise and personalized sensory substitution experiences.
The primary objective of cross-modal sensory substitution using BCI platforms is to develop practical, user-friendly systems that can meaningfully improve quality of life for individuals with sensory impairments. This includes creating solutions for the visually impaired that translate visual information into tactile or auditory stimuli, systems for the hearing impaired that convert auditory signals into visual or tactile feedback, and potentially even novel applications for individuals with multiple sensory deficits.
Beyond assistive technology applications, this field aims to advance fundamental understanding of neural plasticity and sensory processing. By studying how the brain adapts to and interprets cross-modal sensory information, researchers hope to gain insights into the fundamental mechanisms of perception and potentially develop new approaches for neurological rehabilitation.
The technological trajectory suggests movement toward increasingly personalized, portable, and intuitive systems that can be used in everyday contexts rather than laboratory settings. Future developments will likely focus on improving the resolution and naturalness of substituted sensory experiences, reducing the cognitive load required for interpretation, and developing systems that can be easily customized to individual users' needs and preferences.
The integration of BCI with cross-modal sensory substitution marks a significant technological convergence, combining direct neural signal acquisition with advanced signal processing to create more intuitive and effective sensory replacement systems. This approach leverages the brain's inherent ability to reinterpret and adapt to new sensory information channels, potentially offering more natural and seamless sensory experiences for users with sensory impairments.
Recent technological advancements in BCI hardware, including non-invasive electroencephalography (EEG) systems with improved signal quality and invasive electrode arrays with enhanced longevity, have accelerated progress in this domain. Concurrently, machine learning algorithms have dramatically improved the decoding of neural signals, enabling more precise and personalized sensory substitution experiences.
The primary objective of cross-modal sensory substitution using BCI platforms is to develop practical, user-friendly systems that can meaningfully improve quality of life for individuals with sensory impairments. This includes creating solutions for the visually impaired that translate visual information into tactile or auditory stimuli, systems for the hearing impaired that convert auditory signals into visual or tactile feedback, and potentially even novel applications for individuals with multiple sensory deficits.
Beyond assistive technology applications, this field aims to advance fundamental understanding of neural plasticity and sensory processing. By studying how the brain adapts to and interprets cross-modal sensory information, researchers hope to gain insights into the fundamental mechanisms of perception and potentially develop new approaches for neurological rehabilitation.
The technological trajectory suggests movement toward increasingly personalized, portable, and intuitive systems that can be used in everyday contexts rather than laboratory settings. Future developments will likely focus on improving the resolution and naturalness of substituted sensory experiences, reducing the cognitive load required for interpretation, and developing systems that can be easily customized to individual users' needs and preferences.
Market Analysis for Sensory Substitution Technologies
The sensory substitution technology market is experiencing significant growth, driven by increasing prevalence of sensory impairments and advancements in Brain-Computer Interface (BCI) platforms. Currently, the global market for assistive technologies for sensory impairments is valued at approximately $25 billion, with sensory substitution technologies representing a growing segment estimated at $3.2 billion in 2023.
The primary market segments include medical rehabilitation (42%), assistive daily living devices (28%), research applications (18%), and emerging consumer applications (12%). Cross-modal sensory substitution using BCI platforms specifically targets both clinical and consumer markets, with the clinical segment currently dominating revenue generation.
Demographic trends strongly favor market expansion, with WHO data indicating over 2.2 billion people worldwide experiencing vision impairment and 466 million with disabling hearing loss. The aging global population further amplifies market potential, as sensory decline correlates strongly with advancing age. By 2050, the number of people aged 65+ is projected to double, creating substantial market growth opportunities.
Regional analysis reveals North America currently leads market share (38%), followed by Europe (32%), Asia-Pacific (22%), and rest of world (8%). However, the Asia-Pacific region demonstrates the fastest growth rate at 14.2% CAGR, driven by improving healthcare infrastructure, increasing disposable income, and greater awareness of assistive technologies.
Consumer willingness-to-pay varies significantly across applications. Medical-grade BCI sensory substitution systems command premium pricing ($15,000-$50,000), while consumer-oriented applications face greater price sensitivity ($1,000-$5,000). Insurance coverage and reimbursement policies significantly impact market penetration in the medical segment.
Market adoption faces several barriers including high initial costs, limited awareness among potential users and healthcare providers, regulatory hurdles, and technological limitations. However, decreasing component costs, miniaturization of hardware, and improvements in machine learning algorithms are gradually addressing these challenges.
The competitive landscape remains fragmented, with specialized medical device companies dominating the clinical segment while technology companies increasingly enter the consumer space. Strategic partnerships between technology developers, healthcare providers, and insurance companies are emerging as key market access strategies.
The primary market segments include medical rehabilitation (42%), assistive daily living devices (28%), research applications (18%), and emerging consumer applications (12%). Cross-modal sensory substitution using BCI platforms specifically targets both clinical and consumer markets, with the clinical segment currently dominating revenue generation.
Demographic trends strongly favor market expansion, with WHO data indicating over 2.2 billion people worldwide experiencing vision impairment and 466 million with disabling hearing loss. The aging global population further amplifies market potential, as sensory decline correlates strongly with advancing age. By 2050, the number of people aged 65+ is projected to double, creating substantial market growth opportunities.
Regional analysis reveals North America currently leads market share (38%), followed by Europe (32%), Asia-Pacific (22%), and rest of world (8%). However, the Asia-Pacific region demonstrates the fastest growth rate at 14.2% CAGR, driven by improving healthcare infrastructure, increasing disposable income, and greater awareness of assistive technologies.
Consumer willingness-to-pay varies significantly across applications. Medical-grade BCI sensory substitution systems command premium pricing ($15,000-$50,000), while consumer-oriented applications face greater price sensitivity ($1,000-$5,000). Insurance coverage and reimbursement policies significantly impact market penetration in the medical segment.
Market adoption faces several barriers including high initial costs, limited awareness among potential users and healthcare providers, regulatory hurdles, and technological limitations. However, decreasing component costs, miniaturization of hardware, and improvements in machine learning algorithms are gradually addressing these challenges.
The competitive landscape remains fragmented, with specialized medical device companies dominating the clinical segment while technology companies increasingly enter the consumer space. Strategic partnerships between technology developers, healthcare providers, and insurance companies are emerging as key market access strategies.
Current BCI Platforms and Technical Barriers
Brain-Computer Interface (BCI) platforms have evolved significantly over the past decade, with several commercial and research-grade systems now available. Current platforms can be categorized into invasive, semi-invasive, and non-invasive systems, each with distinct capabilities and limitations for cross-modal sensory substitution applications.
Non-invasive BCI platforms dominate the current market, with electroencephalography (EEG) being the most widely used technology. Companies like Emotiv, Neurosky, and OpenBCI offer consumer-grade EEG headsets that provide accessible entry points for developers. These systems typically offer between 8-64 channels with sampling rates of 125-1000 Hz, sufficient for basic sensory substitution applications but limited in spatial resolution and signal-to-noise ratio.
More advanced research-grade EEG systems from companies like g.tec, Brain Products, and ANT Neuro provide higher channel counts (up to 256) and superior signal quality, but at significantly higher costs that limit widespread adoption. These systems are primarily used in laboratory settings for proof-of-concept sensory substitution research.
Functional near-infrared spectroscopy (fNIRS) platforms represent another non-invasive approach gaining traction. Systems from NIRx and Artinis measure hemodynamic responses with better spatial resolution than EEG but suffer from lower temporal resolution, creating challenges for real-time sensory feedback applications.
The primary technical barriers for current non-invasive BCI platforms include signal quality degradation from environmental noise, motion artifacts, and the skull's filtering effect. These issues significantly impact the reliability and precision required for effective sensory substitution. Additionally, most systems require extensive calibration procedures and controlled environments, limiting practical everyday use.
Invasive and semi-invasive platforms, while offering superior signal quality, face substantial barriers to widespread adoption. Neuralink, Paradromics, and Blackrock Neurotech are developing advanced invasive systems with high channel counts and exceptional spatial-temporal resolution. However, these platforms face significant regulatory hurdles, surgical risks, long-term biocompatibility concerns, and prohibitive costs.
Another critical barrier is the computational complexity of real-time signal processing for cross-modal sensory translation. Current algorithms struggle to efficiently transform neural signals into meaningful sensory substitution outputs with minimal latency. Delays exceeding 100ms significantly diminish the naturalistic perception necessary for effective sensory replacement.
Power consumption and form factor remain substantial challenges, particularly for portable applications. Most high-performance BCI systems require external processing units and substantial power sources, limiting mobility and practical deployment outside controlled environments.
Non-invasive BCI platforms dominate the current market, with electroencephalography (EEG) being the most widely used technology. Companies like Emotiv, Neurosky, and OpenBCI offer consumer-grade EEG headsets that provide accessible entry points for developers. These systems typically offer between 8-64 channels with sampling rates of 125-1000 Hz, sufficient for basic sensory substitution applications but limited in spatial resolution and signal-to-noise ratio.
More advanced research-grade EEG systems from companies like g.tec, Brain Products, and ANT Neuro provide higher channel counts (up to 256) and superior signal quality, but at significantly higher costs that limit widespread adoption. These systems are primarily used in laboratory settings for proof-of-concept sensory substitution research.
Functional near-infrared spectroscopy (fNIRS) platforms represent another non-invasive approach gaining traction. Systems from NIRx and Artinis measure hemodynamic responses with better spatial resolution than EEG but suffer from lower temporal resolution, creating challenges for real-time sensory feedback applications.
The primary technical barriers for current non-invasive BCI platforms include signal quality degradation from environmental noise, motion artifacts, and the skull's filtering effect. These issues significantly impact the reliability and precision required for effective sensory substitution. Additionally, most systems require extensive calibration procedures and controlled environments, limiting practical everyday use.
Invasive and semi-invasive platforms, while offering superior signal quality, face substantial barriers to widespread adoption. Neuralink, Paradromics, and Blackrock Neurotech are developing advanced invasive systems with high channel counts and exceptional spatial-temporal resolution. However, these platforms face significant regulatory hurdles, surgical risks, long-term biocompatibility concerns, and prohibitive costs.
Another critical barrier is the computational complexity of real-time signal processing for cross-modal sensory translation. Current algorithms struggle to efficiently transform neural signals into meaningful sensory substitution outputs with minimal latency. Delays exceeding 100ms significantly diminish the naturalistic perception necessary for effective sensory replacement.
Power consumption and form factor remain substantial challenges, particularly for portable applications. Most high-performance BCI systems require external processing units and substantial power sources, limiting mobility and practical deployment outside controlled environments.
Existing Cross-modal BCI Implementation Approaches
01 Neural signal processing for sensory substitution
Brain-Computer Interface platforms can process neural signals to enable sensory substitution, allowing individuals with sensory impairments to perceive information through alternative sensory channels. These systems capture brain activity, process the signals using advanced algorithms, and translate them into meaningful sensory feedback that can be interpreted by the user. This approach enables cross-modal sensory substitution where one sensory modality can be replaced by another, such as converting visual information to tactile or auditory feedback.- Neural signal processing for sensory substitution: Brain-Computer Interface platforms can process neural signals to enable sensory substitution, allowing users to perceive information through alternative sensory channels. These systems capture brain activity, process the signals using advanced algorithms, and translate them into meaningful sensory feedback. This approach is particularly valuable for individuals with sensory impairments, as it can provide alternative pathways for experiencing the environment.
- Visual-to-tactile sensory substitution systems: BCI platforms can convert visual information into tactile feedback, enabling visually impaired users to perceive their environment through touch. These systems typically use cameras to capture visual data, process this information through specialized algorithms, and deliver corresponding tactile stimulation patterns to the user's skin or other body parts. This creates a new sensory channel that allows users to interpret visual information through tactile sensations.
- Auditory-to-visual sensory substitution: BCI technologies can transform auditory information into visual representations for individuals with hearing impairments. These systems capture sound waves, analyze their characteristics such as frequency, amplitude, and spatial location, and convert them into visual patterns displayed on screens or through augmented reality interfaces. This enables users to perceive auditory information through visual cues, enhancing their ability to interact with the auditory environment.
- Multimodal integration and feedback systems: Advanced BCI platforms integrate multiple sensory modalities to create comprehensive sensory substitution experiences. These systems combine inputs from various sensors and provide feedback through multiple channels simultaneously. By integrating visual, auditory, tactile, and even olfactory information, these platforms create rich sensory experiences that can compensate for specific sensory deficits while leveraging the user's intact sensory capabilities.
- Adaptive learning and personalization in sensory substitution: BCI platforms for sensory substitution incorporate adaptive learning algorithms that personalize the experience based on user feedback and neural responses. These systems continuously monitor user performance and neural activity to optimize the translation between sensory modalities. The adaptive nature of these platforms allows for personalized calibration, improving the effectiveness of sensory substitution over time as the user's brain adapts to the new sensory input channels.
02 Tactile feedback systems for visual impairment
BCI platforms can be designed to provide tactile feedback as a substitute for visual information, helping visually impaired individuals navigate their environment. These systems typically use arrays of tactile stimulators that convert visual data captured by cameras into patterns of vibration or pressure on the skin. The brain learns to interpret these tactile patterns as spatial information, effectively creating a new sensory channel that substitutes for vision. This technology enables users to perceive shapes, obstacles, and movement through touch rather than sight.Expand Specific Solutions03 Auditory substitution for visual and tactile information
Auditory sensory substitution systems convert visual or tactile information into sound patterns that can be interpreted by the brain. These BCI platforms use sophisticated algorithms to transform spatial or tactile data into auditory signals with varying pitch, volume, and timbre. Users can be trained to recognize specific sound patterns as representing different visual scenes or tactile sensations. This approach is particularly valuable for individuals with both visual and tactile impairments, providing an alternative sensory channel for environmental perception.Expand Specific Solutions04 Integrated multi-modal sensory substitution platforms
Advanced BCI platforms integrate multiple sensory substitution modalities into comprehensive systems that can adapt to user needs and environmental conditions. These platforms combine various input sensors (cameras, microphones, pressure sensors) with multiple feedback mechanisms (tactile arrays, bone conduction audio, haptic devices) controlled by AI algorithms that optimize the sensory substitution experience. The integration allows for seamless switching between different substitution modes based on the specific task requirements or environmental challenges, providing users with more flexible and effective sensory alternatives.Expand Specific Solutions05 Neurofeedback training for sensory substitution adaptation
BCI platforms incorporate neurofeedback training protocols to help users adapt to sensory substitution systems more effectively. These training programs monitor brain activity during sensory substitution tasks and provide real-time feedback to guide users in developing the neural pathways necessary for cross-modal sensory interpretation. The training typically involves progressive exercises that help the brain form new associations between substitute sensory inputs and the cognitive understanding of environmental information. This approach accelerates the learning process and improves the functional outcomes of sensory substitution technologies.Expand Specific Solutions
Leading Organizations in BCI Sensory Substitution
Cross-modal sensory substitution using Brain-Computer Interfaces (BCI) is currently in an early growth phase, with the market expected to expand significantly as technology matures. The global BCI market is projected to reach $3.7 billion by 2027, with sensory substitution applications representing an emerging segment. Technologically, the field shows varying maturity levels across players. NextMind and Neurable are advancing consumer-focused BCI solutions, while Wicab has pioneered tongue-based sensory substitution with their BrainPort device. Academic institutions like Washington University, Vanderbilt, and Sorbonne Université are driving fundamental research, while Chinese universities (Peking, Tianjin) are rapidly closing the technology gap. Research organizations like CNRS and INSERM provide critical infrastructure supporting translational development from laboratory to commercial applications.
NextMind SAS
Technical Solution: NextMind has developed a non-invasive BCI device that translates visual signals from the occipital lobe into digital commands. Their technology uses advanced machine learning algorithms to decode neural activity related to visual focus, enabling users to control digital interfaces with their visual attention. For cross-modal sensory substitution, NextMind's platform can potentially translate visual information into auditory or tactile feedback for visually impaired users, or conversely, convert auditory signals into visual representations for those with hearing impairments. The company's dev kit includes an EEG-based headset with dry electrodes and a software development kit that allows developers to create custom applications leveraging their neural interface technology. Their approach focuses on decoding visual attention signals rather than directly reading thoughts, making it particularly suitable for sensory substitution applications where attention-based control is beneficial.
Strengths: Non-invasive technology with real-time neural decoding; consumer-friendly form factor suitable for everyday use; open SDK allowing for custom application development in sensory substitution. Weaknesses: Limited to decoding visual attention rather than full sensory experiences; requires visible stimuli to function optimally; current resolution may be insufficient for complex sensory substitution tasks.
The Regents of the University of California
Technical Solution: The University of California system has conducted extensive research in cross-modal sensory substitution using BCI platforms across multiple campuses. Researchers have developed systems that translate visual information into tactile or auditory feedback using both invasive and non-invasive BCI approaches. Notable projects include the development of cortical visual prostheses that directly stimulate the visual cortex to produce phosphenes (points of light) for blind individuals, effectively substituting electrical stimulation for natural visual input. Other research has focused on sensory augmentation systems that provide additional sensory channels through BCIs, such as perception of infrared light or ultrasonic information translated into existing sensory modalities. UC researchers have also pioneered closed-loop BCI systems that adapt to users' neural responses in real-time, optimizing the sensory substitution experience. Their work spans fundamental neuroscience research through to translational applications, with several technologies advancing to clinical trials.
Strengths: Comprehensive research approach spanning basic science to clinical applications; access to cutting-edge neuroscience facilities and multidisciplinary expertise; strong track record of peer-reviewed publications and clinical trials in BCI. Weaknesses: Academic focus may result in slower commercialization compared to dedicated companies; technologies developed across different campuses may lack integration; funding constraints typical of academic research.
Key Patents and Research in Sensory Substitution
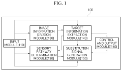
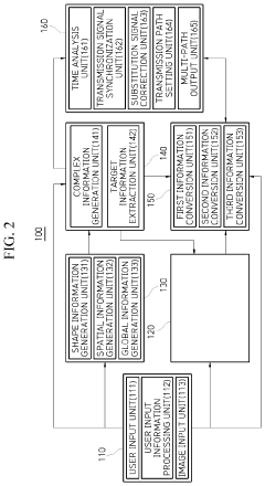
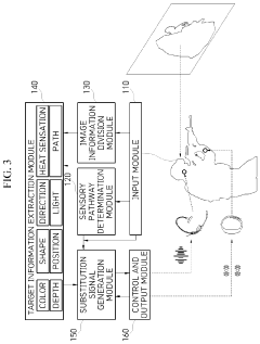
Apparatus and method for sensory substitution and multi-path transmission of visual information
PatentInactiveUS20230103788A1
Innovation
- An apparatus and method for sensory substitution and multi-path transmission of visual information that extracts specific types of visual information from images and converts them into suitable sensory signals for multiple sensory pathways, including visual, auditory, tactile, and heat sensations, allowing for synchronized and corrected signal output to multiple sensory organs.
Sensory substitution control device and method
PatentInactiveUS20210137403A1
Innovation
- A sensory substitution control device that includes a reaction signal collector, environmental information collector, and sensory substitution efficiency analyzer to adjust substitution signals based on user responses and environmental factors, optimizing signal transmission through a feedback loop.
Neuroethical Considerations and Guidelines
The integration of cross-modal sensory substitution technologies with Brain-Computer Interface (BCI) platforms raises significant neuroethical considerations that must be addressed through comprehensive guidelines. As these technologies enable individuals to perceive sensory information through alternative pathways, they fundamentally alter neural processing and potentially reshape cognitive experiences. This transformation necessitates careful ethical examination regarding user autonomy, informed consent, and potential psychological impacts.
Privacy and data security represent paramount concerns in BCI-based sensory substitution systems. These platforms collect and process highly sensitive neural data, creating unprecedented vulnerabilities if compromised. Robust encryption protocols, secure storage mechanisms, and transparent data handling policies must be established to protect users from unauthorized access or exploitation of their neural information. Additionally, clear boundaries must be defined regarding ownership of neural data and the extent to which third parties may access or utilize such information.
Identity and agency considerations emerge as users adapt to novel sensory experiences. The integration of artificial sensory inputs may alter self-perception and cognitive frameworks, potentially influencing decision-making processes and personal identity. Guidelines must address the psychological support requirements for users undergoing significant perceptual changes and establish protocols for monitoring potential adverse effects on mental health or cognitive functioning.
Equitable access represents another critical ethical dimension. The development and distribution of cross-modal sensory substitution technologies must avoid creating or exacerbating social disparities. Pricing structures, availability across diverse populations, and adaptability to various cultural contexts should be carefully considered to prevent these technologies from becoming exclusive to privileged groups.
Regulatory frameworks must evolve alongside technological advancements. Current medical device regulations may inadequately address the unique characteristics of BCI-based sensory substitution systems. International standards should be developed to ensure safety, efficacy, and ethical implementation across jurisdictions, with particular attention to reversibility of interventions and long-term monitoring protocols.
Research ethics guidelines specific to cross-modal sensory substitution must be established, emphasizing transparent reporting of both benefits and limitations. These guidelines should mandate comprehensive disclosure of potential risks, including psychological adaptation challenges and unknown long-term effects. Furthermore, they should require ongoing assessment of user experiences to identify unforeseen consequences as these technologies mature and become more widely adopted.
Privacy and data security represent paramount concerns in BCI-based sensory substitution systems. These platforms collect and process highly sensitive neural data, creating unprecedented vulnerabilities if compromised. Robust encryption protocols, secure storage mechanisms, and transparent data handling policies must be established to protect users from unauthorized access or exploitation of their neural information. Additionally, clear boundaries must be defined regarding ownership of neural data and the extent to which third parties may access or utilize such information.
Identity and agency considerations emerge as users adapt to novel sensory experiences. The integration of artificial sensory inputs may alter self-perception and cognitive frameworks, potentially influencing decision-making processes and personal identity. Guidelines must address the psychological support requirements for users undergoing significant perceptual changes and establish protocols for monitoring potential adverse effects on mental health or cognitive functioning.
Equitable access represents another critical ethical dimension. The development and distribution of cross-modal sensory substitution technologies must avoid creating or exacerbating social disparities. Pricing structures, availability across diverse populations, and adaptability to various cultural contexts should be carefully considered to prevent these technologies from becoming exclusive to privileged groups.
Regulatory frameworks must evolve alongside technological advancements. Current medical device regulations may inadequately address the unique characteristics of BCI-based sensory substitution systems. International standards should be developed to ensure safety, efficacy, and ethical implementation across jurisdictions, with particular attention to reversibility of interventions and long-term monitoring protocols.
Research ethics guidelines specific to cross-modal sensory substitution must be established, emphasizing transparent reporting of both benefits and limitations. These guidelines should mandate comprehensive disclosure of potential risks, including psychological adaptation challenges and unknown long-term effects. Furthermore, they should require ongoing assessment of user experiences to identify unforeseen consequences as these technologies mature and become more widely adopted.
Clinical Applications and User Accessibility
Cross-modal sensory substitution technologies implemented through Brain-Computer Interface (BCI) platforms have demonstrated significant potential in clinical settings, particularly for patients with sensory impairments. These applications range from vision restoration systems for the blind to auditory substitution devices for the deaf, creating new pathways for sensory information processing in the brain.
In rehabilitation medicine, BCI-based sensory substitution has shown promising results for stroke patients with partial sensory loss. Clinical trials at major neurological centers have documented improved functional outcomes when traditional rehabilitation is supplemented with cross-modal BCI training. The neuroplasticity induced through these interventions appears to facilitate recovery by establishing alternative neural pathways for sensory processing.
For individuals with congenital sensory deficits, early intervention with cross-modal BCI systems has demonstrated enhanced developmental outcomes. Pediatric applications have been particularly successful, as children's heightened neuroplasticity allows for more efficient adaptation to sensory substitution technologies. Long-term studies indicate that early adopters maintain better functional capabilities into adulthood compared to those receiving interventions later in life.
User accessibility remains a critical challenge in the widespread adoption of these technologies. Current BCI platforms often require extensive calibration procedures and technical expertise, limiting their use in home environments. Recent innovations have focused on developing more intuitive user interfaces and self-calibrating systems that can adapt to individual user characteristics without professional supervision.
Cost barriers present another significant accessibility concern. High-end BCI systems with advanced cross-modal capabilities typically cost between $10,000-$50,000, placing them beyond the reach of many potential users. Public health insurance systems in most countries have been slow to include these technologies in coverage policies, further restricting access to those with financial means or private insurance.
Efforts to improve accessibility have led to the development of modular systems that allow for gradual component upgrades rather than complete system replacement. Open-source BCI platforms have emerged as promising alternatives, fostering innovation while potentially reducing costs. Community-based training programs have also been established to support users in maximizing the benefits of their devices through proper usage techniques and troubleshooting skills.
The integration of mobile technology with BCI systems represents another avenue for improving accessibility. Smartphone-compatible interfaces allow for more convenient monitoring and adjustment of sensory substitution parameters, while cloud-based processing can reduce the computational requirements of wearable components, making them lighter and more energy-efficient.
In rehabilitation medicine, BCI-based sensory substitution has shown promising results for stroke patients with partial sensory loss. Clinical trials at major neurological centers have documented improved functional outcomes when traditional rehabilitation is supplemented with cross-modal BCI training. The neuroplasticity induced through these interventions appears to facilitate recovery by establishing alternative neural pathways for sensory processing.
For individuals with congenital sensory deficits, early intervention with cross-modal BCI systems has demonstrated enhanced developmental outcomes. Pediatric applications have been particularly successful, as children's heightened neuroplasticity allows for more efficient adaptation to sensory substitution technologies. Long-term studies indicate that early adopters maintain better functional capabilities into adulthood compared to those receiving interventions later in life.
User accessibility remains a critical challenge in the widespread adoption of these technologies. Current BCI platforms often require extensive calibration procedures and technical expertise, limiting their use in home environments. Recent innovations have focused on developing more intuitive user interfaces and self-calibrating systems that can adapt to individual user characteristics without professional supervision.
Cost barriers present another significant accessibility concern. High-end BCI systems with advanced cross-modal capabilities typically cost between $10,000-$50,000, placing them beyond the reach of many potential users. Public health insurance systems in most countries have been slow to include these technologies in coverage policies, further restricting access to those with financial means or private insurance.
Efforts to improve accessibility have led to the development of modular systems that allow for gradual component upgrades rather than complete system replacement. Open-source BCI platforms have emerged as promising alternatives, fostering innovation while potentially reducing costs. Community-based training programs have also been established to support users in maximizing the benefits of their devices through proper usage techniques and troubleshooting skills.
The integration of mobile technology with BCI systems represents another avenue for improving accessibility. Smartphone-compatible interfaces allow for more convenient monitoring and adjustment of sensory substitution parameters, while cloud-based processing can reduce the computational requirements of wearable components, making them lighter and more energy-efficient.
Unlock deeper insights with Patsnap Eureka Quick Research — get a full tech report to explore trends and direct your research. Try now!
Generate Your Research Report Instantly with AI Agent
Supercharge your innovation with Patsnap Eureka AI Agent Platform!








