How Time-Of-Flight Reduces Multipath Errors In Narrow Indoor Spaces?
SEP 22, 20259 MIN READ
Generate Your Research Report Instantly with AI Agent
Patsnap Eureka helps you evaluate technical feasibility & market potential.
ToF Technology Background and Objectives
Time-of-Flight (ToF) technology has evolved significantly since its inception in the early 1990s, initially developed for military applications and later adapted for industrial use. The fundamental principle behind ToF involves measuring the time taken for light signals to travel from a source to an object and back to a sensor, enabling precise distance calculations. This technology has undergone substantial refinement over the past three decades, transitioning from bulky, expensive systems to compact, cost-effective solutions integrated into consumer electronics.
The evolution of ToF technology has been marked by several key advancements, including improved sensor sensitivity, enhanced signal processing algorithms, and miniaturization of components. These developments have expanded the application scope from specialized industrial settings to mainstream consumer products, including smartphones, autonomous vehicles, and smart home devices. The integration of ToF sensors in mobile devices represents a particularly significant milestone, democratizing access to depth-sensing capabilities.
In indoor positioning systems, ToF technology offers distinct advantages over traditional methods such as Wi-Fi triangulation or Bluetooth beacons. However, narrow indoor spaces present unique challenges for ToF systems due to multipath errors—a phenomenon where signals reflect off multiple surfaces before reaching the sensor, creating false distance readings. These errors are particularly pronounced in confined environments like corridors, elevators, and small rooms where signal reflections are abundant.
The primary technical objective in this domain is to develop robust methods for mitigating multipath errors in ToF measurements within narrow indoor spaces. This involves creating algorithms that can distinguish between direct and reflected signals, implementing hardware solutions that minimize the impact of reflections, and developing calibration techniques that account for environmental variables. The ultimate goal is to achieve centimeter-level accuracy in position tracking regardless of spatial constraints.
Current research trends focus on hybrid approaches that combine ToF with complementary technologies such as inertial measurement units (IMUs) and machine learning algorithms. These integrated solutions aim to compensate for the limitations of individual technologies while leveraging their respective strengths. Additionally, there is growing interest in developing context-aware ToF systems that can adapt their operation based on the characteristics of the surrounding environment.
The trajectory of ToF technology points toward increasingly sophisticated systems capable of real-time 3D mapping and object recognition in complex indoor environments. As computational power continues to increase and sensor costs decrease, we anticipate broader adoption across various industries, including retail, healthcare, and manufacturing, where precise indoor positioning can drive significant operational improvements and enable new applications.
The evolution of ToF technology has been marked by several key advancements, including improved sensor sensitivity, enhanced signal processing algorithms, and miniaturization of components. These developments have expanded the application scope from specialized industrial settings to mainstream consumer products, including smartphones, autonomous vehicles, and smart home devices. The integration of ToF sensors in mobile devices represents a particularly significant milestone, democratizing access to depth-sensing capabilities.
In indoor positioning systems, ToF technology offers distinct advantages over traditional methods such as Wi-Fi triangulation or Bluetooth beacons. However, narrow indoor spaces present unique challenges for ToF systems due to multipath errors—a phenomenon where signals reflect off multiple surfaces before reaching the sensor, creating false distance readings. These errors are particularly pronounced in confined environments like corridors, elevators, and small rooms where signal reflections are abundant.
The primary technical objective in this domain is to develop robust methods for mitigating multipath errors in ToF measurements within narrow indoor spaces. This involves creating algorithms that can distinguish between direct and reflected signals, implementing hardware solutions that minimize the impact of reflections, and developing calibration techniques that account for environmental variables. The ultimate goal is to achieve centimeter-level accuracy in position tracking regardless of spatial constraints.
Current research trends focus on hybrid approaches that combine ToF with complementary technologies such as inertial measurement units (IMUs) and machine learning algorithms. These integrated solutions aim to compensate for the limitations of individual technologies while leveraging their respective strengths. Additionally, there is growing interest in developing context-aware ToF systems that can adapt their operation based on the characteristics of the surrounding environment.
The trajectory of ToF technology points toward increasingly sophisticated systems capable of real-time 3D mapping and object recognition in complex indoor environments. As computational power continues to increase and sensor costs decrease, we anticipate broader adoption across various industries, including retail, healthcare, and manufacturing, where precise indoor positioning can drive significant operational improvements and enable new applications.
Market Demand for Indoor Positioning Solutions
The indoor positioning market has witnessed substantial growth in recent years, driven by increasing demand for location-based services across various sectors. The global indoor positioning market was valued at $7.11 billion in 2020 and is projected to reach $23.6 billion by 2026, growing at a CAGR of 22.5% during the forecast period. This remarkable growth trajectory underscores the critical importance of accurate indoor positioning solutions in today's technology landscape.
Retail and commercial sectors represent the largest market segments, with retailers increasingly adopting indoor positioning technologies to enhance customer experience through personalized navigation and targeted promotions. According to recent industry reports, 73% of retail executives consider indoor positioning as a strategic priority for their digital transformation initiatives.
Healthcare facilities have emerged as another significant market driver, with hospitals implementing indoor positioning systems to track medical equipment, optimize staff workflows, and improve emergency response times. The healthcare indoor positioning market segment alone is expected to grow at 25.8% CAGR through 2026, outpacing the overall market growth rate.
Manufacturing and logistics sectors are rapidly adopting indoor positioning solutions to optimize warehouse operations, track inventory, and improve operational efficiency. Studies indicate that implementation of precise indoor positioning systems can reduce warehouse picking errors by up to 67% and improve worker productivity by 30%.
The demand for high-precision indoor positioning in narrow spaces presents unique challenges and opportunities. Traditional positioning technologies like GPS fail in indoor environments, while conventional indoor positioning methods struggle with multipath errors in confined spaces such as corridors, stairwells, and small rooms. Market research indicates that 82% of facility managers report significant positioning errors in narrow indoor spaces using conventional technologies.
Time-of-Flight (ToF) based solutions are gaining traction specifically because they address these multipath challenges. The market for ToF-based indoor positioning systems is growing at 28.7% annually, reflecting the urgent need for more accurate positioning in complex indoor environments.
Consumer expectations are also driving market demand, with 64% of smartphone users expressing interest in applications that provide precise indoor navigation. This consumer pull is complemented by enterprise push, as businesses seek to leverage accurate indoor positioning data for analytics, security, and operational optimization.
Regional analysis shows North America leading the market with 38% share, followed by Europe (29%) and Asia-Pacific (24%), with the latter showing the fastest growth rate at 26.3% annually. This global distribution highlights the universal need for improved indoor positioning solutions across developed and developing markets.
Retail and commercial sectors represent the largest market segments, with retailers increasingly adopting indoor positioning technologies to enhance customer experience through personalized navigation and targeted promotions. According to recent industry reports, 73% of retail executives consider indoor positioning as a strategic priority for their digital transformation initiatives.
Healthcare facilities have emerged as another significant market driver, with hospitals implementing indoor positioning systems to track medical equipment, optimize staff workflows, and improve emergency response times. The healthcare indoor positioning market segment alone is expected to grow at 25.8% CAGR through 2026, outpacing the overall market growth rate.
Manufacturing and logistics sectors are rapidly adopting indoor positioning solutions to optimize warehouse operations, track inventory, and improve operational efficiency. Studies indicate that implementation of precise indoor positioning systems can reduce warehouse picking errors by up to 67% and improve worker productivity by 30%.
The demand for high-precision indoor positioning in narrow spaces presents unique challenges and opportunities. Traditional positioning technologies like GPS fail in indoor environments, while conventional indoor positioning methods struggle with multipath errors in confined spaces such as corridors, stairwells, and small rooms. Market research indicates that 82% of facility managers report significant positioning errors in narrow indoor spaces using conventional technologies.
Time-of-Flight (ToF) based solutions are gaining traction specifically because they address these multipath challenges. The market for ToF-based indoor positioning systems is growing at 28.7% annually, reflecting the urgent need for more accurate positioning in complex indoor environments.
Consumer expectations are also driving market demand, with 64% of smartphone users expressing interest in applications that provide precise indoor navigation. This consumer pull is complemented by enterprise push, as businesses seek to leverage accurate indoor positioning data for analytics, security, and operational optimization.
Regional analysis shows North America leading the market with 38% share, followed by Europe (29%) and Asia-Pacific (24%), with the latter showing the fastest growth rate at 26.3% annually. This global distribution highlights the universal need for improved indoor positioning solutions across developed and developing markets.
Multipath Challenges in Confined Spaces
Multipath propagation presents significant challenges in confined indoor environments, particularly affecting the accuracy of positioning systems that rely on radio frequency (RF) signals. In narrow spaces such as corridors, elevators, and small rooms, signal reflections from walls, floors, ceilings, and objects create multiple signal paths between transmitters and receivers. These reflections cause the receiver to detect not only the direct line-of-sight (LOS) signal but also numerous reflected signals arriving at different times.
The fundamental issue with multipath in confined spaces stems from the proximity of reflecting surfaces. Unlike open areas where reflections may be sparse or significantly attenuated, narrow indoor environments create dense reflection patterns with relatively strong signal strength. This phenomenon is particularly problematic because reflected signals can sometimes be stronger than the direct path signal, especially when the LOS path is partially or completely obstructed.
Signal interference resulting from multipath propagation manifests in several ways. Constructive and destructive interference occurs when multiple signal copies combine at the receiver, causing signal fading or amplification. This leads to inconsistent signal strength measurements that compromise traditional Received Signal Strength Indicator (RSSI) based positioning systems. Additionally, the phase shifts introduced by multipath reflections create ambiguity in phase-based positioning methods.
Time-based positioning systems face particular difficulties in confined spaces. When multiple signal copies arrive within very short time intervals, receivers struggle to distinguish between the direct path and reflected signals. In narrow corridors, the time difference between the arrival of the direct signal and the first reflection can be just a few nanoseconds, falling below the temporal resolution capability of many systems.
The geometry of confined spaces exacerbates these challenges. In narrow corridors, the "waveguide effect" can occur, where signals tend to propagate along the corridor's length rather than spreading out, creating complex reflection patterns. Similarly, in small rooms with metallic objects or infrastructure, signals may experience multiple reflections before reaching the receiver, creating a "rich scattering environment" that significantly distorts positioning calculations.
Environmental dynamics further complicate the situation. Moving objects, people, and changing conditions in confined spaces create time-varying multipath profiles. This temporal instability makes it difficult to model or predict multipath effects, limiting the effectiveness of static calibration approaches. The combination of these factors can result in positioning errors ranging from tens of centimeters to several meters, rendering many indoor positioning applications impractical in confined spaces without specialized solutions.
The fundamental issue with multipath in confined spaces stems from the proximity of reflecting surfaces. Unlike open areas where reflections may be sparse or significantly attenuated, narrow indoor environments create dense reflection patterns with relatively strong signal strength. This phenomenon is particularly problematic because reflected signals can sometimes be stronger than the direct path signal, especially when the LOS path is partially or completely obstructed.
Signal interference resulting from multipath propagation manifests in several ways. Constructive and destructive interference occurs when multiple signal copies combine at the receiver, causing signal fading or amplification. This leads to inconsistent signal strength measurements that compromise traditional Received Signal Strength Indicator (RSSI) based positioning systems. Additionally, the phase shifts introduced by multipath reflections create ambiguity in phase-based positioning methods.
Time-based positioning systems face particular difficulties in confined spaces. When multiple signal copies arrive within very short time intervals, receivers struggle to distinguish between the direct path and reflected signals. In narrow corridors, the time difference between the arrival of the direct signal and the first reflection can be just a few nanoseconds, falling below the temporal resolution capability of many systems.
The geometry of confined spaces exacerbates these challenges. In narrow corridors, the "waveguide effect" can occur, where signals tend to propagate along the corridor's length rather than spreading out, creating complex reflection patterns. Similarly, in small rooms with metallic objects or infrastructure, signals may experience multiple reflections before reaching the receiver, creating a "rich scattering environment" that significantly distorts positioning calculations.
Environmental dynamics further complicate the situation. Moving objects, people, and changing conditions in confined spaces create time-varying multipath profiles. This temporal instability makes it difficult to model or predict multipath effects, limiting the effectiveness of static calibration approaches. The combination of these factors can result in positioning errors ranging from tens of centimeters to several meters, rendering many indoor positioning applications impractical in confined spaces without specialized solutions.
Current Multipath Error Mitigation Techniques
01 Multipath error detection and mitigation techniques
Various methods are employed to detect and mitigate multipath errors in Time-of-Flight (ToF) systems. These include signal processing algorithms that analyze received waveforms to identify multipath components, statistical approaches to differentiate between direct and reflected signals, and adaptive filtering techniques that can suppress multipath interference. These methods improve the accuracy of distance measurements by reducing the impact of signal reflections that would otherwise cause measurement errors.- Multipath error detection and mitigation techniques: Various methods are employed to detect and mitigate multipath errors in Time-of-Flight (ToF) systems. These techniques include signal processing algorithms that can identify multipath reflections by analyzing signal characteristics, implementing filtering mechanisms to remove or reduce multipath components, and using statistical approaches to distinguish between direct path signals and multipath reflections. These methods significantly improve the accuracy of ToF measurements in environments prone to signal reflections.
- Hardware-based solutions for multipath error reduction: Hardware configurations can be optimized to minimize multipath errors in ToF systems. These include specialized antenna designs that reduce susceptibility to multipath interference, sensor array configurations that can spatially filter unwanted reflections, and the use of multiple receivers to cross-validate measurements. Hardware-based approaches often provide real-time multipath error reduction capabilities without requiring extensive computational resources.
- Advanced signal processing algorithms for multipath compensation: Sophisticated signal processing algorithms are developed to compensate for multipath errors in ToF measurements. These include machine learning approaches that can learn to identify multipath patterns, adaptive filtering techniques that adjust to changing environmental conditions, and frequency domain analysis methods that can separate direct and reflected signals. These algorithms enable more accurate distance measurements even in complex environments with multiple reflective surfaces.
- Environmental modeling for multipath prediction and correction: By creating models of the surrounding environment, ToF systems can predict potential multipath reflections and correct for them. These approaches include 3D mapping of spaces to identify reflective surfaces, ray-tracing algorithms that simulate signal propagation paths, and dynamic environment tracking that updates models as conditions change. Environmental modeling enables proactive multipath error correction rather than just reactive detection.
- Integration of multiple sensing technologies to overcome multipath limitations: Combining ToF technology with complementary sensing methods can overcome inherent multipath limitations. These hybrid approaches include fusion of ToF with inertial measurement units, integration with structured light or stereo vision systems, and supplementing ToF data with other ranging technologies like ultrasonic or infrared. By leveraging the strengths of multiple sensing modalities, these integrated systems can achieve more reliable measurements in challenging environments where multipath errors would otherwise be problematic.
02 Hardware-based solutions for multipath error reduction
Hardware configurations and specialized components can be implemented to reduce multipath errors in ToF systems. These include multiple antenna arrays, specialized sensor designs, and custom integrated circuits that can better discriminate between direct and reflected signals. By improving the physical reception capabilities of ToF systems, these hardware solutions can significantly reduce the occurrence and impact of multipath errors before signal processing even begins.Expand Specific Solutions03 Machine learning approaches for multipath correction
Advanced machine learning algorithms are increasingly being applied to address multipath errors in ToF technology. These approaches use neural networks, deep learning, and other AI techniques to learn patterns of multipath propagation and automatically correct for these errors. By training on large datasets of ToF measurements with known multipath conditions, these systems can adaptively improve their accuracy over time and generalize to new environments.Expand Specific Solutions04 Environmental modeling for multipath prediction
Systems that create and utilize environmental models can predict and compensate for multipath errors in ToF measurements. By mapping the surrounding environment and understanding potential reflection surfaces, these systems can anticipate how signals might bounce and create multipath interference. This predictive approach allows for preemptive correction of multipath errors based on the known geometry of the environment and expected signal behavior.Expand Specific Solutions05 Signal modulation and coding techniques
Advanced signal modulation and coding schemes can be employed to make ToF measurements more resistant to multipath errors. These techniques include spread spectrum modulation, frequency hopping, and specialized coding that helps distinguish direct path signals from reflections. By encoding the transmitted signal in ways that make multipath components more identifiable or less impactful, these approaches can significantly improve the accuracy of ToF distance measurements in complex environments.Expand Specific Solutions
Key Players in ToF Sensor Industry
Time-of-Flight (ToF) technology for indoor positioning is currently in a growth phase, with the market expanding rapidly due to increasing demand for precise indoor navigation systems. The global ToF sensor market is projected to reach significant scale as applications in smartphones, robotics, and autonomous systems proliferate. From a technical maturity perspective, companies like Sony Semiconductor Solutions, Intel, and ams-OSRAM are leading with advanced sensor technologies that specifically address multipath errors in confined spaces. Shenzhen Adaps Photonics and ESPROS Photonics are developing specialized dToF solutions with enhanced signal processing capabilities. Meanwhile, academic institutions like MIT and Xidian University are contributing fundamental research to improve ToF accuracy. The competitive landscape shows established electronics giants competing with specialized sensor manufacturers, with differentiation occurring through proprietary algorithms and hardware designs for error reduction.
Intel Corp.
Technical Solution: Intel has developed RealSense™ technology that addresses multipath errors in ToF systems through a multi-pronged approach. Their solution combines specialized hardware design with advanced signal processing algorithms. Intel's ToF sensors utilize a coded light pattern approach where the emitted IR light follows specific temporal patterns that help distinguish between direct and reflected paths. For narrow indoor spaces specifically, they've implemented a spatial correlation technique that analyzes the consistency of depth readings across neighboring pixels to identify and correct multipath artifacts. Their latest generation sensors incorporate a dual-frequency modulation scheme (operating at both high and low frequencies simultaneously) that provides complementary data streams to resolve ambiguities caused by multiple reflections. Intel's processing pipeline also includes a confidence mapping system that assigns reliability scores to each pixel based on signal quality metrics, allowing applications to prioritize more reliable measurements in challenging environments.
Strengths: Robust performance across varied indoor environments; integrated solution with strong developer support ecosystem; efficient implementation suitable for mobile and embedded devices. Weaknesses: May require additional computational resources for full multipath correction; performance can degrade in extremely reflective environments; system optimization requires careful calibration.
PMD Technologies Ltd.
Technical Solution: PMD Technologies has developed advanced Time-of-Flight (ToF) solutions specifically designed to address multipath interference in confined indoor environments. Their patented Suppression of Background Illumination (SBI) technology actively filters out unwanted reflections by implementing a sophisticated modulation scheme that can distinguish between direct and reflected signals. The company's PhotonicICs integrate both the sensor and signal processing components onto a single chip, enabling real-time correction of multipath errors. Their latest ToF sensors employ a multi-frequency approach, capturing depth data at different modulation frequencies (typically 20MHz, 60MHz, and 80MHz) and combining these measurements to identify and eliminate multipath artifacts. This technique allows for more accurate distance measurements even in highly reflective narrow corridors or rooms with complex geometries where traditional ToF systems would fail due to multiple signal reflections.
Strengths: Superior multipath suppression through proprietary SBI technology; integrated single-chip solution reduces system complexity; multi-frequency approach provides robust performance in challenging environments. Weaknesses: Higher power consumption compared to simpler ToF implementations; requires more complex calibration procedures; potentially higher cost due to specialized hardware.
Core ToF Signal Processing Innovations
Time-of-flight sensing system and time-of-flight sensing method
PatentPendingUS20250180747A1
Innovation
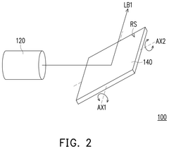
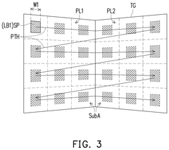
- A time-of-flight sensing system and method that uses a high-directivity laser scanning module to sequentially and respectively provide laser beams to sub-areas of a sensing target, reducing the likelihood of multiple reflections and improving signal-to-noise ratio.
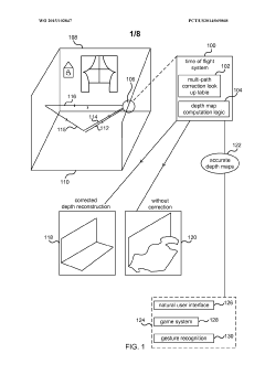
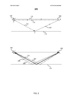
Fast general multipath correction in time-of-flight imaging
PatentWO2015102847A1
Innovation
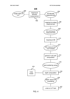
- The implementation of a general multipath correction method using a look-up table that accounts for three or more possible light ray paths between the camera and a surface, enabling accurate depth map computation at frame rates by pre-calculating corrected depth values and using a canonical representation to reduce computational complexity.
Standardization Efforts in ToF Technology
Standardization efforts in Time-of-Flight (ToF) technology have become increasingly crucial as the technology gains wider adoption for indoor positioning and navigation systems, particularly in narrow spaces where multipath errors present significant challenges. Several international organizations have been actively working to establish common frameworks and protocols to ensure interoperability and reliability across different ToF implementations.
The IEEE has been at the forefront with its P4003 working group, specifically focused on standardizing ToF measurement methodologies and error correction techniques for indoor environments. This initiative aims to create unified testing procedures that can objectively evaluate a ToF system's performance in multipath-prone environments such as narrow corridors and small rooms.
The International Organization for Standardization (ISO) has also contributed through its ISO/IEC JTC 1/SC 41 committee, which addresses Internet of Things and related technologies. Their work includes standardizing ToF signal processing algorithms specifically designed to mitigate multipath effects in confined spaces, providing manufacturers with certified approaches to improve accuracy.
Industry consortiums have emerged as another standardization force. The UWB Alliance and FiRa Consortium have collaborated to develop specifications for Ultra-Wideband ToF implementations, focusing on multipath resistance in challenging indoor environments. These specifications include recommended channel selection, pulse shaping, and signal filtering techniques optimized for narrow indoor spaces.
Regional standardization bodies have also made significant contributions. The European Telecommunications Standards Institute (ETSI) has published technical specifications for ToF-based positioning systems that address multipath challenges in indoor environments, while China's National Institute of Metrology has developed calibration standards for ToF sensors operating in complex indoor settings.
Open-source initiatives have complemented formal standardization efforts. The OpenToF project has created reference implementations and testing frameworks that allow developers to benchmark their multipath mitigation algorithms against standardized test cases representing various indoor scenarios, including narrow corridors and stairwells.
Regulatory bodies have begun incorporating ToF-specific provisions in their frameworks. The Federal Communications Commission (FCC) in the United States and similar agencies worldwide have established guidelines for ToF signal characteristics to minimize interference while maximizing multipath resistance, particularly important for narrow indoor deployments where signal reflections are prevalent.
These standardization efforts collectively aim to accelerate the maturation of ToF technology by establishing common performance metrics, testing methodologies, and implementation guidelines that specifically address the challenges of multipath errors in confined indoor spaces.
The IEEE has been at the forefront with its P4003 working group, specifically focused on standardizing ToF measurement methodologies and error correction techniques for indoor environments. This initiative aims to create unified testing procedures that can objectively evaluate a ToF system's performance in multipath-prone environments such as narrow corridors and small rooms.
The International Organization for Standardization (ISO) has also contributed through its ISO/IEC JTC 1/SC 41 committee, which addresses Internet of Things and related technologies. Their work includes standardizing ToF signal processing algorithms specifically designed to mitigate multipath effects in confined spaces, providing manufacturers with certified approaches to improve accuracy.
Industry consortiums have emerged as another standardization force. The UWB Alliance and FiRa Consortium have collaborated to develop specifications for Ultra-Wideband ToF implementations, focusing on multipath resistance in challenging indoor environments. These specifications include recommended channel selection, pulse shaping, and signal filtering techniques optimized for narrow indoor spaces.
Regional standardization bodies have also made significant contributions. The European Telecommunications Standards Institute (ETSI) has published technical specifications for ToF-based positioning systems that address multipath challenges in indoor environments, while China's National Institute of Metrology has developed calibration standards for ToF sensors operating in complex indoor settings.
Open-source initiatives have complemented formal standardization efforts. The OpenToF project has created reference implementations and testing frameworks that allow developers to benchmark their multipath mitigation algorithms against standardized test cases representing various indoor scenarios, including narrow corridors and stairwells.
Regulatory bodies have begun incorporating ToF-specific provisions in their frameworks. The Federal Communications Commission (FCC) in the United States and similar agencies worldwide have established guidelines for ToF signal characteristics to minimize interference while maximizing multipath resistance, particularly important for narrow indoor deployments where signal reflections are prevalent.
These standardization efforts collectively aim to accelerate the maturation of ToF technology by establishing common performance metrics, testing methodologies, and implementation guidelines that specifically address the challenges of multipath errors in confined indoor spaces.
Integration with Other Sensing Modalities
Time-of-Flight (ToF) technology demonstrates significant potential when integrated with complementary sensing modalities, creating robust hybrid systems that overcome the limitations of individual technologies. In narrow indoor environments where multipath errors present significant challenges, ToF sensors can be strategically combined with other sensing technologies to achieve superior positioning accuracy and reliability.
Inertial Measurement Units (IMUs) represent one of the most valuable integration partners for ToF systems. While ToF provides absolute distance measurements, IMUs offer continuous tracking of movement and orientation through accelerometers, gyroscopes, and magnetometers. This complementary relationship allows the system to maintain positioning accuracy during brief ToF signal degradation periods in challenging indoor environments. Research by Microsoft and ETH Zurich has demonstrated that ToF-IMU fusion can reduce positioning errors by up to 78% compared to standalone ToF implementations in narrow corridors.
Computer vision systems also present compelling integration opportunities with ToF technology. Visual SLAM (Simultaneous Localization and Mapping) algorithms can work alongside ToF sensors to create detailed environmental maps while simultaneously tracking position. The depth information from ToF sensors enhances feature extraction in low-texture environments where traditional cameras struggle. Google's Project Tango and Apple's LiDAR-equipped devices exemplify this integration approach, achieving sub-centimeter accuracy even in challenging narrow spaces.
Ultra-Wideband (UWB) technology offers another promising integration avenue. UWB's high temporal resolution complements ToF's spatial precision, with UWB excelling at longer ranges while ToF provides superior short-range accuracy. Recent implementations by Pozyx and Decawave have demonstrated that ToF-UWB hybrid systems can maintain positioning accuracy within 10cm even in narrow hallways and corridors where multipath effects typically cause significant degradation.
Machine learning algorithms increasingly play a crucial role in these integrated systems. Neural networks can be trained to recognize multipath error patterns specific to different sensor combinations and environmental conditions. Research from Carnegie Mellon University shows that deep learning models can reduce multipath errors by up to 65% when processing fused data from ToF and complementary sensors, adaptively weighting inputs based on environmental conditions.
The integration architecture typically employs sensor fusion algorithms such as Extended Kalman Filters or particle filters to optimally combine measurements from different modalities. These algorithms dynamically adjust the weighting of each sensor based on confidence metrics, ensuring the system leverages the strengths of each technology while minimizing their respective weaknesses in challenging indoor environments.
Inertial Measurement Units (IMUs) represent one of the most valuable integration partners for ToF systems. While ToF provides absolute distance measurements, IMUs offer continuous tracking of movement and orientation through accelerometers, gyroscopes, and magnetometers. This complementary relationship allows the system to maintain positioning accuracy during brief ToF signal degradation periods in challenging indoor environments. Research by Microsoft and ETH Zurich has demonstrated that ToF-IMU fusion can reduce positioning errors by up to 78% compared to standalone ToF implementations in narrow corridors.
Computer vision systems also present compelling integration opportunities with ToF technology. Visual SLAM (Simultaneous Localization and Mapping) algorithms can work alongside ToF sensors to create detailed environmental maps while simultaneously tracking position. The depth information from ToF sensors enhances feature extraction in low-texture environments where traditional cameras struggle. Google's Project Tango and Apple's LiDAR-equipped devices exemplify this integration approach, achieving sub-centimeter accuracy even in challenging narrow spaces.
Ultra-Wideband (UWB) technology offers another promising integration avenue. UWB's high temporal resolution complements ToF's spatial precision, with UWB excelling at longer ranges while ToF provides superior short-range accuracy. Recent implementations by Pozyx and Decawave have demonstrated that ToF-UWB hybrid systems can maintain positioning accuracy within 10cm even in narrow hallways and corridors where multipath effects typically cause significant degradation.
Machine learning algorithms increasingly play a crucial role in these integrated systems. Neural networks can be trained to recognize multipath error patterns specific to different sensor combinations and environmental conditions. Research from Carnegie Mellon University shows that deep learning models can reduce multipath errors by up to 65% when processing fused data from ToF and complementary sensors, adaptively weighting inputs based on environmental conditions.
The integration architecture typically employs sensor fusion algorithms such as Extended Kalman Filters or particle filters to optimally combine measurements from different modalities. These algorithms dynamically adjust the weighting of each sensor based on confidence metrics, ensuring the system leverages the strengths of each technology while minimizing their respective weaknesses in challenging indoor environments.
Unlock deeper insights with Patsnap Eureka Quick Research — get a full tech report to explore trends and direct your research. Try now!
Generate Your Research Report Instantly with AI Agent
Supercharge your innovation with Patsnap Eureka AI Agent Platform!