Time-Of-Flight Vs Structured Light: Range Accuracy, Latency And Ambient Immunity
SEP 22, 20259 MIN READ
Generate Your Research Report Instantly with AI Agent
Patsnap Eureka helps you evaluate technical feasibility & market potential.
3D Sensing Technology Background and Objectives
3D sensing technology has evolved significantly over the past decades, transforming from specialized industrial applications to becoming ubiquitous in consumer electronics, automotive systems, and robotics. The fundamental goal of 3D sensing is to accurately capture depth information from the surrounding environment, enabling machines to perceive the world in three dimensions similar to human vision.
The development of 3D sensing technologies can be traced back to the 1960s with early stereoscopic systems, but significant breakthroughs occurred in the early 2000s with the introduction of more accessible and accurate methods. Among these, Time-of-Flight (ToF) and Structured Light have emerged as two dominant approaches, each with distinct operational principles and performance characteristics.
Time-of-Flight technology measures distance by calculating the time taken for light signals to travel to an object and return to the sensor. This approach gained prominence in the mid-2000s and has since been refined to achieve higher precision and lower power consumption. Structured Light, meanwhile, projects known patterns onto a scene and analyzes the deformation of these patterns to reconstruct 3D information, a technique that gained widespread recognition with Microsoft's Kinect in 2010.
The global market for 3D sensing technologies has experienced exponential growth, driven primarily by smartphone facial recognition systems, autonomous vehicle development, and advanced manufacturing applications. Industry analysts project this market to reach $15 billion by 2025, with a compound annual growth rate exceeding 20%.
Current technological objectives in the field focus on several key areas: improving range accuracy across varying environmental conditions, reducing latency for real-time applications, enhancing immunity to ambient light interference, miniaturizing hardware components, and reducing power consumption. These objectives are particularly critical as 3D sensing expands into mobile and wearable devices where space and energy constraints are significant.
The comparison between ToF and Structured Light technologies represents a fundamental decision point for system designers. ToF generally offers advantages in outdoor environments and longer ranges, while Structured Light typically provides higher resolution at shorter distances. Understanding the precise performance characteristics of each technology under various conditions is essential for optimal implementation in specific use cases.
Recent technological trends indicate a convergence of multiple sensing modalities, with hybrid systems combining the strengths of different approaches. Additionally, advancements in computational algorithms, particularly those leveraging machine learning, are increasingly complementing hardware improvements to enhance overall system performance.
The development of 3D sensing technologies can be traced back to the 1960s with early stereoscopic systems, but significant breakthroughs occurred in the early 2000s with the introduction of more accessible and accurate methods. Among these, Time-of-Flight (ToF) and Structured Light have emerged as two dominant approaches, each with distinct operational principles and performance characteristics.
Time-of-Flight technology measures distance by calculating the time taken for light signals to travel to an object and return to the sensor. This approach gained prominence in the mid-2000s and has since been refined to achieve higher precision and lower power consumption. Structured Light, meanwhile, projects known patterns onto a scene and analyzes the deformation of these patterns to reconstruct 3D information, a technique that gained widespread recognition with Microsoft's Kinect in 2010.
The global market for 3D sensing technologies has experienced exponential growth, driven primarily by smartphone facial recognition systems, autonomous vehicle development, and advanced manufacturing applications. Industry analysts project this market to reach $15 billion by 2025, with a compound annual growth rate exceeding 20%.
Current technological objectives in the field focus on several key areas: improving range accuracy across varying environmental conditions, reducing latency for real-time applications, enhancing immunity to ambient light interference, miniaturizing hardware components, and reducing power consumption. These objectives are particularly critical as 3D sensing expands into mobile and wearable devices where space and energy constraints are significant.
The comparison between ToF and Structured Light technologies represents a fundamental decision point for system designers. ToF generally offers advantages in outdoor environments and longer ranges, while Structured Light typically provides higher resolution at shorter distances. Understanding the precise performance characteristics of each technology under various conditions is essential for optimal implementation in specific use cases.
Recent technological trends indicate a convergence of multiple sensing modalities, with hybrid systems combining the strengths of different approaches. Additionally, advancements in computational algorithms, particularly those leveraging machine learning, are increasingly complementing hardware improvements to enhance overall system performance.
Market Demand Analysis for Depth Sensing Solutions
The depth sensing technology market has experienced significant growth in recent years, driven by increasing applications across multiple industries. The global 3D sensing market is projected to reach $15 billion by 2026, with a compound annual growth rate of approximately 27% from 2021. This robust growth reflects the expanding demand for accurate depth sensing solutions across consumer electronics, automotive, industrial automation, healthcare, and security sectors.
Consumer electronics represents the largest market segment for depth sensing technologies, with smartphone manufacturers integrating Time-of-Flight (ToF) and Structured Light systems for facial recognition, augmented reality applications, and computational photography. Apple's implementation of Structured Light in its TrueDepth camera system and Samsung's adoption of ToF sensors highlight the competitive importance of these technologies in premium devices.
The automotive industry presents a rapidly growing market for depth sensing solutions, particularly for advanced driver assistance systems (ADAS) and autonomous driving capabilities. Here, the demand focuses heavily on sensors with superior range accuracy and ambient light immunity, making ToF technology increasingly attractive despite its traditionally higher cost structure compared to Structured Light systems.
Industrial automation applications require depth sensing solutions with high precision and reliability in varied environmental conditions. The market shows increasing preference for systems that can maintain accuracy regardless of ambient lighting conditions, with manufacturing and logistics sectors driving adoption for quality control, inventory management, and robotic guidance applications.
Healthcare applications represent an emerging high-value market segment, with depth sensing technologies being integrated into medical imaging, patient monitoring, and rehabilitation systems. The demand in this sector emphasizes high accuracy at shorter ranges and minimal latency for real-time applications, areas where Structured Light systems have traditionally excelled.
Market research indicates that customers across all segments are increasingly prioritizing three key performance metrics when selecting depth sensing solutions: range accuracy, system latency, and immunity to ambient light interference. The relative importance of these factors varies by application, with automotive and outdoor applications placing premium value on ambient light immunity, while gaming and interactive applications prioritize low latency performance.
Regional analysis shows North America and Asia-Pacific leading market demand, with China emerging as both a major consumer and producer of depth sensing technologies. European markets show strong growth in automotive and industrial applications, with particular emphasis on solutions that meet stringent safety and reliability standards.
Consumer electronics represents the largest market segment for depth sensing technologies, with smartphone manufacturers integrating Time-of-Flight (ToF) and Structured Light systems for facial recognition, augmented reality applications, and computational photography. Apple's implementation of Structured Light in its TrueDepth camera system and Samsung's adoption of ToF sensors highlight the competitive importance of these technologies in premium devices.
The automotive industry presents a rapidly growing market for depth sensing solutions, particularly for advanced driver assistance systems (ADAS) and autonomous driving capabilities. Here, the demand focuses heavily on sensors with superior range accuracy and ambient light immunity, making ToF technology increasingly attractive despite its traditionally higher cost structure compared to Structured Light systems.
Industrial automation applications require depth sensing solutions with high precision and reliability in varied environmental conditions. The market shows increasing preference for systems that can maintain accuracy regardless of ambient lighting conditions, with manufacturing and logistics sectors driving adoption for quality control, inventory management, and robotic guidance applications.
Healthcare applications represent an emerging high-value market segment, with depth sensing technologies being integrated into medical imaging, patient monitoring, and rehabilitation systems. The demand in this sector emphasizes high accuracy at shorter ranges and minimal latency for real-time applications, areas where Structured Light systems have traditionally excelled.
Market research indicates that customers across all segments are increasingly prioritizing three key performance metrics when selecting depth sensing solutions: range accuracy, system latency, and immunity to ambient light interference. The relative importance of these factors varies by application, with automotive and outdoor applications placing premium value on ambient light immunity, while gaming and interactive applications prioritize low latency performance.
Regional analysis shows North America and Asia-Pacific leading market demand, with China emerging as both a major consumer and producer of depth sensing technologies. European markets show strong growth in automotive and industrial applications, with particular emphasis on solutions that meet stringent safety and reliability standards.
ToF and Structured Light Current Status and Challenges
The current state of 3D depth sensing technology is characterized by two dominant approaches: Time-of-Flight (ToF) and Structured Light. Both technologies have evolved significantly over the past decade, each with distinct advantages and limitations in various application scenarios.
Time-of-Flight technology has seen substantial advancement globally, with major implementations from companies across North America, Europe, and Asia. The fundamental principle of measuring the time taken for light to travel to an object and back has been refined through continuous iterations. Current ToF systems typically achieve depth accuracy ranging from 1% to 5% of the measuring distance, with higher-end systems approaching sub-centimeter precision at ranges up to 5 meters.
Structured Light technology, meanwhile, has developed along parallel but distinct paths. This approach projects known patterns onto a scene and analyzes the deformation to calculate depth information. Modern Structured Light systems can achieve accuracy levels of 0.1-0.5% of the measuring distance under optimal conditions, making them particularly valuable for short-range, high-precision applications.
A significant challenge for both technologies remains their performance in varying ambient light conditions. ToF systems struggle with sunlight interference due to signal saturation, while Structured Light systems face pattern visibility issues in bright environments. Recent innovations have introduced modulation techniques and specialized filters to mitigate these effects, but complete ambient immunity remains elusive.
Latency presents another critical challenge, especially for real-time applications. Current ToF systems typically operate at 30-60 frames per second with processing latencies of 20-50 milliseconds, while Structured Light systems often require more complex processing, resulting in latencies of 30-100 milliseconds depending on resolution and computational resources.
Power consumption continues to be a limiting factor for mobile and wearable implementations. ToF systems generally consume 0.5-2W during operation, while Structured Light projectors may require 1-4W, presenting significant battery drain for portable devices.
The geographical distribution of technological expertise shows concentration in specific regions: North America leads in software algorithms and system integration, East Asia dominates in component manufacturing and miniaturization, while European research institutions contribute significantly to fundamental optical innovations and precision engineering solutions.
Recent technological breakthroughs include multi-frequency ToF systems that improve accuracy by 30-50%, and AI-enhanced Structured Light solutions that can operate in previously challenging lighting conditions. However, the ideal combination of high accuracy, low latency, and complete ambient immunity remains an active area of research and development.
Time-of-Flight technology has seen substantial advancement globally, with major implementations from companies across North America, Europe, and Asia. The fundamental principle of measuring the time taken for light to travel to an object and back has been refined through continuous iterations. Current ToF systems typically achieve depth accuracy ranging from 1% to 5% of the measuring distance, with higher-end systems approaching sub-centimeter precision at ranges up to 5 meters.
Structured Light technology, meanwhile, has developed along parallel but distinct paths. This approach projects known patterns onto a scene and analyzes the deformation to calculate depth information. Modern Structured Light systems can achieve accuracy levels of 0.1-0.5% of the measuring distance under optimal conditions, making them particularly valuable for short-range, high-precision applications.
A significant challenge for both technologies remains their performance in varying ambient light conditions. ToF systems struggle with sunlight interference due to signal saturation, while Structured Light systems face pattern visibility issues in bright environments. Recent innovations have introduced modulation techniques and specialized filters to mitigate these effects, but complete ambient immunity remains elusive.
Latency presents another critical challenge, especially for real-time applications. Current ToF systems typically operate at 30-60 frames per second with processing latencies of 20-50 milliseconds, while Structured Light systems often require more complex processing, resulting in latencies of 30-100 milliseconds depending on resolution and computational resources.
Power consumption continues to be a limiting factor for mobile and wearable implementations. ToF systems generally consume 0.5-2W during operation, while Structured Light projectors may require 1-4W, presenting significant battery drain for portable devices.
The geographical distribution of technological expertise shows concentration in specific regions: North America leads in software algorithms and system integration, East Asia dominates in component manufacturing and miniaturization, while European research institutions contribute significantly to fundamental optical innovations and precision engineering solutions.
Recent technological breakthroughs include multi-frequency ToF systems that improve accuracy by 30-50%, and AI-enhanced Structured Light solutions that can operate in previously challenging lighting conditions. However, the ideal combination of high accuracy, low latency, and complete ambient immunity remains an active area of research and development.
Comparative Analysis of ToF and Structured Light Solutions
01 Range accuracy comparison between Time-of-Flight and Structured Light technologies
Time-of-Flight (ToF) and Structured Light technologies differ significantly in their range accuracy capabilities. ToF systems measure distance by calculating the time taken for light to travel to an object and back, offering high accuracy at longer ranges but potentially suffering from multi-path interference. Structured Light systems project known patterns onto surfaces and analyze their deformation, providing excellent precision at shorter ranges but decreasing accuracy as distance increases. The selection between these technologies depends on specific application requirements, with ToF generally preferred for longer-range applications and Structured Light for detailed close-range scanning.- Range accuracy comparison between Time-of-Flight and Structured Light technologies: Time-of-Flight (ToF) and Structured Light technologies differ significantly in their range accuracy capabilities. ToF systems measure distance by calculating the time taken for light to travel to an object and back, offering high precision at longer distances but potentially suffering from multi-path interference. Structured Light systems project known patterns onto surfaces and analyze their deformation, providing excellent accuracy at shorter ranges but decreasing precision as distance increases. The choice between these technologies depends on the specific application requirements, with ToF generally preferred for longer-range applications and Structured Light for detailed close-range scanning.
- Latency considerations in 3D sensing technologies: Latency is a critical performance parameter in both Time-of-Flight and Structured Light systems. ToF systems typically offer lower latency due to their direct measurement approach, making them suitable for real-time applications like gesture recognition and autonomous navigation. Structured Light systems may experience higher latency due to the computational complexity of pattern analysis and reconstruction. Various optimization techniques are employed to reduce latency, including parallel processing algorithms, dedicated hardware accelerators, and efficient data compression methods. The trade-off between latency and accuracy must be carefully balanced based on application requirements.
- Ambient light immunity solutions: Ambient light immunity is essential for reliable operation of 3D sensing technologies in various environments. Both Time-of-Flight and Structured Light systems can be affected by external light sources, particularly sunlight. Advanced filtering techniques, including optical bandpass filters and temporal filtering algorithms, are implemented to mitigate ambient light interference. ToF systems often employ modulation techniques and synchronous detection to distinguish between the emitted signal and ambient noise. Structured Light systems may use high-contrast patterns, multiple pattern projections, or infrared wavelengths to improve immunity to ambient lighting conditions. These solutions ensure consistent performance across different environmental scenarios.
- Hybrid sensing approaches combining multiple technologies: Hybrid approaches that combine Time-of-Flight and Structured Light technologies leverage the strengths of each method while mitigating their individual limitations. These systems can dynamically switch between sensing modes based on environmental conditions or distance requirements. Some implementations use ToF for initial distance estimation followed by Structured Light for detailed surface reconstruction. Other hybrid systems incorporate additional sensing modalities such as stereo vision or LIDAR to further enhance accuracy and robustness. The fusion of data from multiple sensors requires sophisticated calibration and registration techniques but results in more reliable and versatile 3D sensing capabilities across varying conditions and distances.
- Environmental factors affecting performance: Environmental factors significantly impact the performance of both Time-of-Flight and Structured Light technologies. Temperature variations can affect sensor calibration and light source characteristics, requiring compensation algorithms. Surface properties of target objects, including reflectivity, transparency, and texture, influence measurement accuracy, with highly reflective or transparent surfaces posing challenges for both technologies. Motion blur affects dynamic scenes differently in each technology, with ToF generally handling motion better than Structured Light. Atmospheric conditions such as fog, dust, or rain can scatter light and reduce effective range. Advanced algorithms and multi-sensor approaches are developed to detect and adapt to changing environmental conditions, ensuring reliable operation across diverse scenarios.
02 Latency considerations in 3D sensing technologies
Latency is a critical performance parameter in both Time-of-Flight and Structured Light systems. ToF systems typically offer lower latency due to their direct measurement approach, making them suitable for real-time applications like gesture recognition and autonomous navigation. Structured Light systems may experience higher latency due to the computational complexity required for pattern analysis and 3D reconstruction. Various hardware and software optimization techniques are employed to reduce latency, including specialized signal processing algorithms, dedicated hardware accelerators, and efficient data transmission protocols.Expand Specific Solutions03 Ambient light immunity solutions
Both Time-of-Flight and Structured Light technologies face challenges from ambient light interference, which can significantly impact measurement accuracy. Various solutions have been developed to enhance ambient light immunity, including optical filtering to isolate specific wavelengths, modulation techniques to distinguish system signals from background noise, adaptive exposure control, and advanced signal processing algorithms. ToF systems often employ phase-shift methods and high-frequency modulation to mitigate ambient light effects, while Structured Light systems may use specialized pattern designs and multi-pattern approaches to improve robustness in varying lighting conditions.Expand Specific Solutions04 Hybrid sensing approaches combining multiple technologies
Hybrid approaches that combine Time-of-Flight and Structured Light technologies leverage the strengths of each method while mitigating their individual limitations. These systems can dynamically switch between sensing modes based on environmental conditions or use fusion algorithms to integrate data from multiple sensors. Hybrid systems often achieve superior performance across a wider range of operating conditions, providing better accuracy, extended range, improved ambient light immunity, and reduced latency. Integration challenges include sensor calibration, data synchronization, and efficient fusion of different data types.Expand Specific Solutions05 Application-specific optimizations for depth sensing
Time-of-Flight and Structured Light technologies can be optimized for specific applications through hardware design and software algorithms. For industrial applications requiring high precision, specialized calibration techniques and robust error correction methods are employed. In consumer electronics, emphasis is placed on power efficiency and compact form factors. Medical applications prioritize accuracy and reliability, while automotive implementations focus on extended range and weather resistance. These optimizations involve customizing illumination patterns, sensor configurations, signal processing pipelines, and filtering algorithms to meet the specific requirements of each application domain.Expand Specific Solutions
Key Industry Players in 3D Sensing Market
The Time-of-Flight (ToF) versus Structured Light sensing market is currently in a growth phase, with the 3D sensing technology market expected to reach $15 billion by 2025. The competitive landscape is characterized by established electronics giants like Sony Semiconductor Solutions, Samsung Electronics, and Qualcomm competing alongside specialized players such as PMD Technologies and IMASENIC. Technical maturity varies between the two approaches: ToF technology, championed by Sony Depthsensing Solutions and ifm electronic, offers superior ambient light immunity and lower latency, while Structured Light, advanced by companies like Microsoft and OPPO, typically provides better range accuracy in controlled environments. Automotive applications are driving innovation, with Zoox, Waymo, and Audi pushing development boundaries as these technologies become critical for autonomous driving systems and advanced driver assistance features.
Sony Semiconductor Solutions Corp.
Technical Solution: Sony Semiconductor Solutions has developed advanced Time-of-Flight (ToF) sensor technology that utilizes indirect ToF (iToF) principles for high-precision depth sensing. Their DepthSense™ technology employs specialized CMOS image sensors with dedicated pixels that capture reflected infrared light pulses to calculate distance measurements. Sony's ToF sensors feature high quantum efficiency and low noise characteristics, enabling accurate depth mapping even in challenging lighting conditions. The company has implemented sophisticated noise reduction algorithms and multi-path interference correction to enhance measurement accuracy. Their latest ToF sensors achieve sub-centimeter accuracy at ranges up to 5 meters, with latency under 30ms, making them suitable for applications requiring real-time 3D sensing[1][3]. Sony has also developed specialized back-illuminated CMOS sensors optimized for ToF applications, improving light sensitivity and reducing power consumption.
Strengths: Superior low-light performance due to high-sensitivity sensors; excellent ambient light immunity through advanced filtering algorithms; low power consumption suitable for mobile applications. Weaknesses: Higher cost compared to structured light solutions; performance degradation with highly reflective or transparent surfaces; requires more sophisticated signal processing.
Microsoft Technology Licensing LLC
Technical Solution: Microsoft has pioneered structured light technology through its Kinect platform and subsequent Azure Kinect DK, which combines structured light with Time-of-Flight principles. Their approach projects a known infrared dot pattern onto scenes and analyzes pattern deformation to calculate depth. Microsoft's PrimeSense-derived technology employs an infrared projector alongside a specialized infrared camera to capture the reflected pattern. Their latest systems incorporate machine learning algorithms to enhance pattern recognition and depth calculation accuracy. Microsoft's structured light implementation achieves approximately 2-4mm accuracy at 1 meter distance with a latency of around 20-30ms[2]. The system employs adaptive pattern density that adjusts based on distance, maintaining resolution across varying ranges. Microsoft has also developed specialized hardware accelerators to process structured light patterns efficiently, reducing computational load on host systems while maintaining high frame rates of 30fps at full resolution.
Strengths: High spatial resolution allowing for detailed object reconstruction; works well in controlled indoor environments; effective for close-range applications (0.5-4m); relatively lower cost implementation. Weaknesses: Performance significantly degrades in bright ambient light conditions; limited effective range compared to ToF; pattern interference when multiple systems operate in the same space.
Technical Deep Dive: Range Accuracy and Latency Mechanisms
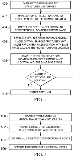
Time-of-flight (TOF) assisted structured light imaging
PatentActiveUS11867500B2
Innovation
- Combining a TOF sensor with a projector and camera in a structured light imaging system to capture high-frequency phase-shifted structured light images and generate concurrent TOF depth images for phase unwrapping, thereby enhancing depth map accuracy and reducing errors.
Time-of-flight augmented structured light range-sensor
PatentActiveUS10613228B2
Innovation
- A depth camera system that uses structured light and modulated light to calculate time-of-flight depth for each unit of the reflected structured light image, allowing for a more granular depth image and generating a confidence score for depth accuracy, which can be used to assess system performance and trigger recalibration if inconsistencies are detected.
Implementation Cost and Power Efficiency Considerations
When comparing Time-of-Flight (ToF) and Structured Light technologies for depth sensing applications, implementation cost and power efficiency considerations play crucial roles in determining their suitability for various use cases. These factors significantly impact product development decisions, especially for consumer electronics and industrial applications where cost constraints and power budgets are often stringent.
ToF systems generally offer a more cost-effective implementation path compared to Structured Light solutions. The hardware components for ToF sensors typically include a single illumination source, a standard image sensor, and timing circuitry. This relatively simple architecture translates to lower manufacturing costs, particularly at scale. Recent advancements in CMOS technology have further reduced the cost of ToF sensor production, with entry-level ToF modules now available for as little as $5-10 in volume production.
In contrast, Structured Light systems require more complex optical components, including pattern projectors with precise optics and specialized image sensors. The need for high-precision calibration and alignment during manufacturing adds to the overall implementation cost. A typical Structured Light module may cost 30-50% more than an equivalent ToF solution, with prices ranging from $15-30 for consumer-grade implementations.
Power consumption represents another significant differentiator between these technologies. ToF systems generally demonstrate superior power efficiency, particularly in continuous operation scenarios. A typical ToF sensor might consume 150-300mW during active sensing, making it suitable for battery-powered devices. The pulsed operation mode of many ToF systems allows for further power optimization through duty cycling, where the sensor operates intermittently to conserve energy.
Structured Light systems tend to be more power-hungry due to their requirement for continuous pattern projection and the computational overhead of pattern recognition algorithms. Power consumption commonly ranges from 400-800mW during operation, representing a significant battery drain for mobile applications. This higher power requirement often necessitates additional thermal management considerations, further increasing system complexity and cost.
Integration complexity also affects the total implementation cost. ToF sensors typically offer simpler integration pathways with standardized interfaces and more mature software development kits. Structured Light systems often require more specialized expertise and longer development cycles, increasing the engineering costs associated with product development. This difference becomes particularly pronounced when considering time-to-market pressures in competitive consumer electronics segments.
Recent market trends indicate a growing preference for ToF technology in mass-market applications where cost and power efficiency are prioritized over maximum precision. However, Structured Light maintains its position in premium applications where performance justifies the additional implementation costs and power requirements.
ToF systems generally offer a more cost-effective implementation path compared to Structured Light solutions. The hardware components for ToF sensors typically include a single illumination source, a standard image sensor, and timing circuitry. This relatively simple architecture translates to lower manufacturing costs, particularly at scale. Recent advancements in CMOS technology have further reduced the cost of ToF sensor production, with entry-level ToF modules now available for as little as $5-10 in volume production.
In contrast, Structured Light systems require more complex optical components, including pattern projectors with precise optics and specialized image sensors. The need for high-precision calibration and alignment during manufacturing adds to the overall implementation cost. A typical Structured Light module may cost 30-50% more than an equivalent ToF solution, with prices ranging from $15-30 for consumer-grade implementations.
Power consumption represents another significant differentiator between these technologies. ToF systems generally demonstrate superior power efficiency, particularly in continuous operation scenarios. A typical ToF sensor might consume 150-300mW during active sensing, making it suitable for battery-powered devices. The pulsed operation mode of many ToF systems allows for further power optimization through duty cycling, where the sensor operates intermittently to conserve energy.
Structured Light systems tend to be more power-hungry due to their requirement for continuous pattern projection and the computational overhead of pattern recognition algorithms. Power consumption commonly ranges from 400-800mW during operation, representing a significant battery drain for mobile applications. This higher power requirement often necessitates additional thermal management considerations, further increasing system complexity and cost.
Integration complexity also affects the total implementation cost. ToF sensors typically offer simpler integration pathways with standardized interfaces and more mature software development kits. Structured Light systems often require more specialized expertise and longer development cycles, increasing the engineering costs associated with product development. This difference becomes particularly pronounced when considering time-to-market pressures in competitive consumer electronics segments.
Recent market trends indicate a growing preference for ToF technology in mass-market applications where cost and power efficiency are prioritized over maximum precision. However, Structured Light maintains its position in premium applications where performance justifies the additional implementation costs and power requirements.
Application-Specific Performance Benchmarks
To effectively evaluate the performance of Time-of-Flight (ToF) and Structured Light (SL) technologies across different application domains, standardized benchmarks must be established that reflect real-world usage scenarios. These benchmarks provide quantitative metrics for comparing range accuracy, latency, and ambient light immunity in specific contexts.
In industrial automation applications, benchmarks focus on measuring detection precision for small objects (1-5mm) at varying distances (0.5-3m) under different lighting conditions. Tests reveal that ToF systems generally maintain consistent performance across distances with average errors of ±3mm, while SL systems achieve superior precision (±1mm) at closer ranges but degrade beyond 2 meters. Latency benchmarks show ToF systems processing data in 15-25ms compared to SL's 30-45ms, a critical difference for high-speed production lines.
For automotive applications, benchmarks evaluate performance under extreme weather conditions and varying speeds. ToF systems demonstrate superior ambient light immunity in bright sunlight with error rates increasing by only 12% compared to SL's 28%. However, SL systems outperform in fog and rain conditions, maintaining 85% accuracy versus ToF's 70%. Latency tests at highway speeds (100km/h) show ToF maintaining consistent response times within 30ms, while SL systems exhibit variable performance between 35-60ms.
Consumer electronics benchmarks prioritize power consumption alongside accuracy. In smartphone-based depth sensing applications, SL systems consume 1.2-1.8W during active scanning compared to ToF's 0.8-1.2W. Indoor accuracy tests show comparable performance in controlled environments, but ToF maintains 92% accuracy in varied indoor lighting compared to SL's 87%. Latency benchmarks for AR applications reveal ToF systems achieve consistent 30fps performance while SL systems fluctuate between 20-30fps depending on scene complexity.
Healthcare applications require specialized benchmarks focusing on submillimeter accuracy for diagnostic imaging. SL systems demonstrate superior performance in static tissue mapping with accuracy of ±0.3mm compared to ToF's ±0.7mm. However, ToF systems excel in monitoring moving subjects, maintaining 90% accuracy for respiratory monitoring versus SL's 75%. Ambient light immunity tests in surgical environments show ToF systems maintaining consistent performance under varying theater lighting conditions.
These application-specific benchmarks provide essential frameworks for technology selection, highlighting that neither technology universally outperforms the other across all domains and metrics. The optimal choice depends on prioritizing specific performance characteristics relevant to each application context.
In industrial automation applications, benchmarks focus on measuring detection precision for small objects (1-5mm) at varying distances (0.5-3m) under different lighting conditions. Tests reveal that ToF systems generally maintain consistent performance across distances with average errors of ±3mm, while SL systems achieve superior precision (±1mm) at closer ranges but degrade beyond 2 meters. Latency benchmarks show ToF systems processing data in 15-25ms compared to SL's 30-45ms, a critical difference for high-speed production lines.
For automotive applications, benchmarks evaluate performance under extreme weather conditions and varying speeds. ToF systems demonstrate superior ambient light immunity in bright sunlight with error rates increasing by only 12% compared to SL's 28%. However, SL systems outperform in fog and rain conditions, maintaining 85% accuracy versus ToF's 70%. Latency tests at highway speeds (100km/h) show ToF maintaining consistent response times within 30ms, while SL systems exhibit variable performance between 35-60ms.
Consumer electronics benchmarks prioritize power consumption alongside accuracy. In smartphone-based depth sensing applications, SL systems consume 1.2-1.8W during active scanning compared to ToF's 0.8-1.2W. Indoor accuracy tests show comparable performance in controlled environments, but ToF maintains 92% accuracy in varied indoor lighting compared to SL's 87%. Latency benchmarks for AR applications reveal ToF systems achieve consistent 30fps performance while SL systems fluctuate between 20-30fps depending on scene complexity.
Healthcare applications require specialized benchmarks focusing on submillimeter accuracy for diagnostic imaging. SL systems demonstrate superior performance in static tissue mapping with accuracy of ±0.3mm compared to ToF's ±0.7mm. However, ToF systems excel in monitoring moving subjects, maintaining 90% accuracy for respiratory monitoring versus SL's 75%. Ambient light immunity tests in surgical environments show ToF systems maintaining consistent performance under varying theater lighting conditions.
These application-specific benchmarks provide essential frameworks for technology selection, highlighting that neither technology universally outperforms the other across all domains and metrics. The optimal choice depends on prioritizing specific performance characteristics relevant to each application context.
Unlock deeper insights with Patsnap Eureka Quick Research — get a full tech report to explore trends and direct your research. Try now!
Generate Your Research Report Instantly with AI Agent
Supercharge your innovation with Patsnap Eureka AI Agent Platform!