Time-Of-Flight Optics: FOV, Vignetting And Stray Light Suppression
SEP 22, 20259 MIN READ
Generate Your Research Report Instantly with AI Agent
Patsnap Eureka helps you evaluate technical feasibility & market potential.
TOF Optics Background and Objectives
Time-of-Flight (ToF) technology has evolved significantly over the past two decades, transforming from a niche sensing method into a mainstream solution for depth perception across multiple industries. The fundamental principle of ToF involves measuring the time taken for light to travel from a source to an object and back to a sensor, enabling precise distance calculations. This technology has roots in military and aerospace applications dating back to the 1970s, but has only become commercially viable for consumer applications in the last decade due to advancements in semiconductor manufacturing and optical engineering.
The evolution of ToF systems has been marked by continuous improvements in resolution, accuracy, and power efficiency. Early systems suffered from limited range, poor resolution, and high power consumption, making them impractical for most commercial applications. Modern ToF cameras, however, can achieve millimeter-level accuracy at ranges up to several meters while consuming minimal power, enabling their integration into mobile devices, autonomous vehicles, and industrial automation systems.
Current technological trends in ToF optics focus on expanding the field of view (FOV) while maintaining accuracy and minimizing optical artifacts. Traditional ToF systems typically offered narrow FOVs of 30-60 degrees, limiting their application scenarios. The industry is now pushing toward wider FOVs of 90 degrees or more to enable more comprehensive environmental sensing, particularly for applications like augmented reality and autonomous navigation.
The primary objectives in ToF optical design center around three critical challenges: optimizing field of view (FOV), minimizing vignetting effects, and effectively suppressing stray light. Expanding FOV enables broader spatial coverage but introduces challenges in maintaining uniform illumination and detection across the entire field. Vignetting—the reduction in brightness at the periphery of images—significantly impacts depth measurement accuracy in wide-angle ToF systems.
Stray light suppression represents perhaps the most complex challenge in ToF optical design. Unwanted light reflections within the optical system can create false signals that corrupt depth measurements. This issue becomes increasingly problematic as systems are miniaturized for consumer applications, where space constraints limit optical isolation techniques.
The technical goals for next-generation ToF optical systems include achieving FOVs exceeding 120 degrees while maintaining sub-centimeter accuracy, reducing vignetting effects to less than 5% across the entire field, and implementing advanced stray light suppression techniques that can function effectively in diverse environmental conditions. These advancements will be crucial for enabling ToF technology in emerging applications such as wearable AR devices, advanced driver assistance systems, and next-generation robotics.
The evolution of ToF systems has been marked by continuous improvements in resolution, accuracy, and power efficiency. Early systems suffered from limited range, poor resolution, and high power consumption, making them impractical for most commercial applications. Modern ToF cameras, however, can achieve millimeter-level accuracy at ranges up to several meters while consuming minimal power, enabling their integration into mobile devices, autonomous vehicles, and industrial automation systems.
Current technological trends in ToF optics focus on expanding the field of view (FOV) while maintaining accuracy and minimizing optical artifacts. Traditional ToF systems typically offered narrow FOVs of 30-60 degrees, limiting their application scenarios. The industry is now pushing toward wider FOVs of 90 degrees or more to enable more comprehensive environmental sensing, particularly for applications like augmented reality and autonomous navigation.
The primary objectives in ToF optical design center around three critical challenges: optimizing field of view (FOV), minimizing vignetting effects, and effectively suppressing stray light. Expanding FOV enables broader spatial coverage but introduces challenges in maintaining uniform illumination and detection across the entire field. Vignetting—the reduction in brightness at the periphery of images—significantly impacts depth measurement accuracy in wide-angle ToF systems.
Stray light suppression represents perhaps the most complex challenge in ToF optical design. Unwanted light reflections within the optical system can create false signals that corrupt depth measurements. This issue becomes increasingly problematic as systems are miniaturized for consumer applications, where space constraints limit optical isolation techniques.
The technical goals for next-generation ToF optical systems include achieving FOVs exceeding 120 degrees while maintaining sub-centimeter accuracy, reducing vignetting effects to less than 5% across the entire field, and implementing advanced stray light suppression techniques that can function effectively in diverse environmental conditions. These advancements will be crucial for enabling ToF technology in emerging applications such as wearable AR devices, advanced driver assistance systems, and next-generation robotics.
Market Applications for TOF Sensing Technology
Time-of-Flight (ToF) sensing technology has rapidly expanded into diverse market applications due to its ability to provide accurate depth information and 3D mapping capabilities. The automotive sector represents one of the largest markets for ToF technology, with applications in advanced driver assistance systems (ADAS), autonomous driving, and in-cabin monitoring. ToF sensors enable precise object detection, distance measurement, and gesture recognition, enhancing vehicle safety and user experience.
In consumer electronics, ToF sensors have become integral components in smartphones and tablets, powering facial recognition systems, augmented reality applications, and camera autofocus functions. Major smartphone manufacturers have incorporated ToF technology to improve photography capabilities and enable immersive AR experiences. The gaming industry has also embraced ToF sensors for motion tracking and interactive gameplay, creating more intuitive user interfaces.
Industrial automation represents another significant market for ToF technology. In manufacturing environments, ToF sensors facilitate precise object detection, dimensional measurement, and robotic guidance. These capabilities enhance production efficiency, quality control, and workplace safety by enabling machines to accurately perceive their surroundings and interact with objects.
The healthcare sector has found valuable applications for ToF sensing in patient monitoring, touchless interfaces in surgical environments, and rehabilitation systems. ToF sensors can track patient movements, monitor vital signs, and enable gesture-controlled medical equipment, reducing contamination risks in sterile environments.
Smart home and building automation systems increasingly utilize ToF sensors for occupancy detection, security monitoring, and environmental control. The technology enables precise people counting, intrusion detection, and automated lighting or HVAC adjustments based on occupant presence and activity.
Retail environments have adopted ToF technology for customer analytics, inventory management, and interactive displays. The sensors can track customer movements, analyze shopping patterns, and create engaging interactive experiences that respond to customer gestures and movements.
The logistics and warehousing sector employs ToF sensors for volume measurement, object classification, and automated sorting systems. These applications improve operational efficiency by enabling precise dimensional measurements and facilitating automated handling of packages and materials.
As ToF technology continues to mature, addressing challenges in field of view optimization, vignetting reduction, and stray light suppression will be crucial for expanding into new market applications and improving performance in existing ones. The global market for ToF sensors is projected to grow substantially as these technical challenges are overcome and new use cases emerge across industries.
In consumer electronics, ToF sensors have become integral components in smartphones and tablets, powering facial recognition systems, augmented reality applications, and camera autofocus functions. Major smartphone manufacturers have incorporated ToF technology to improve photography capabilities and enable immersive AR experiences. The gaming industry has also embraced ToF sensors for motion tracking and interactive gameplay, creating more intuitive user interfaces.
Industrial automation represents another significant market for ToF technology. In manufacturing environments, ToF sensors facilitate precise object detection, dimensional measurement, and robotic guidance. These capabilities enhance production efficiency, quality control, and workplace safety by enabling machines to accurately perceive their surroundings and interact with objects.
The healthcare sector has found valuable applications for ToF sensing in patient monitoring, touchless interfaces in surgical environments, and rehabilitation systems. ToF sensors can track patient movements, monitor vital signs, and enable gesture-controlled medical equipment, reducing contamination risks in sterile environments.
Smart home and building automation systems increasingly utilize ToF sensors for occupancy detection, security monitoring, and environmental control. The technology enables precise people counting, intrusion detection, and automated lighting or HVAC adjustments based on occupant presence and activity.
Retail environments have adopted ToF technology for customer analytics, inventory management, and interactive displays. The sensors can track customer movements, analyze shopping patterns, and create engaging interactive experiences that respond to customer gestures and movements.
The logistics and warehousing sector employs ToF sensors for volume measurement, object classification, and automated sorting systems. These applications improve operational efficiency by enabling precise dimensional measurements and facilitating automated handling of packages and materials.
As ToF technology continues to mature, addressing challenges in field of view optimization, vignetting reduction, and stray light suppression will be crucial for expanding into new market applications and improving performance in existing ones. The global market for ToF sensors is projected to grow substantially as these technical challenges are overcome and new use cases emerge across industries.
Current TOF Optical Challenges and Limitations
Time-of-Flight (ToF) optical systems face several significant challenges that limit their performance in various applications. The field of view (FOV) constraints represent a primary limitation, as current ToF sensors typically offer a narrower FOV compared to conventional imaging systems. This restriction hampers their effectiveness in applications requiring wide-area coverage, such as autonomous vehicles and advanced robotics, where comprehensive environmental awareness is crucial.
Vignetting presents another substantial challenge, manifesting as a gradual reduction in light intensity from the center to the edges of the image. In ToF systems, this phenomenon is particularly problematic as it directly impacts depth measurement accuracy. The non-uniform illumination caused by vignetting results in degraded depth precision at the periphery of the sensing area, creating inconsistent performance across the field of view.
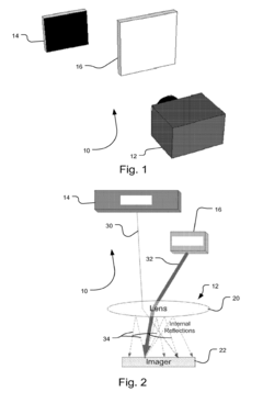
Stray light suppression remains one of the most complex technical hurdles in ToF optical design. Unwanted light reflections and scattering within the optical path can significantly corrupt depth measurements by introducing false signals. This issue becomes particularly acute in high-contrast environments or scenes with highly reflective surfaces, where stray light can cause substantial measurement errors and "flying pixels" at object boundaries.
The miniaturization trend in consumer electronics has further exacerbated these challenges. As ToF systems are increasingly integrated into compact devices like smartphones and wearables, designers must balance optical performance against severe space constraints. This often leads to compromises in optical design that amplify the aforementioned issues.
Temperature sensitivity represents another critical limitation, as optical components in ToF systems can experience thermal expansion and contraction, altering their precise alignment and focal properties. These thermal effects can introduce systematic errors in depth measurements, particularly in environments with fluctuating temperatures or during extended operation periods.
Manufacturing tolerances and alignment precision also pose significant challenges. The performance of ToF optical systems is highly dependent on precise component positioning, with even minor deviations potentially causing substantial measurement errors. Current production techniques struggle to consistently achieve the required precision at scale, especially for mass-market applications.
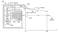
Cross-talk between pixels in the sensor array further complicates ToF optical design. This interference occurs when light intended for one pixel affects neighboring pixels, blurring depth boundaries and reducing overall measurement accuracy. Advanced optical isolation techniques are required but remain difficult to implement effectively in compact designs.
AI/ML Camera: Time-of-Flight Optics: FOV, Vignetting And Stray Light Suppression
Vignetting presents another substantial challenge, manifesting as a gradual reduction in light intensity from the center to the edges of the image. In ToF systems, this phenomenon is particularly problematic as it directly impacts depth measurement accuracy. The non-uniform illumination caused by vignetting results in degraded depth precision at the periphery of the sensing area, creating inconsistent performance across the field of view.
Stray light suppression remains one of the most complex technical hurdles in ToF optical design. Unwanted light reflections and scattering within the optical path can significantly corrupt depth measurements by introducing false signals. This issue becomes particularly acute in high-contrast environments or scenes with highly reflective surfaces, where stray light can cause substantial measurement errors and "flying pixels" at object boundaries.
The miniaturization trend in consumer electronics has further exacerbated these challenges. As ToF systems are increasingly integrated into compact devices like smartphones and wearables, designers must balance optical performance against severe space constraints. This often leads to compromises in optical design that amplify the aforementioned issues.
Temperature sensitivity represents another critical limitation, as optical components in ToF systems can experience thermal expansion and contraction, altering their precise alignment and focal properties. These thermal effects can introduce systematic errors in depth measurements, particularly in environments with fluctuating temperatures or during extended operation periods.
Manufacturing tolerances and alignment precision also pose significant challenges. The performance of ToF optical systems is highly dependent on precise component positioning, with even minor deviations potentially causing substantial measurement errors. Current production techniques struggle to consistently achieve the required precision at scale, especially for mass-market applications.
Cross-talk between pixels in the sensor array further complicates ToF optical design. This interference occurs when light intended for one pixel affects neighboring pixels, blurring depth boundaries and reducing overall measurement accuracy. Advanced optical isolation techniques are required but remain difficult to implement effectively in compact designs.
AI/ML Camera: Time-of-Flight Optics: FOV, Vignetting And Stray Light Suppression
Current FOV and Vignetting Mitigation Approaches
01 Optical design for wide field of view in ToF systems
Time-of-Flight (ToF) systems can be designed with specialized optics to achieve wider field of view (FOV) while maintaining imaging quality. These designs often incorporate multiple optical elements arranged to maximize the angular coverage while minimizing distortion at the edges of the field. Wide FOV optics enable ToF sensors to capture larger scenes in a single measurement, which is particularly valuable in applications like autonomous driving, robotics, and room-scale sensing.- Optical design for wide field of view in ToF systems: Time-of-Flight (ToF) systems can be designed with specialized optics to achieve wider fields of view (FOV) while maintaining imaging quality. These designs often incorporate multiple optical elements including lenses with specific curvatures and arrangements to maximize the angular coverage. Wide FOV designs must balance the trade-off between coverage area and resolution, often requiring custom lens configurations that minimize distortion at the edges of the field.
- Vignetting reduction techniques in ToF camera systems: Vignetting, which causes darkening at the periphery of images, can be mitigated in ToF systems through specialized optical designs. These include optimized lens arrangements, aperture sizing, and sensor positioning to ensure uniform light distribution across the entire field of view. Anti-vignetting techniques may involve graduated optical coatings, compensating algorithms, or mechanical designs that prevent light falloff at the edges of the image. These approaches help maintain consistent depth measurement accuracy across the entire scene.
- Stray light suppression methods for ToF accuracy: Stray light can significantly degrade ToF measurement accuracy by creating false signals and reducing contrast. Suppression methods include specialized baffles, light traps, anti-reflective coatings, and optical isolation techniques. Some designs incorporate physical barriers or light-absorbing materials strategically placed within the optical path to capture unwanted reflections. Advanced systems may use computational methods to identify and remove stray light artifacts from the final measurements, improving the signal-to-noise ratio.
- Integrated optical filters for ambient light rejection: ToF systems often incorporate specialized optical filters to reject ambient light while allowing the specific wavelengths used by the ToF illumination source to pass through. These filters can include bandpass filters, notch filters, or interference filters that are precisely tuned to the operating wavelength of the system. By blocking unwanted ambient light, these filters improve the signal-to-noise ratio and prevent saturation of the sensor, enabling more accurate depth measurements even in challenging lighting conditions.
- Compact optical designs for miniaturized ToF modules: As ToF technology is increasingly integrated into smaller devices, compact optical designs have been developed to minimize the overall footprint while maintaining performance. These designs may use folded optics, aspherical lenses, diffractive optical elements, or wafer-level optics to reduce the size. Miniaturized ToF modules often require innovative approaches to thermal management and mechanical stability to ensure consistent performance despite the reduced dimensions. These compact designs enable integration into mobile devices, wearables, and other space-constrained applications.
02 Vignetting compensation techniques in ToF camera systems
Vignetting, which causes brightness reduction at the periphery of images, is addressed in ToF systems through both optical and algorithmic solutions. Optical designs may include specialized lens arrangements and aperture configurations to minimize light falloff at image edges. Additionally, computational methods can be implemented to correct for vignetting effects by applying calibrated compensation factors across the field of view, ensuring uniform sensitivity and accurate depth measurements throughout the entire image.Expand Specific Solutions03 Stray light suppression mechanisms for ToF sensors
Stray light can significantly degrade ToF measurement accuracy by introducing noise and false signals. Suppression techniques include physical baffles, light traps, and specialized coatings that absorb unwanted light. Advanced designs incorporate optical isolators, spectral filters, and structured light patterns that help distinguish between intended signal returns and stray light artifacts. These mechanisms are crucial for maintaining measurement precision, especially in challenging environments with multiple reflective surfaces or ambient light interference.Expand Specific Solutions04 Integrated optical solutions for ToF performance optimization
Comprehensive optical designs for ToF systems integrate multiple performance-enhancing features into unified solutions. These designs balance FOV requirements, vignetting reduction, and stray light suppression simultaneously. Approaches include multi-element lens assemblies with specialized coatings, diffractive optical elements, and hybrid refractive-reflective systems. Such integrated solutions optimize overall ToF performance while maintaining practical constraints on size, weight, and manufacturing complexity.Expand Specific Solutions05 Novel materials and manufacturing techniques for ToF optics
Advanced materials and fabrication methods are enabling new capabilities in ToF optical systems. These include gradient-index materials, precision molded aspheric lenses, diffractive optical elements, and meta-surfaces that can manipulate light in ways traditional optics cannot. Novel manufacturing techniques allow for more complex optical geometries that better control light paths, reducing stray light while expanding FOV. These innovations help overcome traditional design constraints, enabling smaller form factors with improved performance characteristics.Expand Specific Solutions
Leading TOF Technology Manufacturers and Suppliers
Time-of-Flight (ToF) optics technology is currently in a growth phase, with the market expected to expand significantly due to increasing applications in smartphones, automotive ADAS, AR/VR, and industrial automation. The global ToF sensor market is projected to reach $6-8 billion by 2026, growing at a CAGR of approximately 15%. Technologically, the field is advancing rapidly but still faces challenges in field-of-view optimization, vignetting reduction, and stray light suppression. Leading players include Sony Semiconductor Solutions, which dominates with advanced sensor technologies; Apple incorporating ToF in their devices; ams-OSRAM developing specialized optical components; and emerging competitors like Opnous (Shanghai Juyou) and PMD Technologies. Academic institutions like Stanford University and Cornell University are contributing fundamental research, while companies like XenomatiX and ifm electronic are focusing on specialized industrial and automotive applications.
Sony Semiconductor Solutions Corp.
Technical Solution: Sony Semiconductor Solutions has developed advanced Time-of-Flight (ToF) optical systems featuring wide field-of-view (FOV) capabilities up to 120 degrees, utilizing proprietary lens designs and sensor technologies. Their IMX556PLR back-illuminated ToF sensor incorporates specialized micro-lens arrays that maximize light collection efficiency while maintaining wide angular coverage. Sony's approach to vignetting reduction includes optimized optical path designs and sensor-level compensation algorithms that adjust for light fall-off at the periphery of the image. For stray light suppression, Sony implements multi-layer optical filtering technologies combined with their DepthSense™ technology that uses advanced temporal coding patterns to distinguish between direct reflections and multi-path interference. Their systems employ specialized NIR bandpass filters with steep cut-off characteristics to minimize ambient light interference while maximizing signal-to-noise ratio in the sensor's operating wavelength.
Strengths: Industry-leading sensor technology with high quantum efficiency and excellent low-light performance; comprehensive integration of hardware and software solutions for stray light management. Weaknesses: Higher cost compared to competitors; proprietary systems may limit compatibility with third-party components.
ams-OSRAM Asia Pacific Pte Ltd.
Technical Solution: ams-OSRAM has pioneered specialized optical solutions for ToF systems focusing on the critical challenges of FOV optimization, vignetting control, and stray light suppression. Their VCSEL (Vertical-Cavity Surface-Emitting Laser) illumination modules feature custom diffuser technologies that provide uniform illumination across wide fields of view up to 110°. To address vignetting issues, ams-OSRAM implements proprietary lens designs with optimized transmittance profiles that compensate for natural light fall-off at wider angles. Their stray light suppression technology incorporates specialized optical coatings that minimize internal reflections while maintaining high transmission efficiency at the target wavelength (typically 850nm or 940nm). The company's integrated approach combines illumination source, optical path design, and sensor-specific optimizations to create complete ToF modules with enhanced performance characteristics. Their latest designs incorporate multi-zone illumination patterns that dynamically adjust based on scene characteristics to maintain optimal signal-to-noise ratios across the entire field of view.
Strengths: Vertical integration of illumination and optical components provides highly optimized systems; specialized expertise in VCSEL technology offers excellent illumination control. Weaknesses: Less experience in sensor development compared to pure sensor manufacturers; solutions may require more complex integration with third-party sensors.
Key Patents in Stray Light Suppression for TOF
Stray light compensation method and system for time of flight camera systems
PatentActiveUS9885785B2
Innovation
- The use of reference targets with different reflectivities to estimate and compensate for stray light by measuring phase changes, allowing for accurate range correction in TOF camera systems, including the implementation of a single highly absorbing or highly reflective target to determine stray light impact and correct range measurements.
Method and system to reduce stray light reflection error in time-of-flight sensor arrays
PatentActiveUS8675182B2
Innovation
- Mechanical and software-based solutions are implemented to reduce stray light reflections, including coating the IC surface with black ink to reduce reflectivity, using anti-reflective coatings in the optical path, and applying correction signals based on measured haze responses to pixel arrays during operation.
Optical Materials Advancement for TOF Systems
The advancement of optical materials represents a critical frontier in Time-of-Flight (TOF) system development, particularly when addressing challenges related to field of view (FOV), vignetting, and stray light suppression. Recent innovations in material science have yielded specialized glass compositions and polymers that demonstrate superior transmission properties in the near-infrared spectrum (850-940nm), where most TOF systems operate.
Silicon-based optical materials have emerged as frontrunners due to their exceptional transparency in NIR wavelengths and thermal stability across operating temperature ranges. These materials exhibit minimal thermal expansion coefficients, reducing focus shifts during temperature fluctuations that commonly plague TOF systems in automotive and outdoor applications.
Anti-reflective (AR) coating technologies have evolved significantly, with multi-layer dielectric coatings now capable of reducing surface reflections to less than 0.2% at target wavelengths. This advancement directly addresses stray light issues that historically compromised TOF measurement accuracy. Novel nano-structured AR coatings provide the additional benefit of maintaining performance across wider incident angles, supporting expanded FOV requirements in modern TOF applications.
Gradient-index (GRIN) optical materials represent another breakthrough, allowing for controlled light propagation through materials with spatially varying refractive indices. These materials enable more compact optical designs while maintaining wide FOV performance and reducing vignetting effects at the sensor edges. The manufacturing processes for GRIN materials have matured significantly, transitioning from laboratory curiosities to commercially viable options for high-volume TOF applications.
Diffractive optical elements (DOEs) fabricated from advanced polymers and hybrid glass-polymer composites offer precise control over illumination patterns, critical for optimizing TOF system performance. These materials can be engineered to create custom light distribution patterns that compensate for natural vignetting effects while minimizing stray light through controlled beam shaping.
Hydrophobic and oleophobic surface treatments have become standard in outdoor TOF applications, maintaining optical performance in challenging environmental conditions. These treatments, often incorporating fluoropolymer technologies, prevent water droplets and contaminants from adhering to optical surfaces, which would otherwise create unpredictable light scattering and compromise measurement accuracy.
The integration of quantum dot technologies into optical filters has enabled narrower bandpass characteristics, dramatically improving signal-to-noise ratios by rejecting ambient light outside the specific TOF laser wavelength. This advancement has been particularly valuable in outdoor applications where solar radiation presents significant challenges to accurate depth sensing.
Silicon-based optical materials have emerged as frontrunners due to their exceptional transparency in NIR wavelengths and thermal stability across operating temperature ranges. These materials exhibit minimal thermal expansion coefficients, reducing focus shifts during temperature fluctuations that commonly plague TOF systems in automotive and outdoor applications.
Anti-reflective (AR) coating technologies have evolved significantly, with multi-layer dielectric coatings now capable of reducing surface reflections to less than 0.2% at target wavelengths. This advancement directly addresses stray light issues that historically compromised TOF measurement accuracy. Novel nano-structured AR coatings provide the additional benefit of maintaining performance across wider incident angles, supporting expanded FOV requirements in modern TOF applications.
Gradient-index (GRIN) optical materials represent another breakthrough, allowing for controlled light propagation through materials with spatially varying refractive indices. These materials enable more compact optical designs while maintaining wide FOV performance and reducing vignetting effects at the sensor edges. The manufacturing processes for GRIN materials have matured significantly, transitioning from laboratory curiosities to commercially viable options for high-volume TOF applications.
Diffractive optical elements (DOEs) fabricated from advanced polymers and hybrid glass-polymer composites offer precise control over illumination patterns, critical for optimizing TOF system performance. These materials can be engineered to create custom light distribution patterns that compensate for natural vignetting effects while minimizing stray light through controlled beam shaping.
Hydrophobic and oleophobic surface treatments have become standard in outdoor TOF applications, maintaining optical performance in challenging environmental conditions. These treatments, often incorporating fluoropolymer technologies, prevent water droplets and contaminants from adhering to optical surfaces, which would otherwise create unpredictable light scattering and compromise measurement accuracy.
The integration of quantum dot technologies into optical filters has enabled narrower bandpass characteristics, dramatically improving signal-to-noise ratios by rejecting ambient light outside the specific TOF laser wavelength. This advancement has been particularly valuable in outdoor applications where solar radiation presents significant challenges to accurate depth sensing.
Integration Challenges with Consumer Electronics
The integration of Time-of-Flight (ToF) optical systems into consumer electronics presents significant engineering challenges that require careful consideration during product development. Modern consumer devices demand increasingly compact form factors while maintaining high performance standards, creating inherent tensions in ToF sensor integration.
Physical space constraints represent the primary obstacle, as consumer electronics manufacturers continuously strive to reduce device thickness and weight. ToF systems require specific optical path lengths to function effectively, with wider Field of View (FOV) implementations typically demanding more internal space. This fundamental conflict necessitates innovative optical designs that can maintain performance within severely restricted dimensions.
Thermal management presents another critical challenge, as consumer devices lack the robust cooling systems found in industrial applications. ToF sensors and their associated illumination sources generate heat during operation, which can affect both sensor performance and user comfort. Engineers must develop thermal dissipation strategies that protect sensitive optical components while maintaining acceptable external device temperatures.
Power consumption constraints further complicate integration efforts. Consumer devices operate on limited battery capacity, whereas ToF systems—particularly those with active illumination—can be power-intensive. Balancing the power requirements of ToF systems against battery life expectations requires sophisticated power management techniques and potentially compromises in operational parameters such as sampling frequency or illumination intensity.
Manufacturing considerations also impact integration feasibility. Consumer electronics are produced at massive scales with stringent cost targets, necessitating ToF optical systems that can be reliably mass-produced with minimal calibration requirements. Vignetting and stray light suppression mechanisms must be designed for automated assembly processes rather than manual adjustment.
Environmental robustness presents additional challenges, as consumer devices must function across diverse lighting conditions and physical environments. Stray light suppression becomes particularly challenging when devices operate in unpredictable ambient lighting, requiring adaptive optical solutions that maintain performance across varying conditions.
Aesthetic requirements further constrain design options, as visible optical components must align with overall product design language. This often limits the placement, size, and appearance of ToF optical elements, potentially compromising optimal technical positioning for visual coherence.
Physical space constraints represent the primary obstacle, as consumer electronics manufacturers continuously strive to reduce device thickness and weight. ToF systems require specific optical path lengths to function effectively, with wider Field of View (FOV) implementations typically demanding more internal space. This fundamental conflict necessitates innovative optical designs that can maintain performance within severely restricted dimensions.
Thermal management presents another critical challenge, as consumer devices lack the robust cooling systems found in industrial applications. ToF sensors and their associated illumination sources generate heat during operation, which can affect both sensor performance and user comfort. Engineers must develop thermal dissipation strategies that protect sensitive optical components while maintaining acceptable external device temperatures.
Power consumption constraints further complicate integration efforts. Consumer devices operate on limited battery capacity, whereas ToF systems—particularly those with active illumination—can be power-intensive. Balancing the power requirements of ToF systems against battery life expectations requires sophisticated power management techniques and potentially compromises in operational parameters such as sampling frequency or illumination intensity.
Manufacturing considerations also impact integration feasibility. Consumer electronics are produced at massive scales with stringent cost targets, necessitating ToF optical systems that can be reliably mass-produced with minimal calibration requirements. Vignetting and stray light suppression mechanisms must be designed for automated assembly processes rather than manual adjustment.
Environmental robustness presents additional challenges, as consumer devices must function across diverse lighting conditions and physical environments. Stray light suppression becomes particularly challenging when devices operate in unpredictable ambient lighting, requiring adaptive optical solutions that maintain performance across varying conditions.
Aesthetic requirements further constrain design options, as visible optical components must align with overall product design language. This often limits the placement, size, and appearance of ToF optical elements, potentially compromising optimal technical positioning for visual coherence.
Unlock deeper insights with Patsnap Eureka Quick Research — get a full tech report to explore trends and direct your research. Try now!
Generate Your Research Report Instantly with AI Agent
Supercharge your innovation with Patsnap Eureka AI Agent Platform!