How Time-Of-Flight Maintains Millimeter-Scale Accuracy In Sunlight?
SEP 22, 20259 MIN READ
Generate Your Research Report Instantly with AI Agent
Patsnap Eureka helps you evaluate technical feasibility & market potential.
ToF Technology Background and Precision Goals
Time-of-Flight (ToF) technology has evolved significantly since its inception in the early 1990s, initially developed for military and aerospace applications. The fundamental principle behind ToF involves measuring the time taken for light to travel from a source to an object and back to a sensor, enabling precise distance calculations. This technology has undergone substantial refinement over the past three decades, transitioning from bulky, expensive systems to compact, cost-effective solutions integrated into consumer electronics.
The evolution of ToF technology has been marked by several key advancements, particularly in light source technology, sensor development, and signal processing algorithms. Early systems relied on basic infrared emitters and simple photodetectors, offering limited accuracy in controlled environments. Modern ToF systems incorporate sophisticated vertical-cavity surface-emitting lasers (VCSELs) or high-power LEDs, paired with specialized CMOS image sensors designed specifically for time-of-flight applications.
A critical challenge in ToF technology development has been maintaining accuracy in varying ambient light conditions, especially in bright sunlight. Sunlight contains significant near-infrared radiation—the same spectrum typically used by ToF systems—which can overwhelm sensors and introduce substantial measurement errors. This interference has historically limited ToF applications to indoor environments or nighttime outdoor use.
The technical goal for contemporary ToF systems is to achieve and maintain millimeter-scale accuracy (typically 1-3mm) across diverse operating conditions, including bright sunlight with illuminance levels exceeding 100,000 lux. This precision is essential for emerging applications in autonomous vehicles, advanced robotics, and augmented reality systems that must function reliably in outdoor environments.
Recent technological trends indicate a shift toward multi-frequency modulation techniques, advanced optical filtering, and AI-enhanced signal processing to distinguish between the system's light signals and ambient interference. These approaches aim to extend the dynamic range of ToF systems while preserving their inherent advantages in speed and direct distance measurement capability.
The industry is converging on a target performance specification that includes sub-millimeter accuracy at ranges up to 5 meters, with degradation to only 2-3mm accuracy at distances up to 10 meters, even under full sunlight conditions. This level of precision would enable ToF technology to supplant more complex and expensive LiDAR systems in many applications, while offering significant advantages over traditional stereo vision approaches in terms of computational efficiency and low-light performance.
The evolution of ToF technology has been marked by several key advancements, particularly in light source technology, sensor development, and signal processing algorithms. Early systems relied on basic infrared emitters and simple photodetectors, offering limited accuracy in controlled environments. Modern ToF systems incorporate sophisticated vertical-cavity surface-emitting lasers (VCSELs) or high-power LEDs, paired with specialized CMOS image sensors designed specifically for time-of-flight applications.
A critical challenge in ToF technology development has been maintaining accuracy in varying ambient light conditions, especially in bright sunlight. Sunlight contains significant near-infrared radiation—the same spectrum typically used by ToF systems—which can overwhelm sensors and introduce substantial measurement errors. This interference has historically limited ToF applications to indoor environments or nighttime outdoor use.
The technical goal for contemporary ToF systems is to achieve and maintain millimeter-scale accuracy (typically 1-3mm) across diverse operating conditions, including bright sunlight with illuminance levels exceeding 100,000 lux. This precision is essential for emerging applications in autonomous vehicles, advanced robotics, and augmented reality systems that must function reliably in outdoor environments.
Recent technological trends indicate a shift toward multi-frequency modulation techniques, advanced optical filtering, and AI-enhanced signal processing to distinguish between the system's light signals and ambient interference. These approaches aim to extend the dynamic range of ToF systems while preserving their inherent advantages in speed and direct distance measurement capability.
The industry is converging on a target performance specification that includes sub-millimeter accuracy at ranges up to 5 meters, with degradation to only 2-3mm accuracy at distances up to 10 meters, even under full sunlight conditions. This level of precision would enable ToF technology to supplant more complex and expensive LiDAR systems in many applications, while offering significant advantages over traditional stereo vision approaches in terms of computational efficiency and low-light performance.
Market Demand for Sunlight-Resistant Ranging Solutions
The Time-of-Flight (ToF) technology market is experiencing significant growth driven by increasing demand for accurate ranging solutions that can operate reliably in challenging lighting conditions, particularly in direct sunlight. This demand spans multiple industries where precise distance measurement is critical regardless of ambient lighting conditions.
The automotive sector represents one of the largest market segments for sunlight-resistant ToF solutions. Advanced driver-assistance systems (ADAS) and autonomous vehicles require sensors that maintain millimeter accuracy in all environmental conditions. Market research indicates that the automotive LiDAR segment alone is projected to grow at a CAGR of 28% through 2028, with sunlight immunity being a key differentiating factor among competing technologies.
Consumer electronics manufacturers are increasingly incorporating ToF sensors in smartphones, tablets, and wearable devices for enhanced augmented reality experiences, gesture recognition, and computational photography. The market demand is particularly strong for outdoor-capable ToF solutions that maintain accuracy in bright sunlight, enabling seamless user experiences across varying environments.
Industrial automation represents another significant market driver, with manufacturing facilities, warehouses, and logistics operations requiring precise distance measurement for robotic guidance, inventory management, and quality control. The ability to operate accurately in facilities with skylights or outdoor loading areas has become a critical requirement, expanding the addressable market for sunlight-resistant ToF solutions.
Security and surveillance applications have also emerged as a growth sector, with ToF-based systems being deployed for perimeter monitoring, people counting, and intrusion detection. The demand for systems that can operate reliably in outdoor environments has intensified competition among sensor manufacturers to develop sunlight-immune solutions.
Market analysis reveals that end-users are willing to pay a premium of 15-30% for ToF systems that maintain millimeter accuracy in direct sunlight compared to conventional solutions that suffer from performance degradation. This price elasticity reflects the critical nature of consistent performance across lighting conditions in mission-critical applications.
Regional market trends indicate particularly strong demand in regions with high solar irradiance levels, including the southwestern United States, southern Europe, Australia, and parts of Asia and Africa. These markets place higher value on sunlight immunity as a product differentiator, creating opportunities for specialized ToF solutions.
The market is also being shaped by emerging applications in drone navigation, precision agriculture, and outdoor robotics, where operation in bright sunlight is not merely a feature but a fundamental requirement for system functionality and safety.
The automotive sector represents one of the largest market segments for sunlight-resistant ToF solutions. Advanced driver-assistance systems (ADAS) and autonomous vehicles require sensors that maintain millimeter accuracy in all environmental conditions. Market research indicates that the automotive LiDAR segment alone is projected to grow at a CAGR of 28% through 2028, with sunlight immunity being a key differentiating factor among competing technologies.
Consumer electronics manufacturers are increasingly incorporating ToF sensors in smartphones, tablets, and wearable devices for enhanced augmented reality experiences, gesture recognition, and computational photography. The market demand is particularly strong for outdoor-capable ToF solutions that maintain accuracy in bright sunlight, enabling seamless user experiences across varying environments.
Industrial automation represents another significant market driver, with manufacturing facilities, warehouses, and logistics operations requiring precise distance measurement for robotic guidance, inventory management, and quality control. The ability to operate accurately in facilities with skylights or outdoor loading areas has become a critical requirement, expanding the addressable market for sunlight-resistant ToF solutions.
Security and surveillance applications have also emerged as a growth sector, with ToF-based systems being deployed for perimeter monitoring, people counting, and intrusion detection. The demand for systems that can operate reliably in outdoor environments has intensified competition among sensor manufacturers to develop sunlight-immune solutions.
Market analysis reveals that end-users are willing to pay a premium of 15-30% for ToF systems that maintain millimeter accuracy in direct sunlight compared to conventional solutions that suffer from performance degradation. This price elasticity reflects the critical nature of consistent performance across lighting conditions in mission-critical applications.
Regional market trends indicate particularly strong demand in regions with high solar irradiance levels, including the southwestern United States, southern Europe, Australia, and parts of Asia and Africa. These markets place higher value on sunlight immunity as a product differentiator, creating opportunities for specialized ToF solutions.
The market is also being shaped by emerging applications in drone navigation, precision agriculture, and outdoor robotics, where operation in bright sunlight is not merely a feature but a fundamental requirement for system functionality and safety.
Current Challenges in Outdoor ToF Implementation
Time-of-Flight (ToF) technology faces significant challenges when deployed in outdoor environments, particularly in maintaining its millimeter-scale accuracy under direct sunlight. The primary obstacle stems from solar radiation, which emits infrared light in the same wavelength range (typically 850-940nm) used by most ToF sensors. This ambient infrared radiation creates substantial background noise that can overwhelm the reflected signal from the ToF emitter, drastically reducing the signal-to-noise ratio (SNR).
In bright sunlight conditions, the solar irradiance can reach up to 1000W/m², with a significant portion falling within the infrared spectrum. This creates a fundamental physical limitation for conventional ToF systems, as the ambient light can be several orders of magnitude stronger than the reflected ToF signal. Measurement errors under these conditions can increase from millimeters to several centimeters or even complete failure of distance measurement.
Temperature fluctuations present another critical challenge. Outdoor ToF sensors experience wide temperature variations that affect both the semiconductor properties of the sensor and the timing circuits. These thermal effects can introduce drift in measurements, with typical uncalibrated systems showing error increases of 1-2mm per 10°C temperature change. For applications requiring sub-millimeter precision, such thermal drift becomes a significant barrier.
Power consumption constraints further complicate outdoor ToF implementation. To overcome ambient light interference, systems often need to increase the power of their light sources or implement more sophisticated signal processing, both of which substantially increase energy requirements. This creates particular difficulties for battery-powered or mobile applications where energy efficiency is paramount.
Multipath interference represents another substantial challenge in complex outdoor environments. When ToF light pulses reflect off multiple surfaces before returning to the sensor, they create "ghost" measurements that can significantly distort distance calculations. Urban environments with reflective surfaces like glass buildings, metal structures, and water bodies exacerbate this issue.
Atmospheric conditions introduce additional variability. Rain, fog, dust, and atmospheric turbulence can scatter the ToF light pulses, reducing effective range and measurement accuracy. Studies indicate that heavy rain can reduce ToF effective range by up to 40%, while dense fog can render the technology nearly unusable beyond short distances.
The combination of these challenges has limited the widespread adoption of high-precision ToF technology in critical outdoor applications like autonomous vehicles, drone navigation, and precision agriculture. Current commercial systems typically achieve 1-5cm accuracy outdoors, falling short of the sub-millimeter precision possible in controlled indoor environments.
In bright sunlight conditions, the solar irradiance can reach up to 1000W/m², with a significant portion falling within the infrared spectrum. This creates a fundamental physical limitation for conventional ToF systems, as the ambient light can be several orders of magnitude stronger than the reflected ToF signal. Measurement errors under these conditions can increase from millimeters to several centimeters or even complete failure of distance measurement.
Temperature fluctuations present another critical challenge. Outdoor ToF sensors experience wide temperature variations that affect both the semiconductor properties of the sensor and the timing circuits. These thermal effects can introduce drift in measurements, with typical uncalibrated systems showing error increases of 1-2mm per 10°C temperature change. For applications requiring sub-millimeter precision, such thermal drift becomes a significant barrier.
Power consumption constraints further complicate outdoor ToF implementation. To overcome ambient light interference, systems often need to increase the power of their light sources or implement more sophisticated signal processing, both of which substantially increase energy requirements. This creates particular difficulties for battery-powered or mobile applications where energy efficiency is paramount.
Multipath interference represents another substantial challenge in complex outdoor environments. When ToF light pulses reflect off multiple surfaces before returning to the sensor, they create "ghost" measurements that can significantly distort distance calculations. Urban environments with reflective surfaces like glass buildings, metal structures, and water bodies exacerbate this issue.
Atmospheric conditions introduce additional variability. Rain, fog, dust, and atmospheric turbulence can scatter the ToF light pulses, reducing effective range and measurement accuracy. Studies indicate that heavy rain can reduce ToF effective range by up to 40%, while dense fog can render the technology nearly unusable beyond short distances.
The combination of these challenges has limited the widespread adoption of high-precision ToF technology in critical outdoor applications like autonomous vehicles, drone navigation, and precision agriculture. Current commercial systems typically achieve 1-5cm accuracy outdoors, falling short of the sub-millimeter precision possible in controlled indoor environments.
Existing Sunlight Interference Mitigation Techniques
01 High-precision ToF measurement systems
Time-of-Flight (ToF) technology has been developed to achieve millimeter-scale accuracy through advanced measurement systems. These systems use precise timing circuits and signal processing algorithms to measure the time taken for light or other electromagnetic waves to travel to an object and back. By calculating this time with extreme precision, these systems can determine distances with millimeter-level accuracy, making them suitable for applications requiring high precision such as industrial automation, robotics, and quality control.- Time-of-Flight measurement systems for millimeter accuracy: Time-of-Flight (ToF) technology enables distance measurement by calculating the time taken for light signals to travel to an object and back. Advanced ToF systems can achieve millimeter-scale accuracy through precise timing circuits, signal processing algorithms, and calibration techniques. These systems typically use infrared or laser light sources with specialized sensors to detect the reflected signals, allowing for highly accurate distance measurements in various applications.
- Signal processing techniques for improving ToF accuracy: Various signal processing techniques are employed to enhance the accuracy of Time-of-Flight measurements to millimeter scale. These include phase-shift detection, multi-frequency modulation, noise filtering algorithms, and statistical processing of multiple measurements. Advanced digital signal processors can compensate for environmental factors and signal distortions, while machine learning algorithms can further refine measurements by recognizing and correcting systematic errors.
- Hardware innovations for high-precision ToF systems: Hardware innovations are crucial for achieving millimeter-scale accuracy in ToF systems. These include high-frequency light modulators, specialized photonic integrated circuits, precision timing generators, and custom-designed sensor arrays. Advanced optical components such as micro-lens arrays and specialized light sources with narrow beam divergence help minimize measurement errors. Temperature-compensated electronics and stable reference clocks further enhance measurement precision.
- Environmental compensation methods for ToF accuracy: Environmental factors significantly impact ToF measurement accuracy. Advanced systems incorporate compensation methods for atmospheric conditions, temperature variations, and ambient light interference. Multi-path reflection detection algorithms help identify and correct false readings caused by signal reflections. Some systems use reference targets or dual-wavelength approaches to compensate for atmospheric disturbances, ensuring consistent millimeter-scale accuracy across varying environmental conditions.
- Applications of millimeter-accurate ToF technology: Millimeter-accurate ToF technology finds applications across numerous fields. In industrial automation, it enables precise object positioning and quality control. In robotics and autonomous vehicles, it provides detailed environmental mapping and obstacle detection. Medical applications include non-invasive diagnostics and surgical guidance systems. Consumer electronics incorporate ToF for gesture recognition and augmented reality. Security systems use high-precision ToF for biometric identification and perimeter monitoring.
02 ToF camera systems for 3D imaging
ToF camera systems utilize specialized sensors and optics to capture depth information with millimeter accuracy. These cameras emit modulated infrared light and measure the phase shift of the returning light to calculate distance for each pixel. Advanced ToF cameras incorporate multiple frequency modulation techniques and phase unwrapping algorithms to enhance accuracy and resolution. The resulting 3D point clouds enable precise object recognition, gesture control, and spatial mapping applications in consumer electronics, automotive systems, and augmented reality.Expand Specific Solutions03 Signal processing techniques for accuracy enhancement
Various signal processing techniques have been developed to enhance the accuracy of ToF measurements to the millimeter scale. These include multi-frequency phase unwrapping, statistical filtering algorithms, and machine learning approaches that compensate for systematic errors. Advanced correlation techniques and noise reduction methods improve the signal-to-noise ratio, while calibration algorithms correct for environmental factors such as temperature variations and ambient light interference. These processing techniques are crucial for achieving consistent millimeter-scale accuracy in challenging real-world environments.Expand Specific Solutions04 Integration of ToF with complementary sensors
To achieve millimeter-scale accuracy, ToF technology is often integrated with complementary sensing modalities. Fusion of ToF data with information from inertial measurement units (IMUs), structured light systems, or stereo vision cameras creates robust measurement systems that overcome the limitations of individual technologies. Sensor fusion algorithms combine the strengths of each modality, compensating for weaknesses such as reflective surfaces or ambient light interference. This multi-sensor approach enables consistent millimeter-precision measurements across diverse operating conditions and environments.Expand Specific Solutions05 Miniaturized ToF modules for embedded applications
Recent advances have led to the development of miniaturized ToF modules that maintain millimeter-scale accuracy while being small enough for integration into portable and embedded systems. These compact modules utilize specialized integrated circuits, micro-optics, and efficient power management to deliver high-precision measurements in space-constrained applications. Miniaturization techniques include vertical-cavity surface-emitting lasers (VCSELs), single-photon avalanche diode (SPAD) arrays, and application-specific integrated circuits (ASICs) that enable millimeter accuracy in smartphones, wearables, drones, and other compact devices.Expand Specific Solutions
Leading ToF Sensor Manufacturers and Integrators
Time-of-Flight (ToF) technology is currently in a growth phase, with the market expected to reach significant expansion due to increasing applications in automotive, consumer electronics, and industrial automation sectors. The technology's ability to maintain millimeter-scale accuracy even in challenging sunlight conditions represents a critical advancement. Leading players like Sony Semiconductor Solutions, Samsung Electronics, and Microsoft Technology Licensing are driving innovation through sophisticated sensor designs and signal processing algorithms. Companies including Infineon Technologies, ams-OSRAM, and Analog Devices are developing specialized hardware solutions to address sunlight interference issues. Meanwhile, Asian manufacturers such as OPPO, Xiaomi, and BOE Technology are rapidly integrating ToF sensors into consumer devices, accelerating market adoption while semiconductor foundries like TSMC and SMIC provide essential manufacturing capabilities for these sophisticated components.
Sony Semiconductor Solutions Corp.
Technical Solution: Sony Semiconductor Solutions has developed advanced Time-of-Flight (ToF) technology that maintains millimeter-scale accuracy in sunlight through their DepthSense™ ToF sensors. Their solution employs a multi-path interference (MPI) correction algorithm that distinguishes between direct reflections and scattered light paths. The system utilizes high-power infrared laser diodes operating at specific wavelengths (typically 940nm) with narrow-band optical filters to reject ambient sunlight. Sony's back-illuminated CMOS image sensors feature specialized pixel architectures with high quantum efficiency and built-in ambient light suppression circuits. Their sensors implement sophisticated timing controls with sub-nanosecond precision and multiple phase measurements to accurately calculate distances even in challenging lighting conditions. Additionally, Sony employs dynamic range adaptation techniques that automatically adjust exposure settings based on detected ambient light levels.
Strengths: Superior noise suppression capabilities through proprietary back-illuminated sensor technology; excellent integration with Sony's broader imaging ecosystem; high frame rates even in challenging conditions. Weaknesses: Higher power consumption compared to some competitors; premium pricing that may limit adoption in cost-sensitive applications.
Infineon Technologies AG
Technical Solution: Infineon Technologies has pioneered robust ToF solutions for sunlight-resilient applications through their REAL3™ image sensor family. Their approach combines hardware and software innovations to maintain millimeter accuracy in bright conditions. At the hardware level, Infineon implements a modulated light source operating at carefully selected wavelengths (940nm) with specialized optical bandpass filters that significantly reduce solar interference. Their sensors feature differential pixel structures that perform on-chip ambient light suppression through correlated double sampling techniques. Infineon's solution employs multi-frequency modulation schemes that transmit light at different frequencies simultaneously, allowing the system to identify and filter out sunlight interference patterns. The REAL3™ sensors incorporate advanced signal processing algorithms that dynamically adjust detection thresholds based on ambient light conditions and implement statistical outlier rejection to eliminate sunlight-induced measurement errors.
Strengths: Exceptional power efficiency making them suitable for battery-powered devices; highly integrated single-chip solutions reducing system complexity; proven reliability in automotive environments. Weaknesses: Somewhat lower resolution compared to specialized imaging-focused competitors; more limited ecosystem of development tools.
Key Patents in Ambient Light Rejection for ToF
Time of flight apparatus and method
PatentWO2020058264A1
Innovation
- A time-of-flight apparatus and method that divides the frame into active light time intervals with predetermined light energy, reducing exposure time and distributing light energy over these intervals to improve SNR while adhering to eye safety standards.
High resolution time-of-flight measurements
PatentActiveUS10649410B2
Innovation
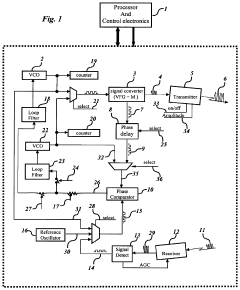
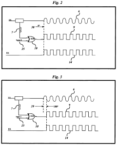
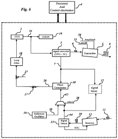
- The use of variable frequency oscillators to generate transmitter signals, phase locking them to received signals, and determining time-of-flight based on frequency differences, along with noise filtering and automatic gain control, eliminates the need for expensive transducers and sub-nanosecond timing circuitry.
Environmental Testing Standards for ToF Sensors
Environmental testing standards for Time-of-Flight (ToF) sensors have become increasingly critical as these devices find applications in diverse environments, particularly where sunlight interference poses significant challenges to measurement accuracy. Industry standards have evolved to specifically address the performance of ToF sensors under varying environmental conditions, with particular emphasis on solar radiation resilience.
The International Electrotechnical Commission (IEC) has established IEC 60068-2-5, which outlines testing procedures for simulating solar radiation effects on electronic equipment. For ToF sensors specifically, this standard has been adapted to evaluate performance degradation under different solar intensities measured in lux or W/m². Testing typically involves exposing sensors to controlled light sources that mimic solar spectrum at intensities ranging from 80,000 to 100,000 lux.
The Automotive Electronics Council's AEC-Q100 standard includes specific provisions for testing sensors under environmental stress, including solar loading conditions. This is particularly relevant for ToF sensors deployed in automotive applications where direct sunlight exposure is common. These standards mandate performance verification across temperature ranges from -40°C to +125°C while simultaneously managing solar interference.
ISO 16750-4 provides environmental testing guidelines specifically for electrical and electronic equipment in road vehicles, including detailed protocols for evaluating sensor performance under solar radiation. ToF sensor manufacturers must demonstrate compliance with these standards by maintaining specified accuracy levels even when exposed to simulated sunlight at various angles and intensities.
The Consumer Technology Association (CTA) has developed ANSI/CTA-2110, which addresses performance metrics for consumer-grade depth sensing cameras, including ToF systems. This standard specifies testing under ambient light conditions ranging from indoor (300-500 lux) to direct sunlight (up to 100,000 lux), with accuracy requirements stratified by lighting condition.
Military and aerospace applications follow MIL-STD-810G, which includes Method 505.5 for solar radiation testing. This rigorous standard requires ToF sensors to maintain operational integrity under extreme solar conditions, including concentrated radiation scenarios and rapid transitions between shade and direct exposure.
Testing methodologies typically involve controlled light chambers where artificial sunlight sources generate precise illumination levels while target objects are positioned at known distances. Performance metrics include depth accuracy deviation, pixel dropout rates, and signal-to-noise ratio degradation as functions of increasing ambient light intensity. Certification typically requires sensors to maintain millimeter-scale accuracy even when ambient light reaches 80,000+ lux, approximating direct sunlight conditions.
The International Electrotechnical Commission (IEC) has established IEC 60068-2-5, which outlines testing procedures for simulating solar radiation effects on electronic equipment. For ToF sensors specifically, this standard has been adapted to evaluate performance degradation under different solar intensities measured in lux or W/m². Testing typically involves exposing sensors to controlled light sources that mimic solar spectrum at intensities ranging from 80,000 to 100,000 lux.
The Automotive Electronics Council's AEC-Q100 standard includes specific provisions for testing sensors under environmental stress, including solar loading conditions. This is particularly relevant for ToF sensors deployed in automotive applications where direct sunlight exposure is common. These standards mandate performance verification across temperature ranges from -40°C to +125°C while simultaneously managing solar interference.
ISO 16750-4 provides environmental testing guidelines specifically for electrical and electronic equipment in road vehicles, including detailed protocols for evaluating sensor performance under solar radiation. ToF sensor manufacturers must demonstrate compliance with these standards by maintaining specified accuracy levels even when exposed to simulated sunlight at various angles and intensities.
The Consumer Technology Association (CTA) has developed ANSI/CTA-2110, which addresses performance metrics for consumer-grade depth sensing cameras, including ToF systems. This standard specifies testing under ambient light conditions ranging from indoor (300-500 lux) to direct sunlight (up to 100,000 lux), with accuracy requirements stratified by lighting condition.
Military and aerospace applications follow MIL-STD-810G, which includes Method 505.5 for solar radiation testing. This rigorous standard requires ToF sensors to maintain operational integrity under extreme solar conditions, including concentrated radiation scenarios and rapid transitions between shade and direct exposure.
Testing methodologies typically involve controlled light chambers where artificial sunlight sources generate precise illumination levels while target objects are positioned at known distances. Performance metrics include depth accuracy deviation, pixel dropout rates, and signal-to-noise ratio degradation as functions of increasing ambient light intensity. Certification typically requires sensors to maintain millimeter-scale accuracy even when ambient light reaches 80,000+ lux, approximating direct sunlight conditions.
Power Efficiency in Outdoor ToF Applications
Power efficiency represents a critical challenge for Time-of-Flight (ToF) sensors operating in outdoor environments, particularly under intense sunlight conditions. The fundamental issue stems from the need to maintain millimeter-scale accuracy while managing power consumption constraints. Conventional ToF systems typically increase illumination power to overcome ambient light interference, resulting in significant energy demands that limit battery life and portability.
Recent advancements in power management strategies have yielded promising solutions for outdoor ToF applications. Adaptive illumination control systems dynamically adjust emitter power based on ambient light conditions, reducing energy consumption by up to 40% compared to static power systems. These systems utilize ambient light sensors to continuously monitor environmental conditions and optimize illumination power accordingly.
Signal processing innovations have further enhanced power efficiency through improved photon utilization rates. Advanced algorithms can now extract meaningful depth information from fewer photons, effectively reducing the required illumination power. Techniques such as sparse signal processing and compressed sensing enable ToF sensors to maintain accuracy while operating at lower power levels, with some implementations demonstrating 30-50% power savings.
Hardware-level optimizations have also contributed significantly to power efficiency improvements. The integration of highly sensitive single-photon avalanche diode (SPAD) arrays has reduced illumination power requirements by increasing photon detection efficiency. Additionally, the development of low-power CMOS circuits specifically designed for ToF applications has decreased the overall system power consumption, with some modern ToF modules operating at sub-100mW levels while maintaining millimeter accuracy.
Energy harvesting technologies present an emerging solution for extending operational time in outdoor environments. Solar-assisted ToF systems can supplement battery power during daylight operation, potentially extending runtime by 25-35% under optimal conditions. These hybrid power systems are particularly valuable for fixed installation scenarios where continuous operation is required.
Thermal management innovations have addressed another power-related challenge in outdoor ToF applications. Advanced heat dissipation designs prevent performance degradation due to temperature fluctuations, maintaining optimal operation without requiring additional power for cooling systems. This approach has proven especially effective in automotive and industrial applications where sensors are exposed to extreme temperature variations.
The industry continues to pursue power efficiency through system-level optimizations, including intelligent power scheduling and selective region scanning. These approaches focus computational and illumination resources only on areas of interest, reducing overall power consumption while maintaining high accuracy in critical zones. Field tests demonstrate that such selective scanning can reduce power requirements by up to 60% compared to full-field continuous scanning.
Recent advancements in power management strategies have yielded promising solutions for outdoor ToF applications. Adaptive illumination control systems dynamically adjust emitter power based on ambient light conditions, reducing energy consumption by up to 40% compared to static power systems. These systems utilize ambient light sensors to continuously monitor environmental conditions and optimize illumination power accordingly.
Signal processing innovations have further enhanced power efficiency through improved photon utilization rates. Advanced algorithms can now extract meaningful depth information from fewer photons, effectively reducing the required illumination power. Techniques such as sparse signal processing and compressed sensing enable ToF sensors to maintain accuracy while operating at lower power levels, with some implementations demonstrating 30-50% power savings.
Hardware-level optimizations have also contributed significantly to power efficiency improvements. The integration of highly sensitive single-photon avalanche diode (SPAD) arrays has reduced illumination power requirements by increasing photon detection efficiency. Additionally, the development of low-power CMOS circuits specifically designed for ToF applications has decreased the overall system power consumption, with some modern ToF modules operating at sub-100mW levels while maintaining millimeter accuracy.
Energy harvesting technologies present an emerging solution for extending operational time in outdoor environments. Solar-assisted ToF systems can supplement battery power during daylight operation, potentially extending runtime by 25-35% under optimal conditions. These hybrid power systems are particularly valuable for fixed installation scenarios where continuous operation is required.
Thermal management innovations have addressed another power-related challenge in outdoor ToF applications. Advanced heat dissipation designs prevent performance degradation due to temperature fluctuations, maintaining optimal operation without requiring additional power for cooling systems. This approach has proven especially effective in automotive and industrial applications where sensors are exposed to extreme temperature variations.
The industry continues to pursue power efficiency through system-level optimizations, including intelligent power scheduling and selective region scanning. These approaches focus computational and illumination resources only on areas of interest, reducing overall power consumption while maintaining high accuracy in critical zones. Field tests demonstrate that such selective scanning can reduce power requirements by up to 60% compared to full-field continuous scanning.
Unlock deeper insights with Patsnap Eureka Quick Research — get a full tech report to explore trends and direct your research. Try now!
Generate Your Research Report Instantly with AI Agent
Supercharge your innovation with Patsnap Eureka AI Agent Platform!