Time-Of-Flight Timing: Clock Stability, Skew And Synchronization
SEP 22, 20259 MIN READ
Generate Your Research Report Instantly with AI Agent
Patsnap Eureka helps you evaluate technical feasibility & market potential.
TOF Timing Technology Background and Objectives
Time-of-Flight (ToF) technology has evolved significantly since its inception in the early 1990s, initially developed for military applications such as range finding and target identification. The fundamental principle behind ToF involves measuring the time taken for light signals to travel from a source to an object and back to a sensor, enabling precise distance calculations. Over the past three decades, this technology has transitioned from specialized military use to widespread commercial applications, including consumer electronics, automotive systems, and industrial automation.
The evolution of ToF timing technology has been marked by several key milestones. Early systems relied on basic pulse-based measurements with limited accuracy. The introduction of continuous wave modulation techniques in the early 2000s significantly improved precision. More recently, direct ToF (dToF) and indirect ToF (iToF) methodologies have emerged as dominant approaches, each offering distinct advantages for specific use cases.
Clock stability represents a critical component in ToF systems, directly impacting measurement accuracy. Historical challenges in maintaining stable timing references have gradually been addressed through advancements in crystal oscillator technology, temperature compensation techniques, and the integration of atomic clock references in high-precision applications. The industry has witnessed a steady improvement in clock stability metrics, with modern systems achieving stability in the parts-per-billion range.
Clock skew and synchronization issues have persistently challenged ToF system designers. Early systems suffered from significant timing discrepancies between transmitter and receiver components, limiting effective range and accuracy. Contemporary solutions incorporate sophisticated synchronization protocols, distributed clock architectures, and phase-locked loop systems to minimize skew effects across multiple timing domains.
The primary technical objectives in ToF timing development currently focus on several key areas: achieving sub-picosecond timing precision for enhanced distance resolution; developing robust synchronization methods for multi-sensor arrays; implementing efficient temperature and aging compensation algorithms; and creating power-efficient timing solutions for mobile and battery-operated devices.
Future development trajectories point toward integrated photonic timing circuits, quantum-enhanced timing references, and AI-assisted calibration systems that can dynamically adjust for environmental variations. The convergence of ToF technology with other sensing modalities, such as radar and ultrasonic systems, is also emerging as a significant trend, enabling multi-modal sensing platforms with enhanced reliability and accuracy across diverse operating conditions.
The evolution of ToF timing technology has been marked by several key milestones. Early systems relied on basic pulse-based measurements with limited accuracy. The introduction of continuous wave modulation techniques in the early 2000s significantly improved precision. More recently, direct ToF (dToF) and indirect ToF (iToF) methodologies have emerged as dominant approaches, each offering distinct advantages for specific use cases.
Clock stability represents a critical component in ToF systems, directly impacting measurement accuracy. Historical challenges in maintaining stable timing references have gradually been addressed through advancements in crystal oscillator technology, temperature compensation techniques, and the integration of atomic clock references in high-precision applications. The industry has witnessed a steady improvement in clock stability metrics, with modern systems achieving stability in the parts-per-billion range.
Clock skew and synchronization issues have persistently challenged ToF system designers. Early systems suffered from significant timing discrepancies between transmitter and receiver components, limiting effective range and accuracy. Contemporary solutions incorporate sophisticated synchronization protocols, distributed clock architectures, and phase-locked loop systems to minimize skew effects across multiple timing domains.
The primary technical objectives in ToF timing development currently focus on several key areas: achieving sub-picosecond timing precision for enhanced distance resolution; developing robust synchronization methods for multi-sensor arrays; implementing efficient temperature and aging compensation algorithms; and creating power-efficient timing solutions for mobile and battery-operated devices.
Future development trajectories point toward integrated photonic timing circuits, quantum-enhanced timing references, and AI-assisted calibration systems that can dynamically adjust for environmental variations. The convergence of ToF technology with other sensing modalities, such as radar and ultrasonic systems, is also emerging as a significant trend, enabling multi-modal sensing platforms with enhanced reliability and accuracy across diverse operating conditions.
Market Applications and Demand Analysis for TOF Systems
The Time-of-Flight (ToF) technology market has experienced substantial growth in recent years, driven by increasing demand across multiple sectors. The global ToF sensor market was valued at approximately 2.8 billion USD in 2020 and is projected to reach 6.9 billion USD by 2025, representing a compound annual growth rate of 20%. This remarkable growth trajectory is fueled by the technology's versatility and expanding applications across diverse industries.
Consumer electronics represents the largest market segment for ToF systems, with smartphone manufacturers integrating these sensors for enhanced facial recognition, augmented reality experiences, and improved camera autofocus capabilities. Major smartphone brands have adopted ToF technology to enable more secure biometric authentication and immersive AR applications, significantly driving market demand.
The automotive sector presents another substantial growth area for ToF systems. Advanced driver-assistance systems (ADAS) and autonomous vehicles rely heavily on precise distance measurement and object detection capabilities that ToF sensors provide. The increasing focus on vehicle safety features and the gradual transition toward autonomous driving have created a robust demand for high-precision ToF systems with reliable clock stability and synchronization.
Industrial automation applications constitute a rapidly expanding market segment for ToF technology. Manufacturing facilities utilize ToF sensors for precise object detection, robotic guidance, and quality control processes. The industry's shift toward Industry 4.0 and smart manufacturing has accelerated the adoption of ToF systems that can deliver accurate measurements in dynamic industrial environments.
Healthcare applications represent an emerging market with significant growth potential. ToF sensors are increasingly used in medical imaging, patient monitoring, and gesture recognition interfaces for contactless control in sterile environments. The COVID-19 pandemic has further accelerated interest in contactless technologies, creating new opportunities for ToF applications in healthcare settings.
Security and surveillance systems benefit from ToF technology's ability to provide accurate depth information in various lighting conditions. The growing emphasis on public safety and infrastructure security has driven demand for advanced surveillance systems incorporating ToF sensors with precise timing capabilities.
Market analysis indicates that timing precision, particularly clock stability and synchronization, represents a critical differentiator for ToF system manufacturers. End-users across all sectors increasingly demand systems with minimal timing skew to ensure measurement accuracy in challenging environments. This trend has intensified competition among manufacturers to develop ToF systems with superior timing characteristics, driving innovation in clock stability technologies and synchronization methods.
Consumer electronics represents the largest market segment for ToF systems, with smartphone manufacturers integrating these sensors for enhanced facial recognition, augmented reality experiences, and improved camera autofocus capabilities. Major smartphone brands have adopted ToF technology to enable more secure biometric authentication and immersive AR applications, significantly driving market demand.
The automotive sector presents another substantial growth area for ToF systems. Advanced driver-assistance systems (ADAS) and autonomous vehicles rely heavily on precise distance measurement and object detection capabilities that ToF sensors provide. The increasing focus on vehicle safety features and the gradual transition toward autonomous driving have created a robust demand for high-precision ToF systems with reliable clock stability and synchronization.
Industrial automation applications constitute a rapidly expanding market segment for ToF technology. Manufacturing facilities utilize ToF sensors for precise object detection, robotic guidance, and quality control processes. The industry's shift toward Industry 4.0 and smart manufacturing has accelerated the adoption of ToF systems that can deliver accurate measurements in dynamic industrial environments.
Healthcare applications represent an emerging market with significant growth potential. ToF sensors are increasingly used in medical imaging, patient monitoring, and gesture recognition interfaces for contactless control in sterile environments. The COVID-19 pandemic has further accelerated interest in contactless technologies, creating new opportunities for ToF applications in healthcare settings.
Security and surveillance systems benefit from ToF technology's ability to provide accurate depth information in various lighting conditions. The growing emphasis on public safety and infrastructure security has driven demand for advanced surveillance systems incorporating ToF sensors with precise timing capabilities.
Market analysis indicates that timing precision, particularly clock stability and synchronization, represents a critical differentiator for ToF system manufacturers. End-users across all sectors increasingly demand systems with minimal timing skew to ensure measurement accuracy in challenging environments. This trend has intensified competition among manufacturers to develop ToF systems with superior timing characteristics, driving innovation in clock stability technologies and synchronization methods.
Current Challenges in Clock Stability and Synchronization
The field of Time-of-Flight (ToF) timing faces several critical challenges related to clock stability, skew, and synchronization that impede optimal system performance. One of the most significant obstacles is thermal drift, which causes clock frequencies to fluctuate with temperature variations. This phenomenon is particularly problematic in environments with fluctuating temperatures or in devices that generate significant heat during operation, resulting in timing inconsistencies that degrade measurement accuracy.
Crystal aging presents another substantial challenge, as the frequency characteristics of oscillators change over time due to material degradation and mechanical stress. Even high-quality oscillators exhibit frequency shifts of several parts per million annually, which can accumulate to create significant timing errors in long-term deployments of ToF systems.
Power supply variations introduce additional instability, as voltage fluctuations directly affect oscillator performance. Modern ToF systems often operate in mobile or battery-powered environments where power supply stability cannot be guaranteed, leading to unpredictable timing behavior that compromises measurement precision.
Environmental factors such as vibration, shock, and electromagnetic interference further exacerbate clock stability issues. These external disturbances can induce temporary or permanent changes in oscillator characteristics, particularly in industrial or automotive applications where harsh operating conditions are common.
Clock distribution networks present unique challenges in complex ToF systems. As timing signals propagate through various components and subsystems, they encounter different impedances, capacitive loads, and transmission line effects that introduce skew—timing differences between theoretically synchronized signals. This skew becomes increasingly problematic as system complexity grows and operating frequencies increase.
Multi-node synchronization remains one of the most formidable challenges in distributed ToF systems. Maintaining precise timing alignment across physically separated sensors requires sophisticated synchronization protocols that must account for propagation delays, clock drift differentials, and environmental variations across nodes.
The integration of ToF systems with other timing-critical technologies compounds these challenges. For instance, when ToF sensors must coordinate with GNSS receivers or cellular networks, reconciling different timing domains and reference clocks introduces additional complexity and potential error sources.
Miniaturization trends in modern electronics further constrain clock stability solutions, as smaller form factors limit the implementation of traditional high-stability timing components like temperature-compensated crystal oscillators (TCXOs) or oven-controlled crystal oscillators (OCXOs), forcing engineers to achieve timing precision with less ideal components.
Crystal aging presents another substantial challenge, as the frequency characteristics of oscillators change over time due to material degradation and mechanical stress. Even high-quality oscillators exhibit frequency shifts of several parts per million annually, which can accumulate to create significant timing errors in long-term deployments of ToF systems.
Power supply variations introduce additional instability, as voltage fluctuations directly affect oscillator performance. Modern ToF systems often operate in mobile or battery-powered environments where power supply stability cannot be guaranteed, leading to unpredictable timing behavior that compromises measurement precision.
Environmental factors such as vibration, shock, and electromagnetic interference further exacerbate clock stability issues. These external disturbances can induce temporary or permanent changes in oscillator characteristics, particularly in industrial or automotive applications where harsh operating conditions are common.
Clock distribution networks present unique challenges in complex ToF systems. As timing signals propagate through various components and subsystems, they encounter different impedances, capacitive loads, and transmission line effects that introduce skew—timing differences between theoretically synchronized signals. This skew becomes increasingly problematic as system complexity grows and operating frequencies increase.
Multi-node synchronization remains one of the most formidable challenges in distributed ToF systems. Maintaining precise timing alignment across physically separated sensors requires sophisticated synchronization protocols that must account for propagation delays, clock drift differentials, and environmental variations across nodes.
The integration of ToF systems with other timing-critical technologies compounds these challenges. For instance, when ToF sensors must coordinate with GNSS receivers or cellular networks, reconciling different timing domains and reference clocks introduces additional complexity and potential error sources.
Miniaturization trends in modern electronics further constrain clock stability solutions, as smaller form factors limit the implementation of traditional high-stability timing components like temperature-compensated crystal oscillators (TCXOs) or oven-controlled crystal oscillators (OCXOs), forcing engineers to achieve timing precision with less ideal components.
Existing Solutions for Clock Skew Compensation
01 Clock synchronization techniques for TOF systems
Various clock synchronization methods are employed in Time-of-Flight systems to ensure accurate timing measurements. These techniques include distributed clock synchronization protocols, phase-locked loops (PLLs), and reference signal distribution systems that minimize timing errors across multiple nodes. Advanced algorithms compensate for propagation delays and environmental factors that could affect synchronization accuracy, which is critical for precise distance measurements in TOF applications.- Clock synchronization techniques for TOF systems: Time-of-Flight systems require precise clock synchronization across distributed components to ensure accurate distance measurements. Various techniques are employed to maintain synchronization between transmitters and receivers, including phase-locked loops, distributed clock networks, and reference timing signals. These methods help minimize timing errors that could otherwise lead to inaccurate distance calculations in TOF applications.
- Clock stability enhancement for precision timing: Maintaining clock stability is crucial for accurate TOF measurements. Advanced techniques include temperature compensation, voltage regulation, and specialized oscillator designs that minimize drift and jitter. These stability enhancements ensure consistent timing references over varying environmental conditions, reducing measurement errors in TOF systems that rely on precise time intervals for distance calculation.
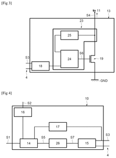
- Skew compensation in TOF measurement systems: Clock skew between different components in TOF systems can introduce significant measurement errors. Skew compensation techniques include delay-locked loops, calibration procedures, and adaptive timing adjustments. These methods help account for signal propagation delays across circuit paths and ensure that timing measurements accurately reflect actual flight times rather than circuit-induced delays.
- Optical TOF system timing precision: Optical TOF systems require extremely precise timing to measure light travel times accurately. Specialized timing circuits, high-speed photodetectors, and precision pulse generation techniques are employed to achieve picosecond-level timing resolution. These systems often incorporate advanced signal processing to extract timing information from weak return signals and compensate for various sources of timing uncertainty.
- Distributed clock architecture for TOF networks: TOF systems with multiple sensors require sophisticated distributed clock architectures to maintain synchronization across the network. These architectures include master-slave timing relationships, wireless synchronization protocols, and fault-tolerant timing distribution. Such approaches enable coordinated measurements across physically separated sensors while minimizing timing inconsistencies that would otherwise degrade system performance.
02 Clock stability enhancement in TOF measurement systems
Clock stability is crucial for accurate TOF measurements, as timing fluctuations directly impact distance calculation precision. Systems employ temperature-compensated oscillators, atomic clocks, or high-precision crystal oscillators to maintain frequency stability. Additional techniques include drift compensation algorithms, real-time calibration mechanisms, and feedback control systems that continuously monitor and adjust clock parameters to maintain stability under varying environmental conditions.Expand Specific Solutions03 Skew compensation in distributed TOF timing systems
Clock skew between different components in TOF systems can introduce significant measurement errors. Advanced skew compensation techniques include delay-locked loops, calibrated delay lines, and dynamic skew adjustment circuits. These systems measure the relative timing differences between distributed clocks and apply appropriate corrections. Some implementations use statistical models to predict and compensate for skew variations over time and temperature, ensuring consistent timing across the entire measurement system.Expand Specific Solutions04 High-precision timing circuits for TOF applications
Specialized timing circuits are developed for TOF applications requiring sub-nanosecond precision. These include time-to-digital converters (TDCs), high-speed counters, and interpolation circuits that enhance timing resolution beyond the system clock frequency. Some implementations use multi-phase clock generation with fine phase adjustment capabilities to achieve picosecond resolution. Advanced circuit techniques such as vernier delay lines and time stretching are employed to further improve measurement precision in challenging environments.Expand Specific Solutions05 System-level timing architecture for TOF measurements
Comprehensive system architectures are designed to address timing challenges in TOF systems. These architectures integrate clock distribution networks, synchronization protocols, and error correction mechanisms into cohesive systems. Hierarchical timing structures with master-slave relationships ensure consistent timing references across distributed sensors. Some implementations incorporate redundant timing paths and fault-tolerant designs to maintain operation during partial system failures. Advanced systems also feature adaptive calibration that accounts for aging effects and environmental variations to maintain long-term measurement accuracy.Expand Specific Solutions
Leading Companies and Research Institutions in TOF Timing
Time-of-Flight timing technology is currently in a growth phase, with increasing adoption across multiple industries including robotics, autonomous vehicles, and consumer electronics. The market is projected to expand significantly, driven by applications in 3D sensing, distance measurement, and navigation systems. Technologically, the field shows varying maturity levels, with companies like Sony Semiconductor Solutions, STMicroelectronics, and Decawave leading in sensor development, while Intel, Huawei, and Google focus on integration and application development. RoboSense and Autel Robotics are advancing LiDAR implementations for autonomous systems, while research institutions like IMEC and Ghent University contribute to fundamental timing improvements. Clock stability and synchronization remain key challenges that industry players are actively addressing through both hardware and software innovations.
Sony Semiconductor Solutions Corp.
Technical Solution: Sony Semiconductor Solutions has developed advanced Time-of-Flight (ToF) sensor technology addressing timing challenges through innovative hardware and signal processing approaches. Their DepthSense™ ToF sensors incorporate high-precision timing circuits with temperature-stabilized oscillators achieving stability of ±2ppm across the operational temperature range. Sony's solution features a multi-phase modulation technique that enables robust performance even under varying ambient light conditions. Their sensors employ a proprietary clock distribution architecture that minimizes skew between different parts of the sensor array, ensuring uniform timing across the entire sensing surface. Sony has also implemented advanced phase-locked loop (PLL) circuits that maintain synchronization between the illumination source and sensor, compensating for thermal drift and aging effects[4][5]. Their latest generation incorporates on-chip processing capabilities that perform real-time calibration and error correction, maintaining timing accuracy throughout the sensor's operational lifetime.
Strengths: Exceptional integration level with timing circuits and processing on a single chip; industry-leading low-light performance; compact form factor suitable for mobile and consumer applications. Weaknesses: Higher power consumption compared to simpler sensing technologies; performance can be affected by highly reflective surfaces; relatively high cost for consumer applications.
Intel Corp.
Technical Solution: Intel has developed RealSense™ technology that addresses Time-of-Flight timing challenges through a combination of specialized hardware and sophisticated algorithms. Their solution employs temperature-compensated oscillators with stability ratings of ±1ppm, coupled with proprietary calibration techniques that maintain timing accuracy across varying environmental conditions. Intel's approach includes a distributed clock architecture that minimizes timing skew between the illumination source and sensor array, critical for maintaining measurement accuracy. Their technology implements a multi-frequency modulation scheme that enables robust performance even in challenging lighting environments. Intel has also developed advanced synchronization protocols that coordinate timing between multiple ToF sensors in multi-camera setups, enabling consistent depth measurements across the entire field of view[6][7]. Their latest generation incorporates machine learning algorithms that dynamically adjust timing parameters based on scene characteristics and environmental conditions, further improving measurement stability and accuracy.
Strengths: Comprehensive ecosystem including hardware, software, and development tools; excellent performance in variable lighting conditions; strong integration capabilities with other Intel platforms. Weaknesses: Higher power requirements limiting battery-powered applications; complex calibration procedures; premium pricing compared to simpler depth sensing solutions.
Critical Patents and Research in TOF Synchronization
Synchronizing time-of-flight cameras
PatentActiveUS10674063B2
Innovation
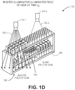
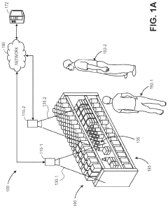
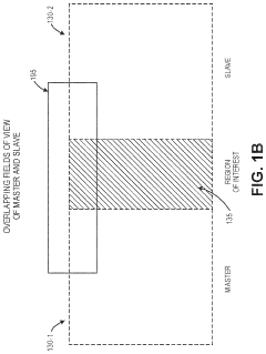
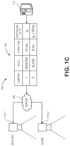
- Designating one camera as a 'master' and others as 'slaves, with predetermined illumination and exposure intervals, allowing slaves to adjust their operations based on the master's illumination to avoid conflicts and ensure synchronized data capture without direct connection.
Sychronization device, associated time of flight sensor and method
PatentActiveUS12123982B2
Innovation
- Synchronizing the emission and reception of light signals by generating a synchronization signal based on a control signal that matches the time taken to produce and transmit a power signal, using a power-control circuit and delay-locked loops to synchronize the switch and power supply, ensuring the emission and reception are aligned.
Standards and Protocols for TOF Timing Systems
The evolution of Time-of-Flight (TOF) systems has necessitated the development of robust standards and protocols to ensure interoperability, reliability, and accuracy across different implementations. The IEEE 1588 Precision Time Protocol (PTP) stands as a cornerstone standard for TOF timing systems, providing sub-microsecond synchronization capabilities across networked devices. This protocol enables precise timestamp exchange mechanisms critical for distributed TOF applications in industrial automation, telecommunications, and scientific research.
The International Electrotechnical Commission (IEC) 61588 complements IEEE 1588, offering additional specifications for timing requirements in industrial environments where TOF sensors operate under challenging conditions. These standards define hierarchical master-slave clock architectures that minimize timing errors through sophisticated clock selection algorithms and path delay compensation techniques.
For specialized TOF applications, industry-specific protocols have emerged. The White Rabbit protocol, developed at CERN, extends IEEE 1588 to achieve sub-nanosecond synchronization across kilometers of distance—essential for large-scale scientific TOF installations. Similarly, the SMPTE ST 2059 standard addresses TOF timing needs in broadcast environments, while the AES67 protocol focuses on audio networking applications requiring precise timing.
In automotive LiDAR systems, the AUTOSAR Timing Extensions provide standardized interfaces for TOF timing, ensuring consistent performance across different vehicle platforms and sensor configurations. These specifications define timing requirements for sensor fusion applications where multiple TOF sensors must operate in harmony.
Telecommunications standards like ITU-T G.8271 establish network timing requirements critical for cellular infrastructure where TOF measurements determine mobile device positioning. These protocols define acceptable limits for timing errors, jitter, and wander that could compromise TOF measurement accuracy.
Emerging standards are addressing synchronization challenges in distributed TOF sensor networks. The OPC UA TimeSync specification enables seamless integration of industrial TOF sensors into broader automation ecosystems, while the Time-Sensitive Networking (TSN) standards from IEEE provide deterministic timing guarantees for TOF data transmission over Ethernet networks.
Compliance testing methodologies have also been standardized to verify adherence to these protocols. Test suites like the IEEE 1588 Conformance Test Suite provide objective verification of timing performance, ensuring that TOF systems maintain synchronization within specified tolerances under various operating conditions and network topologies.
The International Electrotechnical Commission (IEC) 61588 complements IEEE 1588, offering additional specifications for timing requirements in industrial environments where TOF sensors operate under challenging conditions. These standards define hierarchical master-slave clock architectures that minimize timing errors through sophisticated clock selection algorithms and path delay compensation techniques.
For specialized TOF applications, industry-specific protocols have emerged. The White Rabbit protocol, developed at CERN, extends IEEE 1588 to achieve sub-nanosecond synchronization across kilometers of distance—essential for large-scale scientific TOF installations. Similarly, the SMPTE ST 2059 standard addresses TOF timing needs in broadcast environments, while the AES67 protocol focuses on audio networking applications requiring precise timing.
In automotive LiDAR systems, the AUTOSAR Timing Extensions provide standardized interfaces for TOF timing, ensuring consistent performance across different vehicle platforms and sensor configurations. These specifications define timing requirements for sensor fusion applications where multiple TOF sensors must operate in harmony.
Telecommunications standards like ITU-T G.8271 establish network timing requirements critical for cellular infrastructure where TOF measurements determine mobile device positioning. These protocols define acceptable limits for timing errors, jitter, and wander that could compromise TOF measurement accuracy.
Emerging standards are addressing synchronization challenges in distributed TOF sensor networks. The OPC UA TimeSync specification enables seamless integration of industrial TOF sensors into broader automation ecosystems, while the Time-Sensitive Networking (TSN) standards from IEEE provide deterministic timing guarantees for TOF data transmission over Ethernet networks.
Compliance testing methodologies have also been standardized to verify adherence to these protocols. Test suites like the IEEE 1588 Conformance Test Suite provide objective verification of timing performance, ensuring that TOF systems maintain synchronization within specified tolerances under various operating conditions and network topologies.
Environmental Factors Affecting TOF Timing Performance
Time-of-Flight (TOF) sensing systems operate in diverse environments, each presenting unique challenges to timing performance. Temperature variations constitute a primary environmental factor affecting TOF timing accuracy. Clock oscillators exhibit temperature-dependent frequency shifts, with typical quartz oscillators demonstrating frequency variations of 0.5-50 ppm/°C depending on quality and compensation techniques. In extreme temperature environments, these variations can introduce significant timing errors, particularly in applications requiring sub-nanosecond precision.
Humidity represents another critical environmental factor, especially for outdoor or industrial TOF applications. High humidity can alter signal propagation characteristics through air, affecting time measurements. Additionally, condensation on optical components or circuit boards may lead to impedance changes and signal integrity issues, further degrading timing performance. Systems operating in variable humidity environments typically require hermetic sealing or compensation algorithms to maintain timing accuracy.
Electromagnetic interference (EMI) poses substantial challenges to TOF timing systems. External electromagnetic fields from power lines, motors, or wireless communications can induce noise in clock distribution networks, causing jitter and degrading synchronization precision. High-frequency industrial equipment often generates EMI that couples into timing circuits, necessitating careful shielding and filtering techniques to preserve signal integrity.
Mechanical vibration and shock events impact timing performance through multiple mechanisms. Crystal oscillators exhibit microphonic effects where mechanical vibrations translate into frequency modulation. In severe cases, vibration can alter the physical characteristics of timing components, leading to permanent frequency shifts. Applications in automotive, aerospace, or industrial environments must incorporate vibration isolation or employ MEMS-based timing solutions with enhanced vibration immunity.
Barometric pressure variations, particularly relevant for aerospace applications, affect oscillator frequency stability. Altitude changes can induce stress on crystal resonators, altering their resonant frequencies. Research indicates pressure sensitivity in the range of 0.05-0.2 ppm/kPa for typical crystal oscillators, becoming significant for applications operating across wide altitude ranges.
Radiation exposure in space, medical, or nuclear environments degrades semiconductor performance through ionization and displacement damage. Clock generators and synchronization circuits experience increased jitter, phase noise, and potential single-event effects under radiation. Mission-critical TOF systems in these environments require radiation-hardened components or redundant timing architectures to maintain performance integrity.
Addressing these environmental challenges requires comprehensive mitigation strategies, including temperature-compensated oscillators, environmental isolation techniques, adaptive calibration algorithms, and robust system design practices that account for the specific operational environment of the TOF application.
Humidity represents another critical environmental factor, especially for outdoor or industrial TOF applications. High humidity can alter signal propagation characteristics through air, affecting time measurements. Additionally, condensation on optical components or circuit boards may lead to impedance changes and signal integrity issues, further degrading timing performance. Systems operating in variable humidity environments typically require hermetic sealing or compensation algorithms to maintain timing accuracy.
Electromagnetic interference (EMI) poses substantial challenges to TOF timing systems. External electromagnetic fields from power lines, motors, or wireless communications can induce noise in clock distribution networks, causing jitter and degrading synchronization precision. High-frequency industrial equipment often generates EMI that couples into timing circuits, necessitating careful shielding and filtering techniques to preserve signal integrity.
Mechanical vibration and shock events impact timing performance through multiple mechanisms. Crystal oscillators exhibit microphonic effects where mechanical vibrations translate into frequency modulation. In severe cases, vibration can alter the physical characteristics of timing components, leading to permanent frequency shifts. Applications in automotive, aerospace, or industrial environments must incorporate vibration isolation or employ MEMS-based timing solutions with enhanced vibration immunity.
Barometric pressure variations, particularly relevant for aerospace applications, affect oscillator frequency stability. Altitude changes can induce stress on crystal resonators, altering their resonant frequencies. Research indicates pressure sensitivity in the range of 0.05-0.2 ppm/kPa for typical crystal oscillators, becoming significant for applications operating across wide altitude ranges.
Radiation exposure in space, medical, or nuclear environments degrades semiconductor performance through ionization and displacement damage. Clock generators and synchronization circuits experience increased jitter, phase noise, and potential single-event effects under radiation. Mission-critical TOF systems in these environments require radiation-hardened components or redundant timing architectures to maintain performance integrity.
Addressing these environmental challenges requires comprehensive mitigation strategies, including temperature-compensated oscillators, environmental isolation techniques, adaptive calibration algorithms, and robust system design practices that account for the specific operational environment of the TOF application.
Unlock deeper insights with Patsnap Eureka Quick Research — get a full tech report to explore trends and direct your research. Try now!
Generate Your Research Report Instantly with AI Agent
Supercharge your innovation with Patsnap Eureka AI Agent Platform!