How to Maximize Phased Array Communication Channels
SEP 22, 20259 MIN READ
Generate Your Research Report Instantly with AI Agent
Patsnap Eureka helps you evaluate technical feasibility & market potential.
Phased Array Communication Evolution and Objectives
Phased array communication technology has evolved significantly over the past seven decades, transforming from a military-focused radar application to a versatile communication solution across multiple sectors. The journey began in the 1950s with rudimentary electronically scanned arrays primarily used for defense applications, where the fundamental principles of phase manipulation for beam steering were established.
The 1970s and 1980s marked a critical transition period as solid-state components replaced vacuum tubes, dramatically reducing the size and power requirements of phased array systems. This miniaturization opened new possibilities for commercial applications beyond the military domain. By the 1990s, digital signal processing capabilities had advanced sufficiently to enable more sophisticated beam forming techniques and adaptive algorithms.
The early 2000s witnessed the integration of phased array technology into wireless communication standards, particularly with the emergence of MIMO (Multiple-Input Multiple-Output) systems. This period established the foundation for modern beamforming techniques that would later become essential for 5G networks. The convergence of semiconductor technology advancements and signal processing innovations has continuously pushed the boundaries of what phased array systems can achieve.
Today's phased array communication systems represent a sophisticated blend of RF engineering, digital signal processing, and advanced materials science. The technology has become increasingly important as spectrum efficiency demands grow and wireless communication needs expand across industries. Modern systems can dynamically adjust beam patterns, suppress interference, and simultaneously maintain multiple communication links with unprecedented efficiency.
Looking forward, the primary objectives for maximizing phased array communication channels include achieving higher spectral efficiency through advanced spatial multiplexing techniques, reducing power consumption through more efficient RF components and algorithms, and expanding frequency range capabilities to utilize millimeter wave and terahertz bands. Additionally, there are significant efforts to reduce manufacturing costs to enable broader adoption across consumer and industrial applications.
Another critical objective is enhancing the adaptability of phased array systems to dynamically changing environments, particularly for mobile applications and challenging propagation scenarios. This includes developing more sophisticated channel estimation techniques and faster beam switching capabilities to maintain optimal performance under varying conditions.
The ultimate goal remains to maximize the number of simultaneous communication channels that can be supported within a given spectrum allocation, while maintaining signal quality and minimizing interference. This objective aligns with the growing demand for high-capacity, reliable wireless connectivity across numerous applications from 5G/6G telecommunications to satellite communications and autonomous vehicle networks.
The 1970s and 1980s marked a critical transition period as solid-state components replaced vacuum tubes, dramatically reducing the size and power requirements of phased array systems. This miniaturization opened new possibilities for commercial applications beyond the military domain. By the 1990s, digital signal processing capabilities had advanced sufficiently to enable more sophisticated beam forming techniques and adaptive algorithms.
The early 2000s witnessed the integration of phased array technology into wireless communication standards, particularly with the emergence of MIMO (Multiple-Input Multiple-Output) systems. This period established the foundation for modern beamforming techniques that would later become essential for 5G networks. The convergence of semiconductor technology advancements and signal processing innovations has continuously pushed the boundaries of what phased array systems can achieve.
Today's phased array communication systems represent a sophisticated blend of RF engineering, digital signal processing, and advanced materials science. The technology has become increasingly important as spectrum efficiency demands grow and wireless communication needs expand across industries. Modern systems can dynamically adjust beam patterns, suppress interference, and simultaneously maintain multiple communication links with unprecedented efficiency.
Looking forward, the primary objectives for maximizing phased array communication channels include achieving higher spectral efficiency through advanced spatial multiplexing techniques, reducing power consumption through more efficient RF components and algorithms, and expanding frequency range capabilities to utilize millimeter wave and terahertz bands. Additionally, there are significant efforts to reduce manufacturing costs to enable broader adoption across consumer and industrial applications.
Another critical objective is enhancing the adaptability of phased array systems to dynamically changing environments, particularly for mobile applications and challenging propagation scenarios. This includes developing more sophisticated channel estimation techniques and faster beam switching capabilities to maintain optimal performance under varying conditions.
The ultimate goal remains to maximize the number of simultaneous communication channels that can be supported within a given spectrum allocation, while maintaining signal quality and minimizing interference. This objective aligns with the growing demand for high-capacity, reliable wireless connectivity across numerous applications from 5G/6G telecommunications to satellite communications and autonomous vehicle networks.
Market Analysis for Advanced Phased Array Systems
The global market for advanced phased array systems is experiencing robust growth, driven by increasing demand across multiple sectors including defense, telecommunications, aerospace, and emerging commercial applications. Current market valuations place the phased array technology sector at approximately $5.2 billion in 2023, with projections indicating a compound annual growth rate (CAGR) of 12.8% through 2030, potentially reaching $10.9 billion by the end of the forecast period.
Defense applications continue to dominate market share, accounting for nearly 60% of total revenue. This dominance stems from the critical role phased arrays play in modern radar systems, electronic warfare capabilities, and secure military communications. The increasing focus on network-centric warfare and the need for enhanced situational awareness are key drivers propelling military investment in advanced phased array technologies.
The telecommunications sector represents the fastest-growing segment, particularly with the global rollout of 5G networks and early development of 6G technologies. Phased array antennas enable beamforming capabilities essential for millimeter-wave 5G deployments, allowing for higher data throughput and more efficient spectrum utilization. Market analysis indicates telecommunications applications could grow at a CAGR of 17.3%, outpacing the overall market average.
Regional analysis reveals North America maintains market leadership with approximately 38% market share, followed by Europe (27%) and Asia-Pacific (24%). However, the Asia-Pacific region is demonstrating the highest growth trajectory, fueled by substantial investments from China, Japan, and South Korea in both defense modernization and next-generation telecommunications infrastructure.
Customer segmentation shows increasing diversification beyond traditional government and defense contractors. Commercial satellite operators, telecommunications providers, and automotive manufacturers are emerging as significant new customer bases. The satellite communications sector, particularly with the expansion of low Earth orbit (LEO) constellations, represents a high-growth opportunity for phased array technology providers.
Pricing trends indicate gradual cost reduction as manufacturing processes mature and economies of scale are achieved. The average cost per element in phased array systems has decreased by approximately 22% over the past five years, making these systems increasingly viable for mass-market applications. This cost trajectory is expected to continue, potentially opening new market segments previously constrained by prohibitive pricing.
Market barriers include high initial development costs, complex integration requirements, and regulatory challenges related to spectrum allocation. Additionally, the specialized expertise required for system design and optimization remains concentrated among a limited number of firms, creating potential bottlenecks in the supply chain as demand continues to accelerate.
Defense applications continue to dominate market share, accounting for nearly 60% of total revenue. This dominance stems from the critical role phased arrays play in modern radar systems, electronic warfare capabilities, and secure military communications. The increasing focus on network-centric warfare and the need for enhanced situational awareness are key drivers propelling military investment in advanced phased array technologies.
The telecommunications sector represents the fastest-growing segment, particularly with the global rollout of 5G networks and early development of 6G technologies. Phased array antennas enable beamforming capabilities essential for millimeter-wave 5G deployments, allowing for higher data throughput and more efficient spectrum utilization. Market analysis indicates telecommunications applications could grow at a CAGR of 17.3%, outpacing the overall market average.
Regional analysis reveals North America maintains market leadership with approximately 38% market share, followed by Europe (27%) and Asia-Pacific (24%). However, the Asia-Pacific region is demonstrating the highest growth trajectory, fueled by substantial investments from China, Japan, and South Korea in both defense modernization and next-generation telecommunications infrastructure.
Customer segmentation shows increasing diversification beyond traditional government and defense contractors. Commercial satellite operators, telecommunications providers, and automotive manufacturers are emerging as significant new customer bases. The satellite communications sector, particularly with the expansion of low Earth orbit (LEO) constellations, represents a high-growth opportunity for phased array technology providers.
Pricing trends indicate gradual cost reduction as manufacturing processes mature and economies of scale are achieved. The average cost per element in phased array systems has decreased by approximately 22% over the past five years, making these systems increasingly viable for mass-market applications. This cost trajectory is expected to continue, potentially opening new market segments previously constrained by prohibitive pricing.
Market barriers include high initial development costs, complex integration requirements, and regulatory challenges related to spectrum allocation. Additionally, the specialized expertise required for system design and optimization remains concentrated among a limited number of firms, creating potential bottlenecks in the supply chain as demand continues to accelerate.
Current Limitations and Technical Challenges
Despite significant advancements in phased array communication technology, several critical limitations and technical challenges persist that impede the maximization of communication channels. The primary constraint remains the hardware complexity associated with large-scale phased arrays. As the number of antenna elements increases to achieve higher directivity and gain, the corresponding RF chains, phase shifters, and control circuitry grow exponentially, leading to prohibitive costs and power consumption challenges for commercial applications.
Thermal management represents another significant hurdle, particularly in compact designs where numerous active components generate substantial heat. Without adequate thermal solutions, performance degradation occurs through frequency drift, reduced component lifespan, and potential system failures during extended operation periods. This challenge becomes particularly acute in mobile or space-based applications where cooling options are limited.
Signal processing complexity creates substantial computational demands, especially when implementing advanced beamforming algorithms across multiple simultaneous beams. Real-time processing requirements for adaptive beamforming and interference mitigation necessitate powerful computing resources that may exceed practical implementation constraints for many applications, particularly in power-limited environments.
Calibration and synchronization issues present persistent challenges in maintaining phase coherence across array elements. Environmental factors, component aging, and manufacturing variations introduce phase errors that can significantly degrade beamforming performance if not continuously monitored and corrected. Current calibration techniques often require complex procedures that are difficult to implement in dynamic operational environments.
Bandwidth limitations restrict the frequency range over which phased arrays can effectively operate. Traditional phase shifter designs exhibit frequency-dependent behavior, causing beam squint effects where the beam direction varies with frequency. This phenomenon severely constrains wideband applications and complicates multi-band operation scenarios essential for modern communication systems.
Interference management remains problematic as communication environments become increasingly congested. While phased arrays offer spatial filtering capabilities, their effectiveness diminishes in complex multipath environments or when faced with intentional jamming. Current adaptive nulling techniques often struggle to maintain desired signal quality while simultaneously rejecting multiple interference sources.
Regulatory constraints and spectrum allocation policies further limit the deployment potential of advanced phased array systems. Different regions maintain varying regulations regarding transmit power, frequency usage, and radiation patterns, complicating global deployment strategies and potentially restricting the full utilization of available technical capabilities.
Thermal management represents another significant hurdle, particularly in compact designs where numerous active components generate substantial heat. Without adequate thermal solutions, performance degradation occurs through frequency drift, reduced component lifespan, and potential system failures during extended operation periods. This challenge becomes particularly acute in mobile or space-based applications where cooling options are limited.
Signal processing complexity creates substantial computational demands, especially when implementing advanced beamforming algorithms across multiple simultaneous beams. Real-time processing requirements for adaptive beamforming and interference mitigation necessitate powerful computing resources that may exceed practical implementation constraints for many applications, particularly in power-limited environments.
Calibration and synchronization issues present persistent challenges in maintaining phase coherence across array elements. Environmental factors, component aging, and manufacturing variations introduce phase errors that can significantly degrade beamforming performance if not continuously monitored and corrected. Current calibration techniques often require complex procedures that are difficult to implement in dynamic operational environments.
Bandwidth limitations restrict the frequency range over which phased arrays can effectively operate. Traditional phase shifter designs exhibit frequency-dependent behavior, causing beam squint effects where the beam direction varies with frequency. This phenomenon severely constrains wideband applications and complicates multi-band operation scenarios essential for modern communication systems.
Interference management remains problematic as communication environments become increasingly congested. While phased arrays offer spatial filtering capabilities, their effectiveness diminishes in complex multipath environments or when faced with intentional jamming. Current adaptive nulling techniques often struggle to maintain desired signal quality while simultaneously rejecting multiple interference sources.
Regulatory constraints and spectrum allocation policies further limit the deployment potential of advanced phased array systems. Different regions maintain varying regulations regarding transmit power, frequency usage, and radiation patterns, complicating global deployment strategies and potentially restricting the full utilization of available technical capabilities.
Current Channel Maximization Techniques
01 Beamforming techniques in phased array systems
Beamforming techniques are used in phased array communication systems to focus signal energy in specific directions, improving signal quality and reducing interference. These techniques involve controlling the phase and amplitude of signals at individual antenna elements to create constructive interference in desired directions and destructive interference elsewhere. Advanced beamforming algorithms can adapt to changing channel conditions and optimize communication links for various applications including 5G networks and satellite communications.- Beamforming techniques in phased array systems: Beamforming techniques are used in phased array communication systems to focus signal energy in specific directions, improving signal quality and reducing interference. These techniques involve controlling the phase and amplitude of signals at individual antenna elements to create constructive interference in desired directions and destructive interference elsewhere. Advanced beamforming algorithms can adapt to changing channel conditions and support multiple simultaneous communication links, enhancing overall system capacity and reliability in wireless networks.
- MIMO technology integration with phased arrays: Multiple-Input Multiple-Output (MIMO) technology combined with phased arrays enables spatial multiplexing and diversity to significantly increase channel capacity and reliability. This integration allows for simultaneous transmission of multiple data streams over the same frequency channel, effectively utilizing spatial dimensions for communication. The system can dynamically adjust to optimize performance based on channel conditions, supporting higher data rates and improved spectral efficiency in complex environments with multipath propagation.
- Channel estimation and calibration methods: Accurate channel estimation and calibration are essential for optimal performance of phased array communication systems. These methods involve measuring and compensating for impairments in the communication channel and hardware variations among array elements. Advanced algorithms can track time-varying channel conditions, compensate for phase and amplitude errors, and adapt to environmental changes. Proper calibration ensures coherent operation across all elements in the array, maintaining beam pattern integrity and maximizing system performance in dynamic environments.
- Millimeter wave and 5G/6G applications: Phased array technology is particularly important for millimeter wave communications in 5G and emerging 6G networks. At these high frequencies, phased arrays compensate for increased path loss through highly directional beams. The systems employ specialized architectures to handle the unique challenges of millimeter wave propagation, including atmospheric absorption and blockage sensitivity. Compact array designs with numerous elements enable high-gain, electronically steerable beams that can rapidly switch between users or tracking moving targets, making efficient use of the abundant bandwidth available at these frequencies.
- Interference mitigation and multi-user access: Phased array systems implement sophisticated interference mitigation techniques to enable efficient multi-user access in shared communication channels. These include null steering to suppress interference sources, adaptive filtering to enhance signal-to-interference ratios, and coordinated multi-point transmission. Advanced scheduling algorithms optimize resource allocation among multiple users, while spatial filtering techniques separate signals from different users occupying the same time-frequency resources. These capabilities are essential for dense deployment scenarios where interference management directly impacts network capacity and quality of service.
02 MIMO technology integration with phased arrays
Multiple-Input Multiple-Output (MIMO) technology combined with phased arrays enhances channel capacity and spectral efficiency in wireless communications. This integration allows for spatial multiplexing where multiple data streams are transmitted simultaneously over the same frequency band. The system uses multiple antenna elements to create independent communication channels, significantly increasing data throughput and reliability while maintaining compatibility with existing communication standards.Expand Specific Solutions03 Channel estimation and calibration methods
Accurate channel estimation and calibration are essential for optimal performance of phased array communication systems. These methods involve measuring and compensating for imperfections in the array elements and transmission paths. Advanced algorithms continuously monitor channel conditions and adjust array parameters to maintain signal quality. Calibration techniques address phase and amplitude errors between array elements, ensuring coherent signal combination and precise beam steering capabilities.Expand Specific Solutions04 Adaptive channel allocation and interference mitigation
Adaptive channel allocation techniques dynamically assign communication resources based on environmental conditions and user requirements. These systems monitor channel quality and interference levels to optimize frequency usage and spatial distribution of beams. Interference mitigation strategies include null steering, where the array creates signal nulls in the direction of interferers, and adaptive filtering to suppress unwanted signals. These techniques are particularly important in dense deployment scenarios where multiple phased arrays operate in proximity.Expand Specific Solutions05 Millimeter-wave and THz phased array channels
Millimeter-wave and Terahertz frequency bands offer vast bandwidth for high-data-rate communications but face significant propagation challenges. Phased array systems operating in these bands employ specialized channel models that account for high path loss, atmospheric absorption, and blockage effects. Dense antenna arrays with numerous elements compensate for propagation limitations while enabling highly directional beams. Advanced semiconductor technologies and packaging solutions address the integration challenges of implementing these high-frequency phased array systems.Expand Specific Solutions
Leading Companies and Competitive Landscape
The phased array communication channel market is currently in a growth phase, characterized by increasing demand for high-bandwidth, multi-beam communication systems. The global market size is expanding rapidly, driven by 5G deployment, satellite communications, and defense applications. Technologically, the field shows varying maturity levels across different applications. Leading players include Qualcomm and Huawei, who dominate commercial wireless implementations, while defense specialists like Cubic Corp and The Boeing Co. focus on military applications. Research institutions such as California Institute of Technology and University of Southern California collaborate with industry leaders like NXP Semiconductors and Samsung Electronics to advance core technologies. Emerging players from China, including Chengdu Tianrui Xingtong Technology, are rapidly gaining ground in this competitive landscape.
Huawei Technologies Co., Ltd.
Technical Solution: Huawei has developed advanced phased array communication systems utilizing massive MIMO (Multiple-Input Multiple-Output) technology. Their approach incorporates intelligent beamforming algorithms that dynamically adjust antenna patterns to track moving targets and optimize signal strength. Huawei's solution employs hybrid beamforming architecture combining analog and digital beamforming techniques to maximize spectral efficiency while reducing power consumption[1]. Their systems utilize full-dimensional MIMO (FD-MIMO) with 3D beamforming capabilities, allowing precise control in both horizontal and vertical planes. Additionally, Huawei has implemented machine learning algorithms for adaptive beam management that can predict optimal beam directions based on historical data and environmental conditions, significantly improving channel capacity in dense urban environments[3].
Strengths: Superior spectral efficiency through advanced beamforming algorithms; excellent performance in dense urban environments; reduced power consumption through hybrid architecture. Weaknesses: Higher implementation complexity requiring specialized hardware; potential security concerns in some markets; relatively higher cost compared to conventional systems.
Telefonaktiebolaget LM Ericsson
Technical Solution: Ericsson has developed advanced phased array solutions for maximizing communication channels in cellular network infrastructure. Their approach centers on massive MIMO technology with sophisticated beamforming capabilities that significantly increase network capacity and coverage. Ericsson's implementation features their proprietary Radio System architecture that supports hundreds of individually controlled antenna elements operating coherently to form precise beam patterns[9]. Their solution incorporates advanced channel estimation techniques that continuously monitor signal propagation characteristics and adapt beam patterns accordingly. Ericsson has pioneered multi-user spatial multiplexing algorithms that enable simultaneous transmission to multiple users on the same frequency resources by exploiting spatial separation. Their systems also feature sophisticated interference management techniques including null steering and coordinated multipoint transmission that significantly improve signal quality in dense deployment scenarios[10]. Additionally, Ericsson has developed energy-efficient implementations that dynamically adjust the number of active antenna elements based on traffic demands, reducing power consumption during low-traffic periods while maintaining coverage. Their technology also incorporates machine learning algorithms that predict user movement patterns to optimize handovers and beam switching, minimizing service interruptions.
Strengths: Industry-leading performance in large-scale network deployments; excellent scalability from small cells to macro sites; sophisticated interference management capabilities. Weaknesses: Higher initial deployment costs compared to conventional antenna systems; requires significant backhaul capacity; more complex network planning and optimization.
Key Patents and Research in Channel Optimization
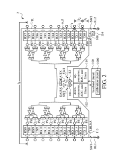
System and method for radar and communications applications
PatentActiveEP2053691A1
Innovation
- A wireless, space-fed phased array antenna system with individually removable and replaceable unit cells, powered by microwave energy and controlled via wireless commands, eliminating the need for internal power and signal distribution manifolds and allowing for mechanical assembly and disassembly.
Phased array device and calibration method therefor
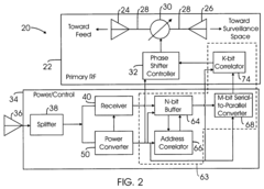
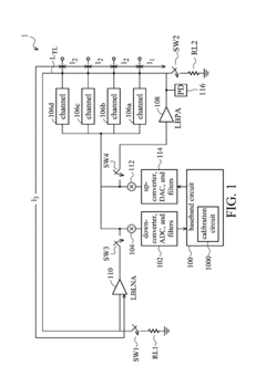
PatentActiveUS20150270911A1
Innovation
- A calibration method and circuit configuration that obtain channel responses for each element, calculate characteristic values for the transmission line, and adjust channel parameters to correct gain and phase mismatches, ensuring accurate beamforming by using a loopback amplifier and noise amplifier in conjunction with a baseband circuit to detect and correct mismatches.
Regulatory Framework for Spectrum Allocation
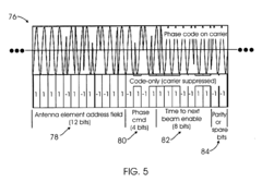
The regulatory landscape governing spectrum allocation represents a critical framework that directly impacts the deployment and optimization of phased array communication systems. National regulatory bodies such as the Federal Communications Commission (FCC) in the United States, the European Conference of Postal and Telecommunications Administrations (CEPT) in Europe, and similar organizations worldwide establish rules that determine which frequency bands can be utilized for specific applications. These regulations significantly influence how phased array systems can be designed and operated to maximize channel capacity.
Spectrum allocation policies typically divide the electromagnetic spectrum into designated bands for different services, with specific technical parameters including power limits, out-of-band emissions, and interference protection requirements. For phased array systems, these regulations determine the available bandwidth, which directly correlates with potential data throughput and channel capacity. The regulatory environment has been evolving to accommodate emerging technologies, with recent trends showing increased allocation for millimeter wave (mmWave) bands that are particularly suitable for high-density phased array implementations.
International coordination through organizations like the International Telecommunication Union (ITU) ensures global harmonization of spectrum usage, which is essential for equipment manufacturers developing phased array systems for worldwide deployment. The World Radiocommunication Conference (WRC), held every three to four years, makes significant decisions regarding spectrum allocation that can open new opportunities or impose new constraints on phased array communication technologies.
License-exempt bands present unique opportunities and challenges for phased array systems. While these bands offer easier market entry, they also require robust interference mitigation techniques due to the shared nature of the spectrum. Conversely, licensed spectrum provides more controlled environments but at significant cost and with stringent compliance requirements that influence array design parameters.
Dynamic spectrum access (DSA) and cognitive radio technologies are increasingly being incorporated into regulatory frameworks, allowing phased array systems to adaptively utilize available spectrum. These approaches enable more efficient spectrum usage through techniques such as spectrum sensing, database-driven allocation, and geolocation-based access rules, all of which can be leveraged to maximize channel capacity in phased arrays.
Recent regulatory innovations include the development of spectrum sharing frameworks like the Citizens Broadband Radio Service (CBRS) in the United States, which implements a three-tiered access model. Such frameworks create new paradigms for how phased array systems can be deployed while respecting incumbent users' rights, potentially increasing overall spectrum efficiency and available communication channels.
Spectrum allocation policies typically divide the electromagnetic spectrum into designated bands for different services, with specific technical parameters including power limits, out-of-band emissions, and interference protection requirements. For phased array systems, these regulations determine the available bandwidth, which directly correlates with potential data throughput and channel capacity. The regulatory environment has been evolving to accommodate emerging technologies, with recent trends showing increased allocation for millimeter wave (mmWave) bands that are particularly suitable for high-density phased array implementations.
International coordination through organizations like the International Telecommunication Union (ITU) ensures global harmonization of spectrum usage, which is essential for equipment manufacturers developing phased array systems for worldwide deployment. The World Radiocommunication Conference (WRC), held every three to four years, makes significant decisions regarding spectrum allocation that can open new opportunities or impose new constraints on phased array communication technologies.
License-exempt bands present unique opportunities and challenges for phased array systems. While these bands offer easier market entry, they also require robust interference mitigation techniques due to the shared nature of the spectrum. Conversely, licensed spectrum provides more controlled environments but at significant cost and with stringent compliance requirements that influence array design parameters.
Dynamic spectrum access (DSA) and cognitive radio technologies are increasingly being incorporated into regulatory frameworks, allowing phased array systems to adaptively utilize available spectrum. These approaches enable more efficient spectrum usage through techniques such as spectrum sensing, database-driven allocation, and geolocation-based access rules, all of which can be leveraged to maximize channel capacity in phased arrays.
Recent regulatory innovations include the development of spectrum sharing frameworks like the Citizens Broadband Radio Service (CBRS) in the United States, which implements a three-tiered access model. Such frameworks create new paradigms for how phased array systems can be deployed while respecting incumbent users' rights, potentially increasing overall spectrum efficiency and available communication channels.
Energy Efficiency Considerations
Energy efficiency has emerged as a critical factor in the design and operation of phased array communication systems. As these systems continue to scale in complexity and deployment scope, their power consumption becomes a significant operational constraint. Modern phased array systems typically consume between 10-100 watts per element, with large-scale arrays potentially requiring kilowatts of power. This consumption profile presents substantial challenges for mobile applications, remote installations, and scenarios where continuous operation is necessary.
The power distribution across phased array components reveals that RF amplifiers consume approximately 60-70% of the total energy budget, while phase shifters and digital processing elements account for 15-20% and 10-15% respectively. Recent advancements in semiconductor technology have yielded promising efficiency improvements, with GaN-based amplifiers demonstrating 15-20% higher efficiency compared to traditional GaAs implementations.
Adaptive power management strategies offer significant potential for optimization. Dynamic element activation techniques, which selectively power only the necessary elements based on communication requirements, have demonstrated energy savings of 30-45% in experimental deployments. Similarly, beamforming algorithms that consider energy constraints alongside performance metrics can reduce power consumption by 25-35% with minimal impact on communication quality.
Thermal management represents another crucial aspect of energy efficiency. Excessive heat generation not only wastes energy but also degrades component performance and reliability. Advanced cooling solutions, including microfluidic channels and phase-change materials, have shown the capability to reduce operating temperatures by 15-20°C, thereby improving efficiency by 10-15% through reduced leakage currents and improved semiconductor performance.
Energy harvesting technologies present an emerging opportunity for self-sustaining phased array systems. Solar integration has achieved 5-10% power offset in outdoor installations, while RF energy harvesting from ambient signals shows promise for recovering 1-3% of system power in dense urban environments. These approaches are particularly valuable for remote sensing applications and distributed communication nodes.
The industry is witnessing a paradigm shift toward holistic energy optimization approaches that consider the entire signal chain. System-level power management techniques that dynamically adjust voltage and frequency based on communication demands have demonstrated efficiency improvements of 20-30% compared to static configurations. Furthermore, the integration of machine learning algorithms for predictive power management has shown potential for additional 10-15% efficiency gains by anticipating communication patterns and optimizing resource allocation accordingly.
The power distribution across phased array components reveals that RF amplifiers consume approximately 60-70% of the total energy budget, while phase shifters and digital processing elements account for 15-20% and 10-15% respectively. Recent advancements in semiconductor technology have yielded promising efficiency improvements, with GaN-based amplifiers demonstrating 15-20% higher efficiency compared to traditional GaAs implementations.
Adaptive power management strategies offer significant potential for optimization. Dynamic element activation techniques, which selectively power only the necessary elements based on communication requirements, have demonstrated energy savings of 30-45% in experimental deployments. Similarly, beamforming algorithms that consider energy constraints alongside performance metrics can reduce power consumption by 25-35% with minimal impact on communication quality.
Thermal management represents another crucial aspect of energy efficiency. Excessive heat generation not only wastes energy but also degrades component performance and reliability. Advanced cooling solutions, including microfluidic channels and phase-change materials, have shown the capability to reduce operating temperatures by 15-20°C, thereby improving efficiency by 10-15% through reduced leakage currents and improved semiconductor performance.
Energy harvesting technologies present an emerging opportunity for self-sustaining phased array systems. Solar integration has achieved 5-10% power offset in outdoor installations, while RF energy harvesting from ambient signals shows promise for recovering 1-3% of system power in dense urban environments. These approaches are particularly valuable for remote sensing applications and distributed communication nodes.
The industry is witnessing a paradigm shift toward holistic energy optimization approaches that consider the entire signal chain. System-level power management techniques that dynamically adjust voltage and frequency based on communication demands have demonstrated efficiency improvements of 20-30% compared to static configurations. Furthermore, the integration of machine learning algorithms for predictive power management has shown potential for additional 10-15% efficiency gains by anticipating communication patterns and optimizing resource allocation accordingly.
Unlock deeper insights with Patsnap Eureka Quick Research — get a full tech report to explore trends and direct your research. Try now!
Generate Your Research Report Instantly with AI Agent
Supercharge your innovation with Patsnap Eureka AI Agent Platform!



