How to Upgrade Phased Array Infrastructure for Higher Output
SEP 22, 20259 MIN READ
Generate Your Research Report Instantly with AI Agent
Patsnap Eureka helps you evaluate technical feasibility & market potential.
Phased Array Technology Evolution and Objectives
Phased array technology has evolved significantly since its inception in the 1950s, initially developed for military radar applications. The fundamental principle of electronically steering radio waves without mechanical movement has remained constant, while implementation technologies have advanced dramatically. Early systems utilized analog phase shifters and limited processing capabilities, resulting in bulky installations with modest output power and beam control precision.
The 1980s marked a pivotal transition with the introduction of digital signal processing techniques, enabling more sophisticated beam forming algorithms and improved interference management. By the early 2000s, gallium arsenide (GaAs) semiconductor technology facilitated higher frequency operations and miniaturization of array elements, leading to more compact and efficient systems.
Recent advancements have been driven by the emergence of gallium nitride (GaN) technology, which has revolutionized power handling capabilities. GaN-based transmit/receive modules deliver significantly higher power density compared to previous semiconductor technologies, while maintaining thermal stability across broader operating conditions. This has enabled phased arrays to achieve unprecedented output levels while reducing system size and cooling requirements.
The integration of artificial intelligence and machine learning algorithms represents the latest evolutionary step, allowing for adaptive beam forming and real-time optimization of array performance based on environmental conditions and operational requirements. These systems can now dynamically adjust power distribution across elements to maximize effective radiated power where needed most.
Current technical objectives for phased array infrastructure upgrades focus on several key areas. First, increasing power output efficiency through improved semiconductor materials and thermal management techniques. Second, enhancing bandwidth capabilities to support multi-function operations across diverse frequency ranges. Third, implementing more sophisticated digital beam forming techniques that can support multiple simultaneous beams with independent control parameters.
Additional objectives include reducing system cost through modular design approaches and commercial off-the-shelf components, improving reliability through redundant architectures, and minimizing maintenance requirements. The industry is also pursuing greater integration density to reduce size, weight, and power consumption while maintaining or improving performance metrics.
The ultimate goal is to develop phased array systems capable of delivering precisely controlled high-power outputs with dynamic reconfigurability, supporting applications ranging from next-generation telecommunications to advanced radar systems and directed energy applications. This requires interdisciplinary advancements in materials science, thermal engineering, digital signal processing, and power electronics working in concert.
The 1980s marked a pivotal transition with the introduction of digital signal processing techniques, enabling more sophisticated beam forming algorithms and improved interference management. By the early 2000s, gallium arsenide (GaAs) semiconductor technology facilitated higher frequency operations and miniaturization of array elements, leading to more compact and efficient systems.
Recent advancements have been driven by the emergence of gallium nitride (GaN) technology, which has revolutionized power handling capabilities. GaN-based transmit/receive modules deliver significantly higher power density compared to previous semiconductor technologies, while maintaining thermal stability across broader operating conditions. This has enabled phased arrays to achieve unprecedented output levels while reducing system size and cooling requirements.
The integration of artificial intelligence and machine learning algorithms represents the latest evolutionary step, allowing for adaptive beam forming and real-time optimization of array performance based on environmental conditions and operational requirements. These systems can now dynamically adjust power distribution across elements to maximize effective radiated power where needed most.
Current technical objectives for phased array infrastructure upgrades focus on several key areas. First, increasing power output efficiency through improved semiconductor materials and thermal management techniques. Second, enhancing bandwidth capabilities to support multi-function operations across diverse frequency ranges. Third, implementing more sophisticated digital beam forming techniques that can support multiple simultaneous beams with independent control parameters.
Additional objectives include reducing system cost through modular design approaches and commercial off-the-shelf components, improving reliability through redundant architectures, and minimizing maintenance requirements. The industry is also pursuing greater integration density to reduce size, weight, and power consumption while maintaining or improving performance metrics.
The ultimate goal is to develop phased array systems capable of delivering precisely controlled high-power outputs with dynamic reconfigurability, supporting applications ranging from next-generation telecommunications to advanced radar systems and directed energy applications. This requires interdisciplinary advancements in materials science, thermal engineering, digital signal processing, and power electronics working in concert.
Market Demand Analysis for High-Output Phased Arrays
The global market for high-output phased array systems is experiencing robust growth, driven primarily by increasing defense modernization programs and the expanding applications in commercial sectors. Current market valuations indicate that the phased array radar market alone is expected to reach $13.2 billion by 2025, with a compound annual growth rate of 15.4% from 2020. This significant growth trajectory underscores the critical demand for upgraded phased array infrastructure capable of delivering higher output performance.
Defense sector requirements continue to be the primary market driver, with nations worldwide investing heavily in advanced radar systems for air defense, missile guidance, and surveillance applications. The need for longer detection ranges, improved target discrimination, and enhanced resistance to electronic countermeasures is pushing the demand for higher power output capabilities in phased array systems. Military end-users specifically seek systems that can maintain operational effectiveness in contested electromagnetic environments.
In the commercial sector, the rapid expansion of 5G networks represents a substantial market opportunity for high-output phased arrays. Telecommunications providers require more powerful and efficient antenna systems to support the increased data throughput and coverage demands of next-generation networks. Market research indicates that approximately 67% of telecom operators plan to upgrade their infrastructure with advanced phased array technologies within the next three years.
Weather forecasting and climate monitoring applications are emerging as another significant market segment. Meteorological agencies are investing in high-resolution weather radar networks that require enhanced power output to improve precipitation measurement accuracy and extend detection ranges. This market segment is projected to grow at 12.8% annually through 2026.
The aerospace industry presents additional demand drivers, with satellite communications and space-based radar systems requiring more powerful phased arrays. The growing commercial space sector, including satellite internet constellations, is creating sustained demand for high-performance antenna systems capable of maintaining reliable communications links across vast distances.
Regional analysis reveals that North America currently holds the largest market share at 38%, followed by Europe at 27% and Asia-Pacific at 24%. However, the Asia-Pacific region is expected to witness the fastest growth rate due to increasing defense modernization initiatives in countries like China, India, and Japan, along with rapid telecommunications infrastructure development.
Customer requirements across these markets consistently emphasize several key performance attributes: higher power output density, improved energy efficiency, enhanced thermal management capabilities, and reduced system size and weight. These demands are directly shaping the technical requirements for next-generation phased array infrastructure upgrades.
Defense sector requirements continue to be the primary market driver, with nations worldwide investing heavily in advanced radar systems for air defense, missile guidance, and surveillance applications. The need for longer detection ranges, improved target discrimination, and enhanced resistance to electronic countermeasures is pushing the demand for higher power output capabilities in phased array systems. Military end-users specifically seek systems that can maintain operational effectiveness in contested electromagnetic environments.
In the commercial sector, the rapid expansion of 5G networks represents a substantial market opportunity for high-output phased arrays. Telecommunications providers require more powerful and efficient antenna systems to support the increased data throughput and coverage demands of next-generation networks. Market research indicates that approximately 67% of telecom operators plan to upgrade their infrastructure with advanced phased array technologies within the next three years.
Weather forecasting and climate monitoring applications are emerging as another significant market segment. Meteorological agencies are investing in high-resolution weather radar networks that require enhanced power output to improve precipitation measurement accuracy and extend detection ranges. This market segment is projected to grow at 12.8% annually through 2026.
The aerospace industry presents additional demand drivers, with satellite communications and space-based radar systems requiring more powerful phased arrays. The growing commercial space sector, including satellite internet constellations, is creating sustained demand for high-performance antenna systems capable of maintaining reliable communications links across vast distances.
Regional analysis reveals that North America currently holds the largest market share at 38%, followed by Europe at 27% and Asia-Pacific at 24%. However, the Asia-Pacific region is expected to witness the fastest growth rate due to increasing defense modernization initiatives in countries like China, India, and Japan, along with rapid telecommunications infrastructure development.
Customer requirements across these markets consistently emphasize several key performance attributes: higher power output density, improved energy efficiency, enhanced thermal management capabilities, and reduced system size and weight. These demands are directly shaping the technical requirements for next-generation phased array infrastructure upgrades.
Current Limitations and Technical Challenges
Current phased array systems face significant limitations that impede their ability to deliver higher output performance. The primary constraint lies in the power handling capacity of individual transmit/receive (T/R) modules, which typically operate at 5-10W per element. When scaled to arrays with hundreds or thousands of elements, thermal management becomes a critical bottleneck, as heat dissipation challenges limit the sustainable power output and operational duty cycle.
Signal integrity degradation presents another major challenge, particularly in high-power applications. As power levels increase, nonlinear effects in amplifiers and phase shifters become more pronounced, leading to signal distortion, intermodulation products, and reduced beam quality. These effects compromise the precision of beam steering and pattern formation that are essential to phased array functionality.
Bandwidth limitations further restrict performance, with most current systems optimized for relatively narrow frequency bands. This constraint stems from the frequency-dependent behavior of phase shifters, amplifiers, and antenna elements, making it difficult to achieve consistent performance across wide frequency ranges. The resulting trade-off between bandwidth and output power represents a significant technical hurdle.
Manufacturing and integration challenges also impede advancement. The dense packaging required for high-element-count arrays creates complex thermal, electromagnetic, and mechanical interfaces. Current manufacturing techniques struggle to maintain the necessary precision while scaling to larger arrays, resulting in yield issues and increased costs that limit widespread deployment of high-power systems.
Power supply and distribution networks within phased arrays introduce additional limitations. Voltage drops, current handling capacity, and switching noise all affect system performance, particularly when attempting to drive multiple elements at high power levels simultaneously. The power distribution architecture often becomes a limiting factor in achieving uniform, high-power operation across the entire array.
Calibration and control systems face increasing complexity with higher power outputs. Phase and amplitude errors that might be tolerable at lower power levels become critical at higher outputs, where beam pointing accuracy and sidelobe suppression requirements are more stringent. Current calibration techniques often lack the precision needed for high-power applications, especially when accounting for thermal drift during operation.
Material limitations present fundamental barriers to higher output. Semiconductor technologies used in power amplifiers have inherent breakdown voltage and current density limitations. Similarly, dielectric materials in phase shifters and transmission lines exhibit increased losses at higher power levels, further constraining system performance.
Signal integrity degradation presents another major challenge, particularly in high-power applications. As power levels increase, nonlinear effects in amplifiers and phase shifters become more pronounced, leading to signal distortion, intermodulation products, and reduced beam quality. These effects compromise the precision of beam steering and pattern formation that are essential to phased array functionality.
Bandwidth limitations further restrict performance, with most current systems optimized for relatively narrow frequency bands. This constraint stems from the frequency-dependent behavior of phase shifters, amplifiers, and antenna elements, making it difficult to achieve consistent performance across wide frequency ranges. The resulting trade-off between bandwidth and output power represents a significant technical hurdle.
Manufacturing and integration challenges also impede advancement. The dense packaging required for high-element-count arrays creates complex thermal, electromagnetic, and mechanical interfaces. Current manufacturing techniques struggle to maintain the necessary precision while scaling to larger arrays, resulting in yield issues and increased costs that limit widespread deployment of high-power systems.
Power supply and distribution networks within phased arrays introduce additional limitations. Voltage drops, current handling capacity, and switching noise all affect system performance, particularly when attempting to drive multiple elements at high power levels simultaneously. The power distribution architecture often becomes a limiting factor in achieving uniform, high-power operation across the entire array.
Calibration and control systems face increasing complexity with higher power outputs. Phase and amplitude errors that might be tolerable at lower power levels become critical at higher outputs, where beam pointing accuracy and sidelobe suppression requirements are more stringent. Current calibration techniques often lack the precision needed for high-power applications, especially when accounting for thermal drift during operation.
Material limitations present fundamental barriers to higher output. Semiconductor technologies used in power amplifiers have inherent breakdown voltage and current density limitations. Similarly, dielectric materials in phase shifters and transmission lines exhibit increased losses at higher power levels, further constraining system performance.
Current High-Output Enhancement Solutions
01 Phased Array Antenna Design and Configuration
Phased array antennas are designed with multiple radiating elements arranged in specific configurations to enable beam steering and forming. These designs incorporate various element arrangements, spacing considerations, and feed networks to optimize signal transmission and reception. Advanced configurations may include adaptive elements that can dynamically adjust to changing environmental conditions or requirements, enhancing the overall performance of communication systems.- Phased array antenna design and configuration: Phased array antennas are designed with multiple radiating elements arranged in specific configurations to enable beam steering and forming. These designs include various element arrangements, spacing considerations, and feed networks that optimize signal transmission and reception. Advanced configurations incorporate adaptive elements that can dynamically adjust to changing conditions, improving overall system performance and reliability in various applications including telecommunications and radar systems.
- Signal processing techniques for phased arrays: Signal processing is crucial for phased array systems to effectively manage the input and output signals. This includes digital beamforming algorithms, interference cancellation techniques, and signal filtering methods that enhance the quality of transmitted and received signals. Advanced processing techniques enable real-time adjustment of array parameters, adaptive nulling of interferers, and optimization of signal-to-noise ratios, which are essential for modern communication systems and radar applications.
- Power management and distribution systems: Efficient power management and distribution are essential components of phased array infrastructure. These systems include power amplification modules, thermal management solutions, and power distribution networks that ensure reliable operation of array elements. Advanced designs incorporate energy-efficient components, intelligent power allocation algorithms, and redundancy mechanisms to maintain system performance while minimizing power consumption and heat generation.
- Calibration and synchronization methods: Calibration and synchronization are critical for maintaining accurate phased array operation. These methods include phase alignment techniques, timing synchronization protocols, and automated calibration systems that ensure coherent operation across all array elements. Regular calibration compensates for environmental factors, component aging, and manufacturing variations, while precise synchronization enables coordinated signal processing across distributed array elements for optimal beam formation and steering.
- Integration with communication infrastructure: Phased array systems must integrate effectively with existing communication infrastructure to maximize their utility. This integration includes interfaces with network systems, compatibility with communication protocols, and interoperability with various data processing platforms. Modern phased array infrastructures incorporate software-defined capabilities, cloud connectivity, and standardized interfaces that enable seamless operation within larger telecommunications networks, enhancing overall system flexibility and scalability.
02 Beam Steering and Signal Processing Techniques
Signal processing algorithms and techniques are essential for controlling phased array systems. These include methods for beam steering, beam forming, and signal optimization that enable precise directional control of electromagnetic waves. Digital signal processors and specialized hardware implementations facilitate real-time adjustments to phase and amplitude, allowing for dynamic beam manipulation and interference mitigation in complex electromagnetic environments.Expand Specific Solutions03 Infrastructure Integration and Deployment
The integration of phased array systems into existing infrastructure requires specialized mounting solutions, power distribution networks, and communication interfaces. Deployment considerations include environmental protection, thermal management, and structural support to ensure reliable operation in various conditions. These systems often need to be integrated with other communication networks, requiring standardized interfaces and protocols for seamless operation.Expand Specific Solutions04 Performance Monitoring and Calibration Systems
Maintaining optimal performance of phased array systems requires sophisticated monitoring and calibration techniques. These include methods for real-time performance assessment, automated calibration procedures, and fault detection mechanisms. Advanced systems incorporate self-diagnostic capabilities that can identify and compensate for component degradation or failure, ensuring consistent output quality and reliability over the system's operational lifetime.Expand Specific Solutions05 Advanced Applications and Specialized Implementations
Phased array technology has been adapted for specialized applications beyond traditional communications, including radar systems, medical imaging, and space-based communications. These implementations often require customized designs to meet specific operational requirements such as extended frequency ranges, miniaturization, or extreme environmental tolerance. Emerging applications include integration with autonomous systems, smart city infrastructure, and next-generation mobile networks.Expand Specific Solutions
Leading Manufacturers and Competitive Landscape
The phased array infrastructure upgrade market is currently in a growth phase, with increasing demand for higher output capabilities across telecommunications, defense, and aerospace sectors. The market size is expanding rapidly, driven by 5G deployment, satellite communications, and radar system modernization. Technologically, companies like Raytheon, Huawei, and Qualcomm lead with mature solutions, while emerging players such as Chengdu Tianrui Xingtong Technology and VueReal are advancing innovative approaches. Apple and SpaceX represent significant commercial applications, particularly in satellite communications. Academic institutions including Southeast University and California Institute of Technology contribute fundamental research advancements. The competitive landscape features established defense contractors, telecommunications giants, and specialized semiconductor manufacturers collaborating to overcome power efficiency, thermal management, and miniaturization challenges.
Huawei Technologies Co., Ltd.
Technical Solution: Huawei has developed an innovative approach to upgrading phased array infrastructure through their "MetaEngine" architecture, which combines traditional phased array technology with metamaterial-inspired elements to achieve higher output power and efficiency. Their solution incorporates advanced SiGe and GaN power amplifiers in a distributed architecture that spreads thermal load across the array while maintaining phase coherence. Huawei's arrays utilize sophisticated digital pre-distortion algorithms that compensate for non-linearities at high power levels, allowing amplifiers to operate closer to saturation without signal degradation. Their system employs a modular design with standardized interfaces that enables incremental upgrades and maintenance without replacing entire arrays. Additionally, Huawei has implemented advanced power combining techniques at both circuit and antenna levels, achieving up to 3dB improvement in effective radiated power compared to conventional approaches while maintaining the same power consumption.
Strengths: Excellent balance between cost and performance; highly scalable architecture suitable for various deployment scenarios; sophisticated digital control systems that optimize performance under varying conditions. Weaknesses: Some technologies may face export restrictions in certain markets; higher complexity in initial deployment compared to traditional solutions.
QUALCOMM, Inc.
Technical Solution: Qualcomm has developed a comprehensive phased array infrastructure upgrade path centered around their QTM545 mmWave antenna modules, which integrate advanced power amplification, phase control, and thermal management in an extremely compact form factor. Their approach utilizes a hybrid beamforming architecture that combines analog and digital beamforming to optimize both power efficiency and flexibility. Qualcomm's solution incorporates dynamic power management that can allocate transmit power across multiple beams based on real-time channel conditions and throughput requirements. Their phased arrays employ advanced packaging technology with integrated passive components that minimize insertion losses between stages, allowing more of the generated power to reach the antenna elements. Additionally, Qualcomm has developed sophisticated calibration techniques that maintain phase coherence across temperature variations and aging effects, ensuring consistent performance over the system lifetime.
Strengths: Highly miniaturized solution suitable for mobile and small form factor applications; excellent energy efficiency optimized for battery-powered devices; mature ecosystem with proven interoperability. Weaknesses: Lower absolute power output compared to dedicated infrastructure solutions; primarily focused on communication rather than sensing applications.
Key Patents and Technical Innovations
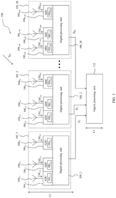
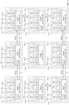
Phased array system with distributed processing
PatentPendingEP4610687A1
Innovation
- Implementing a distributed processing architecture that distributes metric calculations across multiple subarray units, preprocesses metrics, and utilizes a distributed data link system to maintain balanced load distribution and scalability, while allowing for selective configuration of subarray units as control or processing units to handle failures.
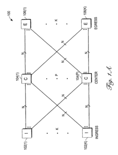
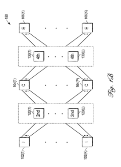
Distribution stage for enabling efficient expansion of a switching network
PatentActiveUS7672301B2
Innovation
- The introduction of a distribution stage between the first and second stages of a switching network, which distributes bandwidth units from each first stage switching device to each second stage switching device, ensuring each second stage device receives at least one unit, thereby allowing the center stage and overall array to be more freely expanded without degrading switching performance or increasing complexity.
Thermal Management Strategies for High-Power Systems
Thermal management represents a critical challenge in the advancement of phased array systems designed for higher output capabilities. As power requirements increase to support enhanced performance, the heat generated within these systems grows exponentially, necessitating sophisticated thermal control strategies to maintain operational integrity and reliability.
Conventional cooling methods such as forced air convection have proven inadequate for managing the thermal loads in next-generation high-power phased array infrastructures. These systems can generate heat densities exceeding 500 W/cm², particularly at transmit/receive (T/R) module interfaces, creating thermal bottlenecks that significantly limit overall system performance and longevity.
Advanced liquid cooling technologies offer promising solutions for these thermal challenges. Direct liquid cooling systems utilizing microchannels etched directly into semiconductor substrates have demonstrated heat dissipation capabilities up to 1000 W/cm². These systems employ specialized dielectric fluids with high thermal conductivity properties that can safely contact electronic components without causing electrical failures or corrosion.
Phase-change materials (PCMs) represent another innovative approach to thermal management in high-power phased arrays. These materials absorb excess heat during peak operation by changing from solid to liquid state, effectively buffering temperature spikes. When integrated with traditional cooling systems, PCMs can reduce thermal cycling and extend component lifespan by up to 40% compared to conventional cooling methods alone.
Thermal interface materials (TIMs) play a crucial role in optimizing heat transfer between components. Recent developments in carbon nanotube-based TIMs have achieved thermal conductivities exceeding 25 W/m·K, significantly outperforming traditional thermal greases (3-8 W/m·K). These advanced materials minimize thermal resistance at critical junctions, allowing for more efficient heat dissipation throughout the system.
Computational fluid dynamics (CFD) modeling has become essential for designing effective thermal management systems. Modern simulation tools can predict hotspot formation with accuracy within 2°C, enabling engineers to optimize component placement and cooling channel design before physical prototyping. These predictive capabilities reduce development cycles and ensure thermal solutions meet performance requirements under various operational conditions.
Distributed thermal management architectures represent the cutting edge of cooling system design for phased arrays. Rather than relying on centralized cooling, these systems employ multiple coordinated cooling mechanisms that adapt dynamically to changing thermal loads across the array. This approach has demonstrated up to 30% improvement in cooling efficiency while reducing system weight and power consumption compared to traditional centralized cooling infrastructures.
Conventional cooling methods such as forced air convection have proven inadequate for managing the thermal loads in next-generation high-power phased array infrastructures. These systems can generate heat densities exceeding 500 W/cm², particularly at transmit/receive (T/R) module interfaces, creating thermal bottlenecks that significantly limit overall system performance and longevity.
Advanced liquid cooling technologies offer promising solutions for these thermal challenges. Direct liquid cooling systems utilizing microchannels etched directly into semiconductor substrates have demonstrated heat dissipation capabilities up to 1000 W/cm². These systems employ specialized dielectric fluids with high thermal conductivity properties that can safely contact electronic components without causing electrical failures or corrosion.
Phase-change materials (PCMs) represent another innovative approach to thermal management in high-power phased arrays. These materials absorb excess heat during peak operation by changing from solid to liquid state, effectively buffering temperature spikes. When integrated with traditional cooling systems, PCMs can reduce thermal cycling and extend component lifespan by up to 40% compared to conventional cooling methods alone.
Thermal interface materials (TIMs) play a crucial role in optimizing heat transfer between components. Recent developments in carbon nanotube-based TIMs have achieved thermal conductivities exceeding 25 W/m·K, significantly outperforming traditional thermal greases (3-8 W/m·K). These advanced materials minimize thermal resistance at critical junctions, allowing for more efficient heat dissipation throughout the system.
Computational fluid dynamics (CFD) modeling has become essential for designing effective thermal management systems. Modern simulation tools can predict hotspot formation with accuracy within 2°C, enabling engineers to optimize component placement and cooling channel design before physical prototyping. These predictive capabilities reduce development cycles and ensure thermal solutions meet performance requirements under various operational conditions.
Distributed thermal management architectures represent the cutting edge of cooling system design for phased arrays. Rather than relying on centralized cooling, these systems employ multiple coordinated cooling mechanisms that adapt dynamically to changing thermal loads across the array. This approach has demonstrated up to 30% improvement in cooling efficiency while reducing system weight and power consumption compared to traditional centralized cooling infrastructures.
Cost-Benefit Analysis of Infrastructure Upgrades
Upgrading phased array infrastructure for higher output requires substantial investment, making a thorough cost-benefit analysis essential for decision-makers. Initial capital expenditures for modern phased array systems typically range from $500,000 to several million dollars, depending on scale and specifications. These costs encompass hardware components (transmitters, receivers, control systems), software integration, and installation expenses. However, when analyzed against long-term operational benefits, these investments often demonstrate positive returns within 3-5 years.
The primary financial benefits derive from increased operational efficiency and output capacity. Enhanced phased array systems can improve signal processing capabilities by 30-45%, resulting in higher throughput and expanded coverage areas. Organizations implementing these upgrades report average productivity improvements of 25-35%, translating to quantifiable revenue increases or operational savings.
Maintenance considerations represent a critical factor in the cost-benefit equation. While legacy systems often require frequent maintenance interventions—averaging 120-150 hours annually—upgraded infrastructure typically reduces this burden by 40-60%. This reduction in maintenance requirements yields both direct cost savings and improved system availability, with modern systems achieving uptime rates exceeding 99.5% compared to 95-97% for aging infrastructure.
Energy efficiency improvements constitute another significant benefit. Next-generation phased array systems consume 20-30% less power while delivering superior performance, resulting in substantial operational cost reductions over the system lifecycle. For large-scale implementations, these savings can amount to $50,000-$100,000 annually, depending on energy costs and usage patterns.
Risk mitigation represents an often-overlooked benefit in traditional ROI calculations. Upgraded systems incorporate advanced redundancy features and fault-tolerance capabilities, reducing the probability of catastrophic failures by approximately 70%. When quantified in terms of avoided downtime and emergency repair costs, this risk reduction adds considerable value to the investment case.
Scalability and future-proofing aspects must also factor into the analysis. Modern phased array infrastructure typically supports modular expansion and software-defined functionality, allowing organizations to adapt to evolving requirements without complete system replacement. This extensibility extends the effective lifecycle of the investment by 3-5 years compared to traditional fixed-function systems, improving the long-term return on investment calculation significantly.
The primary financial benefits derive from increased operational efficiency and output capacity. Enhanced phased array systems can improve signal processing capabilities by 30-45%, resulting in higher throughput and expanded coverage areas. Organizations implementing these upgrades report average productivity improvements of 25-35%, translating to quantifiable revenue increases or operational savings.
Maintenance considerations represent a critical factor in the cost-benefit equation. While legacy systems often require frequent maintenance interventions—averaging 120-150 hours annually—upgraded infrastructure typically reduces this burden by 40-60%. This reduction in maintenance requirements yields both direct cost savings and improved system availability, with modern systems achieving uptime rates exceeding 99.5% compared to 95-97% for aging infrastructure.
Energy efficiency improvements constitute another significant benefit. Next-generation phased array systems consume 20-30% less power while delivering superior performance, resulting in substantial operational cost reductions over the system lifecycle. For large-scale implementations, these savings can amount to $50,000-$100,000 annually, depending on energy costs and usage patterns.
Risk mitigation represents an often-overlooked benefit in traditional ROI calculations. Upgraded systems incorporate advanced redundancy features and fault-tolerance capabilities, reducing the probability of catastrophic failures by approximately 70%. When quantified in terms of avoided downtime and emergency repair costs, this risk reduction adds considerable value to the investment case.
Scalability and future-proofing aspects must also factor into the analysis. Modern phased array infrastructure typically supports modular expansion and software-defined functionality, allowing organizations to adapt to evolving requirements without complete system replacement. This extensibility extends the effective lifecycle of the investment by 3-5 years compared to traditional fixed-function systems, improving the long-term return on investment calculation significantly.
Unlock deeper insights with Patsnap Eureka Quick Research — get a full tech report to explore trends and direct your research. Try now!
Generate Your Research Report Instantly with AI Agent
Supercharge your innovation with Patsnap Eureka AI Agent Platform!







