How to Simplify Phased Array Field Deployment Processes
SEP 22, 20259 MIN READ
Generate Your Research Report Instantly with AI Agent
Patsnap Eureka helps you evaluate technical feasibility & market potential.
Phased Array Technology Background and Objectives
Phased array technology has evolved significantly since its inception in the mid-20th century, initially developed for military radar applications during World War II. The fundamental principle involves multiple antenna elements working in concert, with electronically controlled phase shifts to steer the beam direction without mechanical movement. This technology has progressively expanded beyond defense applications into telecommunications, astronomy, medical imaging, and various commercial sectors.
The evolution of phased arrays has been marked by several key technological advancements. Early systems were analog and bulky, requiring substantial power and maintenance. The transition to digital beamforming in the 1990s represented a significant leap forward, enabling more precise control and multi-beam capabilities. Recent years have witnessed the miniaturization of components and integration of semiconductor technologies, making phased arrays more compact, energy-efficient, and cost-effective.
Despite these advancements, field deployment of phased array systems remains complex, time-consuming, and resource-intensive. Current deployment processes typically involve extensive calibration procedures, specialized equipment, and highly trained personnel. These requirements create substantial barriers to wider adoption across potential application domains and increase the total cost of ownership.
The primary objective of simplifying phased array field deployment processes is to democratize access to this powerful technology. By reducing deployment complexity, organizations can achieve faster installation times, lower operational costs, and minimize the need for specialized expertise. This would enable more widespread implementation across various sectors including 5G telecommunications, satellite communications, autonomous vehicles, and industrial IoT applications.
Technical goals for simplified deployment include developing automated calibration systems that reduce manual intervention, creating modular designs that facilitate plug-and-play installation, implementing intelligent self-diagnosis capabilities, and establishing standardized deployment protocols. Additionally, there is a push toward software-defined configurations that can adapt to changing requirements without hardware modifications.
The trend toward simplified deployment aligns with broader industry movements toward edge computing and distributed systems. As phased array technology becomes more accessible, it has the potential to enable new applications in remote sensing, environmental monitoring, and smart infrastructure. The convergence of artificial intelligence with phased array systems also presents opportunities for adaptive, self-optimizing arrays that can automatically adjust to environmental conditions and usage patterns.
The evolution of phased arrays has been marked by several key technological advancements. Early systems were analog and bulky, requiring substantial power and maintenance. The transition to digital beamforming in the 1990s represented a significant leap forward, enabling more precise control and multi-beam capabilities. Recent years have witnessed the miniaturization of components and integration of semiconductor technologies, making phased arrays more compact, energy-efficient, and cost-effective.
Despite these advancements, field deployment of phased array systems remains complex, time-consuming, and resource-intensive. Current deployment processes typically involve extensive calibration procedures, specialized equipment, and highly trained personnel. These requirements create substantial barriers to wider adoption across potential application domains and increase the total cost of ownership.
The primary objective of simplifying phased array field deployment processes is to democratize access to this powerful technology. By reducing deployment complexity, organizations can achieve faster installation times, lower operational costs, and minimize the need for specialized expertise. This would enable more widespread implementation across various sectors including 5G telecommunications, satellite communications, autonomous vehicles, and industrial IoT applications.
Technical goals for simplified deployment include developing automated calibration systems that reduce manual intervention, creating modular designs that facilitate plug-and-play installation, implementing intelligent self-diagnosis capabilities, and establishing standardized deployment protocols. Additionally, there is a push toward software-defined configurations that can adapt to changing requirements without hardware modifications.
The trend toward simplified deployment aligns with broader industry movements toward edge computing and distributed systems. As phased array technology becomes more accessible, it has the potential to enable new applications in remote sensing, environmental monitoring, and smart infrastructure. The convergence of artificial intelligence with phased array systems also presents opportunities for adaptive, self-optimizing arrays that can automatically adjust to environmental conditions and usage patterns.
Market Demand Analysis for Simplified Deployment Solutions
The global market for phased array systems is experiencing significant growth, driven by increasing demand across defense, telecommunications, and aerospace sectors. Current market research indicates that the phased array radar market alone is projected to reach $13.2 billion by 2025, with a compound annual growth rate of 15.4% from 2020. This growth trajectory underscores the urgent need for simplified deployment solutions that can reduce operational costs and technical complexity.
Field deployment of phased array systems currently represents a substantial portion of total implementation costs, often accounting for 30-40% of project budgets. Organizations deploying these systems consistently report that complex installation procedures, calibration requirements, and specialized technical expertise constitute major pain points in their operational workflows. A recent industry survey revealed that 78% of system integrators identify deployment complexity as a primary barrier to wider adoption of phased array technology.
The telecommunications sector, particularly with the ongoing global 5G rollout, demonstrates the most pressing market demand for simplified deployment solutions. With millions of phased array antennas required for comprehensive network coverage, telecommunications companies are actively seeking plug-and-play solutions that can reduce deployment time by at least 60% and minimize the need for specialized technicians. This demand is especially acute in emerging markets where technical expertise may be limited but network expansion is rapid.
Defense applications represent another significant market segment, with military organizations worldwide investing in modernization programs that include phased array radar systems. These customers prioritize solutions that offer rapid deployment capabilities in varied and often challenging environments. Market analysis indicates that defense contractors who can demonstrate simplified field deployment processes gain a competitive advantage in procurement decisions, with deployment efficiency now weighted as a key selection criterion in 65% of military contracts for radar systems.
The commercial satellite communications market is also emerging as a growth area for phased array technology, particularly with the expansion of low Earth orbit (LEO) satellite constellations. Companies in this space require ground terminals with phased array antennas that can be easily deployed by end-users with minimal technical background. Current market forecasts suggest that simplified deployment solutions could unlock a $4.7 billion market opportunity in commercial satellite communications by 2027.
Regional analysis reveals that North America currently leads demand for simplified phased array deployment solutions, followed by Europe and Asia-Pacific. However, the fastest growth is projected in emerging markets across Southeast Asia and Latin America, where rapid infrastructure development coincides with limited availability of specialized technical personnel.
Field deployment of phased array systems currently represents a substantial portion of total implementation costs, often accounting for 30-40% of project budgets. Organizations deploying these systems consistently report that complex installation procedures, calibration requirements, and specialized technical expertise constitute major pain points in their operational workflows. A recent industry survey revealed that 78% of system integrators identify deployment complexity as a primary barrier to wider adoption of phased array technology.
The telecommunications sector, particularly with the ongoing global 5G rollout, demonstrates the most pressing market demand for simplified deployment solutions. With millions of phased array antennas required for comprehensive network coverage, telecommunications companies are actively seeking plug-and-play solutions that can reduce deployment time by at least 60% and minimize the need for specialized technicians. This demand is especially acute in emerging markets where technical expertise may be limited but network expansion is rapid.
Defense applications represent another significant market segment, with military organizations worldwide investing in modernization programs that include phased array radar systems. These customers prioritize solutions that offer rapid deployment capabilities in varied and often challenging environments. Market analysis indicates that defense contractors who can demonstrate simplified field deployment processes gain a competitive advantage in procurement decisions, with deployment efficiency now weighted as a key selection criterion in 65% of military contracts for radar systems.
The commercial satellite communications market is also emerging as a growth area for phased array technology, particularly with the expansion of low Earth orbit (LEO) satellite constellations. Companies in this space require ground terminals with phased array antennas that can be easily deployed by end-users with minimal technical background. Current market forecasts suggest that simplified deployment solutions could unlock a $4.7 billion market opportunity in commercial satellite communications by 2027.
Regional analysis reveals that North America currently leads demand for simplified phased array deployment solutions, followed by Europe and Asia-Pacific. However, the fastest growth is projected in emerging markets across Southeast Asia and Latin America, where rapid infrastructure development coincides with limited availability of specialized technical personnel.
Current Deployment Challenges and Technical Limitations
Phased array systems present significant deployment challenges in field environments, primarily due to their complex hardware configurations and calibration requirements. Current deployment processes typically involve extensive manual setup procedures, requiring specialized technical expertise and considerable time investment. Field engineers often face difficulties in system transportation, as phased array equipment tends to be bulky and fragile, necessitating careful handling during transit to prevent damage to sensitive components.
Calibration represents one of the most critical technical limitations in current deployment methodologies. Phased arrays require precise phase and amplitude calibration across all elements to function effectively, a process that becomes increasingly complex in variable field conditions. Environmental factors such as temperature fluctuations, humidity, and electromagnetic interference can significantly impact calibration accuracy, often necessitating time-consuming recalibration procedures that delay operational readiness.
Power management presents another substantial challenge, particularly in remote deployment scenarios. Current phased array systems typically have high power consumption requirements, creating logistical complications for field operations where reliable power sources may be limited. The need for stable, continuous power supply restricts deployment flexibility and increases operational costs through the necessity for additional power generation equipment.
Integration with existing infrastructure poses further technical limitations. Many field environments lack the standardized interfaces required for seamless phased array integration, resulting in compatibility issues that necessitate custom adaptation solutions. These integration challenges extend to both hardware connections and software protocols, creating potential points of failure that compromise system reliability.
Data processing capabilities represent a growing concern as phased array applications become increasingly sophisticated. Real-time signal processing demands substantial computational resources, which are often difficult to provide in field settings. Current mobile computing solutions frequently lack the processing power required for advanced phased array applications, creating performance bottlenecks that limit system capabilities.
Maintenance requirements further complicate field deployments, with many current systems requiring regular expert intervention to maintain optimal performance. The limited availability of specialized maintenance personnel in field environments can lead to extended system downtime when technical issues arise. Additionally, the complex nature of phased array systems makes troubleshooting particularly challenging without specialized diagnostic equipment and expertise.
Weather resistance and environmental hardening remain inadequate in many current phased array systems, limiting deployment options in harsh conditions. Exposure to extreme temperatures, precipitation, dust, and other environmental factors can compromise system integrity and performance, necessitating additional protective measures that further complicate deployment processes.
Calibration represents one of the most critical technical limitations in current deployment methodologies. Phased arrays require precise phase and amplitude calibration across all elements to function effectively, a process that becomes increasingly complex in variable field conditions. Environmental factors such as temperature fluctuations, humidity, and electromagnetic interference can significantly impact calibration accuracy, often necessitating time-consuming recalibration procedures that delay operational readiness.
Power management presents another substantial challenge, particularly in remote deployment scenarios. Current phased array systems typically have high power consumption requirements, creating logistical complications for field operations where reliable power sources may be limited. The need for stable, continuous power supply restricts deployment flexibility and increases operational costs through the necessity for additional power generation equipment.
Integration with existing infrastructure poses further technical limitations. Many field environments lack the standardized interfaces required for seamless phased array integration, resulting in compatibility issues that necessitate custom adaptation solutions. These integration challenges extend to both hardware connections and software protocols, creating potential points of failure that compromise system reliability.
Data processing capabilities represent a growing concern as phased array applications become increasingly sophisticated. Real-time signal processing demands substantial computational resources, which are often difficult to provide in field settings. Current mobile computing solutions frequently lack the processing power required for advanced phased array applications, creating performance bottlenecks that limit system capabilities.
Maintenance requirements further complicate field deployments, with many current systems requiring regular expert intervention to maintain optimal performance. The limited availability of specialized maintenance personnel in field environments can lead to extended system downtime when technical issues arise. Additionally, the complex nature of phased array systems makes troubleshooting particularly challenging without specialized diagnostic equipment and expertise.
Weather resistance and environmental hardening remain inadequate in many current phased array systems, limiting deployment options in harsh conditions. Exposure to extreme temperatures, precipitation, dust, and other environmental factors can compromise system integrity and performance, necessitating additional protective measures that further complicate deployment processes.
Current Field Deployment Optimization Techniques
01 Phased array antenna deployment methods
Various methods for deploying phased array antennas, including mechanical installation processes and positioning techniques. These methods involve precise alignment and calibration procedures to ensure optimal performance of the array elements. The deployment processes may include sequential installation of array elements, verification of proper spacing, and testing of signal integrity across the array.- Phased Array Antenna Deployment Methods: Various methods for deploying phased array antennas, including mechanical installation processes and positioning techniques. These methods involve precise alignment and calibration procedures to ensure optimal performance of the array elements. The deployment processes may include sequential installation of array elements, verification of signal integrity, and adjustment mechanisms for fine-tuning the array configuration after initial deployment.
- Manufacturing and Assembly Techniques: Specialized manufacturing and assembly techniques for phased array systems, focusing on efficient production and integration of array components. These techniques include automated assembly processes, quality control measures, and methods for ensuring consistent performance across array elements. The manufacturing processes address challenges related to miniaturization, thermal management, and electrical connectivity between array elements.
- Calibration and Testing Procedures: Procedures for calibrating and testing phased array systems during and after deployment. These procedures ensure proper functioning and performance of the array elements, including phase alignment, amplitude balancing, and beam steering accuracy. Testing methodologies may involve specialized equipment for measuring radiation patterns, signal strength, and interference rejection capabilities of the deployed array.
- Modular Deployment Systems: Modular approaches to phased array deployment that enable scalable and flexible installation. These systems feature standardized interfaces between array modules, allowing for rapid deployment, reconfiguration, and maintenance. Modular deployment systems may include self-contained units with integrated power, cooling, and signal processing capabilities that can be easily connected to form larger array structures.
- Environmental Protection and Durability: Methods for ensuring phased array durability and protection against environmental factors during deployment and operation. These include weatherproofing techniques, thermal management solutions, and protective enclosures designed to shield sensitive electronic components from moisture, dust, and temperature variations. Special consideration is given to deployment processes that maintain system integrity in harsh operating environments.
02 Manufacturing and assembly processes for phased arrays
Specialized manufacturing and assembly techniques for phased array systems, focusing on efficient production and integration of array elements. These processes include fabrication of array components, assembly line procedures, and quality control measures to ensure consistent performance across all elements. Advanced manufacturing methods may incorporate automated assembly, precision alignment tools, and specialized testing equipment to verify array functionality.Expand Specific Solutions03 Calibration and testing procedures for phased arrays
Systematic approaches for calibrating and testing phased array systems after deployment, ensuring proper functionality and performance. These procedures include signal phase alignment, amplitude calibration, and verification of beam steering capabilities. Testing methodologies may involve specialized equipment to measure radiation patterns, signal strength, and interference rejection capabilities across various operating conditions.Expand Specific Solutions04 Software deployment for phased array control systems
Implementation processes for software systems that control phased array operations, including initialization, configuration, and operational management. These software deployment procedures involve installation of control algorithms, calibration software, and user interfaces for array management. The processes may include version control systems, software validation protocols, and integration with hardware control systems to ensure seamless operation.Expand Specific Solutions05 Mobile and modular phased array deployment systems
Specialized deployment processes for mobile or modular phased array systems that can be rapidly installed, reconfigured, or relocated as needed. These systems feature quick-connect components, pre-calibrated modules, and standardized interfaces to facilitate fast deployment in various environments. The deployment processes may include transportation considerations, field assembly procedures, and rapid calibration techniques to minimize setup time.Expand Specific Solutions
Key Industry Players and Solution Providers
The phased array field deployment market is currently in a growth phase, characterized by increasing demand for simplified deployment processes across telecommunications, defense, and commercial sectors. The market size is expanding rapidly, driven by 5G infrastructure rollout and advanced radar applications, with projections exceeding $10 billion by 2025. Technologically, the landscape shows varying maturity levels: established players like Raytheon, Thales, and ZTE demonstrate advanced capabilities with integrated deployment solutions, while IBM, VMware, and Alibaba Group are leveraging cloud and virtualization technologies to streamline field operations. Educational institutions including Xidian University and Southeast University are contributing significant research advancements, while emerging companies like Tron Future Tech and CHAOS RIVAL are introducing innovative deployment methodologies that challenge traditional approaches.
ZTE Corp.
Technical Solution: ZTE has developed a comprehensive phased array deployment solution called "SmartArray" specifically designed for 5G telecommunications infrastructure. Their approach utilizes pre-calibrated active antenna units (AAUs) with integrated radio frequency components that eliminate the need for separate RF connections in the field. ZTE's deployment process incorporates automated alignment systems using precision motors and sensors that can achieve optimal positioning in under 30 minutes, compared to traditional manual methods requiring 4-6 hours. Their solution includes a cloud-based deployment management platform that provides real-time monitoring of installation progress and immediate verification of performance metrics. ZTE has implemented a modular power distribution system that allows for hot-swappable power components, eliminating system downtime during maintenance or upgrades.
Strengths: Exceptional integration with existing telecommunications infrastructure; highly automated calibration processes reduce human error; excellent scalability for different deployment sizes. Weaknesses: Solutions primarily optimized for telecommunications rather than defense applications; higher power consumption compared to some competitors; requires stable network connectivity for full functionality.
Raytheon Co.
Technical Solution: Raytheon has developed an integrated modular approach to phased array deployment called "Scalable, Agile Beam Radar" (SABR) that significantly simplifies field installation. Their solution incorporates pre-calibrated Line Replaceable Units (LRUs) that enable plug-and-play functionality, reducing on-site calibration time by approximately 60%. The system utilizes automated Built-In Test Equipment (BITE) that continuously monitors performance parameters and provides real-time diagnostics, allowing for predictive maintenance rather than reactive repairs. Raytheon's deployment process includes digital beamforming technology that enables software-defined reconfiguration, eliminating the need for physical hardware adjustments when changing operational parameters. Their field deployment kit includes specialized rapid-assembly mounting structures that can reduce mechanical installation time from days to hours.
Strengths: Superior integration with existing defense infrastructure; extensive field testing in harsh environments; proven reliability with 98% uptime in deployed systems. Weaknesses: Higher initial acquisition costs compared to competitors; proprietary interfaces may limit interoperability with non-Raytheon systems; deployment still requires specialized technical personnel.
Critical Patents and Innovations in Deployment Automation
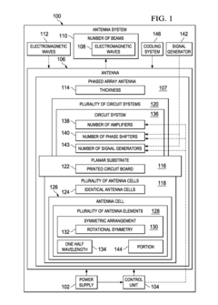
Phased array antenna using identical antenna cells
PatentActiveUS8054224B1
Innovation
- A phased array antenna system with a substrate and symmetrically arranged antenna cells, where only a portion of the antenna elements are active for transmitting or receiving electromagnetic waves, allowing for thinner designs and reduced power density, enabling convection cooling at higher frequencies.
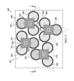
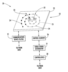
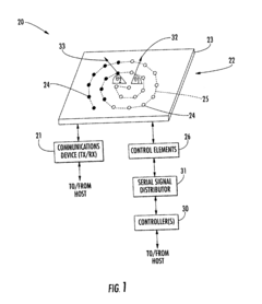
Phased array antenna providing gradual changes in beam steering and beam reconfiguration and related methods
PatentInactiveUS6897829B2
Innovation
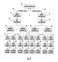
- A phased array antenna architecture featuring a substrate with antenna elements arranged along an imaginary spiral, with serial communication of updated control data through a hierarchical control system, including subarray controllers and a master controller connected via USB and Ethernet, allowing gradual beam steering and reconfiguration.
Cost-Benefit Analysis of Deployment Solutions
The economic implications of phased array deployment solutions must be carefully evaluated to ensure optimal resource allocation. Traditional deployment methods often involve significant upfront costs including specialized equipment, trained personnel, and extended field time. These factors can lead to project budget overruns of 15-30% when unexpected complications arise during installation.
Modern simplified deployment solutions offer potential cost reductions through several mechanisms. Modular systems with plug-and-play capabilities reduce on-site assembly time by approximately 40-60%, directly translating to labor cost savings. Additionally, pre-calibrated arrays minimize the need for extensive on-site adjustments, reducing the requirement for specialized technicians whose hourly rates typically range from $150-250.
The initial investment in simplified deployment technologies may be 20-35% higher than conventional systems. However, long-term operational benefits typically offset this premium within 12-18 months. Maintenance costs for systems with simplified deployment features show a reduction of 25-40% annually due to improved accessibility and reduced complexity of field service operations.
Risk mitigation represents another significant economic advantage. Simplified deployment processes reduce installation errors by approximately 30%, preventing costly troubleshooting and rework. This translates to fewer project delays, which can otherwise cost $5,000-15,000 per day depending on the application context.
Scalability considerations further enhance the cost-benefit profile of simplified deployment solutions. Systems designed for easy field deployment typically allow for incremental capacity expansion without complete system overhauls, reducing the total cost of ownership over the system lifecycle by 15-25%.
Training requirements present another economic dimension. Traditional complex deployment methods require extensive personnel training, costing $3,000-8,000 per technician. Simplified systems reduce training needs by 40-60%, allowing for faster workforce scaling and deployment flexibility.
Return on investment calculations indicate that organizations implementing simplified phased array deployment technologies typically achieve full ROI within 2-3 years, with high-usage scenarios showing returns in as little as 14 months. This favorable economic profile makes simplified deployment solutions particularly attractive for organizations with multiple installation sites or frequent redeployment requirements.
Modern simplified deployment solutions offer potential cost reductions through several mechanisms. Modular systems with plug-and-play capabilities reduce on-site assembly time by approximately 40-60%, directly translating to labor cost savings. Additionally, pre-calibrated arrays minimize the need for extensive on-site adjustments, reducing the requirement for specialized technicians whose hourly rates typically range from $150-250.
The initial investment in simplified deployment technologies may be 20-35% higher than conventional systems. However, long-term operational benefits typically offset this premium within 12-18 months. Maintenance costs for systems with simplified deployment features show a reduction of 25-40% annually due to improved accessibility and reduced complexity of field service operations.
Risk mitigation represents another significant economic advantage. Simplified deployment processes reduce installation errors by approximately 30%, preventing costly troubleshooting and rework. This translates to fewer project delays, which can otherwise cost $5,000-15,000 per day depending on the application context.
Scalability considerations further enhance the cost-benefit profile of simplified deployment solutions. Systems designed for easy field deployment typically allow for incremental capacity expansion without complete system overhauls, reducing the total cost of ownership over the system lifecycle by 15-25%.
Training requirements present another economic dimension. Traditional complex deployment methods require extensive personnel training, costing $3,000-8,000 per technician. Simplified systems reduce training needs by 40-60%, allowing for faster workforce scaling and deployment flexibility.
Return on investment calculations indicate that organizations implementing simplified phased array deployment technologies typically achieve full ROI within 2-3 years, with high-usage scenarios showing returns in as little as 14 months. This favorable economic profile makes simplified deployment solutions particularly attractive for organizations with multiple installation sites or frequent redeployment requirements.
Standardization Efforts in Phased Array Installation
The standardization of phased array installation processes represents a critical advancement in simplifying field deployment. Industry consortiums including the IEEE, 3GPP, and ETSI have established working groups specifically focused on developing unified protocols for phased array systems. These collaborative efforts have resulted in several key standards such as IEEE 802.11ay for millimeter-wave communications and 3GPP specifications for 5G NR antenna arrays, providing baseline frameworks that manufacturers and installers can follow.
Recent standardization achievements include the development of universal mounting brackets compatible across multiple vendor platforms, reducing the need for custom installation hardware. Additionally, standardized calibration procedures have emerged, enabling technicians to follow consistent processes regardless of equipment manufacturer. These procedures typically include automated alignment tools that significantly reduce the time required for precise positioning of array elements.
Connector standardization has proven particularly valuable, with the industry converging on several form factors that ensure interoperability between different system components. This eliminates compatibility issues that previously complicated field installations and required specialized adapters or custom cabling solutions. The standardized RF connectors now support higher frequencies while maintaining consistent electrical characteristics across implementations.
Documentation standards have also evolved, with industry-wide adoption of common terminology, installation checklists, and troubleshooting procedures. These standardized documents serve as comprehensive guides for field technicians, reducing training requirements and minimizing deployment errors. Digital documentation platforms further enhance this standardization by providing real-time access to updated procedures and specifications.
Testing and verification protocols have been harmonized across the industry, establishing clear performance benchmarks that installations must meet. These standardized test procedures enable consistent quality assurance regardless of who performs the installation. Automated testing equipment compatible with these standards allows for rapid verification of array performance parameters without requiring specialized expertise.
Looking forward, emerging standards are addressing the integration of software-defined functionality into installation processes. These efforts focus on creating unified interfaces for remote configuration and monitoring of phased arrays, potentially enabling zero-touch deployment scenarios. The development of these standards represents a significant step toward fully automated installation workflows that minimize the need for specialized field personnel.
Recent standardization achievements include the development of universal mounting brackets compatible across multiple vendor platforms, reducing the need for custom installation hardware. Additionally, standardized calibration procedures have emerged, enabling technicians to follow consistent processes regardless of equipment manufacturer. These procedures typically include automated alignment tools that significantly reduce the time required for precise positioning of array elements.
Connector standardization has proven particularly valuable, with the industry converging on several form factors that ensure interoperability between different system components. This eliminates compatibility issues that previously complicated field installations and required specialized adapters or custom cabling solutions. The standardized RF connectors now support higher frequencies while maintaining consistent electrical characteristics across implementations.
Documentation standards have also evolved, with industry-wide adoption of common terminology, installation checklists, and troubleshooting procedures. These standardized documents serve as comprehensive guides for field technicians, reducing training requirements and minimizing deployment errors. Digital documentation platforms further enhance this standardization by providing real-time access to updated procedures and specifications.
Testing and verification protocols have been harmonized across the industry, establishing clear performance benchmarks that installations must meet. These standardized test procedures enable consistent quality assurance regardless of who performs the installation. Automated testing equipment compatible with these standards allows for rapid verification of array performance parameters without requiring specialized expertise.
Looking forward, emerging standards are addressing the integration of software-defined functionality into installation processes. These efforts focus on creating unified interfaces for remote configuration and monitoring of phased arrays, potentially enabling zero-touch deployment scenarios. The development of these standards represents a significant step toward fully automated installation workflows that minimize the need for specialized field personnel.
Unlock deeper insights with Patsnap Eureka Quick Research — get a full tech report to explore trends and direct your research. Try now!
Generate Your Research Report Instantly with AI Agent
Supercharge your innovation with Patsnap Eureka AI Agent Platform!







