Phased Array in Atmospheric Studies: Compare Data Clarity
SEP 22, 202510 MIN READ
Generate Your Research Report Instantly with AI Agent
Patsnap Eureka helps you evaluate technical feasibility & market potential.
Phased Array Technology Evolution and Objectives
Phased array technology has evolved significantly since its inception in the early 20th century, transforming from basic radar applications to sophisticated atmospheric monitoring systems. Initially developed for military purposes during World War II, phased array systems utilized multiple antennas to electronically steer radar beams without mechanical movement. This fundamental capability has remained central to the technology's evolution while becoming increasingly refined and versatile.
The 1970s marked a pivotal transition as phased array technology began to be applied to weather monitoring, with the first experimental systems demonstrating improved scanning speeds compared to conventional mechanical radars. By the 1990s, digital signal processing advancements enabled more precise beam formation and control, significantly enhancing data resolution and accuracy in atmospheric observations.
The early 2000s witnessed the emergence of dual-polarization phased array systems, capable of distinguishing between different types of precipitation particles by analyzing both horizontal and vertical signal returns. This breakthrough substantially improved the characterization of atmospheric phenomena and precipitation forecasting accuracy. Concurrently, solid-state electronics replaced vacuum tube technology, resulting in more compact, reliable, and energy-efficient systems.
Recent technological developments have focused on multi-function phased arrays that can simultaneously perform weather surveillance, air traffic control, and wind profiling. These integrated systems represent a significant advancement in operational efficiency and data integration capabilities. Additionally, the miniaturization of components has enabled the deployment of mobile phased array systems, expanding monitoring capabilities to previously inaccessible regions.
The primary objective of modern phased array technology in atmospheric studies is to achieve unprecedented data clarity through higher temporal and spatial resolution. Current systems aim to complete volumetric scans in under one minute—a dramatic improvement over the 5-10 minutes required by conventional radars—while maintaining or enhancing spatial precision. This rapid scanning capability is crucial for tracking fast-evolving severe weather events such as tornadoes and microbursts.
Another key objective is the development of adaptive scanning strategies that can dynamically adjust based on atmospheric conditions, optimizing the allocation of scanning resources to areas of meteorological significance. This intelligent approach promises to maximize information content while minimizing data collection redundancy.
Looking forward, the field is moving toward phased array systems with digital beamforming capabilities, allowing for simultaneous multiple beam generation and more flexible scanning patterns. The ultimate goal is to create a networked national infrastructure of phased array radars providing seamless, high-resolution atmospheric data to improve weather prediction accuracy, extend warning lead times for severe weather events, and enhance our understanding of atmospheric processes.
The 1970s marked a pivotal transition as phased array technology began to be applied to weather monitoring, with the first experimental systems demonstrating improved scanning speeds compared to conventional mechanical radars. By the 1990s, digital signal processing advancements enabled more precise beam formation and control, significantly enhancing data resolution and accuracy in atmospheric observations.
The early 2000s witnessed the emergence of dual-polarization phased array systems, capable of distinguishing between different types of precipitation particles by analyzing both horizontal and vertical signal returns. This breakthrough substantially improved the characterization of atmospheric phenomena and precipitation forecasting accuracy. Concurrently, solid-state electronics replaced vacuum tube technology, resulting in more compact, reliable, and energy-efficient systems.
Recent technological developments have focused on multi-function phased arrays that can simultaneously perform weather surveillance, air traffic control, and wind profiling. These integrated systems represent a significant advancement in operational efficiency and data integration capabilities. Additionally, the miniaturization of components has enabled the deployment of mobile phased array systems, expanding monitoring capabilities to previously inaccessible regions.
The primary objective of modern phased array technology in atmospheric studies is to achieve unprecedented data clarity through higher temporal and spatial resolution. Current systems aim to complete volumetric scans in under one minute—a dramatic improvement over the 5-10 minutes required by conventional radars—while maintaining or enhancing spatial precision. This rapid scanning capability is crucial for tracking fast-evolving severe weather events such as tornadoes and microbursts.
Another key objective is the development of adaptive scanning strategies that can dynamically adjust based on atmospheric conditions, optimizing the allocation of scanning resources to areas of meteorological significance. This intelligent approach promises to maximize information content while minimizing data collection redundancy.
Looking forward, the field is moving toward phased array systems with digital beamforming capabilities, allowing for simultaneous multiple beam generation and more flexible scanning patterns. The ultimate goal is to create a networked national infrastructure of phased array radars providing seamless, high-resolution atmospheric data to improve weather prediction accuracy, extend warning lead times for severe weather events, and enhance our understanding of atmospheric processes.
Market Analysis for Atmospheric Monitoring Systems
The atmospheric monitoring systems market is experiencing robust growth, driven by increasing concerns about climate change, air quality, and severe weather events. Current market valuations place this sector at approximately 5 billion USD globally, with projections indicating a compound annual growth rate of 8-10% over the next five years. This growth trajectory is particularly pronounced in regions facing severe environmental challenges, including East Asia, North America, and Europe.
Phased array technology for atmospheric studies represents a significant segment within this broader market. Traditional radar systems are gradually being replaced by phased array systems due to their superior data clarity, faster scanning capabilities, and improved resolution. This transition is creating substantial market opportunities for technology providers specializing in advanced sensing equipment.
Demand analysis reveals several key market drivers. Government meteorological agencies constitute the largest customer segment, accounting for nearly 40% of market demand. These agencies are increasingly investing in modernization programs to enhance weather forecasting accuracy and early warning systems. Research institutions form the second-largest customer base, with approximately 25% market share, primarily focused on climate research applications.
The private sector is emerging as a rapidly growing customer segment, particularly in industries highly affected by weather conditions. Aviation companies, renewable energy operators, and agricultural businesses are increasingly deploying specialized atmospheric monitoring systems to optimize operations and mitigate weather-related risks. This diversification of end-users is expanding the overall market potential.
Regional market analysis shows North America leading with approximately 35% market share, followed by Europe (28%) and Asia-Pacific (25%). However, the Asia-Pacific region demonstrates the highest growth rate, driven by increasing governmental investments in weather monitoring infrastructure and growing awareness of climate change impacts.
Competitive landscape assessment identifies several tiers of market players. Tier-one companies include established meteorological equipment manufacturers who have expanded their product lines to include phased array systems. Tier-two consists of specialized technology firms focused exclusively on advanced radar systems. The third tier comprises emerging startups introducing innovative approaches to atmospheric data collection and analysis.
Price sensitivity varies significantly across market segments. While government agencies typically prioritize data quality and system reliability over cost considerations, private sector customers demonstrate higher price sensitivity and seek demonstrable return on investment through operational improvements or risk reduction.
Phased array technology for atmospheric studies represents a significant segment within this broader market. Traditional radar systems are gradually being replaced by phased array systems due to their superior data clarity, faster scanning capabilities, and improved resolution. This transition is creating substantial market opportunities for technology providers specializing in advanced sensing equipment.
Demand analysis reveals several key market drivers. Government meteorological agencies constitute the largest customer segment, accounting for nearly 40% of market demand. These agencies are increasingly investing in modernization programs to enhance weather forecasting accuracy and early warning systems. Research institutions form the second-largest customer base, with approximately 25% market share, primarily focused on climate research applications.
The private sector is emerging as a rapidly growing customer segment, particularly in industries highly affected by weather conditions. Aviation companies, renewable energy operators, and agricultural businesses are increasingly deploying specialized atmospheric monitoring systems to optimize operations and mitigate weather-related risks. This diversification of end-users is expanding the overall market potential.
Regional market analysis shows North America leading with approximately 35% market share, followed by Europe (28%) and Asia-Pacific (25%). However, the Asia-Pacific region demonstrates the highest growth rate, driven by increasing governmental investments in weather monitoring infrastructure and growing awareness of climate change impacts.
Competitive landscape assessment identifies several tiers of market players. Tier-one companies include established meteorological equipment manufacturers who have expanded their product lines to include phased array systems. Tier-two consists of specialized technology firms focused exclusively on advanced radar systems. The third tier comprises emerging startups introducing innovative approaches to atmospheric data collection and analysis.
Price sensitivity varies significantly across market segments. While government agencies typically prioritize data quality and system reliability over cost considerations, private sector customers demonstrate higher price sensitivity and seek demonstrable return on investment through operational improvements or risk reduction.
Current Challenges in Atmospheric Data Acquisition
The acquisition of high-quality atmospheric data faces numerous challenges that significantly impact research accuracy and forecasting capabilities. Traditional radar systems, while reliable, often struggle with spatial resolution limitations, particularly when monitoring rapidly evolving weather phenomena. These systems typically provide updates every 5-15 minutes, creating critical gaps in observation during fast-developing events like severe thunderstorms or tornadoes where conditions can change dramatically within seconds.
Signal interference presents another substantial obstacle in atmospheric data collection. Both natural and human-made sources of electromagnetic noise can degrade data quality. Urban environments, with their dense concentration of wireless communications, industrial equipment, and electrical infrastructure, create particularly challenging conditions for obtaining clean atmospheric measurements. This interference often manifests as artifacts in radar imagery or anomalous readings in sensor data.
Atmospheric attenuation significantly impacts data acquisition, especially at higher frequencies. As radar signals propagate through precipitation, clouds, or atmospheric gases, they experience absorption and scattering that reduce signal strength and clarity. This effect becomes more pronounced during heavy precipitation events—precisely when accurate data is most critical for severe weather monitoring and prediction.
The three-dimensional nature of atmospheric phenomena creates inherent sampling challenges. Traditional scanning radars typically employ elevation-based scanning strategies that may miss critical features occurring between scan angles or at higher altitudes. This limitation becomes particularly problematic when monitoring complex vertical structures within storm systems or tracking the development of precipitation at various atmospheric levels.
Calibration and maintenance issues further complicate data acquisition efforts. Environmental factors such as temperature fluctuations, humidity, and equipment aging can introduce systematic biases into measurements. Without regular calibration and quality control procedures, these biases may remain undetected, leading to erroneous interpretations and forecasts.
Phased array technology offers promising solutions to many of these challenges through its electronic beam steering capabilities, which enable rapid volumetric scanning and adaptive sampling strategies. However, implementation hurdles remain, including high costs, complex signal processing requirements, and the need for specialized expertise. The transition from traditional radar systems to phased array technology requires significant investment in both infrastructure and human capital.
Data integration across multiple sensing platforms represents another ongoing challenge. Atmospheric scientists increasingly rely on diverse data sources—including ground-based radars, satellite observations, and in-situ measurements—each with different spatial and temporal resolutions, coverage areas, and error characteristics. Creating coherent, unified datasets from these disparate sources demands sophisticated data fusion algorithms and standardized processing methodologies.
Signal interference presents another substantial obstacle in atmospheric data collection. Both natural and human-made sources of electromagnetic noise can degrade data quality. Urban environments, with their dense concentration of wireless communications, industrial equipment, and electrical infrastructure, create particularly challenging conditions for obtaining clean atmospheric measurements. This interference often manifests as artifacts in radar imagery or anomalous readings in sensor data.
Atmospheric attenuation significantly impacts data acquisition, especially at higher frequencies. As radar signals propagate through precipitation, clouds, or atmospheric gases, they experience absorption and scattering that reduce signal strength and clarity. This effect becomes more pronounced during heavy precipitation events—precisely when accurate data is most critical for severe weather monitoring and prediction.
The three-dimensional nature of atmospheric phenomena creates inherent sampling challenges. Traditional scanning radars typically employ elevation-based scanning strategies that may miss critical features occurring between scan angles or at higher altitudes. This limitation becomes particularly problematic when monitoring complex vertical structures within storm systems or tracking the development of precipitation at various atmospheric levels.
Calibration and maintenance issues further complicate data acquisition efforts. Environmental factors such as temperature fluctuations, humidity, and equipment aging can introduce systematic biases into measurements. Without regular calibration and quality control procedures, these biases may remain undetected, leading to erroneous interpretations and forecasts.
Phased array technology offers promising solutions to many of these challenges through its electronic beam steering capabilities, which enable rapid volumetric scanning and adaptive sampling strategies. However, implementation hurdles remain, including high costs, complex signal processing requirements, and the need for specialized expertise. The transition from traditional radar systems to phased array technology requires significant investment in both infrastructure and human capital.
Data integration across multiple sensing platforms represents another ongoing challenge. Atmospheric scientists increasingly rely on diverse data sources—including ground-based radars, satellite observations, and in-situ measurements—each with different spatial and temporal resolutions, coverage areas, and error characteristics. Creating coherent, unified datasets from these disparate sources demands sophisticated data fusion algorithms and standardized processing methodologies.
Existing Phased Array Solutions for Weather Monitoring
01 Signal processing techniques for phased array data clarity
Various signal processing algorithms and techniques are employed to enhance the clarity of data obtained from phased array systems. These include advanced filtering methods, noise reduction algorithms, and digital signal processing techniques that improve signal-to-noise ratio. By implementing these processing techniques, the quality and clarity of phased array data can be significantly enhanced, allowing for better detection and identification of targets or features of interest.- Signal processing techniques for phased array data clarity: Various signal processing techniques can be employed to enhance the clarity of data obtained from phased arrays. These techniques include digital beamforming, adaptive filtering, and noise reduction algorithms that help to improve signal-to-noise ratio and reduce interference. Advanced processing methods can compensate for environmental factors and system imperfections, resulting in clearer and more accurate data representation from phased array systems.
- Calibration methods for improved phased array performance: Calibration methods are essential for maintaining optimal performance of phased array systems. These methods involve precise alignment of array elements, phase correction, and amplitude balancing to ensure accurate beam steering and formation. Regular calibration procedures can compensate for manufacturing variations, environmental changes, and component aging, thereby enhancing the clarity and reliability of the data collected by phased array systems.
- Hardware design innovations for enhanced data clarity: Innovative hardware designs can significantly improve the clarity of data from phased array systems. These innovations include optimized antenna element configurations, advanced receiver architectures, and specialized integrated circuits. By reducing mutual coupling between elements, minimizing insertion losses, and improving component matching, these hardware enhancements lead to clearer signals and more precise data acquisition in phased array applications.
- Real-time data processing and visualization techniques: Real-time processing and visualization techniques are crucial for interpreting phased array data with high clarity. These techniques include parallel computing algorithms, hardware acceleration, and specialized display methods that allow for immediate analysis of complex phased array data. By enabling real-time filtering, feature extraction, and interactive visualization, these approaches help users to better understand and interpret the data collected by phased array systems.
- Environmental and interference mitigation strategies: Various strategies can be implemented to mitigate environmental factors and interference that degrade phased array data clarity. These include adaptive nulling techniques, spatial filtering, and environmental modeling approaches that help to isolate desired signals from unwanted reflections or interference. By actively compensating for environmental conditions and rejecting interference sources, these strategies ensure clearer and more reliable data from phased array systems even in challenging operational environments.
02 Calibration methods for phased array systems
Calibration methods are crucial for maintaining data clarity in phased array systems. These methods involve procedures for aligning array elements, compensating for phase and amplitude errors, and ensuring consistent performance across the array. Regular calibration helps to minimize distortions and artifacts in the collected data, resulting in clearer and more accurate representations of the target environment or subject.Expand Specific Solutions03 Hardware configurations for improved data clarity
Specific hardware configurations and component arrangements can significantly impact the clarity of phased array data. These include optimized antenna element designs, specialized receiver architectures, and custom integrated circuits. By carefully designing the physical components of the phased array system, signal quality can be preserved from acquisition through processing, resulting in clearer data output.Expand Specific Solutions04 Beamforming algorithms for enhanced resolution
Advanced beamforming algorithms play a critical role in improving the resolution and clarity of phased array data. These algorithms control how signals from multiple array elements are combined to focus on specific directions or targets. Adaptive beamforming techniques can dynamically adjust to changing conditions, while digital beamforming allows for more precise control over the array pattern, both contributing to clearer data with higher spatial resolution.Expand Specific Solutions05 Data visualization and interpretation methods
Methods for visualizing and interpreting phased array data are essential for extracting meaningful information from complex datasets. These include specialized display techniques, 3D rendering algorithms, and interactive visualization tools that help users identify patterns and anomalies. By presenting the data in intuitive and informative ways, these methods enhance the effective clarity of phased array systems, making the data more accessible and actionable for end-users.Expand Specific Solutions
Leading Organizations in Atmospheric Sensing Technology
The phased array technology in atmospheric studies is currently in a growth phase, with increasing market adoption driven by demand for more accurate weather forecasting and climate research. The global market for atmospheric monitoring systems is expanding, estimated to reach several billion dollars by 2025. Technical maturity varies significantly among key players: NASA, Boeing, and Raytheon demonstrate advanced capabilities with sophisticated phased array systems offering superior data clarity, while academic institutions like Nanjing University of Information Science & Technology and China University of Geosciences Beijing focus on research applications. Companies like Vaisala and UBIMET are commercializing these technologies with varying degrees of success. Chinese entities including Purple Mountain Laboratories and Chengdu Tianrui Xingtong Technology are rapidly advancing their capabilities, narrowing the technological gap with Western counterparts.
National Aeronautics & Space Administration
Technical Solution: NASA has pioneered phased array technology for atmospheric studies through its Advanced Radar for Meteorological and Operational Research (ARMOR) systems. NASA's approach integrates multi-frequency phased arrays (S-band, C-band, and X-band) to capture atmospheric data across different wavelengths, providing comprehensive insights into various atmospheric phenomena. Their systems employ sophisticated digital signal processing techniques that enable adaptive beam forming and frequency agility, allowing researchers to optimize radar parameters in real-time based on atmospheric conditions. NASA has developed specialized algorithms for processing phased array data that significantly enhance the clarity of atmospheric measurements by reducing noise and increasing signal coherence. Their systems incorporate polarimetric capabilities that improve the discrimination of different hydrometeor types and enable better characterization of precipitation processes. NASA's phased array technology also features advanced clutter suppression techniques specifically designed for atmospheric applications, enhancing the ability to detect weak atmospheric signals in complex environments.
Strengths: Multi-frequency capabilities providing comprehensive atmospheric data; sophisticated adaptive algorithms that optimize performance in varying conditions; integration with other remote sensing technologies for validation and enhanced data products. Weaknesses: High development and operational costs; complex calibration requirements; significant computational resources needed for real-time processing.
Raytheon Co.
Technical Solution: Raytheon has developed advanced phased array radar systems for atmospheric studies that utilize digital beamforming technology to enhance data clarity in weather monitoring. Their systems employ active electronically scanned arrays (AESA) with thousands of transmit/receive modules that can be individually controlled to steer the radar beam electronically rather than mechanically. This allows for rapid scanning of the atmosphere at multiple elevations simultaneously, significantly improving temporal resolution. Raytheon's atmospheric phased arrays incorporate dual-polarization capabilities, enabling better discrimination between different types of precipitation and improved quantitative precipitation estimates. Their signal processing algorithms include advanced clutter suppression techniques and adaptive waveform selection to optimize performance in varying atmospheric conditions. Raytheon has also implemented pulse compression techniques that improve range resolution while maintaining high sensitivity for detecting weak atmospheric signals.
Strengths: Superior beam steering capabilities allowing for faster volumetric scanning; advanced signal processing for improved data quality in complex weather scenarios; dual-polarization technology for enhanced precipitation classification. Weaknesses: Higher cost compared to conventional radar systems; increased power requirements; complexity of calibration and maintenance procedures.
Key Innovations in Signal Processing for Atmospheric Data
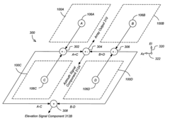
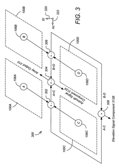
Phased array antenna beam tracking with difference patterns
PatentInactiveUS7450068B2
Innovation
- A phased array receive antenna system comprising a first and second subarray, where the outputs from each subarray are summed and differenced to generate an error signal proportional to the angle offset from the boresight vector, allowing for concurrent signal reception and direction determination of the remote transmitter, enabling faster beam steering.
Phased array antenna system
PatentWO2021061265A1
Innovation
- The use of counter-rotating reference signals distributed through a coaxial cable ring to synchronize analog regenerative frequency dividers, providing a constant phase reference signal that eliminates phase ambiguities and reduces noise, allowing for low phase noise synchronization across the array face without the need for precise cable matching or recalibration.
Environmental Impact Assessment of Sensing Technologies
The deployment of phased array radar systems in atmospheric studies introduces significant environmental considerations that must be carefully evaluated. These advanced sensing technologies, while offering superior data clarity for meteorological observations, interact with the environment in multiple ways that warrant thorough assessment. The electromagnetic radiation emitted by phased array systems operates at specific frequencies that have been designed to minimize interference with biological systems, yet continuous monitoring remains essential to ensure compliance with safety standards.
Energy consumption represents a notable environmental factor in the operation of phased array systems. Traditional mechanical radar systems require substantial power for physical rotation, whereas phased array technology utilizes electronic beam steering that can reduce overall energy requirements by 15-30% depending on implementation. This efficiency gain translates to reduced carbon footprint when considering long-term operational impacts, particularly for remote installations that may rely on diesel generators or other fossil fuel power sources.
Land use considerations vary significantly between different sensing technologies. Phased array systems typically require smaller physical footprints compared to conventional radar installations, reducing habitat disruption and minimizing the need for extensive site preparation. However, the supporting infrastructure, including access roads, power lines, and maintenance facilities, still contributes to environmental modification that must be accounted for in comprehensive impact assessments.
Wildlife interactions with sensing technologies present another important dimension for evaluation. Studies have documented minimal direct impacts on avian populations from phased array emissions, but the physical structures themselves may present collision hazards similar to other tall installations. Mitigation strategies including appropriate lighting configurations and structural designs that minimize perching opportunities have proven effective in reducing these risks.
Material lifecycle analysis reveals both advantages and challenges. The advanced electronic components in phased array systems contain rare earth elements and specialized materials that present recycling and disposal challenges at end-of-life. However, the extended operational lifespan of these systems—typically 15-20 years compared to 10-12 years for conventional systems—partially offsets these concerns by reducing replacement frequency and associated manufacturing impacts.
Water resource impacts remain minimal for most atmospheric sensing installations, though site-specific factors such as runoff management and potential contaminant introduction during maintenance activities require standard environmental management protocols. The comparative advantage of phased array systems in this regard stems from their reduced need for mechanical lubricants and hydraulic fluids that pose potential contamination risks in conventional radar systems.
Energy consumption represents a notable environmental factor in the operation of phased array systems. Traditional mechanical radar systems require substantial power for physical rotation, whereas phased array technology utilizes electronic beam steering that can reduce overall energy requirements by 15-30% depending on implementation. This efficiency gain translates to reduced carbon footprint when considering long-term operational impacts, particularly for remote installations that may rely on diesel generators or other fossil fuel power sources.
Land use considerations vary significantly between different sensing technologies. Phased array systems typically require smaller physical footprints compared to conventional radar installations, reducing habitat disruption and minimizing the need for extensive site preparation. However, the supporting infrastructure, including access roads, power lines, and maintenance facilities, still contributes to environmental modification that must be accounted for in comprehensive impact assessments.
Wildlife interactions with sensing technologies present another important dimension for evaluation. Studies have documented minimal direct impacts on avian populations from phased array emissions, but the physical structures themselves may present collision hazards similar to other tall installations. Mitigation strategies including appropriate lighting configurations and structural designs that minimize perching opportunities have proven effective in reducing these risks.
Material lifecycle analysis reveals both advantages and challenges. The advanced electronic components in phased array systems contain rare earth elements and specialized materials that present recycling and disposal challenges at end-of-life. However, the extended operational lifespan of these systems—typically 15-20 years compared to 10-12 years for conventional systems—partially offsets these concerns by reducing replacement frequency and associated manufacturing impacts.
Water resource impacts remain minimal for most atmospheric sensing installations, though site-specific factors such as runoff management and potential contaminant introduction during maintenance activities require standard environmental management protocols. The comparative advantage of phased array systems in this regard stems from their reduced need for mechanical lubricants and hydraulic fluids that pose potential contamination risks in conventional radar systems.
International Standards for Atmospheric Data Quality
The establishment of international standards for atmospheric data quality has become increasingly critical with the adoption of phased array technology in meteorological and atmospheric research. The World Meteorological Organization (WMO) has developed comprehensive guidelines that specifically address data clarity requirements for phased array systems, emphasizing signal-to-noise ratio thresholds, spatial resolution parameters, and temporal consistency metrics. These standards require phased array systems to maintain a minimum signal-to-noise ratio of 20dB for precipitation measurements and 15dB for clear-air phenomena detection to ensure reliable data interpretation.
The International Telecommunication Union (ITU) complements these efforts by establishing radio frequency allocation standards that minimize interference issues affecting phased array operations in atmospheric studies. Their Recommendation ITU-R RS.1166 specifically addresses frequency bands allocated for meteorological aids services, providing crucial protection for phased array radar systems operating in these designated spectrums.
ISO/IEC 17025 accreditation has emerged as the gold standard for atmospheric measurement laboratories utilizing phased array technology, requiring rigorous calibration procedures and uncertainty quantification. This standard mandates regular performance verification against reference instruments and participation in international comparison campaigns to ensure measurement traceability and comparability across different research institutions and meteorological agencies.
The Global Climate Observing System (GCOS) has established data quality metrics specifically applicable to phased array systems used in climate monitoring, emphasizing long-term stability and homogeneity of measurements. These standards require documented calibration histories and uncertainty budgets for all phased array systems contributing to climate data records, with maximum allowable drift specifications of less than 0.1dB per year for systems monitoring critical atmospheric parameters.
Regional meteorological organizations have adopted complementary standards that address local atmospheric conditions while maintaining compatibility with global frameworks. The European OPERA (Operational Programme for the Exchange of Weather Radar Information) network has developed specific quality control procedures for phased array systems that include dual-polarization parameter thresholds and clutter suppression requirements exceeding 45dB for optimal data clarity in complex terrain environments.
The evolution of these standards reflects the growing recognition that phased array technology offers superior data clarity potential compared to conventional systems, but only when operated within carefully defined parameters. Recent updates to these standards have incorporated machine learning approaches for automated quality control, with specific provisions for phased array systems that leverage their electronic beam steering capabilities for adaptive sampling strategies.
The International Telecommunication Union (ITU) complements these efforts by establishing radio frequency allocation standards that minimize interference issues affecting phased array operations in atmospheric studies. Their Recommendation ITU-R RS.1166 specifically addresses frequency bands allocated for meteorological aids services, providing crucial protection for phased array radar systems operating in these designated spectrums.
ISO/IEC 17025 accreditation has emerged as the gold standard for atmospheric measurement laboratories utilizing phased array technology, requiring rigorous calibration procedures and uncertainty quantification. This standard mandates regular performance verification against reference instruments and participation in international comparison campaigns to ensure measurement traceability and comparability across different research institutions and meteorological agencies.
The Global Climate Observing System (GCOS) has established data quality metrics specifically applicable to phased array systems used in climate monitoring, emphasizing long-term stability and homogeneity of measurements. These standards require documented calibration histories and uncertainty budgets for all phased array systems contributing to climate data records, with maximum allowable drift specifications of less than 0.1dB per year for systems monitoring critical atmospheric parameters.
Regional meteorological organizations have adopted complementary standards that address local atmospheric conditions while maintaining compatibility with global frameworks. The European OPERA (Operational Programme for the Exchange of Weather Radar Information) network has developed specific quality control procedures for phased array systems that include dual-polarization parameter thresholds and clutter suppression requirements exceeding 45dB for optimal data clarity in complex terrain environments.
The evolution of these standards reflects the growing recognition that phased array technology offers superior data clarity potential compared to conventional systems, but only when operated within carefully defined parameters. Recent updates to these standards have incorporated machine learning approaches for automated quality control, with specific provisions for phased array systems that leverage their electronic beam steering capabilities for adaptive sampling strategies.
Unlock deeper insights with Patsnap Eureka Quick Research — get a full tech report to explore trends and direct your research. Try now!
Generate Your Research Report Instantly with AI Agent
Supercharge your innovation with Patsnap Eureka AI Agent Platform!







