How to Tailor Phased Array Systems for Advanced Navigation
SEP 22, 20259 MIN READ
Generate Your Research Report Instantly with AI Agent
Patsnap Eureka helps you evaluate technical feasibility & market potential.
Phased Array Navigation Technology Evolution and Objectives
Phased array technology has evolved significantly since its inception in the early 20th century, initially developed for military radar applications during World War II. The fundamental principle of electronically steering radio waves without mechanical movement has remained consistent, while implementation methods have advanced dramatically. Early systems utilized analog phase shifters and were primarily limited to defense applications, whereas modern phased arrays incorporate digital beamforming techniques and have expanded into numerous civilian domains, including navigation systems.
The evolution of phased array technology for navigation purposes has been accelerated by three key technological advancements: miniaturization of electronic components, development of more efficient semiconductor materials, and implementation of sophisticated digital signal processing algorithms. These improvements have transformed bulky, power-hungry systems into compact solutions suitable for integration into various navigation platforms, from aircraft and maritime vessels to autonomous vehicles and portable devices.
Recent breakthroughs in metamaterials and artificial intelligence have further revolutionized phased array capabilities. Metamaterials enable unprecedented control over electromagnetic waves, allowing for more precise beam steering and improved signal reception in challenging environments. Meanwhile, AI algorithms have enhanced adaptive beamforming techniques, enabling systems to dynamically respond to changing environmental conditions and interference patterns.
The primary objective of modern phased array navigation systems is to provide highly accurate positioning and orientation data in environments where traditional navigation methods like GPS may be compromised or unavailable. This includes urban canyons, indoor spaces, underwater environments, and regions experiencing electromagnetic interference or jamming. Additionally, these systems aim to enhance resilience against spoofing attacks, which have become increasingly sophisticated threats to navigation security.
Another critical objective is reducing the size, weight, power consumption, and cost (SWaP-C) of phased array systems while maintaining or improving performance metrics. This goal is particularly important for enabling widespread adoption across various platforms, including resource-constrained applications such as small unmanned aerial vehicles and wearable navigation devices.
Looking forward, the technical roadmap for phased array navigation systems focuses on achieving centimeter-level positioning accuracy in all environments, real-time 3D mapping capabilities, seamless integration with other sensing modalities, and further reductions in energy requirements. The convergence of phased array technology with quantum sensing principles represents a promising frontier that could potentially revolutionize navigation capabilities in the coming decades.
The evolution of phased array technology for navigation purposes has been accelerated by three key technological advancements: miniaturization of electronic components, development of more efficient semiconductor materials, and implementation of sophisticated digital signal processing algorithms. These improvements have transformed bulky, power-hungry systems into compact solutions suitable for integration into various navigation platforms, from aircraft and maritime vessels to autonomous vehicles and portable devices.
Recent breakthroughs in metamaterials and artificial intelligence have further revolutionized phased array capabilities. Metamaterials enable unprecedented control over electromagnetic waves, allowing for more precise beam steering and improved signal reception in challenging environments. Meanwhile, AI algorithms have enhanced adaptive beamforming techniques, enabling systems to dynamically respond to changing environmental conditions and interference patterns.
The primary objective of modern phased array navigation systems is to provide highly accurate positioning and orientation data in environments where traditional navigation methods like GPS may be compromised or unavailable. This includes urban canyons, indoor spaces, underwater environments, and regions experiencing electromagnetic interference or jamming. Additionally, these systems aim to enhance resilience against spoofing attacks, which have become increasingly sophisticated threats to navigation security.
Another critical objective is reducing the size, weight, power consumption, and cost (SWaP-C) of phased array systems while maintaining or improving performance metrics. This goal is particularly important for enabling widespread adoption across various platforms, including resource-constrained applications such as small unmanned aerial vehicles and wearable navigation devices.
Looking forward, the technical roadmap for phased array navigation systems focuses on achieving centimeter-level positioning accuracy in all environments, real-time 3D mapping capabilities, seamless integration with other sensing modalities, and further reductions in energy requirements. The convergence of phased array technology with quantum sensing principles represents a promising frontier that could potentially revolutionize navigation capabilities in the coming decades.
Market Analysis for Advanced Navigation Systems
The advanced navigation systems market is experiencing robust growth, driven by increasing demand across multiple sectors including defense, aerospace, maritime, and autonomous vehicles. The global market for advanced navigation systems was valued at approximately 78 billion USD in 2022 and is projected to reach 145 billion USD by 2030, representing a compound annual growth rate of 8.1% during the forecast period.
Defense and aerospace sectors continue to be the primary revenue generators, collectively accounting for over 60% of the market share. Military applications particularly favor phased array systems due to their superior performance in challenging environments and resistance to jamming. The commercial aviation segment is also showing increased adoption rates as airlines seek to enhance safety and operational efficiency through more reliable navigation technologies.
Maritime navigation represents another significant market segment, with shipping companies investing heavily in advanced navigation systems to optimize route planning, reduce fuel consumption, and enhance safety. The integration of phased array technology in maritime navigation systems has shown a 15% improvement in accuracy under adverse weather conditions compared to conventional systems.
The autonomous vehicle sector presents the most promising growth opportunity, with a projected market value of 32 billion USD by 2028 specifically for navigation systems. As self-driving technology advances, the demand for high-precision, reliable navigation solutions becomes increasingly critical. Phased array systems offer significant advantages in this context due to their beam-steering capabilities and resistance to interference.
Regionally, North America dominates the market with approximately 38% share, followed by Europe at 29% and Asia-Pacific at 24%. However, the Asia-Pacific region is expected to witness the highest growth rate of 10.2% annually, primarily driven by increasing defense budgets in countries like China and India, along with rapid advancement in autonomous vehicle technology in Japan and South Korea.
Consumer expectations are evolving toward more integrated, multi-functional navigation systems that can operate seamlessly across different environments. This trend is pushing manufacturers to develop phased array systems that can adapt to various use cases while maintaining high performance standards. The market increasingly values solutions that offer redundancy through sensor fusion, combining phased array technology with other navigation methods such as inertial navigation systems and GNSS.
Price sensitivity varies significantly across market segments, with defense customers prioritizing performance over cost, while commercial and consumer applications demand more cost-effective solutions. This dichotomy is creating opportunities for tiered product strategies in the phased array navigation systems market.
Defense and aerospace sectors continue to be the primary revenue generators, collectively accounting for over 60% of the market share. Military applications particularly favor phased array systems due to their superior performance in challenging environments and resistance to jamming. The commercial aviation segment is also showing increased adoption rates as airlines seek to enhance safety and operational efficiency through more reliable navigation technologies.
Maritime navigation represents another significant market segment, with shipping companies investing heavily in advanced navigation systems to optimize route planning, reduce fuel consumption, and enhance safety. The integration of phased array technology in maritime navigation systems has shown a 15% improvement in accuracy under adverse weather conditions compared to conventional systems.
The autonomous vehicle sector presents the most promising growth opportunity, with a projected market value of 32 billion USD by 2028 specifically for navigation systems. As self-driving technology advances, the demand for high-precision, reliable navigation solutions becomes increasingly critical. Phased array systems offer significant advantages in this context due to their beam-steering capabilities and resistance to interference.
Regionally, North America dominates the market with approximately 38% share, followed by Europe at 29% and Asia-Pacific at 24%. However, the Asia-Pacific region is expected to witness the highest growth rate of 10.2% annually, primarily driven by increasing defense budgets in countries like China and India, along with rapid advancement in autonomous vehicle technology in Japan and South Korea.
Consumer expectations are evolving toward more integrated, multi-functional navigation systems that can operate seamlessly across different environments. This trend is pushing manufacturers to develop phased array systems that can adapt to various use cases while maintaining high performance standards. The market increasingly values solutions that offer redundancy through sensor fusion, combining phased array technology with other navigation methods such as inertial navigation systems and GNSS.
Price sensitivity varies significantly across market segments, with defense customers prioritizing performance over cost, while commercial and consumer applications demand more cost-effective solutions. This dichotomy is creating opportunities for tiered product strategies in the phased array navigation systems market.
Current Phased Array Technology Limitations and Challenges
Despite significant advancements in phased array technology for navigation systems, several critical limitations and challenges persist that impede optimal performance in advanced navigation applications. Current phased array systems face substantial power consumption issues, particularly in mobile and autonomous platforms where energy efficiency is paramount. The high power requirements of traditional phased array architectures create thermal management challenges and reduce operational longevity, limiting their deployment in resource-constrained environments.
Size and weight constraints represent another significant barrier, especially for aerospace and portable applications. Conventional phased array systems often incorporate bulky components and complex cooling mechanisms that increase the overall system footprint. This dimensional challenge directly conflicts with the industry trend toward miniaturization and integration of navigation systems into smaller platforms and devices.
Manufacturing complexity and associated costs continue to restrict widespread adoption. The precision required for fabricating phased array elements, particularly at higher frequencies, demands specialized manufacturing processes and quality control measures. These requirements translate to higher production costs and limited scalability, creating barriers to commercial viability for many applications.
Bandwidth limitations affect the versatility of current phased array systems. Many existing architectures operate effectively only within narrow frequency bands, restricting their ability to adapt to diverse navigation scenarios or to integrate with multi-band communication systems. This frequency constraint limits the resilience of navigation systems against interference and jamming attempts.
Calibration and maintenance challenges further complicate deployment. Environmental factors such as temperature variations and mechanical stress can alter the performance characteristics of phased array elements, necessitating frequent recalibration. Current systems often lack robust self-calibration capabilities, requiring manual intervention that increases operational overhead and reduces reliability in dynamic environments.
Signal processing complexity presents additional hurdles. The computational demands for real-time beamforming, especially in systems supporting multiple simultaneous beams or advanced adaptive algorithms, exceed the capabilities of many embedded processors. This processing bottleneck limits the responsiveness and adaptability of navigation systems in rapidly changing environments.
Integration challenges with existing navigation infrastructure also impede adoption. Many current phased array systems utilize proprietary protocols and interfaces that complicate interoperability with established navigation networks and standards. This fragmentation creates implementation barriers and reduces the overall resilience of navigation ecosystems that incorporate phased array technology.
Size and weight constraints represent another significant barrier, especially for aerospace and portable applications. Conventional phased array systems often incorporate bulky components and complex cooling mechanisms that increase the overall system footprint. This dimensional challenge directly conflicts with the industry trend toward miniaturization and integration of navigation systems into smaller platforms and devices.
Manufacturing complexity and associated costs continue to restrict widespread adoption. The precision required for fabricating phased array elements, particularly at higher frequencies, demands specialized manufacturing processes and quality control measures. These requirements translate to higher production costs and limited scalability, creating barriers to commercial viability for many applications.
Bandwidth limitations affect the versatility of current phased array systems. Many existing architectures operate effectively only within narrow frequency bands, restricting their ability to adapt to diverse navigation scenarios or to integrate with multi-band communication systems. This frequency constraint limits the resilience of navigation systems against interference and jamming attempts.
Calibration and maintenance challenges further complicate deployment. Environmental factors such as temperature variations and mechanical stress can alter the performance characteristics of phased array elements, necessitating frequent recalibration. Current systems often lack robust self-calibration capabilities, requiring manual intervention that increases operational overhead and reduces reliability in dynamic environments.
Signal processing complexity presents additional hurdles. The computational demands for real-time beamforming, especially in systems supporting multiple simultaneous beams or advanced adaptive algorithms, exceed the capabilities of many embedded processors. This processing bottleneck limits the responsiveness and adaptability of navigation systems in rapidly changing environments.
Integration challenges with existing navigation infrastructure also impede adoption. Many current phased array systems utilize proprietary protocols and interfaces that complicate interoperability with established navigation networks and standards. This fragmentation creates implementation barriers and reduces the overall resilience of navigation ecosystems that incorporate phased array technology.
Current Phased Array Beamforming Solutions for Navigation
01 Phased Array Antenna Design and Configuration
Phased array systems utilize multiple antenna elements arranged in specific configurations to achieve directional signal transmission and reception. These designs incorporate various element arrangements, spacing techniques, and feed structures to optimize beam forming capabilities. Advanced configurations may include planar arrays, conformal arrays, or modular designs that can be adapted for different applications, enhancing overall system performance and flexibility.- Phased Array Antenna Design and Configuration: Phased array systems utilize multiple antenna elements arranged in specific configurations to achieve directional signal transmission and reception. These designs incorporate various element arrangements, spacing techniques, and feed structures to optimize beam forming capabilities. Advanced configurations may include planar arrays, conformal arrays, or modular designs that can be adapted for different applications, enhancing overall system performance and flexibility.
- Beam Steering and Control Mechanisms: Beam steering technology enables phased array systems to electronically direct radio frequency energy without physically moving the antenna. This is achieved through phase shifters, time delay units, and sophisticated control algorithms that adjust the phase of signals at individual elements. Modern systems incorporate digital signal processing techniques and adaptive algorithms to dynamically control beam patterns, suppress interference, and track moving targets with high precision.
- Signal Processing and Calibration Techniques: Advanced signal processing is essential for phased array systems to maintain performance across operating conditions. These techniques include digital beamforming, adaptive filtering, and real-time calibration methods that compensate for environmental factors and component variations. Calibration procedures ensure phase and amplitude accuracy across array elements, while sophisticated algorithms enable features such as multi-beam operation, null steering, and interference cancellation.
- Integration with Communication and Radar Systems: Phased array technology is increasingly integrated into modern communication networks and radar systems. These implementations support multiple-input multiple-output (MIMO) configurations, enabling higher data rates and improved spectral efficiency for communications. In radar applications, phased arrays provide advantages including electronic scanning, multiple target tracking, and improved detection capabilities. The technology enables dual-function systems that can perform both communication and sensing operations simultaneously.
- Miniaturization and Advanced Materials: Recent innovations focus on reducing the size and weight of phased array systems while maintaining or improving performance. This includes the development of integrated circuits specifically designed for phased arrays, advanced packaging techniques, and the use of novel materials. Semiconductor technologies such as GaN, GaAs, and silicon-based RFICs enable higher levels of integration, while metamaterials and composite structures provide enhanced electromagnetic properties and thermal management.
02 Beam Steering and Control Mechanisms
Beam steering technologies in phased array systems enable dynamic control of radiation patterns without physically moving the antenna. These mechanisms utilize phase shifters, time delay units, and sophisticated control algorithms to manipulate the direction and shape of the beam. Modern systems incorporate digital signal processing techniques and adaptive algorithms that can automatically adjust beam parameters in response to changing environmental conditions or operational requirements.Expand Specific Solutions03 Radar and Sensing Applications
Phased array systems are extensively used in radar and sensing applications across various domains. These systems provide capabilities such as target detection, tracking, and imaging with high precision and reliability. Advanced implementations include weather monitoring, air traffic control, autonomous vehicle sensing, and security surveillance. The ability to rapidly scan large areas while maintaining high resolution makes phased arrays particularly valuable for these applications.Expand Specific Solutions04 Communication Systems Integration
Phased array technology is increasingly integrated into modern communication systems to enhance data transmission capabilities. These implementations support high-speed wireless networks, satellite communications, and 5G infrastructure. The systems enable multiple-input multiple-output (MIMO) configurations, spatial multiplexing, and beamforming techniques that significantly improve signal quality, coverage, and capacity while reducing interference in crowded spectrum environments.Expand Specific Solutions05 Miniaturization and Integration Technologies
Advancements in miniaturization and integration technologies have revolutionized phased array systems, making them more compact and energy-efficient. These developments include the use of microelectromechanical systems (MEMS), integrated circuit technologies, and advanced materials. Miniaturized phased arrays can be embedded in portable devices, wearable technology, and space-constrained applications while maintaining high performance characteristics and reducing power consumption.Expand Specific Solutions
Leading Companies and Research Institutions in Phased Array Navigation
The phased array systems for advanced navigation market is currently in a growth phase, characterized by increasing demand for high-precision positioning solutions across defense, aerospace, and commercial sectors. The market size is expanding rapidly, projected to reach several billion dollars by 2025, driven by autonomous vehicle development and military modernization programs. From a technological maturity perspective, the landscape shows varying degrees of advancement. Industry leaders like Raytheon, Lockheed Martin, and Boeing have established robust phased array capabilities for defense applications, while newer entrants such as Tron Future Tech and WaveScan Technologies are introducing innovative commercial solutions. Companies including NXP, MediaTek, and MaxLinear are advancing semiconductor technologies critical for miniaturization and cost reduction, while research partnerships with institutions like Caltech and University of Michigan are pushing theoretical boundaries for next-generation systems.
Raytheon Co.
Technical Solution: Raytheon has developed advanced Active Electronically Scanned Array (AESA) radar systems that utilize digital beamforming techniques for precise navigation applications. Their phased array technology incorporates gallium nitride (GaN) semiconductor materials that enable higher power density and efficiency compared to traditional gallium arsenide components. Raytheon's systems feature adaptive beamforming algorithms that dynamically adjust the radiation pattern to optimize performance in challenging electromagnetic environments. Their phased arrays employ distributed processing architectures where signal processing is performed at the element level, reducing central processing requirements and enabling more responsive beam steering. Raytheon has also pioneered dual-band phased array systems that operate simultaneously in multiple frequency bands to enhance detection capabilities across varying environmental conditions.
Strengths: Industry-leading GaN technology providing superior power efficiency and thermal management; extensive defense sector experience enabling robust, battle-tested solutions. Weaknesses: Higher cost structure compared to commercial alternatives; systems often require significant power and cooling infrastructure.
The Boeing Co.
Technical Solution: Boeing has developed integrated phased array navigation systems that combine GPS, inertial measurement units, and phased array antennas to provide resilient positioning in GPS-denied environments. Their technology employs conformal phased arrays that can be embedded into aircraft structures, reducing aerodynamic drag while maintaining optimal signal reception. Boeing's systems utilize advanced signal processing algorithms that can detect and mitigate jamming attempts through adaptive nulling techniques, directing reception nulls toward interference sources. Their phased arrays incorporate digital time delay units rather than phase shifters for true time delay beamforming, enabling ultra-wideband operation without beam squint effects across the frequency range. Boeing has also pioneered hybrid beamforming architectures that combine analog and digital beamforming to balance performance with power consumption requirements.
Strengths: Exceptional system integration capabilities across multiple platforms; advanced anti-jamming technology providing resilience in contested environments. Weaknesses: Solutions often tailored to aerospace applications with less flexibility for other domains; higher implementation complexity requiring specialized expertise.
Key Patents and Innovations in Phased Array Navigation
Micro assembled high frequency devices and arrays
PatentWO2015193433A2
Innovation
- Micro transfer printing technology is used to efficiently assemble phased-array antenna systems by transferring and interconnecting ultra-thin, fragile, or small active components onto flexible substrates, reducing the amount of semiconductor material needed and enabling the creation of small-scale systems with high-density active components.
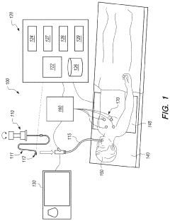
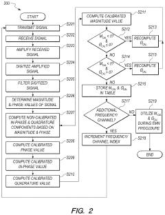
System for calibrating an electromagnetic navigation system
PatentActiveUS20210000550A1
Innovation
- A method and system for calibrating electromagnetic navigation systems by computing calibrated in-phase and quadrature components based on received signal magnitude and phase values, using equations to adjust these components, and storing calibrated values for use during navigation procedures, while also optimizing system performance through phase offset adjustments.
Integration Strategies with Existing Navigation Infrastructure
Successful integration of phased array systems with existing navigation infrastructure requires careful planning and strategic implementation. Current navigation ecosystems typically comprise Global Navigation Satellite Systems (GNSS), Inertial Navigation Systems (INS), radar-based systems, and various terrestrial positioning networks. Phased array technology must be integrated in ways that enhance rather than disrupt these established systems, creating a seamless operational environment that leverages the strengths of both new and legacy technologies.
A layered integration approach has proven most effective, beginning with parallel operation where phased array systems run alongside existing infrastructure without direct interaction. This allows for performance benchmarking and system validation before deeper integration occurs. The second phase involves data fusion, where information from phased array sensors is combined with conventional navigation data through sophisticated algorithms that weight inputs based on environmental conditions and reliability metrics.
Hardware integration presents significant challenges, particularly regarding power requirements, physical space constraints, and electromagnetic compatibility. Modern phased array systems for navigation typically require dedicated power management solutions and careful placement to minimize interference with existing equipment. Standardized interfaces such as MIL-STD-1553B, ARINC 429, or newer IP-based protocols facilitate hardware connectivity while maintaining system integrity.
Software integration represents perhaps the most complex aspect, requiring middleware solutions that can translate between legacy and modern data formats. Many organizations have successfully implemented adapter layers that convert phased array data streams into formats compatible with existing navigation processors. Open architecture approaches using modular software components have demonstrated particular success in military and commercial aviation applications, allowing for incremental capability enhancement without wholesale system replacement.
Calibration and synchronization between systems demand precise timing solutions, often requiring atomic clock references or GPS-disciplined oscillators to maintain phase coherence across integrated systems. Testing protocols must be established to verify that the combined system meets or exceeds the performance of individual components, particularly in challenging environments where signal degradation may occur.
Regulatory compliance presents another integration consideration, as phased array systems must operate within allocated frequency bands without causing interference to critical navigation services. This often necessitates coordination with national and international regulatory bodies, particularly for systems operating in shared spectrum environments. Documentation of compliance testing and certification becomes an essential component of the integration strategy.
A layered integration approach has proven most effective, beginning with parallel operation where phased array systems run alongside existing infrastructure without direct interaction. This allows for performance benchmarking and system validation before deeper integration occurs. The second phase involves data fusion, where information from phased array sensors is combined with conventional navigation data through sophisticated algorithms that weight inputs based on environmental conditions and reliability metrics.
Hardware integration presents significant challenges, particularly regarding power requirements, physical space constraints, and electromagnetic compatibility. Modern phased array systems for navigation typically require dedicated power management solutions and careful placement to minimize interference with existing equipment. Standardized interfaces such as MIL-STD-1553B, ARINC 429, or newer IP-based protocols facilitate hardware connectivity while maintaining system integrity.
Software integration represents perhaps the most complex aspect, requiring middleware solutions that can translate between legacy and modern data formats. Many organizations have successfully implemented adapter layers that convert phased array data streams into formats compatible with existing navigation processors. Open architecture approaches using modular software components have demonstrated particular success in military and commercial aviation applications, allowing for incremental capability enhancement without wholesale system replacement.
Calibration and synchronization between systems demand precise timing solutions, often requiring atomic clock references or GPS-disciplined oscillators to maintain phase coherence across integrated systems. Testing protocols must be established to verify that the combined system meets or exceeds the performance of individual components, particularly in challenging environments where signal degradation may occur.
Regulatory compliance presents another integration consideration, as phased array systems must operate within allocated frequency bands without causing interference to critical navigation services. This often necessitates coordination with national and international regulatory bodies, particularly for systems operating in shared spectrum environments. Documentation of compliance testing and certification becomes an essential component of the integration strategy.
Regulatory Framework for Advanced Navigation Technologies
The regulatory landscape governing phased array systems for advanced navigation is complex and multifaceted, requiring careful consideration by manufacturers and operators. International bodies such as the International Telecommunication Union (ITU) and the International Civil Aviation Organization (ICAO) establish baseline standards that influence regional and national regulations. These frameworks primarily focus on spectrum allocation, interference prevention, and safety certification requirements.
In the United States, the Federal Communications Commission (FCC) regulates the radio frequency aspects of phased array systems, requiring type approval and specific operational parameters. The Federal Aviation Administration (FAA) imposes additional requirements when these systems are deployed in aviation contexts, particularly concerning reliability standards and fail-safe mechanisms. Military applications face separate regulatory frameworks through the Department of Defense, with classified specifications for performance and security.
The European Union, through the European Telecommunications Standards Institute (ETSI) and the European Union Aviation Safety Agency (EASA), maintains similar but distinct regulatory approaches. Their framework places greater emphasis on environmental impact assessments and privacy considerations, especially for systems with dual-use potential.
Emerging markets like China and India are rapidly developing their regulatory frameworks, often with more stringent national security provisions that may limit certain phased array technologies or require domestic production partnerships. These evolving regulations create significant market entry barriers for international companies.
Compliance certification processes typically involve extensive testing regimes, including electromagnetic compatibility (EMC) testing, environmental durability assessments, and cybersecurity evaluations. The certification timeline can range from 6-18 months depending on the jurisdiction and application domain, representing a significant factor in product development planning.
Recent regulatory trends indicate movement toward harmonization of standards across jurisdictions, particularly for autonomous vehicle navigation applications. However, divergent approaches to data sovereignty and security requirements continue to create regulatory fragmentation that challenges global deployment strategies.
Companies developing phased array systems for advanced navigation must implement robust regulatory intelligence capabilities to track evolving requirements across markets. Successful market entry strategies often involve early engagement with regulatory bodies during the design phase rather than attempting compliance retrofitting later in development.
In the United States, the Federal Communications Commission (FCC) regulates the radio frequency aspects of phased array systems, requiring type approval and specific operational parameters. The Federal Aviation Administration (FAA) imposes additional requirements when these systems are deployed in aviation contexts, particularly concerning reliability standards and fail-safe mechanisms. Military applications face separate regulatory frameworks through the Department of Defense, with classified specifications for performance and security.
The European Union, through the European Telecommunications Standards Institute (ETSI) and the European Union Aviation Safety Agency (EASA), maintains similar but distinct regulatory approaches. Their framework places greater emphasis on environmental impact assessments and privacy considerations, especially for systems with dual-use potential.
Emerging markets like China and India are rapidly developing their regulatory frameworks, often with more stringent national security provisions that may limit certain phased array technologies or require domestic production partnerships. These evolving regulations create significant market entry barriers for international companies.
Compliance certification processes typically involve extensive testing regimes, including electromagnetic compatibility (EMC) testing, environmental durability assessments, and cybersecurity evaluations. The certification timeline can range from 6-18 months depending on the jurisdiction and application domain, representing a significant factor in product development planning.
Recent regulatory trends indicate movement toward harmonization of standards across jurisdictions, particularly for autonomous vehicle navigation applications. However, divergent approaches to data sovereignty and security requirements continue to create regulatory fragmentation that challenges global deployment strategies.
Companies developing phased array systems for advanced navigation must implement robust regulatory intelligence capabilities to track evolving requirements across markets. Successful market entry strategies often involve early engagement with regulatory bodies during the design phase rather than attempting compliance retrofitting later in development.
Unlock deeper insights with Patsnap Eureka Quick Research — get a full tech report to explore trends and direct your research. Try now!
Generate Your Research Report Instantly with AI Agent
Supercharge your innovation with Patsnap Eureka AI Agent Platform!







