Spin Qubits in Silicon: Electromagnetic Interference Effects
OCT 10, 20259 MIN READ
Generate Your Research Report Instantly with AI Agent
Patsnap Eureka helps you evaluate technical feasibility & market potential.
Silicon Spin Qubit Technology Evolution and Objectives
Silicon spin qubits have emerged as a promising platform for quantum computing due to their compatibility with existing semiconductor manufacturing infrastructure. The evolution of this technology can be traced back to the early 2000s when theoretical proposals for using electron spins in quantum dots as qubits were first introduced. These proposals highlighted the potential advantages of silicon-based quantum computing, including long coherence times and scalability.
The initial experimental demonstrations of spin qubits in silicon occurred around 2010, with significant breakthroughs in single-qubit control and readout. These early implementations faced substantial challenges related to electromagnetic interference (EMI), which disrupted the delicate quantum states necessary for computation. As the field progressed, researchers developed increasingly sophisticated techniques to mitigate these interference effects.
By 2015, the technology had advanced to demonstrate two-qubit gates, a critical milestone for universal quantum computing. During this period, the understanding of EMI effects deepened, revealing how external electromagnetic radiation and internal circuit noise could degrade qubit performance. This knowledge led to improved shielding techniques and circuit designs specifically engineered to minimize interference.
The period from 2018 to present has seen remarkable progress in scaling silicon spin qubit systems, with demonstrations of small arrays of qubits showing promising fidelity metrics. Concurrently, researchers have developed more robust control protocols that actively compensate for electromagnetic disturbances, enhancing qubit stability in noisy environments.
The primary technical objectives for silicon spin qubits include achieving fault-tolerant operation through error correction codes, which requires further improvements in qubit fidelity and coherence times in the presence of EMI. Another critical goal is scaling to larger qubit arrays while maintaining precise control over individual qubits and minimizing crosstalk—a particular challenge as EMI effects can propagate across densely packed qubit arrays.
Looking forward, the field aims to develop integrated solutions that combine advanced materials science, electromagnetic shielding, and sophisticated control electronics to create robust quantum processors. The ultimate objective is to realize practical quantum advantage in real-world applications, which necessitates overcoming the fundamental susceptibility of spin qubits to electromagnetic interference while preserving their inherent advantages in scalability and manufacturability.
The trajectory of silicon spin qubit technology suggests a continued focus on understanding and mitigating EMI effects at both the device and system levels, with increasing emphasis on creating quantum processors that can operate reliably in realistic electromagnetic environments.
The initial experimental demonstrations of spin qubits in silicon occurred around 2010, with significant breakthroughs in single-qubit control and readout. These early implementations faced substantial challenges related to electromagnetic interference (EMI), which disrupted the delicate quantum states necessary for computation. As the field progressed, researchers developed increasingly sophisticated techniques to mitigate these interference effects.
By 2015, the technology had advanced to demonstrate two-qubit gates, a critical milestone for universal quantum computing. During this period, the understanding of EMI effects deepened, revealing how external electromagnetic radiation and internal circuit noise could degrade qubit performance. This knowledge led to improved shielding techniques and circuit designs specifically engineered to minimize interference.
The period from 2018 to present has seen remarkable progress in scaling silicon spin qubit systems, with demonstrations of small arrays of qubits showing promising fidelity metrics. Concurrently, researchers have developed more robust control protocols that actively compensate for electromagnetic disturbances, enhancing qubit stability in noisy environments.
The primary technical objectives for silicon spin qubits include achieving fault-tolerant operation through error correction codes, which requires further improvements in qubit fidelity and coherence times in the presence of EMI. Another critical goal is scaling to larger qubit arrays while maintaining precise control over individual qubits and minimizing crosstalk—a particular challenge as EMI effects can propagate across densely packed qubit arrays.
Looking forward, the field aims to develop integrated solutions that combine advanced materials science, electromagnetic shielding, and sophisticated control electronics to create robust quantum processors. The ultimate objective is to realize practical quantum advantage in real-world applications, which necessitates overcoming the fundamental susceptibility of spin qubits to electromagnetic interference while preserving their inherent advantages in scalability and manufacturability.
The trajectory of silicon spin qubit technology suggests a continued focus on understanding and mitigating EMI effects at both the device and system levels, with increasing emphasis on creating quantum processors that can operate reliably in realistic electromagnetic environments.
Quantum Computing Market Demand Analysis
The quantum computing market is experiencing unprecedented growth, driven by significant advancements in qubit technologies, including silicon-based spin qubits. Current market projections indicate that the global quantum computing market is expected to reach $1.7 billion by 2026, with a compound annual growth rate of approximately 30% from 2021. Silicon spin qubits represent a particularly promising segment within this market due to their compatibility with existing semiconductor manufacturing infrastructure.
Market research reveals increasing demand from various sectors for quantum computing solutions that can address complex computational problems beyond the capabilities of classical computers. Financial services institutions are showing particular interest in quantum algorithms for portfolio optimization and risk assessment, with major banks investing heavily in quantum research partnerships. The pharmaceutical industry represents another significant market segment, with companies seeking quantum computing solutions to accelerate drug discovery processes and reduce development costs.
Defense and intelligence agencies globally are emerging as key customers, allocating substantial budgets for quantum computing research with specific interest in secure communications and cryptography applications. This sector's demand is particularly relevant to spin qubits in silicon, as these systems must operate reliably in environments with varying levels of electromagnetic interference.
Market analysis indicates that while large-scale, fault-tolerant quantum computers remain years away from commercial viability, there is growing demand for intermediate-scale quantum processors that can demonstrate quantum advantage in specific applications. Silicon spin qubits are positioned favorably in this near-term market due to their potential scalability and longer coherence times compared to some competing technologies.
A significant market trend is the increasing focus on quantum computing as a service (QCaaS) rather than on-premises quantum hardware. This service-based model is expected to account for approximately 65% of the quantum computing market by 2025, creating opportunities for spin qubit technologies that can be effectively integrated into cloud-based quantum computing platforms.
Customer surveys indicate that reliability in varied electromagnetic environments represents a critical purchasing factor for potential quantum computing users. Organizations across sectors express concerns about the susceptibility of quantum systems to environmental interference, highlighting the importance of addressing electromagnetic interference effects in silicon spin qubits to meet market expectations.
Regional analysis shows North America leading in quantum computing investments, followed by Europe and Asia-Pacific. China's national strategy for quantum information science is driving significant market growth in the region, with substantial investments in silicon-based quantum computing technologies and related infrastructure development.
Market research reveals increasing demand from various sectors for quantum computing solutions that can address complex computational problems beyond the capabilities of classical computers. Financial services institutions are showing particular interest in quantum algorithms for portfolio optimization and risk assessment, with major banks investing heavily in quantum research partnerships. The pharmaceutical industry represents another significant market segment, with companies seeking quantum computing solutions to accelerate drug discovery processes and reduce development costs.
Defense and intelligence agencies globally are emerging as key customers, allocating substantial budgets for quantum computing research with specific interest in secure communications and cryptography applications. This sector's demand is particularly relevant to spin qubits in silicon, as these systems must operate reliably in environments with varying levels of electromagnetic interference.
Market analysis indicates that while large-scale, fault-tolerant quantum computers remain years away from commercial viability, there is growing demand for intermediate-scale quantum processors that can demonstrate quantum advantage in specific applications. Silicon spin qubits are positioned favorably in this near-term market due to their potential scalability and longer coherence times compared to some competing technologies.
A significant market trend is the increasing focus on quantum computing as a service (QCaaS) rather than on-premises quantum hardware. This service-based model is expected to account for approximately 65% of the quantum computing market by 2025, creating opportunities for spin qubit technologies that can be effectively integrated into cloud-based quantum computing platforms.
Customer surveys indicate that reliability in varied electromagnetic environments represents a critical purchasing factor for potential quantum computing users. Organizations across sectors express concerns about the susceptibility of quantum systems to environmental interference, highlighting the importance of addressing electromagnetic interference effects in silicon spin qubits to meet market expectations.
Regional analysis shows North America leading in quantum computing investments, followed by Europe and Asia-Pacific. China's national strategy for quantum information science is driving significant market growth in the region, with substantial investments in silicon-based quantum computing technologies and related infrastructure development.
EMI Challenges in Silicon Spin Qubit Systems
Silicon spin qubits represent one of the most promising platforms for quantum computing due to their compatibility with existing semiconductor manufacturing infrastructure. However, these quantum systems are inherently sensitive to electromagnetic interference (EMI), which poses significant challenges to their operation and scalability. The susceptibility of spin qubits to EMI stems from their fundamental operating principles, where electron spins are manipulated using precisely controlled electromagnetic fields.
EMI in silicon spin qubit systems manifests through multiple mechanisms. External radio frequency (RF) radiation can induce unwanted transitions between qubit states, effectively introducing errors in quantum operations. Power line noise at 50/60 Hz and their harmonics can couple to control lines and modulate the local electromagnetic environment. Even thermal radiation from surrounding components can generate sufficient EMI to disrupt qubit coherence.
The challenge is particularly acute because spin qubits require both high-frequency control signals (typically in the GHz range for spin manipulation) and DC magnetic fields for Zeeman splitting. This combination creates multiple pathways for EMI to affect qubit performance. Control lines that deliver these signals can act as antennas, picking up ambient electromagnetic noise and delivering it directly to the qubit system.
Measurement equipment introduces another source of EMI. The sensitive amplifiers and detectors used to read out qubit states can generate their own electromagnetic noise, which feeds back into the qubit system. This creates a complex noise environment that is difficult to characterize and mitigate.
Temperature dependence further complicates EMI management. At the cryogenic temperatures required for qubit operation (typically below 100 mK), the behavior of materials and electronic components changes significantly, altering their EMI generation and susceptibility characteristics. Standard room-temperature EMI shielding solutions may perform differently or become ineffective at these extreme temperatures.
Scaling presents perhaps the most formidable EMI challenge. As quantum processors grow to incorporate more qubits, the density of control lines increases, creating more potential for cross-talk and EMI coupling between adjacent qubits. The physical proximity required for qubit-qubit interactions inherently increases their vulnerability to correlated noise from common EMI sources.
Recent experiments have demonstrated that even carefully shielded spin qubit systems can experience coherence time reductions of up to two orders of magnitude due to unmitigated EMI. This highlights the critical importance of developing comprehensive EMI management strategies that address both external interference sources and system-generated noise.
EMI in silicon spin qubit systems manifests through multiple mechanisms. External radio frequency (RF) radiation can induce unwanted transitions between qubit states, effectively introducing errors in quantum operations. Power line noise at 50/60 Hz and their harmonics can couple to control lines and modulate the local electromagnetic environment. Even thermal radiation from surrounding components can generate sufficient EMI to disrupt qubit coherence.
The challenge is particularly acute because spin qubits require both high-frequency control signals (typically in the GHz range for spin manipulation) and DC magnetic fields for Zeeman splitting. This combination creates multiple pathways for EMI to affect qubit performance. Control lines that deliver these signals can act as antennas, picking up ambient electromagnetic noise and delivering it directly to the qubit system.
Measurement equipment introduces another source of EMI. The sensitive amplifiers and detectors used to read out qubit states can generate their own electromagnetic noise, which feeds back into the qubit system. This creates a complex noise environment that is difficult to characterize and mitigate.
Temperature dependence further complicates EMI management. At the cryogenic temperatures required for qubit operation (typically below 100 mK), the behavior of materials and electronic components changes significantly, altering their EMI generation and susceptibility characteristics. Standard room-temperature EMI shielding solutions may perform differently or become ineffective at these extreme temperatures.
Scaling presents perhaps the most formidable EMI challenge. As quantum processors grow to incorporate more qubits, the density of control lines increases, creating more potential for cross-talk and EMI coupling between adjacent qubits. The physical proximity required for qubit-qubit interactions inherently increases their vulnerability to correlated noise from common EMI sources.
Recent experiments have demonstrated that even carefully shielded spin qubit systems can experience coherence time reductions of up to two orders of magnitude due to unmitigated EMI. This highlights the critical importance of developing comprehensive EMI management strategies that address both external interference sources and system-generated noise.
Current EMI Mitigation Strategies for Spin Qubits
01 Silicon-based spin qubit architectures for quantum computing
Silicon-based spin qubits represent a promising platform for quantum computing due to their compatibility with existing semiconductor manufacturing processes. These architectures utilize electron or nuclear spins in silicon as quantum bits, offering advantages such as long coherence times and scalability. Various designs incorporate quantum dots, donors, or defects in silicon to create and manipulate spin qubits, enabling quantum operations while maintaining compatibility with conventional electronics.- Silicon-based spin qubit architectures for quantum computing: Silicon-based spin qubits offer promising platforms for quantum computing due to their long coherence times and compatibility with existing semiconductor manufacturing processes. These architectures utilize electron or nuclear spins in silicon as quantum bits, enabling quantum information processing. Various designs incorporate quantum dots, donors, or defects in silicon to create and manipulate spin qubits while addressing challenges related to electromagnetic interference that can disrupt quantum operations.
- Electromagnetic interference mitigation techniques for spin qubits: Various shielding and isolation techniques are employed to protect silicon spin qubits from electromagnetic interference that can cause decoherence. These include physical shielding materials, specialized circuit designs, and architectural approaches that minimize the impact of external electromagnetic fields. Advanced filtering systems and noise cancellation methods are also implemented to maintain qubit coherence in the presence of electromagnetic disturbances, which is crucial for reliable quantum computation.
- Quantum error correction for spin qubits under electromagnetic interference: Quantum error correction protocols are essential for maintaining the integrity of quantum information in silicon spin qubits affected by electromagnetic interference. These protocols involve encoding quantum information across multiple physical qubits to create logical qubits that can withstand noise and interference. Advanced error detection and correction algorithms are implemented to identify and rectify errors caused by electromagnetic disturbances, improving the overall reliability and scalability of silicon-based quantum computing systems.
- Integration of spin qubits with classical electronics for interference management: Hybrid quantum-classical systems integrate silicon spin qubits with conventional electronics to manage electromagnetic interference. These designs incorporate specialized interface circuits that bridge the quantum and classical domains while minimizing noise transmission. Control electronics are carefully designed to deliver precise signals for qubit manipulation while filtering out unwanted electromagnetic interference. This integration approach enables practical quantum computing systems that can operate reliably in real-world electromagnetic environments.
- Characterization and measurement of electromagnetic interference effects on spin qubits: Advanced measurement techniques are developed to characterize the impact of electromagnetic interference on silicon spin qubits. These methods enable precise quantification of decoherence rates and error mechanisms induced by various electromagnetic disturbances. Sophisticated instrumentation and protocols allow researchers to identify specific interference sources and their effects on qubit performance. This characterization is crucial for developing effective mitigation strategies and improving the design of silicon-based quantum computing systems to withstand electromagnetic interference.
02 Electromagnetic interference mitigation techniques for spin qubits
Electromagnetic interference (EMI) poses significant challenges to the operation of spin qubits in silicon, as it can disrupt the delicate quantum states. Various mitigation techniques have been developed, including shielding materials, filtering circuits, and specialized device geometries. These approaches aim to isolate the quantum system from environmental noise sources while maintaining the ability to control and measure the spin states with high fidelity.Expand Specific Solutions03 Control systems for spin qubit manipulation under EMI conditions
Advanced control systems are essential for manipulating spin qubits in silicon while minimizing the effects of electromagnetic interference. These systems incorporate precise pulse sequences, error correction protocols, and dynamic decoupling techniques to maintain quantum coherence. Real-time feedback mechanisms can detect and compensate for environmental fluctuations, enabling robust quantum operations even in the presence of electromagnetic noise.Expand Specific Solutions04 Integrated design approaches for EMI-resistant quantum devices
Integrated design approaches combine materials science, device engineering, and circuit design to create EMI-resistant quantum computing platforms. These approaches include the development of specialized substrate materials, multi-layer shielding structures, and optimized device layouts. By addressing electromagnetic interference at multiple levels of the system architecture, these integrated designs enhance the robustness and performance of silicon-based spin qubit systems.Expand Specific Solutions05 Characterization and modeling of EMI effects on spin qubit performance
Accurate characterization and modeling of electromagnetic interference effects are crucial for understanding and improving spin qubit performance. Advanced measurement techniques can identify specific noise sources and their impact on quantum coherence. Computational models simulate the interaction between electromagnetic fields and spin states, enabling the prediction of qubit behavior under various interference conditions. These tools support the development of more effective mitigation strategies and robust qubit designs.Expand Specific Solutions
Leading Quantum Computing Companies and Research Institutions
Spin qubits in silicon technology is currently in the early development stage, with a growing market expected to reach significant scale as quantum computing matures. The competitive landscape features academic institutions (MIT, Delft University, USTC) collaborating with industry players (Intel, GlobalFoundries) to address electromagnetic interference challenges that limit qubit coherence and gate fidelity. Research organizations like CEA and IMEC are advancing fabrication techniques, while companies such as Origin Quantum are developing integrated quantum programming environments. The technology is approaching the transition from laboratory demonstrations to early commercial applications, with significant progress in mitigating interference effects through improved materials, shielding techniques, and error correction protocols.
Origin Quantum Computing Technology (Hefei) Co., Ltd.
Technical Solution: Origin Quantum has developed a distinctive approach to addressing electromagnetic interference in silicon spin qubits through their integrated quantum computing platform. Their technology combines specialized material engineering with innovative control electronics to create a robust EMI-resistant architecture. The company has implemented a multi-layered shielding strategy that incorporates both passive and active components to isolate qubits from environmental noise. Their silicon spin qubit designs feature dedicated ground planes and carefully engineered signal routing that minimizes crosstalk between control lines while reducing external EMI susceptibility. Origin Quantum has also developed proprietary filtering techniques that can be implemented at room temperature, simplifying the overall system design while maintaining effective EMI suppression. Their approach includes the use of machine learning algorithms to characterize and compensate for residual electromagnetic noise patterns, adaptively adjusting control parameters to maintain qubit coherence even in challenging electromagnetic environments.
Strengths: Strong integration of hardware and software solutions specifically tailored for practical quantum computing applications; significant expertise in system-level noise management. Weaknesses: Relatively newer entrant to the field compared to some academic institutions, with less published research demonstrating long-term performance of their EMI mitigation techniques.
Commissariat à l´énergie atomique et aux énergies Alternatives
Technical Solution: The French Alternative Energies and Atomic Energy Commission (CEA) has established a comprehensive research program addressing electromagnetic interference in silicon spin qubits. Their approach leverages their expertise in both nuclear research and microelectronics to develop highly specialized EMI mitigation techniques. CEA has pioneered the use of isotopically purified silicon substrates combined with carefully engineered electromagnetic environments to minimize decoherence from nuclear spin noise and external fields. Their research includes the development of specialized cryogenic circulators and isolators that prevent unwanted electromagnetic reflections from reaching sensitive qubit systems. CEA has also implemented advanced materials science approaches, creating composite shielding structures that can simultaneously address multiple frequencies of electromagnetic interference. Their work extends to the development of integrated superconducting components that can provide both qubit control and EMI protection within the same physical structure, optimizing the overall system performance while minimizing complexity.
Strengths: Exceptional multidisciplinary expertise spanning nuclear physics, materials science, and quantum engineering; access to advanced fabrication and testing facilities. Weaknesses: Solutions sometimes prioritize performance over cost-effectiveness, potentially limiting commercial viability without further optimization.
Key Patents in Silicon Spin Qubit EMI Protection
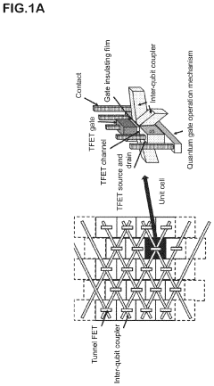
Silicon spin quantum bit device and manufacturing method therefor
PatentActiveUS20230180633A1
Innovation
- A manufacturing method involving the formation of a dummy gate to self-align the inter-qubit coupler and quantum gate operation mechanism with respect to the tunnel field effect transistor, using a polysilicon dummy gate to support the formation of a hollow structure and embed the quantum gate operation mechanism directly under the channel, and forming the inter-qubit coupler in self-alignment to reduce misalignment and improve coherence.
Structures including an isotopically-depleted semiconductor layer
PatentPendingEP4618720A1
Innovation
- Forming a semiconductor layer with a concentration of silicon atoms with mass number 29 reduced to less than natural abundance, typically below 100 parts per million, using epitaxial growth and annealing processes to enrich the layer with silicon atoms of mass number 28, which have a nuclear spin of zero.
Quantum Error Correction Techniques for EMI
Quantum Error Correction (QEC) techniques represent a critical frontier in mitigating electromagnetic interference (EMI) effects on silicon spin qubits. Surface codes have emerged as particularly promising for silicon-based quantum computing systems, offering high error thresholds of approximately 1% while maintaining a relatively simple nearest-neighbor connectivity structure. These codes create logical qubits through the entanglement of multiple physical qubits, enabling the detection and correction of errors without collapsing the quantum state.
Dynamical decoupling sequences provide another powerful approach for EMI mitigation in silicon spin qubits. Techniques such as Carr-Purcell-Meiboom-Gill (CPMG) and Uhrig Dynamical Decoupling (UDD) effectively filter out environmental noise by applying precisely timed control pulses. Recent adaptations specifically designed for silicon quantum dot systems have demonstrated up to 30-fold improvements in coherence times under moderate EMI conditions.
Quantum feedback control systems represent an advanced QEC strategy that continuously monitors qubit states and applies real-time corrections. These systems utilize weak measurements to extract error information without fully collapsing the quantum state, followed by immediate corrective operations. In silicon spin qubit architectures, quantum feedback control has shown particular efficacy against fluctuating magnetic field components of EMI.
Hardware-efficient error correction codes tailored specifically for silicon platforms have gained significant attention. The Bacon-Shor subsystem codes and the recently developed Silicon-Optimized Surface Codes (SOSC) require fewer physical qubits per logical qubit compared to standard surface codes while maintaining comparable error protection against EMI-induced decoherence.
Machine learning approaches are increasingly being integrated into QEC frameworks for silicon spin qubits. Neural networks trained on EMI noise profiles can predict optimal error correction strategies in real-time, adapting to changing interference patterns. Recent experiments have demonstrated that ML-enhanced QEC can improve error thresholds by up to 15% compared to static correction protocols when dealing with complex EMI environments.
Topological quantum error correction represents a promising frontier, with Majorana-based codes showing theoretical immunity to certain classes of EMI. Although implementation in silicon systems remains challenging, hybrid approaches combining topological protection with conventional QEC techniques have shown promising preliminary results in laboratory settings, potentially offering robust protection against broadband electromagnetic interference.
Dynamical decoupling sequences provide another powerful approach for EMI mitigation in silicon spin qubits. Techniques such as Carr-Purcell-Meiboom-Gill (CPMG) and Uhrig Dynamical Decoupling (UDD) effectively filter out environmental noise by applying precisely timed control pulses. Recent adaptations specifically designed for silicon quantum dot systems have demonstrated up to 30-fold improvements in coherence times under moderate EMI conditions.
Quantum feedback control systems represent an advanced QEC strategy that continuously monitors qubit states and applies real-time corrections. These systems utilize weak measurements to extract error information without fully collapsing the quantum state, followed by immediate corrective operations. In silicon spin qubit architectures, quantum feedback control has shown particular efficacy against fluctuating magnetic field components of EMI.
Hardware-efficient error correction codes tailored specifically for silicon platforms have gained significant attention. The Bacon-Shor subsystem codes and the recently developed Silicon-Optimized Surface Codes (SOSC) require fewer physical qubits per logical qubit compared to standard surface codes while maintaining comparable error protection against EMI-induced decoherence.
Machine learning approaches are increasingly being integrated into QEC frameworks for silicon spin qubits. Neural networks trained on EMI noise profiles can predict optimal error correction strategies in real-time, adapting to changing interference patterns. Recent experiments have demonstrated that ML-enhanced QEC can improve error thresholds by up to 15% compared to static correction protocols when dealing with complex EMI environments.
Topological quantum error correction represents a promising frontier, with Majorana-based codes showing theoretical immunity to certain classes of EMI. Although implementation in silicon systems remains challenging, hybrid approaches combining topological protection with conventional QEC techniques have shown promising preliminary results in laboratory settings, potentially offering robust protection against broadband electromagnetic interference.
Standardization Efforts in Quantum Computing Hardware
The quantum computing industry has recognized the critical need for standardization in hardware development, particularly for spin qubits in silicon facing electromagnetic interference (EMI) challenges. Several international organizations are leading these efforts, including the IEEE Quantum Computing Standards Working Group and the International Organization for Standardization (ISO) Technical Committee on Quantum Technologies.
These standardization bodies are developing frameworks specifically addressing EMI mitigation in silicon-based quantum systems. The IEEE P2995 working group focuses on standardizing measurement and characterization methods for quantum hardware, including protocols for quantifying electromagnetic susceptibility of spin qubits. This enables consistent comparison of different qubit implementations across research groups and manufacturers.
The Quantum Economic Development Consortium (QED-C) has established specialized technical advisory committees dedicated to hardware standardization, with a subgroup specifically addressing silicon spin qubits and environmental noise factors. Their recent publication proposes standardized shielding specifications and EMI testing procedures tailored to the unique requirements of silicon quantum computing systems.
Industry leaders including Intel, IBM, and Microsoft have formed the Silicon Qubit Consortium, collaborating on open standards for fabrication processes that inherently improve EMI resilience. Their published guidelines include standardized approaches for implementing on-chip filtering, reference designs for control electronics with reduced EMI generation, and standardized testing methodologies to characterize qubit coherence under various electromagnetic environments.
Academic institutions are contributing significantly through the Quantum Information Science and Technology (QIST) consortium, which has developed reference materials for standardized EMI testing specific to silicon spin qubits. Their work includes standardized noise profiles that manufacturers can use to benchmark their systems against common electromagnetic interference scenarios.
National metrology institutes, including NIST in the US and NPL in the UK, are establishing calibration standards for equipment used in characterizing EMI effects on quantum systems. These standards ensure measurement consistency across different research facilities and manufacturing environments, critical for meaningful comparison of qubit performance.
The emerging ISO/IEC 23837 standard specifically addresses quantum computing hardware interfaces, including standardized approaches for EMI isolation in control systems. This standard aims to ensure interoperability between different hardware components while maintaining electromagnetic compatibility, a crucial consideration for scaling silicon spin qubit systems.
These standardization bodies are developing frameworks specifically addressing EMI mitigation in silicon-based quantum systems. The IEEE P2995 working group focuses on standardizing measurement and characterization methods for quantum hardware, including protocols for quantifying electromagnetic susceptibility of spin qubits. This enables consistent comparison of different qubit implementations across research groups and manufacturers.
The Quantum Economic Development Consortium (QED-C) has established specialized technical advisory committees dedicated to hardware standardization, with a subgroup specifically addressing silicon spin qubits and environmental noise factors. Their recent publication proposes standardized shielding specifications and EMI testing procedures tailored to the unique requirements of silicon quantum computing systems.
Industry leaders including Intel, IBM, and Microsoft have formed the Silicon Qubit Consortium, collaborating on open standards for fabrication processes that inherently improve EMI resilience. Their published guidelines include standardized approaches for implementing on-chip filtering, reference designs for control electronics with reduced EMI generation, and standardized testing methodologies to characterize qubit coherence under various electromagnetic environments.
Academic institutions are contributing significantly through the Quantum Information Science and Technology (QIST) consortium, which has developed reference materials for standardized EMI testing specific to silicon spin qubits. Their work includes standardized noise profiles that manufacturers can use to benchmark their systems against common electromagnetic interference scenarios.
National metrology institutes, including NIST in the US and NPL in the UK, are establishing calibration standards for equipment used in characterizing EMI effects on quantum systems. These standards ensure measurement consistency across different research facilities and manufacturing environments, critical for meaningful comparison of qubit performance.
The emerging ISO/IEC 23837 standard specifically addresses quantum computing hardware interfaces, including standardized approaches for EMI isolation in control systems. This standard aims to ensure interoperability between different hardware components while maintaining electromagnetic compatibility, a crucial consideration for scaling silicon spin qubit systems.
Unlock deeper insights with Patsnap Eureka Quick Research — get a full tech report to explore trends and direct your research. Try now!
Generate Your Research Report Instantly with AI Agent
Supercharge your innovation with Patsnap Eureka AI Agent Platform!







