Spin Qubits in Silicon: Patent Landscape and Competitive Analysis
OCT 10, 20259 MIN READ
Generate Your Research Report Instantly with AI Agent
Patsnap Eureka helps you evaluate technical feasibility & market potential.
Silicon Spin Qubit Technology Background and Objectives
Silicon spin qubits represent one of the most promising platforms for quantum computing due to their potential scalability and compatibility with existing semiconductor manufacturing infrastructure. The evolution of this technology can be traced back to the early 2000s when researchers first demonstrated the ability to isolate and manipulate single electron spins in silicon. Since then, the field has witnessed remarkable progress, moving from theoretical concepts to experimental demonstrations of multi-qubit systems with increasing coherence times and gate fidelities.
The technological trajectory of silicon spin qubits has been characterized by several key advancements, including the development of isotopically purified silicon-28 substrates to minimize decoherence from nuclear spins, the refinement of fabrication techniques for quantum dot arrays, and the implementation of various control mechanisms for spin manipulation. Recent breakthroughs in two-qubit gate operations and readout fidelities have further accelerated the field's momentum.
Current research is predominantly focused on addressing the scaling challenges associated with silicon spin qubits. This includes developing architectures that can accommodate thousands or millions of qubits while maintaining precise control over individual spins, designing efficient interconnects between qubit modules, and implementing error correction protocols suitable for silicon-based quantum processors.
The global research landscape reveals a competitive environment with significant investments from both academic institutions and industry players. Major research hubs in North America, Europe, and Asia-Pacific are actively contributing to the advancement of silicon spin qubit technology, each bringing unique expertise and approaches to the field.
The primary technical objectives for silicon spin qubits include achieving higher coherence times exceeding milliseconds, demonstrating fault-tolerant quantum operations with error rates below 0.1%, scaling to systems with 100+ qubits while maintaining connectivity, and developing integrated control electronics that can operate at cryogenic temperatures. These objectives align with the broader goal of realizing a practical quantum advantage for specific computational problems within the next decade.
Looking forward, the technology roadmap for silicon spin qubits envisions progressive improvements in qubit quality and quantity, culminating in the development of fault-tolerant quantum processors capable of executing quantum algorithms with practical applications in fields such as materials science, cryptography, and optimization problems. The convergence of quantum and classical computing technologies is expected to play a crucial role in this evolution, with hybrid systems potentially offering the most viable path to near-term quantum advantage.
The technological trajectory of silicon spin qubits has been characterized by several key advancements, including the development of isotopically purified silicon-28 substrates to minimize decoherence from nuclear spins, the refinement of fabrication techniques for quantum dot arrays, and the implementation of various control mechanisms for spin manipulation. Recent breakthroughs in two-qubit gate operations and readout fidelities have further accelerated the field's momentum.
Current research is predominantly focused on addressing the scaling challenges associated with silicon spin qubits. This includes developing architectures that can accommodate thousands or millions of qubits while maintaining precise control over individual spins, designing efficient interconnects between qubit modules, and implementing error correction protocols suitable for silicon-based quantum processors.
The global research landscape reveals a competitive environment with significant investments from both academic institutions and industry players. Major research hubs in North America, Europe, and Asia-Pacific are actively contributing to the advancement of silicon spin qubit technology, each bringing unique expertise and approaches to the field.
The primary technical objectives for silicon spin qubits include achieving higher coherence times exceeding milliseconds, demonstrating fault-tolerant quantum operations with error rates below 0.1%, scaling to systems with 100+ qubits while maintaining connectivity, and developing integrated control electronics that can operate at cryogenic temperatures. These objectives align with the broader goal of realizing a practical quantum advantage for specific computational problems within the next decade.
Looking forward, the technology roadmap for silicon spin qubits envisions progressive improvements in qubit quality and quantity, culminating in the development of fault-tolerant quantum processors capable of executing quantum algorithms with practical applications in fields such as materials science, cryptography, and optimization problems. The convergence of quantum and classical computing technologies is expected to play a crucial role in this evolution, with hybrid systems potentially offering the most viable path to near-term quantum advantage.
Market Analysis for Silicon-Based Quantum Computing
The silicon-based quantum computing market is experiencing significant growth, driven by the increasing demand for more powerful computational capabilities across various industries. Current market estimates value the global quantum computing market at approximately $500 million, with silicon-based approaches representing about 25% of this segment. This market is projected to expand at a compound annual growth rate of 30% over the next five years, potentially reaching $2 billion by 2028.
The demand for silicon-based quantum computing solutions stems primarily from sectors requiring complex computational modeling, including pharmaceuticals, materials science, financial services, and cryptography. Pharmaceutical companies are particularly interested in quantum computing for drug discovery and molecular simulation, which could potentially reduce R&D timelines by 30-40%. Financial institutions are exploring quantum algorithms for portfolio optimization and risk assessment, with early adopters already implementing proof-of-concept projects.
Silicon spin qubits offer several market advantages that are driving interest from both investors and end-users. The compatibility with existing semiconductor manufacturing infrastructure represents a significant cost advantage, with potential production cost reductions of 40-60% compared to alternative quantum technologies. This manufacturing synergy allows for faster scaling and potentially earlier commercialization timelines than competing approaches.
Regional market analysis indicates that North America currently leads in silicon-based quantum computing investments, accounting for approximately 45% of global funding. However, Asia-Pacific, particularly China, Japan, and South Korea, is rapidly increasing investments, with government initiatives providing substantial funding for quantum research and development. The European market is characterized by strong academic-industrial partnerships, with quantum technology flagships receiving over €1 billion in funding.
Customer segmentation reveals three primary market tiers: large technology corporations developing in-house quantum capabilities, specialized quantum computing service providers, and end-user industries seeking quantum solutions for specific applications. The first commercial applications are expected to emerge through quantum-as-a-service models, with an estimated market size of $300 million by 2025.
Market barriers include the high technical expertise required for implementation, the still-developing quantum software ecosystem, and competition from alternative quantum technologies. Despite these challenges, venture capital investment in silicon-based quantum computing startups has increased by 150% in the past three years, indicating strong market confidence in the technology's commercial potential.
The demand for silicon-based quantum computing solutions stems primarily from sectors requiring complex computational modeling, including pharmaceuticals, materials science, financial services, and cryptography. Pharmaceutical companies are particularly interested in quantum computing for drug discovery and molecular simulation, which could potentially reduce R&D timelines by 30-40%. Financial institutions are exploring quantum algorithms for portfolio optimization and risk assessment, with early adopters already implementing proof-of-concept projects.
Silicon spin qubits offer several market advantages that are driving interest from both investors and end-users. The compatibility with existing semiconductor manufacturing infrastructure represents a significant cost advantage, with potential production cost reductions of 40-60% compared to alternative quantum technologies. This manufacturing synergy allows for faster scaling and potentially earlier commercialization timelines than competing approaches.
Regional market analysis indicates that North America currently leads in silicon-based quantum computing investments, accounting for approximately 45% of global funding. However, Asia-Pacific, particularly China, Japan, and South Korea, is rapidly increasing investments, with government initiatives providing substantial funding for quantum research and development. The European market is characterized by strong academic-industrial partnerships, with quantum technology flagships receiving over €1 billion in funding.
Customer segmentation reveals three primary market tiers: large technology corporations developing in-house quantum capabilities, specialized quantum computing service providers, and end-user industries seeking quantum solutions for specific applications. The first commercial applications are expected to emerge through quantum-as-a-service models, with an estimated market size of $300 million by 2025.
Market barriers include the high technical expertise required for implementation, the still-developing quantum software ecosystem, and competition from alternative quantum technologies. Despite these challenges, venture capital investment in silicon-based quantum computing startups has increased by 150% in the past three years, indicating strong market confidence in the technology's commercial potential.
Current Challenges in Silicon Spin Qubit Development
Despite significant advancements in silicon spin qubit technology, several critical challenges continue to impede the full realization of practical quantum computing systems based on this platform. The primary obstacle remains coherence time limitations, with typical T2 times ranging from microseconds to milliseconds—still insufficient for complex quantum algorithms. Environmental noise, particularly from nuclear spins and charge fluctuations in the silicon substrate, contributes significantly to decoherence, even in isotopically purified silicon-28.
Qubit initialization fidelity presents another substantial challenge, with current state-of-the-art systems achieving approximately 99.8% fidelity—below the threshold required for fault-tolerant quantum computing. Similarly, gate fidelities, while improving, typically range between 99-99.9%, falling short of the 99.99% benchmark considered necessary for practical quantum error correction protocols.
Scalability remains perhaps the most formidable challenge. Current laboratory demonstrations have reached systems of only 6-10 coupled qubits, whereas practical quantum advantage would require hundreds to thousands of qubits. The integration of control electronics presents significant engineering difficulties, as each qubit requires multiple control lines, creating wiring bottlenecks as systems scale.
Fabrication variability introduces another layer of complexity, as atomic-scale differences between quantum dots lead to varying qubit properties, necessitating individual calibration procedures that become exponentially more complex with increasing qubit numbers. This variability directly impacts the uniformity of exchange coupling between qubits, creating inconsistencies in two-qubit gate operations.
Temperature requirements pose both technical and economic challenges. While silicon spin qubits operate at higher temperatures (1-4 Kelvin) than superconducting qubits, they still require dilution refrigerators with limited cooling power, constraining the scalability of control electronics.
Readout speed and fidelity represent additional technical hurdles. Current readout techniques typically require 1-10 microseconds per measurement with fidelities around 98-99%, which is insufficient for error correction protocols requiring rapid, high-fidelity measurements.
The integration of quantum memory with processing capabilities presents another significant challenge, as current architectures struggle to maintain coherence while shuttling quantum information between different functional regions of the quantum processor.
Addressing these challenges requires interdisciplinary approaches combining materials science, nanofabrication, cryogenic electronics, and quantum control theory. Recent research directions include dynamical decoupling sequences for improved coherence, materials engineering to reduce interface defects, and novel architectures for scalable control systems.
Qubit initialization fidelity presents another substantial challenge, with current state-of-the-art systems achieving approximately 99.8% fidelity—below the threshold required for fault-tolerant quantum computing. Similarly, gate fidelities, while improving, typically range between 99-99.9%, falling short of the 99.99% benchmark considered necessary for practical quantum error correction protocols.
Scalability remains perhaps the most formidable challenge. Current laboratory demonstrations have reached systems of only 6-10 coupled qubits, whereas practical quantum advantage would require hundreds to thousands of qubits. The integration of control electronics presents significant engineering difficulties, as each qubit requires multiple control lines, creating wiring bottlenecks as systems scale.
Fabrication variability introduces another layer of complexity, as atomic-scale differences between quantum dots lead to varying qubit properties, necessitating individual calibration procedures that become exponentially more complex with increasing qubit numbers. This variability directly impacts the uniformity of exchange coupling between qubits, creating inconsistencies in two-qubit gate operations.
Temperature requirements pose both technical and economic challenges. While silicon spin qubits operate at higher temperatures (1-4 Kelvin) than superconducting qubits, they still require dilution refrigerators with limited cooling power, constraining the scalability of control electronics.
Readout speed and fidelity represent additional technical hurdles. Current readout techniques typically require 1-10 microseconds per measurement with fidelities around 98-99%, which is insufficient for error correction protocols requiring rapid, high-fidelity measurements.
The integration of quantum memory with processing capabilities presents another significant challenge, as current architectures struggle to maintain coherence while shuttling quantum information between different functional regions of the quantum processor.
Addressing these challenges requires interdisciplinary approaches combining materials science, nanofabrication, cryogenic electronics, and quantum control theory. Recent research directions include dynamical decoupling sequences for improved coherence, materials engineering to reduce interface defects, and novel architectures for scalable control systems.
Current Silicon Spin Qubit Implementation Approaches
01 Silicon-based quantum dot spin qubits
Silicon quantum dots can confine electrons whose spin states serve as qubits for quantum computing. These structures offer long coherence times due to silicon's weak spin-orbit coupling and the possibility of isotopic purification to remove nuclear spins. The fabrication typically involves creating gate-defined quantum dots in silicon/silicon-germanium heterostructures where single electrons can be trapped and manipulated using electrical controls.- Silicon-based quantum dot spin qubits: Silicon quantum dots can confine individual electrons whose spin states can be used as qubits. These spin qubits offer long coherence times due to silicon's weak spin-orbit coupling and the possibility of isotopic purification to remove nuclear spins. The fabrication typically involves creating electrostatically defined quantum dots in silicon/silicon-germanium heterostructures or using donor atoms in silicon. These systems allow for precise control of individual electron spins using microwave pulses and gate voltages.
- Multi-qubit architectures and coupling mechanisms: Advanced silicon spin qubit systems incorporate multiple qubits with various coupling mechanisms to enable quantum operations. These architectures include linear arrays, 2D grids, and modular designs that facilitate scalability. Exchange coupling between adjacent spin qubits allows for two-qubit gates, while long-range coupling can be achieved through resonators or shuttle operations. These multi-qubit systems are essential for implementing quantum algorithms and error correction protocols in silicon-based quantum computers.
- Readout and measurement techniques: Accurate measurement of silicon spin qubit states is crucial for quantum computation. Various readout techniques have been developed, including spin-to-charge conversion followed by charge sensing with quantum point contacts or single-electron transistors. More advanced methods incorporate radio-frequency reflectometry for faster readout or utilize ancilla qubits for quantum non-demolition measurements. These techniques aim to achieve high-fidelity readout while minimizing measurement back-action and maintaining qubit coherence.
- Error correction and noise mitigation: Silicon spin qubits, while having relatively long coherence times, still require error correction and noise mitigation strategies. These include dynamical decoupling sequences to suppress environmental noise, composite pulse sequences to mitigate control errors, and implementation of quantum error correction codes. Advanced techniques involve materials engineering to reduce interface defects and charge noise, as well as operating at sweet spots where qubits are less sensitive to certain noise sources. These approaches are essential for achieving fault-tolerant quantum computation.
- Integration with classical control electronics: Scaling silicon spin qubit systems requires integration with classical control electronics. This includes developing cryogenic CMOS circuits for qubit control and readout, multiplexing strategies to reduce the number of control lines, and designing architectures that balance quantum and classical components. Advanced approaches incorporate on-chip microwave generators, digital-to-analog converters, and signal processing units. These integrated systems aim to overcome the wiring bottleneck that limits the scalability of quantum processors while maintaining precise control over qubit operations.
02 Multi-qubit architectures and coupling mechanisms
Advanced spin qubit systems in silicon incorporate multiple qubits with various coupling mechanisms to enable quantum operations. These architectures include linear arrays, 2D lattices, and more complex topologies that facilitate entanglement between qubits. Coupling can be achieved through exchange interaction between neighboring spins, cavity-mediated coupling, or using intermediate quantum states. These designs are crucial for implementing quantum gates and scaling up to practical quantum processors.Expand Specific Solutions03 Readout and control techniques for silicon spin qubits
Various methods have been developed to initialize, control, and read out the state of spin qubits in silicon. These include single-shot readout techniques using spin-to-charge conversion, microwave-driven electron spin resonance, and electrical control via micromagnets or g-factor modulation. Advanced readout schemes employ radio frequency reflectometry, quantum point contacts, or single-electron transistors as charge sensors to detect the spin state with high fidelity.Expand Specific Solutions04 Error correction and quantum computing algorithms
Implementing error correction protocols is essential for fault-tolerant quantum computing with silicon spin qubits. These systems employ surface codes, stabilizer codes, and other quantum error correction techniques to protect quantum information from decoherence. Additionally, specialized algorithms have been developed that leverage the unique properties of silicon spin qubits, including quantum simulation protocols, optimization algorithms, and machine learning applications tailored to the specific characteristics of spin-based quantum processors.Expand Specific Solutions05 Integration with classical electronics and scalability
Silicon spin qubits offer significant advantages for integration with conventional CMOS technology, enabling the development of scalable quantum computing systems. These approaches include on-chip control electronics, cryogenic CMOS circuits for qubit control, and multiplexed readout architectures. Manufacturing techniques have been developed to fabricate large arrays of spin qubits with high yield and uniformity, addressing key challenges in scaling up quantum processors while maintaining compatibility with existing semiconductor fabrication infrastructure.Expand Specific Solutions
Key Industry Players and Competitive Landscape
Spin Qubits in Silicon technology is currently in the early growth phase, with a rapidly expanding market projected to reach significant scale as quantum computing matures. The competitive landscape features established tech giants like Intel, IBM, and Baidu alongside specialized quantum-focused entities such as Origin Quantum and Alice & Bob. Academic institutions (MIT, Harvard, Northwestern) and research organizations (CEA, AIST) are driving fundamental breakthroughs, while semiconductor manufacturers (GlobalFoundries) provide critical fabrication capabilities. The technology shows moderate maturity with functioning prototypes, but commercialization challenges remain. Strategic partnerships between research institutions and industry players are accelerating development, with competition intensifying around scalable qubit architectures and error correction techniques.
Commissariat à l´énergie atomique et aux énergies Alternatives
Technical Solution: CEA has developed silicon-based spin qubit technologies centered on CMOS-compatible fabrication processes. Their approach utilizes silicon-on-insulator (SOI) substrates with nanowire transistor architectures to create quantum dots that confine individual electrons[1]. CEA's technology implements hole spins rather than electron spins in some designs, taking advantage of the strong spin-orbit coupling in silicon to enable all-electrical control of qubits without the need for micromagnets[2]. They've demonstrated single-qubit operations with fidelities above 99% and coherence times in the tens of microseconds range. A key innovation from CEA is their "face-to-face" qubit coupling technique that enables strong interactions between adjacent qubits while maintaining protection from environmental noise[3]. Their platform also features integrated charge sensors for high-fidelity qubit readout and has demonstrated operation at temperatures up to 1 Kelvin, potentially simplifying cryogenic requirements[4].
Strengths: CMOS-compatible fabrication processes; all-electrical control capabilities; operation at higher temperatures than many competing technologies; strong European research ecosystem. Weaknesses: Shorter coherence times compared to some electron spin approaches; challenges in scaling to large numbers of qubits; hole spin qubits face additional decoherence mechanisms.
Interuniversitair Micro-Electronica Centrum VZW
Technical Solution: IMEC has developed silicon spin qubit technologies focusing on highly scalable architectures compatible with their advanced semiconductor manufacturing capabilities. Their approach utilizes silicon-germanium (SiGe) quantum wells with precisely controlled strain to create high-mobility electron gases where spin qubits can be defined and manipulated[1]. IMEC's technology implements gate-defined quantum dots on 300mm wafers using industry-standard CMOS processes, demonstrating the potential for mass production of quantum processors[2]. They've pioneered multi-layer interconnect systems for addressing large arrays of qubits, a critical requirement for scaling beyond few-qubit demonstrations. IMEC has also developed specialized characterization techniques for rapid testing of quantum dot arrays, enabling higher throughput in development cycles. Their recent work has focused on creating "quantum wells" with reduced disorder, leading to more uniform qubit properties and higher operational fidelities approaching 99.9% for single-qubit gates[3].
Strengths: World-class semiconductor fabrication capabilities; focus on scalable manufacturing from the outset; strong industry partnerships; advanced materials engineering expertise. Weaknesses: Less published research on multi-qubit operations compared to some competitors; challenges in balancing high-yield manufacturing with quantum coherence requirements; complex integration path for control electronics.
Critical Patents and Technical Innovations Analysis
Spin qubit-type semiconductor device and integrated circuit thereof
PatentActiveUS20230200261A1
Innovation
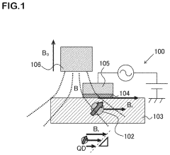
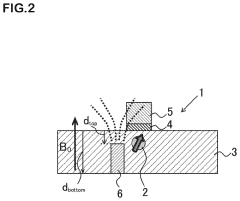
- A spin qubit-type semiconductor device with a micro magnet embedded in the body near the quantum dot, positioned to create a strong slanting magnetic field, utilizing a micro magnet with a specific shape and size, and arranged to maximize magnetic field strength while minimizing size, allowing for high-speed spin manipulation and integration.
Control and readout topology for spin qubits
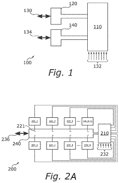
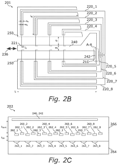
PatentActiveUS20220198313A1
Innovation
- An integrated system for quantum computation is provided, featuring a feedline acting as an electron spin resonance antenna for qubit control, a resonator capacitively coupled to the feedline, and a shared ground plane, with the feedline and resonator in different layers separated by a dielectric, allowing for reduced capacitive coupling and footprint while using a single RF feedline for both control and readout.
Intellectual Property Strategy and Patent Portfolio Management
In the rapidly evolving field of spin qubits in silicon, strategic intellectual property management has become a critical factor for competitive advantage. Companies and research institutions must develop comprehensive IP strategies that align with their technological roadmaps and business objectives. This requires not only filing patents for core innovations but also creating defensive patent portfolios to protect freedom to operate in this increasingly crowded space.
Patent portfolio management for silicon spin qubits should focus on both breadth and depth. Organizations need to secure fundamental patents covering qubit fabrication techniques, control mechanisms, readout methods, and error correction protocols. Additionally, strategic filing in adjacent technologies such as cryogenic control electronics and quantum memory systems can create valuable cross-licensing opportunities.
Geographic considerations play a significant role in IP strategy development. While the United States remains the primary patent filing jurisdiction, with the USPTO hosting the majority of spin qubit patents, strategic filings in Europe, Japan, China, and South Korea are increasingly important as these regions accelerate their quantum computing investments. Multi-jurisdictional protection is particularly crucial for foundational technologies that may have decade-long relevance.
Timing of patent filings requires careful consideration in this fast-moving field. Early-stage research organizations must balance the need for publication with appropriate IP protection, often utilizing provisional applications to secure priority dates while research continues. For commercial entities, a staged approach to patent filing that aligns with product development milestones can optimize resource allocation.
Freedom-to-operate analyses have become essential due to the complex patent landscape. Organizations must regularly conduct IP landscape reviews to identify potential infringement risks and licensing opportunities. This is particularly important for startups entering the field, who may need to navigate around patents held by established semiconductor companies and research universities.
Licensing strategies vary significantly across the ecosystem. Academic institutions typically pursue broad licensing programs to maximize technology transfer, while corporate entities often maintain exclusive rights to core technologies while selectively licensing peripheral innovations. Cross-licensing agreements between major players are becoming increasingly common as the technology matures and interdependencies grow.
Patent portfolio management for silicon spin qubits should focus on both breadth and depth. Organizations need to secure fundamental patents covering qubit fabrication techniques, control mechanisms, readout methods, and error correction protocols. Additionally, strategic filing in adjacent technologies such as cryogenic control electronics and quantum memory systems can create valuable cross-licensing opportunities.
Geographic considerations play a significant role in IP strategy development. While the United States remains the primary patent filing jurisdiction, with the USPTO hosting the majority of spin qubit patents, strategic filings in Europe, Japan, China, and South Korea are increasingly important as these regions accelerate their quantum computing investments. Multi-jurisdictional protection is particularly crucial for foundational technologies that may have decade-long relevance.
Timing of patent filings requires careful consideration in this fast-moving field. Early-stage research organizations must balance the need for publication with appropriate IP protection, often utilizing provisional applications to secure priority dates while research continues. For commercial entities, a staged approach to patent filing that aligns with product development milestones can optimize resource allocation.
Freedom-to-operate analyses have become essential due to the complex patent landscape. Organizations must regularly conduct IP landscape reviews to identify potential infringement risks and licensing opportunities. This is particularly important for startups entering the field, who may need to navigate around patents held by established semiconductor companies and research universities.
Licensing strategies vary significantly across the ecosystem. Academic institutions typically pursue broad licensing programs to maximize technology transfer, while corporate entities often maintain exclusive rights to core technologies while selectively licensing peripheral innovations. Cross-licensing agreements between major players are becoming increasingly common as the technology matures and interdependencies grow.
Quantum Computing Ecosystem and Strategic Partnerships
The quantum computing ecosystem surrounding spin qubits in silicon has evolved into a complex network of academic institutions, technology corporations, and government research facilities. Leading universities such as Princeton, TU Delft, and UNSW Australia have established themselves as centers of excellence for spin qubit research, contributing significantly to the fundamental science and patent portfolio in this domain. These academic hubs frequently collaborate with industry partners, creating knowledge transfer pathways that accelerate commercialization efforts.
Major technology corporations have strategically positioned themselves within this ecosystem through targeted acquisitions and partnership agreements. Intel's collaboration with QuTech, IBM's quantum network, and Google's alliance with various research institutions exemplify how strategic partnerships are shaping the competitive landscape. These collaborations typically involve shared intellectual property arrangements, joint research initiatives, and talent exchange programs that benefit all participating entities.
Government funding agencies play a crucial role in sustaining the ecosystem, with programs like the EU Quantum Flagship, US National Quantum Initiative, and China's quantum research investments providing essential financial support. These initiatives not only fund basic research but also encourage public-private partnerships that bridge the gap between theoretical advances and practical applications of spin qubit technology.
The patent landscape analysis reveals that strategic partnerships often precede significant patent filing activities, suggesting that collaboration serves as a catalyst for innovation in this field. Companies with diverse partnership portfolios tend to demonstrate more comprehensive patent coverage across different aspects of spin qubit implementation, from fabrication techniques to control systems.
Emerging start-ups focused on silicon-based quantum computing are increasingly becoming acquisition targets or partnership candidates for larger corporations seeking to expand their quantum capabilities. This trend has created a dynamic ecosystem where intellectual property flows between organizations through formal licensing agreements, joint ventures, and strategic investments.
The geographical distribution of partnerships shows concentrations in North America, Western Europe, and the Asia-Pacific region, with cross-regional collaborations becoming more common as organizations seek complementary expertise. These international partnerships often face challenges related to export controls and technology transfer restrictions, particularly for quantum technologies with potential national security implications.
Major technology corporations have strategically positioned themselves within this ecosystem through targeted acquisitions and partnership agreements. Intel's collaboration with QuTech, IBM's quantum network, and Google's alliance with various research institutions exemplify how strategic partnerships are shaping the competitive landscape. These collaborations typically involve shared intellectual property arrangements, joint research initiatives, and talent exchange programs that benefit all participating entities.
Government funding agencies play a crucial role in sustaining the ecosystem, with programs like the EU Quantum Flagship, US National Quantum Initiative, and China's quantum research investments providing essential financial support. These initiatives not only fund basic research but also encourage public-private partnerships that bridge the gap between theoretical advances and practical applications of spin qubit technology.
The patent landscape analysis reveals that strategic partnerships often precede significant patent filing activities, suggesting that collaboration serves as a catalyst for innovation in this field. Companies with diverse partnership portfolios tend to demonstrate more comprehensive patent coverage across different aspects of spin qubit implementation, from fabrication techniques to control systems.
Emerging start-ups focused on silicon-based quantum computing are increasingly becoming acquisition targets or partnership candidates for larger corporations seeking to expand their quantum capabilities. This trend has created a dynamic ecosystem where intellectual property flows between organizations through formal licensing agreements, joint ventures, and strategic investments.
The geographical distribution of partnerships shows concentrations in North America, Western Europe, and the Asia-Pacific region, with cross-regional collaborations becoming more common as organizations seek complementary expertise. These international partnerships often face challenges related to export controls and technology transfer restrictions, particularly for quantum technologies with potential national security implications.
Unlock deeper insights with Patsnap Eureka Quick Research — get a full tech report to explore trends and direct your research. Try now!
Generate Your Research Report Instantly with AI Agent
Supercharge your innovation with Patsnap Eureka AI Agent Platform!






