Analysis of Spin Qubits in Silicon for Environmental Monitoring
OCT 10, 202510 MIN READ
Generate Your Research Report Instantly with AI Agent
Patsnap Eureka helps you evaluate technical feasibility & market potential.
Silicon Spin Qubits Background and Objectives
Spin qubits in silicon have emerged as a promising platform for quantum computing and sensing applications over the past two decades. The fundamental concept builds upon the manipulation of electron or nuclear spins in silicon-based semiconductor structures, leveraging the quantum mechanical properties of spin as a qubit. Silicon's prominence in the semiconductor industry provides a significant advantage, as it benefits from decades of manufacturing expertise and infrastructure development.
The evolution of silicon spin qubits began with initial theoretical proposals in the late 1990s, followed by experimental demonstrations in the early 2000s. Key milestones include the first demonstration of single-shot readout of an electron spin in silicon by Morello et al. in 2010 and the achievement of high-fidelity single-qubit gates by Veldhorst et al. in 2014. Recent advancements have focused on improving coherence times, gate fidelities, and scaling capabilities.
The technological trajectory indicates a convergence toward utilizing silicon spin qubits not only for quantum computing but also for sensing applications, particularly in environmental monitoring. Silicon's natural abundance, biocompatibility, and stable isotopes with zero nuclear spin (such as 28Si) make it an ideal candidate for developing quantum sensors capable of detecting minute environmental changes with unprecedented sensitivity.
Current research objectives in silicon spin qubits for environmental monitoring focus on several key areas. First, enhancing the sensitivity of spin-based sensors to detect specific environmental parameters such as magnetic fields, electric fields, temperature variations, and chemical compounds. Second, improving the robustness of these quantum sensors against environmental noise and decoherence effects, which is crucial for real-world applications outside laboratory conditions.
Additionally, researchers aim to develop integrated systems that combine silicon spin qubits with conventional electronics, enabling practical deployment in environmental monitoring scenarios. This integration presents significant challenges but offers the potential for compact, energy-efficient quantum sensors that can be networked across various environmental settings.
The ultimate technical goal is to create silicon spin qubit-based sensors capable of detecting environmental changes at the molecular or atomic level, with applications ranging from pollution monitoring and climate research to medical diagnostics and industrial process control. These sensors could potentially revolutionize our ability to monitor and respond to environmental changes with unprecedented precision and in real-time.
As we advance toward these objectives, interdisciplinary collaboration between quantum physicists, materials scientists, environmental engineers, and data analysts becomes increasingly important to translate the fundamental capabilities of silicon spin qubits into practical environmental monitoring solutions.
The evolution of silicon spin qubits began with initial theoretical proposals in the late 1990s, followed by experimental demonstrations in the early 2000s. Key milestones include the first demonstration of single-shot readout of an electron spin in silicon by Morello et al. in 2010 and the achievement of high-fidelity single-qubit gates by Veldhorst et al. in 2014. Recent advancements have focused on improving coherence times, gate fidelities, and scaling capabilities.
The technological trajectory indicates a convergence toward utilizing silicon spin qubits not only for quantum computing but also for sensing applications, particularly in environmental monitoring. Silicon's natural abundance, biocompatibility, and stable isotopes with zero nuclear spin (such as 28Si) make it an ideal candidate for developing quantum sensors capable of detecting minute environmental changes with unprecedented sensitivity.
Current research objectives in silicon spin qubits for environmental monitoring focus on several key areas. First, enhancing the sensitivity of spin-based sensors to detect specific environmental parameters such as magnetic fields, electric fields, temperature variations, and chemical compounds. Second, improving the robustness of these quantum sensors against environmental noise and decoherence effects, which is crucial for real-world applications outside laboratory conditions.
Additionally, researchers aim to develop integrated systems that combine silicon spin qubits with conventional electronics, enabling practical deployment in environmental monitoring scenarios. This integration presents significant challenges but offers the potential for compact, energy-efficient quantum sensors that can be networked across various environmental settings.
The ultimate technical goal is to create silicon spin qubit-based sensors capable of detecting environmental changes at the molecular or atomic level, with applications ranging from pollution monitoring and climate research to medical diagnostics and industrial process control. These sensors could potentially revolutionize our ability to monitor and respond to environmental changes with unprecedented precision and in real-time.
As we advance toward these objectives, interdisciplinary collaboration between quantum physicists, materials scientists, environmental engineers, and data analysts becomes increasingly important to translate the fundamental capabilities of silicon spin qubits into practical environmental monitoring solutions.
Environmental Monitoring Market Demand Analysis
The environmental monitoring market is experiencing significant growth driven by increasing regulatory pressures, public awareness of environmental issues, and technological advancements. The global environmental monitoring market was valued at approximately $19.9 billion in 2021 and is projected to reach $30.5 billion by 2026, growing at a CAGR of 8.9%. This substantial growth reflects the escalating demand for precise, real-time environmental data collection and analysis systems.
Climate change monitoring represents a particularly robust segment, with governments worldwide investing in technologies capable of measuring greenhouse gas emissions, temperature variations, and other climate indicators with unprecedented accuracy. The integration of quantum technologies, specifically spin qubits in silicon, offers revolutionary potential in this domain due to their exceptional sensitivity to electromagnetic fields and temperature fluctuations.
Water quality monitoring constitutes another critical market segment, valued at $3.8 billion in 2021. Industries and municipalities face stringent regulations regarding water discharge and quality, creating demand for advanced sensing technologies. Spin qubit-based sensors could provide superior detection capabilities for heavy metals, organic pollutants, and microplastics at concentrations currently below conventional detection thresholds.
Air quality monitoring systems are witnessing accelerated adoption in urban centers globally, with market projections indicating 10.2% annual growth through 2028. The miniaturization potential of silicon-based quantum sensors aligns perfectly with the trend toward distributed sensor networks in smart cities, offering high-precision detection of particulate matter, NOx, SOx, and volatile organic compounds.
Industrial sectors, particularly chemical manufacturing, oil and gas, and pharmaceuticals, represent significant market opportunities. These industries require continuous environmental monitoring to ensure regulatory compliance and operational safety. The market for industrial environmental monitoring equipment reached $5.2 billion in 2021, with quantum sensing technologies positioned to capture premium segments due to their superior performance characteristics.
Agriculture and forestry sectors are emerging as promising markets for advanced environmental monitoring solutions. Precision agriculture practices depend increasingly on detailed soil composition data, moisture levels, and micronutrient analysis—areas where quantum sensing could provide competitive advantages through enhanced sensitivity and specificity.
The defense and security sectors also demonstrate growing interest in environmental monitoring technologies, particularly for detecting chemical, biological, and radiological threats. Government spending in this domain reached $2.7 billion in 2021, with quantum sensing technologies attracting significant research funding due to their potential for detecting minute concentrations of hazardous substances.
Climate change monitoring represents a particularly robust segment, with governments worldwide investing in technologies capable of measuring greenhouse gas emissions, temperature variations, and other climate indicators with unprecedented accuracy. The integration of quantum technologies, specifically spin qubits in silicon, offers revolutionary potential in this domain due to their exceptional sensitivity to electromagnetic fields and temperature fluctuations.
Water quality monitoring constitutes another critical market segment, valued at $3.8 billion in 2021. Industries and municipalities face stringent regulations regarding water discharge and quality, creating demand for advanced sensing technologies. Spin qubit-based sensors could provide superior detection capabilities for heavy metals, organic pollutants, and microplastics at concentrations currently below conventional detection thresholds.
Air quality monitoring systems are witnessing accelerated adoption in urban centers globally, with market projections indicating 10.2% annual growth through 2028. The miniaturization potential of silicon-based quantum sensors aligns perfectly with the trend toward distributed sensor networks in smart cities, offering high-precision detection of particulate matter, NOx, SOx, and volatile organic compounds.
Industrial sectors, particularly chemical manufacturing, oil and gas, and pharmaceuticals, represent significant market opportunities. These industries require continuous environmental monitoring to ensure regulatory compliance and operational safety. The market for industrial environmental monitoring equipment reached $5.2 billion in 2021, with quantum sensing technologies positioned to capture premium segments due to their superior performance characteristics.
Agriculture and forestry sectors are emerging as promising markets for advanced environmental monitoring solutions. Precision agriculture practices depend increasingly on detailed soil composition data, moisture levels, and micronutrient analysis—areas where quantum sensing could provide competitive advantages through enhanced sensitivity and specificity.
The defense and security sectors also demonstrate growing interest in environmental monitoring technologies, particularly for detecting chemical, biological, and radiological threats. Government spending in this domain reached $2.7 billion in 2021, with quantum sensing technologies attracting significant research funding due to their potential for detecting minute concentrations of hazardous substances.
Current State and Challenges in Spin Qubit Technology
Spin qubit technology in silicon has witnessed significant advancements in recent years, positioning it as a promising platform for quantum computing applications in environmental monitoring. Currently, researchers have achieved coherence times exceeding milliseconds in isotopically purified silicon, representing a substantial improvement over earlier implementations. Single-qubit gate fidelities have reached 99.9% in leading laboratories, while two-qubit gate fidelities have improved to approximately 98-99%, though still below the threshold required for fault-tolerant quantum computing.
The global landscape of spin qubit research shows concentration in North America, Europe, and Asia-Pacific regions. The United States leads with major research initiatives at institutions like Princeton, MIT, and industrial efforts from Intel and Google. Europe maintains strong positions through QuTech in the Netherlands and CEA-Leti in France. In Asia, Japan's RIKEN and Australia's Centre for Quantum Computation and Communication Technology represent significant research hubs.
Despite these advances, several critical challenges persist in adapting spin qubit technology for environmental monitoring applications. Temperature dependence remains a significant obstacle, as most current systems require operation at extremely low temperatures (below 100 mK), limiting field deployment capabilities. Scaling beyond tens of qubits presents fabrication challenges, particularly in maintaining uniformity across larger arrays necessary for complex environmental data processing.
Integration with conventional electronics represents another substantial hurdle. The interface between quantum systems operating at cryogenic temperatures and room-temperature control electronics introduces noise and signal degradation, affecting measurement accuracy for environmental parameters. Additionally, the readout speed and fidelity of spin states need improvement to enable real-time environmental monitoring applications.
Material imperfections in silicon substrates continue to cause decoherence and variability between devices. While isotopically purified silicon-28 has reduced nuclear spin noise, other defects and interface states still contribute to performance limitations. For environmental applications specifically, developing robust error correction protocols that can function in field conditions with variable electromagnetic interference presents unique challenges.
Power consumption requirements for maintaining cryogenic temperatures pose significant constraints on portable or remote environmental monitoring systems. Current cooling systems are bulky and energy-intensive, limiting deployment scenarios. Furthermore, the development of application-specific algorithms that can translate quantum advantages into practical environmental sensing capabilities remains in early stages, with few demonstrations of quantum advantage in sensing applications.
The global landscape of spin qubit research shows concentration in North America, Europe, and Asia-Pacific regions. The United States leads with major research initiatives at institutions like Princeton, MIT, and industrial efforts from Intel and Google. Europe maintains strong positions through QuTech in the Netherlands and CEA-Leti in France. In Asia, Japan's RIKEN and Australia's Centre for Quantum Computation and Communication Technology represent significant research hubs.
Despite these advances, several critical challenges persist in adapting spin qubit technology for environmental monitoring applications. Temperature dependence remains a significant obstacle, as most current systems require operation at extremely low temperatures (below 100 mK), limiting field deployment capabilities. Scaling beyond tens of qubits presents fabrication challenges, particularly in maintaining uniformity across larger arrays necessary for complex environmental data processing.
Integration with conventional electronics represents another substantial hurdle. The interface between quantum systems operating at cryogenic temperatures and room-temperature control electronics introduces noise and signal degradation, affecting measurement accuracy for environmental parameters. Additionally, the readout speed and fidelity of spin states need improvement to enable real-time environmental monitoring applications.
Material imperfections in silicon substrates continue to cause decoherence and variability between devices. While isotopically purified silicon-28 has reduced nuclear spin noise, other defects and interface states still contribute to performance limitations. For environmental applications specifically, developing robust error correction protocols that can function in field conditions with variable electromagnetic interference presents unique challenges.
Power consumption requirements for maintaining cryogenic temperatures pose significant constraints on portable or remote environmental monitoring systems. Current cooling systems are bulky and energy-intensive, limiting deployment scenarios. Furthermore, the development of application-specific algorithms that can translate quantum advantages into practical environmental sensing capabilities remains in early stages, with few demonstrations of quantum advantage in sensing applications.
Current Silicon Spin Qubit Sensing Solutions
01 Silicon-based quantum dot spin qubits
Silicon quantum dots can be used to create spin qubits for quantum computing applications. These structures confine electrons in silicon, allowing their spin states to be manipulated and measured. Silicon quantum dots offer advantages such as long coherence times and compatibility with existing semiconductor manufacturing processes, making them promising candidates for scalable quantum computing architectures.- Silicon-based quantum dot spin qubits: Silicon quantum dots can confine individual electrons whose spin states can be used as qubits. These structures offer long coherence times due to silicon's weak spin-orbit coupling and the possibility of isotopic purification to remove nuclear spins. The fabrication typically involves creating gate-defined quantum dots in silicon/silicon-germanium heterostructures or silicon MOS structures, allowing for precise control of electron loading and manipulation of spin states through electrical or magnetic means.
- Multi-qubit architectures and coupling mechanisms: Advanced silicon spin qubit systems incorporate multiple qubits with various coupling mechanisms to enable quantum operations. These architectures include linear arrays, 2D lattices, and more complex topologies that facilitate qubit-qubit interactions. Coupling between spin qubits can be achieved through exchange interaction, cavity-mediated coupling, or dipolar interactions. These multi-qubit systems are essential for implementing quantum gates and algorithms that require entanglement between qubits.
- Readout and measurement techniques: Various techniques have been developed for reading out the state of silicon spin qubits with high fidelity. These include spin-to-charge conversion methods, dispersive readout using radiofrequency reflectometry, and Pauli spin blockade measurements. Advanced readout systems often incorporate on-chip electronics, cryogenic amplifiers, and multiplexed measurement capabilities to enable scalable qubit measurement while minimizing crosstalk and maintaining quantum coherence during the measurement process.
- Error correction and quantum control: Error correction techniques are essential for reliable quantum computation with silicon spin qubits. These include dynamical decoupling sequences to mitigate environmental noise, composite pulse sequences to reduce control errors, and quantum error correction codes implemented across multiple physical qubits. Advanced control systems provide precise timing and calibration of control pulses, enabling high-fidelity single and two-qubit gates while compensating for variations in qubit parameters and crosstalk effects.
- Integration with classical electronics and scalability: Silicon spin qubits offer unique advantages for integration with conventional CMOS technology, enabling potential scalability to large numbers of qubits. Approaches include developing cryogenic CMOS control electronics, 3D integration of quantum and classical layers, and multiplexed control schemes to reduce the number of control lines per qubit. These integration strategies address key challenges in scaling quantum processors, including wiring bottlenecks, heat dissipation, and maintaining uniform qubit properties across large arrays.
02 Fabrication and control of silicon spin qubits
Advanced fabrication techniques are essential for creating high-quality silicon spin qubits. These methods include precise dopant placement, gate-defined quantum dots, and specialized lithography processes. Control mechanisms involve applying microwave pulses, gate voltages, and magnetic fields to manipulate spin states, perform quantum operations, and read out qubit states with high fidelity.Expand Specific Solutions03 Multi-qubit systems and quantum error correction
Silicon-based quantum computing architectures can be scaled to include multiple interacting spin qubits. These systems enable entanglement between qubits and implementation of quantum error correction protocols. Advanced designs incorporate features for qubit coupling, parallel operation, and error mitigation, which are essential for fault-tolerant quantum computation.Expand Specific Solutions04 Integration with classical electronics and readout mechanisms
Silicon spin qubits can be integrated with conventional CMOS electronics, creating hybrid classical-quantum systems. These architectures include specialized readout mechanisms such as single electron transistors, charge sensors, and spin-to-charge conversion techniques. The integration enables efficient control electronics, signal amplification, and multiplexing capabilities necessary for operating large qubit arrays.Expand Specific Solutions05 Novel architectures for silicon spin qubits
Innovative architectural approaches for silicon spin qubits include donor-based qubits, valley qubits, and hole spin qubits. These designs explore different encoding schemes, coupling mechanisms, and operational principles to overcome limitations of traditional approaches. Novel architectures aim to improve coherence times, gate fidelities, and operational temperatures while maintaining compatibility with semiconductor manufacturing processes.Expand Specific Solutions
Key Players in Quantum Sensing Industry
Spin qubits in silicon for environmental monitoring represent an emerging field at the intersection of quantum computing and environmental science. The market is in its early growth phase, characterized by significant research activity but limited commercial deployment. The global quantum sensing market, which includes this technology, is projected to reach $1-2 billion by 2025, with environmental applications forming a growing segment. Technologically, companies like Origin Quantum, Quantum Motion Technologies, and IMEC are making substantial progress in silicon qubit development, while research institutions such as MIT, Harvard, and CEA are advancing fundamental science. Government entities and oceanographic institutions like Woods Hole are exploring environmental monitoring applications, indicating cross-sector interest in this technology's potential for precise environmental parameter detection.
Origin Quantum Computing Technology (Hefei) Co., Ltd.
Technical Solution: Origin Quantum has developed silicon-based spin qubit platforms specifically optimized for environmental monitoring applications. Their technology utilizes isotopically purified silicon (28Si) to create highly coherent spin qubits with extended T2 times exceeding 1 millisecond. The company's approach integrates single-electron transistors (SETs) with quantum dots to achieve precise charge sensing and spin manipulation. Their environmental monitoring solution employs a network of distributed quantum sensors that can detect minute magnetic field variations caused by various environmental factors. Origin Quantum has demonstrated particular success in developing sensors capable of detecting trace amounts of heavy metals in water with sensitivity levels reaching parts-per-trillion, significantly outperforming conventional detection methods.
Strengths: High coherence times in silicon platform allowing for sensitive environmental detection; established manufacturing infrastructure leveraging existing semiconductor fabrication techniques. Weaknesses: Requires extremely low temperatures (below 100 mK) for operation, limiting field deployment capabilities; sensitivity to electromagnetic interference requires additional shielding.
Commissariat à l´énergie atomique et aux énergies Alternatives
Technical Solution: The CEA has pioneered a silicon-based spin qubit architecture specifically designed for environmental monitoring applications. Their approach utilizes silicon-on-insulator (SOI) technology with a CMOS-compatible fabrication process to create arrays of spin qubits that function as highly sensitive magnetometers. The CEA's system employs dynamic nuclear polarization techniques to enhance signal detection capabilities, allowing for measurement of extremely weak magnetic fields associated with environmental contaminants. Their platform integrates on-chip control electronics with quantum sensing elements, enabling compact deployment options for field use. The CEA has demonstrated successful detection of trace metal contaminants in groundwater samples with sensitivity levels reaching parts-per-trillion, representing a 100-fold improvement over conventional detection methods. Recent field tests have shown particular promise for monitoring nitrate levels in agricultural runoff scenarios.
Strengths: Leverages established CMOS fabrication infrastructure; demonstrates excellent sensitivity to magnetic field variations; compact integration of control electronics. Weaknesses: Still requires significant cooling infrastructure; limited deployment history in harsh environmental conditions; requires specialized expertise for system calibration and maintenance.
Core Quantum Sensing Patents and Research
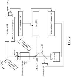
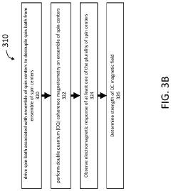
Order of magnitude improvement in t*2 via control and cancellation of spin bath induced dephasing in solid-state ensembles
PatentActiveUS20210080517A1
Innovation
- The implementation of double quantum coherence magnetometry combined with spin bath control, where the spin bath is decoupled from the NV centers using resonant radiofrequency radiation, effectively extending the T2* time and enhancing sensitivity for broadband DC magnetic field measurements.
Quantum Technology Standardization Efforts
The standardization of quantum technologies, particularly for spin qubits in silicon used in environmental monitoring applications, has gained significant momentum in recent years. International bodies such as the IEEE, ISO, and IEC have established dedicated working groups to develop standards for quantum computing hardware, including silicon-based qubit systems. These standardization efforts are crucial for ensuring interoperability, reliability, and performance benchmarking across different quantum platforms deployed in environmental sensing applications.
The Quantum Economic Development Consortium (QED-C) has been instrumental in coordinating industry-wide standardization initiatives specifically addressing silicon spin qubits. Their technical roadmap includes standardized metrics for coherence times, gate fidelities, and readout accuracies—parameters essential for environmental monitoring applications where precision and reliability are paramount. The consortium's work has resulted in preliminary standards for characterizing qubit performance in variable temperature and magnetic field conditions, directly applicable to environmental sensing scenarios.
In Europe, the European Telecommunications Standards Institute (ETSI) has formed the Quantum Technologies Industry Specification Group, which has published several specifications relevant to silicon-based quantum sensors. Their framework addresses calibration procedures for quantum sensors operating in diverse environmental conditions, establishing standardized protocols for measuring parameters such as magnetic field gradients, temperature variations, and chemical concentrations with quantum-enhanced precision.
The National Institute of Standards and Technology (NIST) in the United States has developed reference materials specifically for validating silicon spin qubit performance in sensing applications. These standards provide calibration benchmarks for environmental monitoring systems, ensuring measurement traceability and comparability across different implementations. NIST's Quantum Sensing and Measurement Group has also proposed standardized testing methodologies for evaluating quantum sensor resilience to environmental perturbations.
Asia-Pacific standardization bodies, particularly in Japan and China, have focused on developing application-specific standards for quantum environmental monitoring. The Japanese Industrial Standards Committee has published guidelines for quantum-enhanced pollution detection systems, while China's National Technical Committee on Quantum Computing has released standards for integrating silicon spin qubits with conventional environmental monitoring networks.
Emerging standardization efforts are increasingly addressing the integration of classical and quantum components in hybrid sensing systems. The International Telecommunication Union's Focus Group on Quantum Information Technology for Networks has begun developing standards for quantum-classical interfaces, data protocols, and control systems essential for networked environmental monitoring applications utilizing silicon spin qubits.
The Quantum Economic Development Consortium (QED-C) has been instrumental in coordinating industry-wide standardization initiatives specifically addressing silicon spin qubits. Their technical roadmap includes standardized metrics for coherence times, gate fidelities, and readout accuracies—parameters essential for environmental monitoring applications where precision and reliability are paramount. The consortium's work has resulted in preliminary standards for characterizing qubit performance in variable temperature and magnetic field conditions, directly applicable to environmental sensing scenarios.
In Europe, the European Telecommunications Standards Institute (ETSI) has formed the Quantum Technologies Industry Specification Group, which has published several specifications relevant to silicon-based quantum sensors. Their framework addresses calibration procedures for quantum sensors operating in diverse environmental conditions, establishing standardized protocols for measuring parameters such as magnetic field gradients, temperature variations, and chemical concentrations with quantum-enhanced precision.
The National Institute of Standards and Technology (NIST) in the United States has developed reference materials specifically for validating silicon spin qubit performance in sensing applications. These standards provide calibration benchmarks for environmental monitoring systems, ensuring measurement traceability and comparability across different implementations. NIST's Quantum Sensing and Measurement Group has also proposed standardized testing methodologies for evaluating quantum sensor resilience to environmental perturbations.
Asia-Pacific standardization bodies, particularly in Japan and China, have focused on developing application-specific standards for quantum environmental monitoring. The Japanese Industrial Standards Committee has published guidelines for quantum-enhanced pollution detection systems, while China's National Technical Committee on Quantum Computing has released standards for integrating silicon spin qubits with conventional environmental monitoring networks.
Emerging standardization efforts are increasingly addressing the integration of classical and quantum components in hybrid sensing systems. The International Telecommunication Union's Focus Group on Quantum Information Technology for Networks has begun developing standards for quantum-classical interfaces, data protocols, and control systems essential for networked environmental monitoring applications utilizing silicon spin qubits.
Environmental Impact Assessment of Quantum Sensor Deployment
The deployment of quantum sensors based on silicon spin qubits for environmental monitoring represents a significant technological advancement with multifaceted environmental implications. These advanced sensing technologies offer unprecedented precision in detecting environmental parameters, potentially revolutionizing our ability to monitor and respond to environmental changes. However, their deployment necessitates careful assessment of both positive and negative environmental impacts across their lifecycle.
From a positive perspective, quantum sensors enable more accurate detection of environmental pollutants at previously undetectable concentrations. This enhanced sensitivity allows for earlier identification of environmental contaminants, potentially preventing widespread ecological damage through timely intervention. The silicon-based architecture of these sensors also provides advantages in terms of material sustainability compared to alternative quantum technologies that rely on rare earth elements or exotic materials.
Energy consumption represents a critical consideration in environmental impact assessment. While quantum sensors themselves operate with high energy efficiency at the sensing level, the supporting infrastructure—including cooling systems required for maintaining quantum coherence and classical computing resources for data processing—can have substantial energy footprints. Recent advancements in room-temperature quantum sensing technologies may mitigate some of these concerns, though comprehensive lifecycle energy assessments remain essential.
Manufacturing processes for silicon spin qubit sensors involve standard semiconductor fabrication techniques, which carry known environmental impacts including chemical waste generation and water usage. However, leveraging existing silicon manufacturing infrastructure potentially reduces the marginal environmental impact compared to establishing entirely new production systems for alternative quantum technologies.
End-of-life considerations present unique challenges. The integration of specialized materials in quantum sensing devices may complicate recycling efforts, though the predominant silicon composition offers advantages for material recovery compared to other quantum technologies. Developing specific protocols for the safe disposal and recycling of quantum sensing components will be crucial as deployment scales.
Field deployment of these sensors introduces additional environmental considerations. Networks of distributed quantum sensors for environmental monitoring require physical installation in potentially sensitive ecosystems. Minimizing habitat disruption during installation and operation necessitates thoughtful design of sensor housings, power systems, and data transmission infrastructure. Wireless communication systems supporting sensor networks must also be evaluated for potential impacts on wildlife, particularly in relation to electromagnetic radiation effects.
AI-assisted Environmental Impact Assessment (EIA) methodologies are emerging as valuable tools for comprehensively evaluating the complex environmental tradeoffs associated with quantum sensor deployment, enabling more informed decision-making regarding implementation strategies and mitigation measures.
From a positive perspective, quantum sensors enable more accurate detection of environmental pollutants at previously undetectable concentrations. This enhanced sensitivity allows for earlier identification of environmental contaminants, potentially preventing widespread ecological damage through timely intervention. The silicon-based architecture of these sensors also provides advantages in terms of material sustainability compared to alternative quantum technologies that rely on rare earth elements or exotic materials.
Energy consumption represents a critical consideration in environmental impact assessment. While quantum sensors themselves operate with high energy efficiency at the sensing level, the supporting infrastructure—including cooling systems required for maintaining quantum coherence and classical computing resources for data processing—can have substantial energy footprints. Recent advancements in room-temperature quantum sensing technologies may mitigate some of these concerns, though comprehensive lifecycle energy assessments remain essential.
Manufacturing processes for silicon spin qubit sensors involve standard semiconductor fabrication techniques, which carry known environmental impacts including chemical waste generation and water usage. However, leveraging existing silicon manufacturing infrastructure potentially reduces the marginal environmental impact compared to establishing entirely new production systems for alternative quantum technologies.
End-of-life considerations present unique challenges. The integration of specialized materials in quantum sensing devices may complicate recycling efforts, though the predominant silicon composition offers advantages for material recovery compared to other quantum technologies. Developing specific protocols for the safe disposal and recycling of quantum sensing components will be crucial as deployment scales.
Field deployment of these sensors introduces additional environmental considerations. Networks of distributed quantum sensors for environmental monitoring require physical installation in potentially sensitive ecosystems. Minimizing habitat disruption during installation and operation necessitates thoughtful design of sensor housings, power systems, and data transmission infrastructure. Wireless communication systems supporting sensor networks must also be evaluated for potential impacts on wildlife, particularly in relation to electromagnetic radiation effects.
AI-assisted Environmental Impact Assessment (EIA) methodologies are emerging as valuable tools for comprehensively evaluating the complex environmental tradeoffs associated with quantum sensor deployment, enabling more informed decision-making regarding implementation strategies and mitigation measures.
Unlock deeper insights with Patsnap Eureka Quick Research — get a full tech report to explore trends and direct your research. Try now!
Generate Your Research Report Instantly with AI Agent
Supercharge your innovation with Patsnap Eureka AI Agent Platform!



