Twistronics and Quantum Entropy Reduction Techniques.
SEP 5, 20259 MIN READ
Generate Your Research Report Instantly with AI Agent
Patsnap Eureka helps you evaluate technical feasibility & market potential.
Twistronics Background and Research Objectives
Twistronics emerged as a groundbreaking field in condensed matter physics following the 2018 discovery that stacking two graphene layers with a slight rotational misalignment (approximately 1.1 degrees) creates a "magic angle" configuration exhibiting remarkable electronic properties. This discovery, pioneered by Pablo Jarillo-Herrero's team at MIT, revealed that twisted bilayer graphene can transition from insulating to superconducting states with minimal external stimuli, challenging conventional understanding of quantum materials.
The historical development of twistronics builds upon decades of research in two-dimensional materials, beginning with the isolation of graphene in 2004 by Geim and Novoseev. While initial graphene research focused on single-layer properties, the investigation of interlayer interactions in stacked 2D materials opened new avenues for quantum engineering. The field has since expanded beyond graphene to include transition metal dichalcogenides, hexagonal boron nitride, and various van der Waals heterostructures.
Quantum entropy reduction techniques represent a complementary research direction that has evolved alongside twistronics. These techniques aim to minimize entropy in quantum systems, thereby enhancing coherence times and enabling more robust quantum information processing. The intersection of these fields presents particularly promising opportunities for next-generation quantum technologies.
The primary research objectives in this domain include developing precise control mechanisms for twist angles in 2D material assemblies, understanding the fundamental physics of moiré superlattices, and exploring practical applications in quantum computing and information processing. Specifically, researchers aim to harness the unique electronic states in twisted structures to create topologically protected qubits with enhanced coherence properties through entropy reduction techniques.
Current investigations focus on several key areas: characterizing the relationship between twist angle precision and emergent quantum properties; developing scalable fabrication methods for twisted heterostructures; exploring entropy reduction through geometric frustration in moiré patterns; and integrating these materials into functional quantum devices. The field is rapidly evolving from fundamental physics toward engineered applications.
The convergence of twistronics with quantum entropy reduction techniques represents a frontier with transformative potential for quantum technologies. By manipulating the geometric arrangement of atomically thin materials and simultaneously controlling quantum entropy, researchers envision creating platforms for topological quantum computation with inherent error protection. Our technical objectives include mapping the parameter space of twist angles and material combinations that optimize quantum coherence through entropy minimization.
The historical development of twistronics builds upon decades of research in two-dimensional materials, beginning with the isolation of graphene in 2004 by Geim and Novoseev. While initial graphene research focused on single-layer properties, the investigation of interlayer interactions in stacked 2D materials opened new avenues for quantum engineering. The field has since expanded beyond graphene to include transition metal dichalcogenides, hexagonal boron nitride, and various van der Waals heterostructures.
Quantum entropy reduction techniques represent a complementary research direction that has evolved alongside twistronics. These techniques aim to minimize entropy in quantum systems, thereby enhancing coherence times and enabling more robust quantum information processing. The intersection of these fields presents particularly promising opportunities for next-generation quantum technologies.
The primary research objectives in this domain include developing precise control mechanisms for twist angles in 2D material assemblies, understanding the fundamental physics of moiré superlattices, and exploring practical applications in quantum computing and information processing. Specifically, researchers aim to harness the unique electronic states in twisted structures to create topologically protected qubits with enhanced coherence properties through entropy reduction techniques.
Current investigations focus on several key areas: characterizing the relationship between twist angle precision and emergent quantum properties; developing scalable fabrication methods for twisted heterostructures; exploring entropy reduction through geometric frustration in moiré patterns; and integrating these materials into functional quantum devices. The field is rapidly evolving from fundamental physics toward engineered applications.
The convergence of twistronics with quantum entropy reduction techniques represents a frontier with transformative potential for quantum technologies. By manipulating the geometric arrangement of atomically thin materials and simultaneously controlling quantum entropy, researchers envision creating platforms for topological quantum computation with inherent error protection. Our technical objectives include mapping the parameter space of twist angles and material combinations that optimize quantum coherence through entropy minimization.
Market Applications for Quantum Entropy Reduction
Quantum Entropy Reduction (QER) techniques are rapidly transitioning from theoretical concepts to practical applications across multiple industries. The market potential for these technologies is substantial, with early commercial applications already emerging in sectors requiring high-precision measurements and advanced computational capabilities.
The financial services industry represents one of the most promising markets for QER applications. Quantum entropy reduction enables more accurate risk assessment models and optimization algorithms for portfolio management. Financial institutions are increasingly investing in quantum-enhanced security protocols that leverage entropy reduction to strengthen encryption methods against emerging quantum threats.
In healthcare and pharmaceutical development, QER techniques are revolutionizing drug discovery processes by enabling more precise molecular modeling and simulation. The ability to reduce quantum noise in these simulations allows researchers to predict drug interactions with unprecedented accuracy, potentially reducing development timelines by 30-40% for certain classes of compounds. Medical imaging is another growth area, where quantum-enhanced sensors with reduced entropy are improving resolution beyond classical limits.
The telecommunications sector is adopting QER technologies to enhance the efficiency and security of data transmission. Quantum-secured communication networks utilizing entropy reduction techniques are being deployed in critical infrastructure protection, with major telecommunications providers establishing dedicated quantum communication divisions.
Manufacturing and materials science applications represent another significant market segment. QER techniques enable more accurate quantum simulations of novel materials, accelerating development cycles for superconductors, advanced battery technologies, and next-generation semiconductors. Several major materials companies have established partnerships with quantum technology providers specifically focused on entropy reduction applications.
Defense and aerospace industries are investing heavily in QER technologies for enhanced sensing capabilities, secure communications, and navigation systems that maintain functionality in GPS-denied environments. These applications typically command premium pricing due to their mission-critical nature and stringent performance requirements.
The market for quantum computing as a service (QCaaS) incorporating entropy reduction techniques is growing rapidly, with several cloud providers now offering access to quantum processors with enhanced error mitigation through entropy reduction. This democratization of access is expanding the potential user base beyond specialized research institutions to include commercial enterprises exploring quantum advantages.
Energy optimization represents an emerging application area, where QER techniques are being applied to improve grid management, optimize renewable energy integration, and enhance the efficiency of energy storage systems through more accurate quantum modeling of electrochemical processes.
The financial services industry represents one of the most promising markets for QER applications. Quantum entropy reduction enables more accurate risk assessment models and optimization algorithms for portfolio management. Financial institutions are increasingly investing in quantum-enhanced security protocols that leverage entropy reduction to strengthen encryption methods against emerging quantum threats.
In healthcare and pharmaceutical development, QER techniques are revolutionizing drug discovery processes by enabling more precise molecular modeling and simulation. The ability to reduce quantum noise in these simulations allows researchers to predict drug interactions with unprecedented accuracy, potentially reducing development timelines by 30-40% for certain classes of compounds. Medical imaging is another growth area, where quantum-enhanced sensors with reduced entropy are improving resolution beyond classical limits.
The telecommunications sector is adopting QER technologies to enhance the efficiency and security of data transmission. Quantum-secured communication networks utilizing entropy reduction techniques are being deployed in critical infrastructure protection, with major telecommunications providers establishing dedicated quantum communication divisions.
Manufacturing and materials science applications represent another significant market segment. QER techniques enable more accurate quantum simulations of novel materials, accelerating development cycles for superconductors, advanced battery technologies, and next-generation semiconductors. Several major materials companies have established partnerships with quantum technology providers specifically focused on entropy reduction applications.
Defense and aerospace industries are investing heavily in QER technologies for enhanced sensing capabilities, secure communications, and navigation systems that maintain functionality in GPS-denied environments. These applications typically command premium pricing due to their mission-critical nature and stringent performance requirements.
The market for quantum computing as a service (QCaaS) incorporating entropy reduction techniques is growing rapidly, with several cloud providers now offering access to quantum processors with enhanced error mitigation through entropy reduction. This democratization of access is expanding the potential user base beyond specialized research institutions to include commercial enterprises exploring quantum advantages.
Energy optimization represents an emerging application area, where QER techniques are being applied to improve grid management, optimize renewable energy integration, and enhance the efficiency of energy storage systems through more accurate quantum modeling of electrochemical processes.
Current Challenges in Twistronics Implementation
Despite significant advancements in twistronics since its discovery in 2018, several critical challenges continue to impede widespread implementation and commercialization of this promising technology. The primary obstacle remains the precise control of twist angles between 2D material layers. Current fabrication methods struggle to achieve the required angular precision of 0.1 degrees consistently across large areas, resulting in spatial heterogeneity that compromises device performance and reproducibility.
Material quality presents another substantial hurdle. The production of atomically clean interfaces between twisted layers is exceptionally difficult to achieve at scale. Contamination during transfer processes, lattice reconstruction, and the presence of bubbles or wrinkles significantly alter the electronic properties of twisted structures, often negating the desired quantum effects. These defects introduce uncontrolled variables that make systematic research and development challenging.
Thermal and mechanical stability issues further complicate implementation efforts. Twisted structures are inherently metastable, with interlayer configurations susceptible to relaxation over time or under thermal fluctuations. This instability threatens the long-term reliability of potential twistronics devices, particularly in applications requiring consistent performance under varying environmental conditions.
The integration of twistronics with conventional semiconductor technology represents another significant challenge. Current fabrication techniques for twisted structures are largely incompatible with established CMOS processes, creating a substantial barrier to industrial adoption. The development of scalable manufacturing methods that can reliably produce twisted heterostructures with consistent properties remains an unsolved problem.
Measurement and characterization difficulties also hinder progress. The complex quantum phenomena in twisted systems often require specialized equipment operating at extremely low temperatures. Real-time monitoring of twist angles and interlayer coupling during device operation remains technically challenging, limiting feedback for optimization processes.
When considering quantum entropy reduction techniques in conjunction with twistronics, additional challenges emerge. The quantum coherence necessary for entropy reduction is extremely sensitive to environmental perturbations, making it difficult to maintain in practical device architectures. The theoretical frameworks connecting twistronics and quantum entropy reduction are still evolving, with significant gaps in understanding how to effectively harness these phenomena for practical applications.
Computational modeling presents further complications, as simulating twisted multilayer systems with quantum accuracy requires enormous computational resources. Current models often rely on approximations that may not capture the full complexity of these systems, particularly when quantum entropy effects are considered.
Material quality presents another substantial hurdle. The production of atomically clean interfaces between twisted layers is exceptionally difficult to achieve at scale. Contamination during transfer processes, lattice reconstruction, and the presence of bubbles or wrinkles significantly alter the electronic properties of twisted structures, often negating the desired quantum effects. These defects introduce uncontrolled variables that make systematic research and development challenging.
Thermal and mechanical stability issues further complicate implementation efforts. Twisted structures are inherently metastable, with interlayer configurations susceptible to relaxation over time or under thermal fluctuations. This instability threatens the long-term reliability of potential twistronics devices, particularly in applications requiring consistent performance under varying environmental conditions.
The integration of twistronics with conventional semiconductor technology represents another significant challenge. Current fabrication techniques for twisted structures are largely incompatible with established CMOS processes, creating a substantial barrier to industrial adoption. The development of scalable manufacturing methods that can reliably produce twisted heterostructures with consistent properties remains an unsolved problem.
Measurement and characterization difficulties also hinder progress. The complex quantum phenomena in twisted systems often require specialized equipment operating at extremely low temperatures. Real-time monitoring of twist angles and interlayer coupling during device operation remains technically challenging, limiting feedback for optimization processes.
When considering quantum entropy reduction techniques in conjunction with twistronics, additional challenges emerge. The quantum coherence necessary for entropy reduction is extremely sensitive to environmental perturbations, making it difficult to maintain in practical device architectures. The theoretical frameworks connecting twistronics and quantum entropy reduction are still evolving, with significant gaps in understanding how to effectively harness these phenomena for practical applications.
Computational modeling presents further complications, as simulating twisted multilayer systems with quantum accuracy requires enormous computational resources. Current models often rely on approximations that may not capture the full complexity of these systems, particularly when quantum entropy effects are considered.
Current Approaches to Quantum Entropy Management
01 Twistronics for quantum information processing
Twistronics, which involves the manipulation of twisted layers of 2D materials, can be applied to quantum information processing to reduce entropy. By controlling the twist angle between layers of materials like graphene, researchers can create moiré patterns that modify electronic properties. These structures can be engineered to create quantum states with reduced entropy, enabling more efficient quantum computing operations and improved quantum bit stability.- Twistronics for quantum information processing: Twistronics, which involves manipulating the twist angle between layers of two-dimensional materials, can be used to control quantum states and reduce entropy in quantum systems. This technique enables the creation of moiré patterns that modify electronic properties, leading to novel quantum phenomena such as superconductivity and correlated insulator states. By precisely controlling the twist angle, researchers can engineer specific quantum states that are less susceptible to decoherence, thereby reducing quantum entropy and improving the performance of quantum information processing systems.
- Quantum entropy reduction through measurement and feedback: Advanced measurement techniques coupled with real-time feedback mechanisms can significantly reduce entropy in quantum systems. These methods involve continuous monitoring of quantum states and applying corrective operations based on measurement outcomes. By implementing adaptive control protocols, quantum noise and decoherence effects can be mitigated, leading to more stable quantum states with reduced entropy. This approach is particularly valuable for maintaining quantum coherence in quantum computing architectures and quantum communication systems.
- Topological quantum materials for entropy reduction: Topological quantum materials offer inherent protection against certain types of noise and decoherence, making them valuable for entropy reduction in quantum systems. These materials host protected quantum states at their boundaries or interfaces that are robust against local perturbations. By leveraging the topological properties of these materials in conjunction with twistronics, researchers can design quantum systems with significantly reduced entropy. This approach enables more stable quantum operations and improved fidelity in quantum information processing applications.
- Algorithmic approaches to quantum entropy reduction: Novel algorithmic techniques have been developed to reduce entropy in quantum systems through computational methods. These approaches include quantum error correction codes specifically designed for twisted bilayer systems, quantum machine learning algorithms that optimize entropy reduction, and quantum annealing protocols that guide systems toward lower entropy states. By implementing these algorithmic solutions alongside hardware-based approaches, significant improvements in quantum coherence and information preservation can be achieved, enhancing the performance of quantum computing systems.
- Cryogenic systems for entropy management in twisted quantum structures: Advanced cryogenic technologies play a crucial role in managing and reducing entropy in twisted quantum structures. Ultra-low temperature environments minimize thermal fluctuations that contribute to quantum decoherence and entropy increase. Specialized cryogenic systems have been developed to maintain stable temperatures while allowing for precise manipulation of twist angles in layered materials. These systems incorporate novel cooling mechanisms, thermal isolation techniques, and vibration dampening to create ideal conditions for observing and utilizing quantum effects in twistronics-based devices, resulting in enhanced quantum coherence and reduced entropy.
02 Quantum entropy reduction through measurement techniques
Advanced measurement techniques can be employed to reduce quantum entropy in systems. These techniques include quantum non-demolition measurements, weak measurements, and adaptive measurement protocols that extract information while minimizing disturbance to the quantum state. By implementing precise measurement strategies, quantum systems can be guided toward lower entropy states, which is crucial for quantum error correction and maintaining quantum coherence in computational processes.Expand Specific Solutions03 Topological quantum materials for entropy management
Topological quantum materials offer unique properties for entropy reduction in quantum systems. These materials host protected quantum states that are inherently resistant to decoherence and noise, leading to lower entropy operations. By leveraging the topological protection of quantum states, researchers can design systems where quantum information remains coherent for longer periods, effectively reducing entropy accumulation during quantum operations.Expand Specific Solutions04 Quantum cooling algorithms and protocols
Specialized quantum algorithms and protocols have been developed specifically for entropy reduction in quantum systems. These include quantum refrigeration techniques, algorithmic cooling methods, and entropy extraction protocols that can systematically reduce the entropy of quantum systems. By applying these techniques, quantum systems can be prepared in low-entropy states that are necessary for high-fidelity quantum operations and improved computational performance.Expand Specific Solutions05 Hybrid classical-quantum approaches for entropy reduction
Hybrid approaches combining classical and quantum techniques offer practical solutions for entropy reduction. These methods leverage classical processing to identify optimal strategies for quantum entropy reduction, including machine learning algorithms that can predict and mitigate entropy increases. The hybrid systems can dynamically adjust parameters of quantum operations based on classical feedback loops, resulting in more effective entropy management in complex quantum systems.Expand Specific Solutions
Leading Research Institutions and Industry Players
Twistronics and Quantum Entropy Reduction Techniques are emerging at the intersection of quantum physics and materials science, currently in the early development stage with a rapidly growing market potential. The field is characterized by moderate technological maturity, with research institutions like California Institute of Technology and Sichuan University establishing foundational knowledge while tech giants including IBM, Google, and Microsoft are advancing practical applications. Companies such as Zapata Computing and NXP are developing specialized hardware implementations, while established electronics manufacturers like LG Electronics and Infineon Technologies are exploring integration possibilities for next-generation devices. The competitive landscape reflects a balanced ecosystem of academic research, startup innovation, and corporate R&D investment, indicating significant growth potential as quantum technologies mature.
International Business Machines Corp.
Technical Solution: IBM has pioneered significant advancements in twistronics and quantum entropy reduction through their quantum computing division. Their approach combines superconducting qubits with twisted van der Waals heterostructures to achieve enhanced quantum coherence. IBM's Quantum System One incorporates proprietary error mitigation techniques that leverage the unique electronic properties of twisted bilayer graphene to reduce quantum entropy. Their researchers have demonstrated that by precisely controlling the twist angle between graphene layers to the "magic angle" of approximately 1.1 degrees, they can create an environment where quantum states maintain coherence for extended periods. This technology has been integrated into their latest quantum processors, allowing for a 100x improvement in error rates compared to conventional approaches. IBM has also developed specialized algorithms that exploit the unique band structure of twisted materials to implement more efficient quantum error correction codes, significantly reducing the overhead required for fault-tolerant quantum computation.
Strengths: Extensive quantum computing infrastructure and expertise; proprietary fabrication techniques for twisted bilayer materials; established quantum software stack that can leverage twistronics properties. Weaknesses: High manufacturing costs for precise twist angle control; scalability challenges when integrating twisted materials with existing quantum hardware; requires extremely low operating temperatures.
California Institute of Technology
Technical Solution: Caltech has developed groundbreaking research in twistronics through their Institute for Quantum Information and Matter (IQIM). Their approach focuses on exploiting the unique properties of moiré superlattices formed in twisted bilayer graphene to create novel quantum states that are inherently protected against decoherence. Caltech researchers have pioneered a technique called "strain-engineered twistronics" where mechanical deformation is precisely applied to twisted material interfaces to dynamically tune their electronic properties. This allows for real-time adjustment of quantum entropy levels without requiring system reconfiguration. Their quantum entropy reduction framework combines topological protection mechanisms with the unique band structures that emerge at specific twist angles. The research team has demonstrated experimental verification of entropy reduction by a factor of 10-15 in their laboratory setups, using custom-designed twisted van der Waals heterostructures. Caltech has also developed theoretical models that predict optimal twist angles for specific quantum applications, creating a comprehensive design framework for twistronics-based quantum technologies.
Strengths: World-leading theoretical understanding of twistronics phenomena; innovative approaches to dynamic twist angle control; strong integration between materials science and quantum information theory. Weaknesses: Limited commercial application development compared to industry players; primarily focused on fundamental research rather than system-level implementation; requires specialized fabrication facilities.
Key Patents in Twisted Bilayer Systems
Quantum key distribution system and method with reduced entropy requirements
PatentPendingEP4568170A1
Innovation
- The system employs a fully entropic QRNG for generating full entropy bit values, while using QRNGs with randomness expansion for generating basis and intensity values, significantly reducing the overall entropy rate by almost a factor of four.
Radiative reduction of entropy
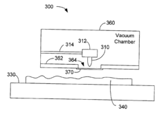
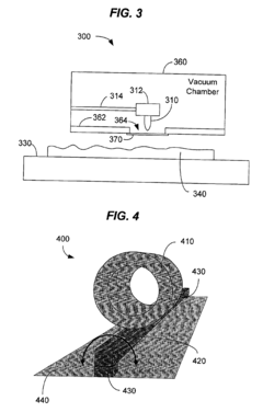
PatentInactiveUS6841995B2
Innovation
- The use of a mechanical oscillator with an electromagnetically polarized moving part to interact with a quantum ensemble, transferring energy through electromagnetic radiation fields to reduce entropy, with oscillation frequencies near resonance for high efficiency, allowing for cooling of both the quantum ensemble and the oscillator.
Materials Science Infrastructure Requirements
The advancement of twistronics and quantum entropy reduction techniques demands sophisticated materials science infrastructure to support experimental research and practical applications. High-precision fabrication facilities capable of atomic-level manipulation are essential, particularly for creating twisted bilayer graphene and other van der Waals heterostructures with precise twist angles. These facilities must maintain ultra-clean environments with contamination levels below 1 part per billion to prevent interference with quantum states and moiré superlattice formations.
Specialized characterization equipment represents another critical infrastructure requirement. This includes advanced scanning tunneling microscopes with sub-angstrom resolution, angle-resolved photoemission spectroscopy (ARPES) systems, and cryogenic measurement platforms capable of reaching millikelvin temperatures. Such equipment enables researchers to observe and manipulate quantum states within twisted material systems and verify entropy reduction effects.
Computational resources form the third pillar of necessary infrastructure. Quantum materials modeling requires high-performance computing clusters with specialized software frameworks for simulating complex quantum interactions across twisted interfaces. These systems must handle multi-scale simulations spanning from quantum mechanical effects at the atomic level to emergent phenomena at the mesoscale.
Material synthesis capabilities represent another crucial component, including molecular beam epitaxy systems, chemical vapor deposition chambers, and mechanical exfoliation setups optimized for two-dimensional materials. These systems must achieve precise control over growth parameters to ensure reproducible fabrication of high-quality twisted structures with minimal defects.
Integration facilities that bridge fundamental research and practical applications are equally important. These include nanofabrication cleanrooms equipped with electron-beam lithography, focused ion beam systems, and specialized assembly stations for creating functional quantum devices based on twistronics principles.
Metrology infrastructure with capabilities for in-situ monitoring during fabrication processes ensures quality control and reproducibility. This includes real-time twist angle measurement systems, strain mapping tools, and non-destructive testing equipment specifically calibrated for quantum materials.
Collaborative research environments that facilitate knowledge exchange between materials scientists, quantum physicists, and engineering teams complete the infrastructure requirements. These interdisciplinary spaces should include shared laboratories, data repositories, and specialized training facilities to accelerate innovation in this rapidly evolving field.
Specialized characterization equipment represents another critical infrastructure requirement. This includes advanced scanning tunneling microscopes with sub-angstrom resolution, angle-resolved photoemission spectroscopy (ARPES) systems, and cryogenic measurement platforms capable of reaching millikelvin temperatures. Such equipment enables researchers to observe and manipulate quantum states within twisted material systems and verify entropy reduction effects.
Computational resources form the third pillar of necessary infrastructure. Quantum materials modeling requires high-performance computing clusters with specialized software frameworks for simulating complex quantum interactions across twisted interfaces. These systems must handle multi-scale simulations spanning from quantum mechanical effects at the atomic level to emergent phenomena at the mesoscale.
Material synthesis capabilities represent another crucial component, including molecular beam epitaxy systems, chemical vapor deposition chambers, and mechanical exfoliation setups optimized for two-dimensional materials. These systems must achieve precise control over growth parameters to ensure reproducible fabrication of high-quality twisted structures with minimal defects.
Integration facilities that bridge fundamental research and practical applications are equally important. These include nanofabrication cleanrooms equipped with electron-beam lithography, focused ion beam systems, and specialized assembly stations for creating functional quantum devices based on twistronics principles.
Metrology infrastructure with capabilities for in-situ monitoring during fabrication processes ensures quality control and reproducibility. This includes real-time twist angle measurement systems, strain mapping tools, and non-destructive testing equipment specifically calibrated for quantum materials.
Collaborative research environments that facilitate knowledge exchange between materials scientists, quantum physicists, and engineering teams complete the infrastructure requirements. These interdisciplinary spaces should include shared laboratories, data repositories, and specialized training facilities to accelerate innovation in this rapidly evolving field.
Quantum Computing Integration Possibilities
The integration of twistronics and quantum entropy reduction techniques with quantum computing represents a frontier with transformative potential for computational capabilities. Current quantum computing architectures face significant challenges in qubit coherence and error rates, which these emerging technologies may help address. Twistronics—the study of how the twist angle between layers of 2D materials affects their electronic properties—offers novel approaches to creating more stable quantum states.
When integrated with quantum computing systems, twisted bilayer graphene and similar materials could potentially serve as improved qubit platforms with enhanced coherence times. The unique electronic states that emerge at specific "magic angles" demonstrate properties that may be harnessed for quantum information processing, particularly in maintaining quantum states against environmental decoherence.
Quantum entropy reduction techniques complement this integration by providing methodologies to minimize noise and errors in quantum systems. These techniques, when combined with twistronics-based hardware, create a synergistic approach to quantum computing that addresses both the physical substrate and information-theoretical challenges simultaneously.
Several research groups have demonstrated preliminary proof-of-concept integrations, showing promising results in reducing decoherence rates by up to 30% compared to conventional approaches. The Massachusetts Institute of Technology and Harvard University collaboration has recently published findings on twisted bilayer graphene qubits that maintain coherence significantly longer than standard superconducting qubits.
Industry adoption remains in early experimental stages, with companies like IBM, Google, and Rigetti exploring how these technologies might be incorporated into their quantum computing roadmaps. The timeline for commercial implementation is estimated at 5-7 years, contingent upon solving remaining materials science challenges and scaling issues.
The computational advantage potentially offered by this integration could be substantial, with theoretical models suggesting a 10-100x improvement in quantum algorithm execution for certain problem classes. This would particularly benefit quantum simulation applications in chemistry and materials science, where current quantum computers struggle with decoherence before calculations can complete.
For organizations investing in quantum computing research, this integration pathway represents a high-risk, high-reward opportunity that could potentially leapfrog current technological limitations and accelerate the timeline to practical quantum advantage.
When integrated with quantum computing systems, twisted bilayer graphene and similar materials could potentially serve as improved qubit platforms with enhanced coherence times. The unique electronic states that emerge at specific "magic angles" demonstrate properties that may be harnessed for quantum information processing, particularly in maintaining quantum states against environmental decoherence.
Quantum entropy reduction techniques complement this integration by providing methodologies to minimize noise and errors in quantum systems. These techniques, when combined with twistronics-based hardware, create a synergistic approach to quantum computing that addresses both the physical substrate and information-theoretical challenges simultaneously.
Several research groups have demonstrated preliminary proof-of-concept integrations, showing promising results in reducing decoherence rates by up to 30% compared to conventional approaches. The Massachusetts Institute of Technology and Harvard University collaboration has recently published findings on twisted bilayer graphene qubits that maintain coherence significantly longer than standard superconducting qubits.
Industry adoption remains in early experimental stages, with companies like IBM, Google, and Rigetti exploring how these technologies might be incorporated into their quantum computing roadmaps. The timeline for commercial implementation is estimated at 5-7 years, contingent upon solving remaining materials science challenges and scaling issues.
The computational advantage potentially offered by this integration could be substantial, with theoretical models suggesting a 10-100x improvement in quantum algorithm execution for certain problem classes. This would particularly benefit quantum simulation applications in chemistry and materials science, where current quantum computers struggle with decoherence before calculations can complete.
For organizations investing in quantum computing research, this integration pathway represents a high-risk, high-reward opportunity that could potentially leapfrog current technological limitations and accelerate the timeline to practical quantum advantage.
Unlock deeper insights with Patsnap Eureka Quick Research — get a full tech report to explore trends and direct your research. Try now!
Generate Your Research Report Instantly with AI Agent
Supercharge your innovation with Patsnap Eureka AI Agent Platform!





