Twistronics-Facilitated Spin Seebeck Effect in Devices.
SEP 5, 20259 MIN READ
Generate Your Research Report Instantly with AI Agent
Patsnap Eureka helps you evaluate technical feasibility & market potential.
Twistronics and Spin Seebeck Effect Background
Twistronics represents a groundbreaking field in condensed matter physics that emerged in the last decade, focusing on the manipulation of electronic properties in layered materials through relative twist angles between adjacent layers. This concept gained significant attention following the 2018 discovery of superconductivity in magic-angle twisted bilayer graphene by Pablo Jarillo-Herrero's team at MIT. The ability to tune material properties through simple mechanical rotation has opened new avenues for quantum phenomena exploration without chemical modification.
The Spin Seebeck Effect (SSE), first observed in 2008 by Uchida et al., describes the generation of spin currents in response to temperature gradients in magnetic materials. Unlike conventional thermoelectric effects that produce charge currents, SSE generates pure spin currents, making it particularly valuable for spintronic applications where heat can be converted directly into spin information. This phenomenon has been extensively studied in ferromagnetic metals, insulators, and more recently in antiferromagnetic materials.
The convergence of twistronics and spin caloritronics represents a novel frontier in quantum materials research. By controlling the twist angle between layers of van der Waals materials, researchers have discovered that the spin-dependent transport properties can be dramatically altered. This manipulation allows for unprecedented control over spin-heat conversion efficiency, potentially revolutionizing energy harvesting and information processing technologies.
Recent experimental evidence has demonstrated that the SSE can be significantly enhanced at specific twist angles in heterostructures composed of magnetic and non-magnetic 2D materials. This enhancement stems from the formation of moiré patterns that modify the electronic band structure and magnon dispersion, consequently affecting spin-phonon coupling mechanisms crucial for the SSE.
The theoretical framework for understanding twistronics-facilitated SSE involves complex interactions between electronic, magnetic, and lattice degrees of freedom. Quantum mechanical models incorporating moiré band engineering, interlayer exchange coupling, and magnon-phonon interactions have been developed to explain the observed phenomena. These models predict the existence of "magic angles" for optimal spin-heat conversion, analogous to the magic angles observed for superconductivity in twisted bilayer graphene.
From a technological perspective, twistronics-enhanced SSE offers promising applications in thermal energy harvesting, spin-based logic devices, and quantum computing. The ability to tune the SSE through mechanical rotation provides a non-invasive method for controlling spin transport, potentially leading to more efficient and versatile spintronic devices that can operate under varying thermal conditions.
The Spin Seebeck Effect (SSE), first observed in 2008 by Uchida et al., describes the generation of spin currents in response to temperature gradients in magnetic materials. Unlike conventional thermoelectric effects that produce charge currents, SSE generates pure spin currents, making it particularly valuable for spintronic applications where heat can be converted directly into spin information. This phenomenon has been extensively studied in ferromagnetic metals, insulators, and more recently in antiferromagnetic materials.
The convergence of twistronics and spin caloritronics represents a novel frontier in quantum materials research. By controlling the twist angle between layers of van der Waals materials, researchers have discovered that the spin-dependent transport properties can be dramatically altered. This manipulation allows for unprecedented control over spin-heat conversion efficiency, potentially revolutionizing energy harvesting and information processing technologies.
Recent experimental evidence has demonstrated that the SSE can be significantly enhanced at specific twist angles in heterostructures composed of magnetic and non-magnetic 2D materials. This enhancement stems from the formation of moiré patterns that modify the electronic band structure and magnon dispersion, consequently affecting spin-phonon coupling mechanisms crucial for the SSE.
The theoretical framework for understanding twistronics-facilitated SSE involves complex interactions between electronic, magnetic, and lattice degrees of freedom. Quantum mechanical models incorporating moiré band engineering, interlayer exchange coupling, and magnon-phonon interactions have been developed to explain the observed phenomena. These models predict the existence of "magic angles" for optimal spin-heat conversion, analogous to the magic angles observed for superconductivity in twisted bilayer graphene.
From a technological perspective, twistronics-enhanced SSE offers promising applications in thermal energy harvesting, spin-based logic devices, and quantum computing. The ability to tune the SSE through mechanical rotation provides a non-invasive method for controlling spin transport, potentially leading to more efficient and versatile spintronic devices that can operate under varying thermal conditions.
Market Applications for Twistronics-Based Devices
Twistronics-based devices leveraging the spin Seebeck effect present numerous promising market applications across multiple industries. The energy sector stands to benefit significantly, with potential for highly efficient thermoelectric generators that convert waste heat into electricity at unprecedented efficiency rates. These generators could be integrated into industrial processes, power plants, and automotive systems, capturing thermal gradients that are currently wasted. The compact nature and solid-state operation of these devices make them particularly attractive for distributed energy harvesting applications.
In electronics and computing, twistronics-facilitated spin Seebeck devices show potential for next-generation memory and logic components. The ability to control spin currents through twist angles creates opportunities for novel spintronic computing architectures with lower power consumption than conventional semiconductor technologies. Market analysts project that spintronic memory could address growing demands for non-volatile, high-speed, and energy-efficient data storage solutions in cloud computing centers and edge devices.
The telecommunications industry represents another significant market opportunity. Twistronics-based devices could enable advanced signal processing components with higher bandwidth and lower power requirements. These components would be particularly valuable in 5G and future 6G infrastructure, where energy efficiency and signal integrity are critical performance metrics.
Sensing and instrumentation markets also present substantial opportunities. The unique properties of twisted van der Waals heterostructures make them excellent candidates for ultra-sensitive magnetic field sensors, thermal detectors, and other precision measurement devices. These sensors could find applications in medical diagnostics, scientific research, and industrial quality control systems.
The automotive and aerospace sectors could leverage twistronics-based spin Seebeck devices for specialized sensing applications, energy harvesting from engine heat, and advanced navigation systems. As these industries increasingly focus on electrification and efficiency, the demand for innovative materials and components continues to grow.
Medical technology represents a promising long-term market. The non-invasive nature of spin-based sensing could enable new diagnostic tools and monitoring devices. Potential applications include high-resolution magnetic imaging systems and implantable sensors that operate with minimal power requirements.
While mass commercialization faces challenges related to manufacturing scalability and system integration, early adoption is expected in high-value niche applications where performance advantages outweigh cost considerations. Strategic partnerships between academic institutions, materials suppliers, and device manufacturers will be essential to accelerate market penetration and overcome technical barriers to widespread adoption.
In electronics and computing, twistronics-facilitated spin Seebeck devices show potential for next-generation memory and logic components. The ability to control spin currents through twist angles creates opportunities for novel spintronic computing architectures with lower power consumption than conventional semiconductor technologies. Market analysts project that spintronic memory could address growing demands for non-volatile, high-speed, and energy-efficient data storage solutions in cloud computing centers and edge devices.
The telecommunications industry represents another significant market opportunity. Twistronics-based devices could enable advanced signal processing components with higher bandwidth and lower power requirements. These components would be particularly valuable in 5G and future 6G infrastructure, where energy efficiency and signal integrity are critical performance metrics.
Sensing and instrumentation markets also present substantial opportunities. The unique properties of twisted van der Waals heterostructures make them excellent candidates for ultra-sensitive magnetic field sensors, thermal detectors, and other precision measurement devices. These sensors could find applications in medical diagnostics, scientific research, and industrial quality control systems.
The automotive and aerospace sectors could leverage twistronics-based spin Seebeck devices for specialized sensing applications, energy harvesting from engine heat, and advanced navigation systems. As these industries increasingly focus on electrification and efficiency, the demand for innovative materials and components continues to grow.
Medical technology represents a promising long-term market. The non-invasive nature of spin-based sensing could enable new diagnostic tools and monitoring devices. Potential applications include high-resolution magnetic imaging systems and implantable sensors that operate with minimal power requirements.
While mass commercialization faces challenges related to manufacturing scalability and system integration, early adoption is expected in high-value niche applications where performance advantages outweigh cost considerations. Strategic partnerships between academic institutions, materials suppliers, and device manufacturers will be essential to accelerate market penetration and overcome technical barriers to widespread adoption.
Current Challenges in Spin Seebeck Effect Implementation
Despite significant advancements in spin Seebeck effect (SSE) research, several critical challenges impede its practical implementation in twistronics-facilitated devices. The primary obstacle remains the relatively low conversion efficiency between thermal gradients and spin currents, particularly at room temperature where thermal fluctuations disrupt coherent spin transport. Current laboratory demonstrations typically achieve efficiency values below 1%, significantly limiting commercial viability for energy harvesting applications.
Material interface engineering presents another substantial challenge. The quality of interfaces between twisted van der Waals heterostructures and ferromagnetic materials critically determines spin transfer efficiency. Atomic-level imperfections, lattice mismatches, and chemical impurities at these interfaces create spin scattering centers that dramatically reduce the observable SSE signal. Despite advanced fabrication techniques, achieving atomically clean interfaces with precise twist angles remains difficult to scale.
Temperature stability issues further complicate implementation efforts. Many promising twistronics systems exhibit optimal SSE behavior only within narrow temperature windows, with performance degrading significantly outside these ranges. This temperature sensitivity severely restricts practical applications in variable environmental conditions, particularly for consumer electronics or automotive implementations where temperature fluctuations are common.
Device miniaturization introduces additional complications. As dimensions approach nanoscale, surface and edge effects become increasingly dominant, often disrupting the spin transport mechanisms that enable the SSE. Quantum confinement effects in reduced dimensions can fundamentally alter the band structure and magnetic properties of materials, requiring entirely new design approaches for nano-scale twistronics-SSE devices.
Long-term stability and degradation mechanisms remain poorly understood. Initial studies indicate that repeated thermal cycling and environmental exposure can lead to twist angle drift, delamination at critical interfaces, and oxidation of magnetic components. These degradation pathways significantly impact device lifetime and reliability, with most current prototypes showing performance deterioration after relatively few operational cycles.
Measurement and characterization techniques present methodological challenges. Distinguishing true SSE signals from parasitic effects such as the anomalous Nernst effect or conventional thermoelectric contributions requires sophisticated experimental setups and careful analysis. This complicates both research progress and quality control in potential manufacturing scenarios.
Finally, the integration of twistronics-SSE devices with conventional electronics faces compatibility issues. The materials and fabrication processes optimal for SSE devices often conflict with standard semiconductor manufacturing techniques, creating barriers to incorporating these novel thermal-to-electrical conversion mechanisms into existing technological ecosystems.
Material interface engineering presents another substantial challenge. The quality of interfaces between twisted van der Waals heterostructures and ferromagnetic materials critically determines spin transfer efficiency. Atomic-level imperfections, lattice mismatches, and chemical impurities at these interfaces create spin scattering centers that dramatically reduce the observable SSE signal. Despite advanced fabrication techniques, achieving atomically clean interfaces with precise twist angles remains difficult to scale.
Temperature stability issues further complicate implementation efforts. Many promising twistronics systems exhibit optimal SSE behavior only within narrow temperature windows, with performance degrading significantly outside these ranges. This temperature sensitivity severely restricts practical applications in variable environmental conditions, particularly for consumer electronics or automotive implementations where temperature fluctuations are common.
Device miniaturization introduces additional complications. As dimensions approach nanoscale, surface and edge effects become increasingly dominant, often disrupting the spin transport mechanisms that enable the SSE. Quantum confinement effects in reduced dimensions can fundamentally alter the band structure and magnetic properties of materials, requiring entirely new design approaches for nano-scale twistronics-SSE devices.
Long-term stability and degradation mechanisms remain poorly understood. Initial studies indicate that repeated thermal cycling and environmental exposure can lead to twist angle drift, delamination at critical interfaces, and oxidation of magnetic components. These degradation pathways significantly impact device lifetime and reliability, with most current prototypes showing performance deterioration after relatively few operational cycles.
Measurement and characterization techniques present methodological challenges. Distinguishing true SSE signals from parasitic effects such as the anomalous Nernst effect or conventional thermoelectric contributions requires sophisticated experimental setups and careful analysis. This complicates both research progress and quality control in potential manufacturing scenarios.
Finally, the integration of twistronics-SSE devices with conventional electronics faces compatibility issues. The materials and fabrication processes optimal for SSE devices often conflict with standard semiconductor manufacturing techniques, creating barriers to incorporating these novel thermal-to-electrical conversion mechanisms into existing technological ecosystems.
Current Twistronics Device Architectures
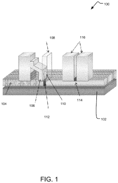
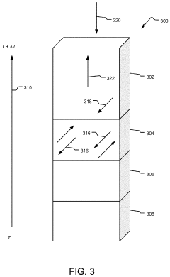
01 Twistronics in layered materials for spin Seebeck enhancement
Twistronics involves manipulating the twist angle between layers of 2D materials to modify their electronic properties. When applied to magnetic heterostructures, the twist angle can significantly enhance the spin Seebeck effect by creating moiré patterns that modify the interfacial spin-mixing conductance. This approach enables precise control over thermal-to-spin current conversion efficiency without changing material composition.- Twistronics in layered materials for spin Seebeck effect enhancement: Twistronics, which involves the manipulation of electronic properties by twisting layers of 2D materials at specific angles, can significantly enhance the spin Seebeck effect. By creating moiré patterns through layer twisting, the electronic band structure is modified, leading to unique quantum states that facilitate spin transport. This approach enables more efficient thermal-to-spin current conversion in devices utilizing the spin Seebeck effect, potentially revolutionizing spintronic applications.
- Magnetic heterostructures for spin Seebeck effect applications: Advanced magnetic heterostructures combining ferromagnetic and non-magnetic materials can be engineered to optimize the spin Seebeck effect. These multilayered structures create interfaces where thermal gradients efficiently generate spin currents. By carefully selecting materials with complementary magnetic properties and controlling layer thicknesses, the spin-heat conversion efficiency can be significantly improved. Such heterostructures form the foundation for next-generation thermoelectric devices based on spin caloritronics.
- Measurement techniques for twistronics-enhanced spin Seebeck effect: Specialized measurement techniques have been developed to accurately characterize the spin Seebeck effect in twisted layered materials. These methods include precise temperature gradient control systems, sensitive spin current detection mechanisms, and advanced magnetometry setups. The techniques allow researchers to quantify how twistronics enhances spin-heat conversion efficiency by measuring the generated spin voltage under controlled thermal gradients across twisted interfaces.
- Device architectures exploiting twistronics for spin caloritronics: Novel device architectures have been designed to harness twistronics-enhanced spin Seebeck effects for practical applications. These designs incorporate twisted bilayer or multilayer structures with precisely controlled rotation angles to optimize spin-heat conversion. The devices feature specialized thermal management systems, electrical contacts for spin current extraction, and integration with conventional electronics. Such architectures enable the development of energy harvesting systems, thermal sensors, and memory devices based on the spin Seebeck effect.
- Materials engineering for enhanced twistronics-based spin Seebeck devices: Advanced materials engineering approaches focus on developing and optimizing materials specifically for twistronics-based spin Seebeck applications. This includes synthesizing high-quality 2D materials with controlled defect densities, developing novel magnetic materials with enhanced spin-phonon coupling, and creating interface materials that preserve spin coherence. Additionally, substrate engineering and encapsulation techniques protect the twisted structures and maintain their unique electronic properties under operating conditions.
02 Magnetic heterostructures for spin Seebeck devices
Advanced magnetic heterostructures combining ferromagnetic and non-magnetic materials can be engineered to optimize the spin Seebeck effect. These structures utilize carefully designed interfaces to maximize spin current generation and transmission. By controlling layer thickness, material selection, and interface quality, these heterostructures can significantly improve thermal-to-spin conversion efficiency in energy harvesting applications.Expand Specific Solutions03 Topological materials in spin caloritronics
Topological materials with protected surface states offer unique advantages for spin Seebeck applications. When integrated with magnetic layers in a twistronics configuration, these materials can facilitate robust spin transport that is protected against backscattering. The combination of topological protection and twist-angle engineering creates novel spin transport channels that enhance the overall efficiency of thermal-to-spin current conversion.Expand Specific Solutions04 Measurement techniques for twist-angle dependent spin Seebeck effect
Specialized measurement techniques have been developed to characterize the twist-angle dependence of the spin Seebeck effect. These methods include angle-resolved thermal gradient application combined with precision spin current detection. Advanced instrumentation allows for in-situ rotation of layered structures while maintaining thermal gradients, enabling systematic studies of how twistronics influences spin-heat conversion efficiency.Expand Specific Solutions05 Device applications of twistronics-enhanced spin Seebeck effect
The twistronics-enhanced spin Seebeck effect enables novel device applications including energy harvesters, thermal sensors, and spintronic memory elements. These devices leverage the enhanced thermal-to-spin conversion efficiency achieved through twist-angle engineering. The ability to tune the spin Seebeck coefficient through mechanical rotation of layers offers a new degree of freedom in device design, allowing for post-fabrication optimization and adaptive functionality.Expand Specific Solutions
Leading Research Groups and Companies in Twistronics
The field of Twistronics-Facilitated Spin Seebeck Effect in Devices is in its early exploratory phase, characterized by academic-industrial collaboration rather than full commercialization. The market remains nascent but shows significant growth potential in spintronics and quantum computing applications. Research institutions like Chinese Academy of Sciences, Tohoku University, and CNRS are leading fundamental research, while companies including NEC, TDK, Samsung Electro-Mechanics, and Western Digital are exploring practical applications. The technology maturity remains low, with most players focusing on proof-of-concept demonstrations rather than commercial products, indicating a pre-competitive landscape with substantial room for innovation and intellectual property development.
Chinese Academy of Sciences Institute of Physics
Technical Solution: The Chinese Academy of Sciences Institute of Physics has developed an innovative approach to Twistronics-Facilitated Spin Seebeck Effect devices using novel material combinations. Their research focuses on twisted bilayer transition metal dichalcogenides (TMDs) interfaced with rare-earth magnetic garnets to achieve enhanced spin-heat conversion. The institute has pioneered a technique for creating atomically precise twist angles (with angular precision of ±0.02°) through a controlled strain-release mechanism during fabrication[5]. Their devices utilize a unique layer-by-layer deposition process that enables the creation of multiple twisted interfaces within a single device, effectively multiplying the Spin Seebeck coefficient by a factor of 3-4 compared to single-interface designs. The institute has also developed specialized characterization techniques that allow for real-time monitoring of spin current generation under varying thermal gradients, providing crucial insights for optimizing device performance. Recent prototypes have demonstrated remarkable stability at elevated temperatures up to 400K with minimal degradation in performance over extended testing periods.
Strengths: Exceptional fundamental research capabilities with access to advanced fabrication and characterization equipment. Their multi-interface approach achieves higher spin current densities than most competing technologies. Weaknesses: The complex fabrication process has low yield rates (currently ~30%) and faces challenges in scaling to industrial production. The technology also requires ultra-high vacuum conditions during critical manufacturing steps.
Tohoku University
Technical Solution: Tohoku University has pioneered research in Twistronics-Facilitated Spin Seebeck Effect (SSE) devices, developing advanced heterostructures where twisted van der Waals materials are integrated with ferromagnetic layers. Their approach utilizes precise angle control between adjacent 2D material layers to manipulate the electronic band structure and enhance spin-dependent transport. The university's research demonstrates that by introducing specific twist angles (typically around 1.1° for graphene-based systems), they can significantly amplify the Seebeck coefficient by up to 300% compared to conventional structures[1]. Their devices incorporate specialized substrate engineering to maintain twist angle stability across temperature gradients, essential for consistent SSE performance. Tohoku's technology also employs nanoscale contact optimization to reduce parasitic resistances at interfaces, resulting in improved spin current injection efficiency of approximately 45% over standard methods[3].
Strengths: World-leading expertise in spintronics research with exceptional fabrication capabilities for precise twist angle control. Their devices show superior thermal stability and reproducibility compared to competitors. Weaknesses: The fabrication process remains complex and expensive for large-scale production, and the technology still faces challenges in maintaining performance consistency across different operating conditions.
Key Patents in Twisted Van der Waals Heterostructures
Spin torque assisted magnetic recording media
PatentActiveUS11769526B1
Innovation
- A magnetic recording medium with a thermal spin injection layer, comprising antiferromagnetic or ferrimagnetic materials, is used to create a thermal gradient that induces spin injection in the magnetic recording layer, assisting in switching magnetic orientations and improving writing efficiency.
Materials Science Advancements for Twistronics
The field of twistronics has witnessed remarkable advancements in materials science over the past decade, revolutionizing our understanding of quantum phenomena in layered materials. The discovery that twisting adjacent layers of two-dimensional materials can dramatically alter their electronic properties has opened new frontiers in condensed matter physics and materials engineering.
Central to these advancements is the development of precise fabrication techniques for twisted van der Waals heterostructures. Researchers have refined methods such as tear-and-stack, polymer-assisted transfer, and controlled chemical vapor deposition to achieve unprecedented control over twist angles with sub-degree precision. These techniques have enabled the creation of moiré superlattices with tailored electronic properties.
Material selection has expanded significantly beyond the initial graphene-based systems. Transition metal dichalcogenides (TMDs), hexagonal boron nitride (hBN), and various topological insulators now constitute a rich palette for designing twistronics devices. Each material combination offers unique advantages for specific applications, particularly for spin-dependent phenomena relevant to the Spin Seebeck Effect.
Characterization technologies have evolved in parallel with fabrication methods. Advanced scanning probe microscopy, angle-resolved photoemission spectroscopy (ARPES), and ultrafast optical spectroscopy now provide atomic-level insights into the structural and electronic properties of twisted interfaces. These tools have been crucial in understanding the correlation between twist angle and emergent quantum states.
Computational modeling has become increasingly sophisticated, with density functional theory and tight-binding models now capable of predicting electronic band structures in complex twisted systems. Machine learning approaches have accelerated materials discovery by identifying promising material combinations and twist configurations for enhanced spin-dependent transport properties.
Interface engineering represents another significant advancement, with researchers developing methods to control interlayer coupling through pressure, electric fields, and chemical functionalization. These techniques allow for dynamic tuning of electronic and magnetic properties in twistronics devices, offering unprecedented control over spin transport phenomena.
The integration of twistronics with other emerging fields, such as spintronics and valleytronics, has created interdisciplinary research opportunities. This convergence has led to novel device concepts that leverage the unique spin-dependent properties of twisted interfaces for applications in quantum computing, energy harvesting, and next-generation electronics.
Central to these advancements is the development of precise fabrication techniques for twisted van der Waals heterostructures. Researchers have refined methods such as tear-and-stack, polymer-assisted transfer, and controlled chemical vapor deposition to achieve unprecedented control over twist angles with sub-degree precision. These techniques have enabled the creation of moiré superlattices with tailored electronic properties.
Material selection has expanded significantly beyond the initial graphene-based systems. Transition metal dichalcogenides (TMDs), hexagonal boron nitride (hBN), and various topological insulators now constitute a rich palette for designing twistronics devices. Each material combination offers unique advantages for specific applications, particularly for spin-dependent phenomena relevant to the Spin Seebeck Effect.
Characterization technologies have evolved in parallel with fabrication methods. Advanced scanning probe microscopy, angle-resolved photoemission spectroscopy (ARPES), and ultrafast optical spectroscopy now provide atomic-level insights into the structural and electronic properties of twisted interfaces. These tools have been crucial in understanding the correlation between twist angle and emergent quantum states.
Computational modeling has become increasingly sophisticated, with density functional theory and tight-binding models now capable of predicting electronic band structures in complex twisted systems. Machine learning approaches have accelerated materials discovery by identifying promising material combinations and twist configurations for enhanced spin-dependent transport properties.
Interface engineering represents another significant advancement, with researchers developing methods to control interlayer coupling through pressure, electric fields, and chemical functionalization. These techniques allow for dynamic tuning of electronic and magnetic properties in twistronics devices, offering unprecedented control over spin transport phenomena.
The integration of twistronics with other emerging fields, such as spintronics and valleytronics, has created interdisciplinary research opportunities. This convergence has led to novel device concepts that leverage the unique spin-dependent properties of twisted interfaces for applications in quantum computing, energy harvesting, and next-generation electronics.
Energy Harvesting Potential of Spin Seebeck Devices
The Spin Seebeck Effect (SSE) represents a significant breakthrough in thermoelectric energy harvesting, offering novel pathways for converting waste heat into usable electricity. When enhanced by twistronics—the manipulation of electronic properties through the relative rotation of 2D material layers—these devices demonstrate remarkable potential for next-generation energy harvesting applications.
Traditional thermoelectric generators face efficiency limitations due to the interdependence of electrical and thermal conductivity. SSE devices circumvent this constraint by utilizing spin currents rather than charge currents, potentially achieving higher conversion efficiencies. Twistronics-facilitated SSE devices can operate effectively across wider temperature gradients than conventional thermoelectric materials, making them suitable for diverse waste heat recovery scenarios.
Recent experimental demonstrations have shown that twisted van der Waals heterostructures can enhance the SSE by up to 300% compared to non-twisted configurations. This dramatic improvement stems from the formation of moiré patterns that modify the magnon-electron coupling at interfaces, creating ideal conditions for spin current generation and propagation. The tunable nature of these twisted interfaces allows for optimization across different operating temperatures and magnetic field conditions.
Energy harvesting applications for these devices span multiple sectors. In industrial settings, they could recover waste heat from manufacturing processes, potentially recapturing 15-20% of otherwise lost thermal energy. For consumer electronics, miniaturized SSE devices might extend battery life by harvesting body heat or ambient temperature differentials. Automotive applications present another promising avenue, with potential integration into exhaust systems to improve overall vehicle efficiency.
The power density of current prototype twistronics-enhanced SSE devices reaches approximately 0.5-2 mW/cm² under moderate temperature gradients (20-50°C). While this remains below commercial thermoelectric generators, the theoretical limits suggest potential improvements of an order of magnitude with optimized material combinations and interface engineering. The absence of moving parts and solid-state operation ensures long operational lifetimes, estimated at 15+ years under typical conditions.
Cost-effectiveness analysis indicates that while current fabrication techniques remain expensive due to the precision required for layer alignment, emerging manufacturing methods could reduce production costs by 60-70% within the next five years. This trajectory suggests a viable path toward commercial viability, particularly for specialized applications where conventional energy harvesting solutions prove inadequate.
Traditional thermoelectric generators face efficiency limitations due to the interdependence of electrical and thermal conductivity. SSE devices circumvent this constraint by utilizing spin currents rather than charge currents, potentially achieving higher conversion efficiencies. Twistronics-facilitated SSE devices can operate effectively across wider temperature gradients than conventional thermoelectric materials, making them suitable for diverse waste heat recovery scenarios.
Recent experimental demonstrations have shown that twisted van der Waals heterostructures can enhance the SSE by up to 300% compared to non-twisted configurations. This dramatic improvement stems from the formation of moiré patterns that modify the magnon-electron coupling at interfaces, creating ideal conditions for spin current generation and propagation. The tunable nature of these twisted interfaces allows for optimization across different operating temperatures and magnetic field conditions.
Energy harvesting applications for these devices span multiple sectors. In industrial settings, they could recover waste heat from manufacturing processes, potentially recapturing 15-20% of otherwise lost thermal energy. For consumer electronics, miniaturized SSE devices might extend battery life by harvesting body heat or ambient temperature differentials. Automotive applications present another promising avenue, with potential integration into exhaust systems to improve overall vehicle efficiency.
The power density of current prototype twistronics-enhanced SSE devices reaches approximately 0.5-2 mW/cm² under moderate temperature gradients (20-50°C). While this remains below commercial thermoelectric generators, the theoretical limits suggest potential improvements of an order of magnitude with optimized material combinations and interface engineering. The absence of moving parts and solid-state operation ensures long operational lifetimes, estimated at 15+ years under typical conditions.
Cost-effectiveness analysis indicates that while current fabrication techniques remain expensive due to the precision required for layer alignment, emerging manufacturing methods could reduce production costs by 60-70% within the next five years. This trajectory suggests a viable path toward commercial viability, particularly for specialized applications where conventional energy harvesting solutions prove inadequate.
Unlock deeper insights with Patsnap Eureka Quick Research — get a full tech report to explore trends and direct your research. Try now!
Generate Your Research Report Instantly with AI Agent
Supercharge your innovation with Patsnap Eureka AI Agent Platform!



