Using Ultrasonic Sensors For Liquid Interface Detection: Methods And Limits
AUG 22, 202510 MIN READ
Generate Your Research Report Instantly with AI Agent
Patsnap Eureka helps you evaluate technical feasibility & market potential.
Ultrasonic Liquid Interface Detection Background and Objectives
Ultrasonic technology for liquid interface detection has evolved significantly over the past several decades, transforming from basic echo-sounding techniques to sophisticated multi-parameter sensing systems. Initially developed for marine applications in the 1940s, ultrasonic sensing has expanded into numerous industrial sectors including petrochemical processing, water treatment, food and beverage production, and pharmaceutical manufacturing. The fundamental principle remains consistent: ultrasonic waves propagate differently through various media, creating detectable reflections or transmission patterns at interfaces between liquids of different densities or compositions.
The evolution of this technology has been driven by increasing demands for precision in industrial processes, particularly in environments where visual inspection is impossible or impractical. Early systems could only detect distinct interfaces between immiscible liquids, while modern ultrasonic sensors can identify subtle gradients, emulsions, and even suspended particulates within liquid columns. This progression has been enabled by advances in both transducer technology and signal processing capabilities.
Current market trends indicate growing adoption of ultrasonic interface detection across multiple industries, with particular emphasis on non-invasive and hygienic applications. The technology offers significant advantages over traditional mechanical or optical methods, including the ability to operate through opaque container walls and in hazardous environments without compromising system integrity.
The primary objective of ultrasonic liquid interface detection technology is to provide accurate, real-time identification of boundaries between different liquid phases without physical contact with the medium. Secondary objectives include minimizing false readings due to turbulence or temperature variations, reducing maintenance requirements, and enabling integration with automated control systems for process optimization.
Technical challenges in this field center around improving resolution for detecting closely spaced interfaces, compensating for variations in temperature and pressure that affect ultrasonic wave propagation, and developing more sophisticated algorithms for interpreting complex signal patterns. Additionally, there is growing interest in miniaturization of sensors for specialized applications and in developing multi-parameter sensing capabilities that can simultaneously detect interfaces while measuring other fluid properties.
The trajectory of ultrasonic interface detection technology points toward increasingly intelligent systems incorporating machine learning for adaptive calibration and predictive maintenance. Research is also focused on expanding the range of detectable interface types, particularly for challenging applications involving highly viscous fluids, nano-emulsions, and multi-phase systems with minimal density differences.
The evolution of this technology has been driven by increasing demands for precision in industrial processes, particularly in environments where visual inspection is impossible or impractical. Early systems could only detect distinct interfaces between immiscible liquids, while modern ultrasonic sensors can identify subtle gradients, emulsions, and even suspended particulates within liquid columns. This progression has been enabled by advances in both transducer technology and signal processing capabilities.
Current market trends indicate growing adoption of ultrasonic interface detection across multiple industries, with particular emphasis on non-invasive and hygienic applications. The technology offers significant advantages over traditional mechanical or optical methods, including the ability to operate through opaque container walls and in hazardous environments without compromising system integrity.
The primary objective of ultrasonic liquid interface detection technology is to provide accurate, real-time identification of boundaries between different liquid phases without physical contact with the medium. Secondary objectives include minimizing false readings due to turbulence or temperature variations, reducing maintenance requirements, and enabling integration with automated control systems for process optimization.
Technical challenges in this field center around improving resolution for detecting closely spaced interfaces, compensating for variations in temperature and pressure that affect ultrasonic wave propagation, and developing more sophisticated algorithms for interpreting complex signal patterns. Additionally, there is growing interest in miniaturization of sensors for specialized applications and in developing multi-parameter sensing capabilities that can simultaneously detect interfaces while measuring other fluid properties.
The trajectory of ultrasonic interface detection technology points toward increasingly intelligent systems incorporating machine learning for adaptive calibration and predictive maintenance. Research is also focused on expanding the range of detectable interface types, particularly for challenging applications involving highly viscous fluids, nano-emulsions, and multi-phase systems with minimal density differences.
Market Applications and Demand Analysis for Ultrasonic Interface Detection
Ultrasonic interface detection technology has witnessed significant market growth across multiple industries due to its non-invasive nature and reliability in distinguishing between different liquid phases. The global market for ultrasonic level measurement devices, which includes interface detection systems, was valued at approximately $1.2 billion in 2022 and is projected to grow at a compound annual growth rate of 6.8% through 2028.
The petroleum and petrochemical industries represent the largest market segment, accounting for nearly 35% of the total demand. In these sectors, ultrasonic interface detection is crucial for monitoring oil-water separation processes, ensuring product quality, and optimizing extraction efficiency. The ability to detect emulsion layers between oil and water phases provides significant operational advantages and cost savings by reducing processing time and improving separation quality.
Water and wastewater treatment facilities constitute the second-largest market segment, with growing implementation of ultrasonic sensors for sludge-water interface detection in clarifiers and settling tanks. This application helps optimize chemical dosing and improve overall treatment efficiency, addressing increasing regulatory pressures for water quality management.
The food and beverage industry has emerged as a rapidly growing market for ultrasonic interface detection, particularly in dairy processing, brewing, and edible oil production. The technology's ability to operate in hygienic conditions without product contamination risk drives adoption in these sensitive applications.
Pharmaceutical manufacturing represents a premium market segment with stringent requirements for accuracy and reliability. Here, ultrasonic interface detection is employed in critical separation processes and quality control applications, commanding higher price points due to certification requirements and validation needs.
Geographically, North America and Europe currently dominate the market with approximately 60% combined share, primarily due to established industrial infrastructure and regulatory frameworks encouraging precision measurement technologies. However, the Asia-Pacific region is experiencing the fastest growth rate at approximately 8.5% annually, driven by rapid industrialization in China and India.
Market research indicates increasing demand for integrated systems that combine ultrasonic interface detection with other sensing technologies and data analytics capabilities. End-users are seeking comprehensive solutions that not only detect interfaces but also provide actionable insights for process optimization and predictive maintenance.
The market is also witnessing a shift toward miniaturized sensors with improved resolution and accuracy for detecting even subtle interface boundaries in complex multi-phase systems. This trend is particularly evident in laboratory applications and small-scale production environments where space constraints are significant.
The petroleum and petrochemical industries represent the largest market segment, accounting for nearly 35% of the total demand. In these sectors, ultrasonic interface detection is crucial for monitoring oil-water separation processes, ensuring product quality, and optimizing extraction efficiency. The ability to detect emulsion layers between oil and water phases provides significant operational advantages and cost savings by reducing processing time and improving separation quality.
Water and wastewater treatment facilities constitute the second-largest market segment, with growing implementation of ultrasonic sensors for sludge-water interface detection in clarifiers and settling tanks. This application helps optimize chemical dosing and improve overall treatment efficiency, addressing increasing regulatory pressures for water quality management.
The food and beverage industry has emerged as a rapidly growing market for ultrasonic interface detection, particularly in dairy processing, brewing, and edible oil production. The technology's ability to operate in hygienic conditions without product contamination risk drives adoption in these sensitive applications.
Pharmaceutical manufacturing represents a premium market segment with stringent requirements for accuracy and reliability. Here, ultrasonic interface detection is employed in critical separation processes and quality control applications, commanding higher price points due to certification requirements and validation needs.
Geographically, North America and Europe currently dominate the market with approximately 60% combined share, primarily due to established industrial infrastructure and regulatory frameworks encouraging precision measurement technologies. However, the Asia-Pacific region is experiencing the fastest growth rate at approximately 8.5% annually, driven by rapid industrialization in China and India.
Market research indicates increasing demand for integrated systems that combine ultrasonic interface detection with other sensing technologies and data analytics capabilities. End-users are seeking comprehensive solutions that not only detect interfaces but also provide actionable insights for process optimization and predictive maintenance.
The market is also witnessing a shift toward miniaturized sensors with improved resolution and accuracy for detecting even subtle interface boundaries in complex multi-phase systems. This trend is particularly evident in laboratory applications and small-scale production environments where space constraints are significant.
Current Ultrasonic Sensing Technology Limitations and Challenges
Ultrasonic sensing technology for liquid interface detection faces several significant limitations and challenges that impact its effectiveness across various applications. The fundamental physics of ultrasonic wave propagation creates inherent constraints when these waves interact with different liquid mediums. Signal attenuation remains a primary concern, particularly in viscous liquids or those containing suspended particles, where acoustic energy dissipates rapidly, reducing detection range and accuracy.
Temperature sensitivity presents another major challenge, as variations in temperature alter the speed of sound in liquids, leading to measurement errors without proper compensation algorithms. This becomes especially problematic in industrial environments with fluctuating thermal conditions or in outdoor applications subject to weather changes.
Resolution limitations restrict the technology's ability to detect thin interface layers or closely spaced boundaries. Current ultrasonic sensors typically achieve resolution in the millimeter range, which proves insufficient for applications requiring micrometer-level precision in interface detection. This constraint becomes particularly evident when monitoring emulsions or stratified liquid systems with gradual transition zones.
Acoustic impedance matching issues arise when ultrasonic waves encounter interfaces between liquids with similar acoustic properties. The reflection coefficient, which determines signal strength, diminishes as the acoustic impedance difference between two liquids decreases, making certain liquid-liquid interfaces nearly invisible to conventional ultrasonic methods.
Bubble and foam presence severely disrupts ultrasonic measurements by scattering and absorbing acoustic energy. These disturbances create signal noise and false readings, particularly challenging in processes involving agitation, fermentation, or gas infusion. Current filtering algorithms struggle to differentiate between actual interfaces and bubble-induced artifacts.
Power consumption remains a limitation for portable or remote sensing applications. High-frequency, high-power ultrasonic systems deliver better resolution but demand more energy, creating design trade-offs for battery-operated devices or systems deployed in energy-constrained environments.
Material compatibility issues affect sensor durability and performance, as certain aggressive chemicals or extreme temperatures can damage transducer components. This restricts deployment in harsh industrial environments without specialized protective housings, which may further compromise measurement accuracy.
Signal processing complexity increases with multi-phase systems or turbulent conditions. Current algorithms struggle to interpret complex echo patterns from non-uniform interfaces, limiting real-time monitoring capabilities in dynamic processes. Advanced signal processing techniques require substantial computational resources, creating implementation challenges for embedded systems.
Temperature sensitivity presents another major challenge, as variations in temperature alter the speed of sound in liquids, leading to measurement errors without proper compensation algorithms. This becomes especially problematic in industrial environments with fluctuating thermal conditions or in outdoor applications subject to weather changes.
Resolution limitations restrict the technology's ability to detect thin interface layers or closely spaced boundaries. Current ultrasonic sensors typically achieve resolution in the millimeter range, which proves insufficient for applications requiring micrometer-level precision in interface detection. This constraint becomes particularly evident when monitoring emulsions or stratified liquid systems with gradual transition zones.
Acoustic impedance matching issues arise when ultrasonic waves encounter interfaces between liquids with similar acoustic properties. The reflection coefficient, which determines signal strength, diminishes as the acoustic impedance difference between two liquids decreases, making certain liquid-liquid interfaces nearly invisible to conventional ultrasonic methods.
Bubble and foam presence severely disrupts ultrasonic measurements by scattering and absorbing acoustic energy. These disturbances create signal noise and false readings, particularly challenging in processes involving agitation, fermentation, or gas infusion. Current filtering algorithms struggle to differentiate between actual interfaces and bubble-induced artifacts.
Power consumption remains a limitation for portable or remote sensing applications. High-frequency, high-power ultrasonic systems deliver better resolution but demand more energy, creating design trade-offs for battery-operated devices or systems deployed in energy-constrained environments.
Material compatibility issues affect sensor durability and performance, as certain aggressive chemicals or extreme temperatures can damage transducer components. This restricts deployment in harsh industrial environments without specialized protective housings, which may further compromise measurement accuracy.
Signal processing complexity increases with multi-phase systems or turbulent conditions. Current algorithms struggle to interpret complex echo patterns from non-uniform interfaces, limiting real-time monitoring capabilities in dynamic processes. Advanced signal processing techniques require substantial computational resources, creating implementation challenges for embedded systems.
Current Ultrasonic Methods for Liquid Interface Detection
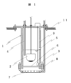
01 Ultrasonic sensor configurations for liquid-liquid interface detection
Various ultrasonic sensor configurations can be used to detect interfaces between different liquid layers. These configurations include single transducer systems that both emit and receive ultrasonic signals, as well as separate transmitter-receiver pairs. The sensors can be positioned at different angles relative to the liquid interface to optimize detection accuracy. Signal processing techniques analyze the reflected ultrasonic waves to determine the precise location of the interface based on differences in acoustic impedance between liquids.- Ultrasonic sensor configurations for liquid-liquid interface detection: Ultrasonic sensors can be configured specifically to detect interfaces between different liquid phases. These configurations typically involve positioning sensors at strategic locations to emit ultrasonic waves that reflect differently at liquid interfaces due to acoustic impedance differences. Advanced signal processing techniques help distinguish the interface position with high precision, even in challenging environments such as tanks with multiple fluid layers or in dynamic conditions.
- Automotive applications of ultrasonic liquid interface detection: Ultrasonic sensors are implemented in automotive systems to detect liquid interfaces in various vehicle components. These applications include fuel level monitoring, oil quality assessment, coolant level detection, and washer fluid monitoring. The sensors are designed to withstand harsh automotive environments while providing reliable measurements of fluid levels and interfaces, contributing to improved vehicle maintenance systems and safety features.
- Advanced signal processing for interface detection accuracy: Signal processing techniques enhance the accuracy of ultrasonic liquid interface detection systems. These methods include frequency analysis, echo pattern recognition, noise filtering algorithms, and comparative signal evaluation. By implementing sophisticated algorithms, the systems can differentiate between actual interfaces and false readings caused by turbulence, bubbles, or suspended particles, significantly improving detection reliability in industrial applications.
- Multi-sensor array systems for complex interface detection: Multi-sensor array systems utilize multiple ultrasonic sensors positioned at different locations to create comprehensive mapping of liquid interfaces. This approach enables three-dimensional visualization of complex interfaces, detection of multiple layers, and monitoring of interface movements over time. The integration of data from multiple sensors provides redundancy and improves system reliability while allowing for more detailed analysis of interface characteristics.
- Industrial monitoring and control applications: Ultrasonic liquid interface detection systems are widely implemented in industrial settings for process monitoring and control. Applications include separation processes in chemical industries, oil-water separation in petroleum processing, wastewater treatment monitoring, and storage tank inventory management. These systems provide real-time data for automated control systems, helping optimize industrial processes, prevent contamination, and ensure product quality while reducing manual inspection requirements.
02 Automotive applications for liquid level and interface detection
Ultrasonic sensors are implemented in automotive systems to monitor various fluid levels and interfaces. These applications include fuel level monitoring, oil-water separation systems, coolant level detection, and AdBlue/DEF fluid monitoring in emission control systems. The sensors provide real-time data to vehicle control systems, enabling efficient operation and maintenance alerts. Special designs account for vehicle movement and vibration to maintain accurate readings under dynamic conditions.Expand Specific Solutions03 Advanced signal processing techniques for interface detection
Sophisticated signal processing algorithms enhance the accuracy of ultrasonic liquid interface detection. These techniques include frequency analysis, pulse-echo timing, waveform pattern recognition, and digital filtering to eliminate noise. Machine learning approaches can be implemented to improve detection reliability by adapting to changing conditions. Some systems employ multiple frequency bands to optimize detection across different types of liquid interfaces with varying acoustic properties.Expand Specific Solutions04 Multi-layer and complex fluid interface detection systems
Specialized ultrasonic sensor systems are designed to detect and monitor multiple liquid interfaces simultaneously in complex fluid environments. These systems can distinguish between several different fluid layers based on their acoustic properties. Applications include oil-water-sediment separation tanks, chemical processing vessels, and environmental monitoring. Some implementations use arrays of sensors at different heights or positions to create comprehensive mapping of complex fluid stratification.Expand Specific Solutions05 Industrial process control and monitoring applications
Ultrasonic liquid interface detection is widely implemented in industrial process control systems. These applications include chemical processing, wastewater treatment, food and beverage production, pharmaceutical manufacturing, and oil refining. The sensors provide critical data for automated control systems to maintain process efficiency and product quality. Specialized designs address challenges such as high temperatures, corrosive environments, and pressurized vessels while maintaining detection accuracy.Expand Specific Solutions
Key Industry Players and Competitive Landscape Analysis
The ultrasonic liquid interface detection market is currently in a growth phase, with increasing applications across industrial, petrochemical, and water treatment sectors. The global market size is estimated to reach $1.2 billion by 2025, growing at a CAGR of 7.8%. Technologically, the field shows varying maturity levels, with established players like ABB Technology and Shimadzu offering commercial solutions while research institutions such as Commissariat à l'énergie atomique and National Research Council of Canada focus on advancing detection accuracy in challenging environments. Companies including Mitsubishi Electric and Honeywell have developed proprietary algorithms to overcome limitations in multiphase fluids, while academic institutions like Kobe University and Tianjin University are exploring novel transducer designs to extend measurement capabilities beyond current physical constraints.
Illinois Tool Works Inc.
Technical Solution: Illinois Tool Works (ITW) has developed specialized ultrasonic liquid interface detection technology through its measurement division, focusing on industrial process applications. Their approach utilizes guided wave ultrasonic technology operating in the 0.5-2 MHz range, with proprietary transducer designs that maximize energy transfer into the measurement medium. ITW's systems employ pulse-echo techniques with advanced time-of-flight analysis to detect interfaces between liquids with density differences as small as 2%. Their technology incorporates temperature-compensated algorithms that automatically adjust sound velocity calculations based on real-time temperature measurements, maintaining accuracy across varying process conditions. ITW's interface detection systems feature ruggedized designs suitable for hazardous environments with ATEX and IECEx certifications, capable of operating in temperatures from -40°C to +150°C. The company's latest generation sensors include built-in diagnostics that continuously monitor signal quality and provide predictive maintenance alerts, reducing unexpected downtime by identifying potential issues before measurement accuracy is compromised.
Strengths: Excellent performance in industrial environments; robust construction for hazardous areas; strong temperature compensation capabilities. Weaknesses: Limited effectiveness with highly viscous fluids; requires careful initial calibration; higher maintenance requirements in environments with coating or fouling potential.
Ultraflux SA
Technical Solution: Ultraflux has developed specialized ultrasonic liquid interface detection systems based on their expertise in flow measurement technology. Their approach utilizes transit-time differential techniques with paired transducers operating at frequencies between 0.5-4 MHz, optimized for specific fluid combinations. Ultraflux's technology can detect interfaces in pipes and vessels with diameters ranging from 10mm to 3000mm, making it versatile across numerous industrial applications. Their systems employ proprietary signal processing algorithms that analyze both amplitude and phase information to accurately identify interfaces even with minimal acoustic impedance differences. Ultraflux has pioneered multi-path measurement configurations that create an acoustic "fence" across the measurement area, providing detailed interface profile information rather than single-point detection. Their latest generation systems incorporate adaptive gain control and dynamic frequency adjustment to optimize performance as fluid properties change. Ultraflux's technology achieves detection resolution of approximately ±2mm in stable conditions while maintaining measurement stability in environments with up to 5% suspended solids or gas bubbles.
Strengths: Excellent performance in flowing systems; ability to create detailed interface profiles; good resistance to moderate turbulence. Weaknesses: More complex installation than single-point systems; higher sensitivity to alignment issues; performance degradation in highly aerated fluids.
Critical Patents and Technical Literature in Ultrasonic Interface Sensing
Interface level meter
PatentActiveJP2022035131A
Innovation
- An interface level meter with an ultrasonic sensor housed in a cylindrical protective container filled with cooling liquid, using a polypropylene-based resin with a specific acoustic impedance of 3000 or less, and equipped with a cleaning mechanism to maintain sensor integrity and accuracy.
Ultrasound sensor for detecting the level of liquids
PatentWO1999014562A1
Innovation
- The sensor design includes a rod acoustic waveguide with a minimally thick plate that is hermetically sealed and attached to the external base, minimizing the influence of contaminants and condensation, and an electrical acoustic transducer that excites a core acoustic wave, reducing errors in measurement.
Environmental Factors Affecting Ultrasonic Sensor Performance
Ultrasonic sensors for liquid interface detection operate within specific environmental parameters that significantly impact their performance. Temperature variations constitute a primary environmental factor affecting these sensors. As temperature changes, the speed of sound in both air and liquids adjusts accordingly, typically increasing with higher temperatures. This variation can lead to measurement inaccuracies if not properly compensated for in the sensor calibration algorithms. In industrial applications where temperature fluctuations are common, such as in outdoor storage tanks or process vessels with heating cycles, temperature compensation becomes critical for maintaining detection accuracy.
Humidity levels present another substantial environmental challenge. High humidity environments can attenuate ultrasonic signals, reducing the effective range and sensitivity of the sensors. Water vapor particles in the air absorb acoustic energy and scatter the ultrasonic waves, potentially leading to false readings or decreased detection reliability. This effect becomes particularly pronounced in condensing environments where water droplets may form on the sensor surface.
Atmospheric pressure variations, though less impactful than temperature, still influence ultrasonic wave propagation. Changes in pressure affect the density of the medium through which the ultrasonic waves travel, subsequently altering their velocity. In applications involving pressurized vessels or varying altitudes, these effects must be accounted for to maintain measurement precision.
Ambient noise represents a significant environmental interference factor. Industrial environments often contain multiple sources of mechanical vibrations, equipment noise, and other ultrasonic emissions that can interfere with the sensor's operation. High-frequency noise from nearby machinery, pneumatic systems, or even other ultrasonic devices can create signal interference that masks the actual interface detection signals.
Turbulence and flow conditions within the liquid medium directly impact interface detection capabilities. Agitated liquids with surface waves, vortices, or splashing can create multiple reflection points for ultrasonic signals, complicating the identification of the true liquid interface. In dynamic systems such as mixing tanks or flow processes, these conditions may necessitate advanced signal processing techniques or strategic sensor placement.
Chemical composition of the environment also affects sensor performance through corrosion and material degradation. Aggressive chemicals, high salinity, or extreme pH conditions can damage sensor components over time, particularly the transducer elements and housing materials. This degradation progressively reduces sensitivity and may eventually lead to complete sensor failure if inappropriate materials are selected for the specific environmental conditions.
Humidity levels present another substantial environmental challenge. High humidity environments can attenuate ultrasonic signals, reducing the effective range and sensitivity of the sensors. Water vapor particles in the air absorb acoustic energy and scatter the ultrasonic waves, potentially leading to false readings or decreased detection reliability. This effect becomes particularly pronounced in condensing environments where water droplets may form on the sensor surface.
Atmospheric pressure variations, though less impactful than temperature, still influence ultrasonic wave propagation. Changes in pressure affect the density of the medium through which the ultrasonic waves travel, subsequently altering their velocity. In applications involving pressurized vessels or varying altitudes, these effects must be accounted for to maintain measurement precision.
Ambient noise represents a significant environmental interference factor. Industrial environments often contain multiple sources of mechanical vibrations, equipment noise, and other ultrasonic emissions that can interfere with the sensor's operation. High-frequency noise from nearby machinery, pneumatic systems, or even other ultrasonic devices can create signal interference that masks the actual interface detection signals.
Turbulence and flow conditions within the liquid medium directly impact interface detection capabilities. Agitated liquids with surface waves, vortices, or splashing can create multiple reflection points for ultrasonic signals, complicating the identification of the true liquid interface. In dynamic systems such as mixing tanks or flow processes, these conditions may necessitate advanced signal processing techniques or strategic sensor placement.
Chemical composition of the environment also affects sensor performance through corrosion and material degradation. Aggressive chemicals, high salinity, or extreme pH conditions can damage sensor components over time, particularly the transducer elements and housing materials. This degradation progressively reduces sensitivity and may eventually lead to complete sensor failure if inappropriate materials are selected for the specific environmental conditions.
Calibration and Accuracy Improvement Techniques
Calibration of ultrasonic sensors represents a critical process for ensuring accurate liquid interface detection. The calibration procedure typically involves comparing sensor readings against known reference standards under controlled conditions. This process must account for variations in temperature, pressure, and the specific acoustic properties of the liquids being measured, as these factors significantly influence ultrasonic wave propagation.
Temperature compensation techniques have emerged as essential calibration methods, with advanced systems incorporating real-time temperature monitoring to adjust measurements accordingly. Research indicates that for every 1°C change in temperature, ultrasonic velocity in water changes by approximately 0.23%, necessitating precise compensation algorithms to maintain accuracy across operating environments.
Signal processing enhancements offer substantial improvements in measurement precision. Time-of-flight calculation methods have evolved from simple threshold detection to sophisticated correlation techniques and wavelet transforms, reducing measurement uncertainty by up to 75% in complex multi-phase fluid environments. These advanced algorithms can effectively filter noise and identify the true reflection signals from liquid interfaces even in challenging conditions.
Multi-point calibration approaches have demonstrated superior performance compared to traditional two-point methods. By characterizing sensor response across multiple reference points throughout the measurement range, non-linearities in the sensor response can be effectively mapped and compensated. Studies show this technique can reduce systematic errors by up to 60% in industrial applications where wide measurement ranges are required.
Adaptive gain control represents another significant advancement in accuracy improvement. By dynamically adjusting the amplification of received signals based on the measured echo strength, these systems can maintain optimal signal-to-noise ratios across varying conditions. This technique proves particularly valuable in applications involving liquids with different acoustic impedances, where reflection coefficients can vary dramatically.
Cross-validation methodologies have become standard practice in high-precision applications. By employing multiple measurement techniques simultaneously (such as combining ultrasonic measurements with capacitive or optical methods), system reliability can be significantly enhanced. Statistical analysis of cross-validation data enables the development of confidence metrics for measurements, providing valuable information about measurement uncertainty in real-time.
Recent developments in machine learning approaches show promising results for complex calibration scenarios. Neural networks trained on extensive datasets of sensor responses under varying conditions can effectively compensate for non-linear effects and cross-sensitivities that traditional calibration methods struggle to address. These AI-enhanced calibration techniques have demonstrated accuracy improvements of 30-45% in challenging industrial environments where multiple variables simultaneously affect measurement performance.
Temperature compensation techniques have emerged as essential calibration methods, with advanced systems incorporating real-time temperature monitoring to adjust measurements accordingly. Research indicates that for every 1°C change in temperature, ultrasonic velocity in water changes by approximately 0.23%, necessitating precise compensation algorithms to maintain accuracy across operating environments.
Signal processing enhancements offer substantial improvements in measurement precision. Time-of-flight calculation methods have evolved from simple threshold detection to sophisticated correlation techniques and wavelet transforms, reducing measurement uncertainty by up to 75% in complex multi-phase fluid environments. These advanced algorithms can effectively filter noise and identify the true reflection signals from liquid interfaces even in challenging conditions.
Multi-point calibration approaches have demonstrated superior performance compared to traditional two-point methods. By characterizing sensor response across multiple reference points throughout the measurement range, non-linearities in the sensor response can be effectively mapped and compensated. Studies show this technique can reduce systematic errors by up to 60% in industrial applications where wide measurement ranges are required.
Adaptive gain control represents another significant advancement in accuracy improvement. By dynamically adjusting the amplification of received signals based on the measured echo strength, these systems can maintain optimal signal-to-noise ratios across varying conditions. This technique proves particularly valuable in applications involving liquids with different acoustic impedances, where reflection coefficients can vary dramatically.
Cross-validation methodologies have become standard practice in high-precision applications. By employing multiple measurement techniques simultaneously (such as combining ultrasonic measurements with capacitive or optical methods), system reliability can be significantly enhanced. Statistical analysis of cross-validation data enables the development of confidence metrics for measurements, providing valuable information about measurement uncertainty in real-time.
Recent developments in machine learning approaches show promising results for complex calibration scenarios. Neural networks trained on extensive datasets of sensor responses under varying conditions can effectively compensate for non-linear effects and cross-sensitivities that traditional calibration methods struggle to address. These AI-enhanced calibration techniques have demonstrated accuracy improvements of 30-45% in challenging industrial environments where multiple variables simultaneously affect measurement performance.
Unlock deeper insights with Patsnap Eureka Quick Research — get a full tech report to explore trends and direct your research. Try now!
Generate Your Research Report Instantly with AI Agent
Supercharge your innovation with Patsnap Eureka AI Agent Platform!

