Analysis of Market Demand for Self-Powered Sensor Solutions
OCT 21, 20259 MIN READ
Generate Your Research Report Instantly with AI Agent
Patsnap Eureka helps you evaluate technical feasibility & market potential.
Self-Powered Sensor Technology Background and Objectives
Self-powered sensor technology has evolved significantly over the past two decades, transitioning from laboratory curiosities to commercially viable solutions. The fundamental concept dates back to the discovery of piezoelectric effects in the late 19th century, but practical applications in sensing technologies emerged primarily in the early 2000s with advancements in energy harvesting techniques and low-power electronics.
The technological progression has been driven by three key factors: miniaturization of electronic components, improvements in energy harvesting efficiency, and the development of ultra-low-power microcontrollers. These advancements have enabled sensors to operate with minimal energy requirements, making self-powering increasingly feasible across diverse applications.
Recent breakthroughs in materials science have further accelerated development, particularly in thermoelectric, piezoelectric, and photovoltaic materials that can generate electricity from ambient environmental conditions. The integration of these materials with modern sensor platforms represents a significant technological leap forward, enabling persistent sensing without traditional battery constraints.
The primary objective of self-powered sensor technology is to create autonomous sensing systems that can operate indefinitely without battery replacement or external power sources. This goal addresses critical limitations in conventional sensor deployments, particularly in remote, hazardous, or inaccessible locations where maintenance is challenging or impossible.
Secondary objectives include reducing the environmental impact of battery disposal, minimizing maintenance costs for large-scale sensor networks, and enabling new applications in previously impractical scenarios. The technology aims to support the exponential growth of IoT deployments by removing power constraints as a limiting factor.
Current technological trends point toward hybrid energy harvesting approaches that combine multiple sources (vibration, light, thermal gradients) to ensure reliable operation across varying environmental conditions. Additionally, there is growing emphasis on developing intelligent power management systems that can dynamically adjust sensor operation based on available energy.
The convergence of self-powered sensors with edge computing capabilities represents another significant trend, allowing for local data processing that reduces transmission power requirements while increasing system intelligence. This evolution toward "smart" self-powered sensors is expected to continue, with increasing integration of artificial intelligence for optimized energy utilization.
Looking forward, the field is moving toward complete system-on-chip solutions that integrate sensing, energy harvesting, power management, and communication in increasingly compact form factors. The ultimate technological goal remains the development of "deploy and forget" sensing solutions that can operate autonomously for decades without human intervention.
The technological progression has been driven by three key factors: miniaturization of electronic components, improvements in energy harvesting efficiency, and the development of ultra-low-power microcontrollers. These advancements have enabled sensors to operate with minimal energy requirements, making self-powering increasingly feasible across diverse applications.
Recent breakthroughs in materials science have further accelerated development, particularly in thermoelectric, piezoelectric, and photovoltaic materials that can generate electricity from ambient environmental conditions. The integration of these materials with modern sensor platforms represents a significant technological leap forward, enabling persistent sensing without traditional battery constraints.
The primary objective of self-powered sensor technology is to create autonomous sensing systems that can operate indefinitely without battery replacement or external power sources. This goal addresses critical limitations in conventional sensor deployments, particularly in remote, hazardous, or inaccessible locations where maintenance is challenging or impossible.
Secondary objectives include reducing the environmental impact of battery disposal, minimizing maintenance costs for large-scale sensor networks, and enabling new applications in previously impractical scenarios. The technology aims to support the exponential growth of IoT deployments by removing power constraints as a limiting factor.
Current technological trends point toward hybrid energy harvesting approaches that combine multiple sources (vibration, light, thermal gradients) to ensure reliable operation across varying environmental conditions. Additionally, there is growing emphasis on developing intelligent power management systems that can dynamically adjust sensor operation based on available energy.
The convergence of self-powered sensors with edge computing capabilities represents another significant trend, allowing for local data processing that reduces transmission power requirements while increasing system intelligence. This evolution toward "smart" self-powered sensors is expected to continue, with increasing integration of artificial intelligence for optimized energy utilization.
Looking forward, the field is moving toward complete system-on-chip solutions that integrate sensing, energy harvesting, power management, and communication in increasingly compact form factors. The ultimate technological goal remains the development of "deploy and forget" sensing solutions that can operate autonomously for decades without human intervention.
Market Demand Analysis for Energy Autonomous Sensors
The global market for energy autonomous sensors is experiencing unprecedented growth, driven by the convergence of IoT expansion, industrial automation, and sustainability initiatives. Current market valuations place this sector at approximately $2.5 billion in 2023, with projections indicating a compound annual growth rate of 19.7% through 2030, potentially reaching $8.9 billion by the end of the decade. This remarkable trajectory is supported by increasing demand across multiple vertical markets including industrial monitoring, smart buildings, agriculture, healthcare, and consumer electronics.
Industrial applications represent the largest market segment, accounting for roughly 38% of current demand. Manufacturing facilities are increasingly deploying self-powered sensor networks to monitor equipment performance, predict maintenance needs, and optimize energy consumption without the limitations of wired power or battery replacement schedules. The cost savings from predictive maintenance alone has been documented to reduce downtime by up to 45% in early adopting facilities.
Smart building applications follow closely, comprising approximately 27% of market demand. Energy harvesting sensors for occupancy detection, climate control, and structural health monitoring are becoming standard components in new construction projects, with retrofit installations growing at 24% annually. The value proposition centers on both operational efficiency and enhanced occupant comfort, with documented energy savings of 15-30% in buildings utilizing comprehensive sensor networks.
Consumer demand is emerging as the fastest-growing segment at 32% annual growth, albeit from a smaller base. Wearable technology, smart home devices, and personal health monitoring systems increasingly incorporate energy autonomous sensors to extend functionality and eliminate charging requirements. This segment is particularly sensitive to form factor and cost considerations, driving innovation in miniaturization and manufacturing efficiency.
Regional analysis reveals North America and Europe currently dominating market share at 34% and 31% respectively, though Asia-Pacific demonstrates the highest growth rate at 23% annually. China, South Korea, and Japan are making substantial investments in both manufacturing capacity and R&D initiatives focused on self-powered sensing technologies.
Customer requirements analysis indicates five primary demand drivers: extended operational lifetime, reduced maintenance costs, deployment flexibility, environmental sustainability, and system reliability. Energy autonomous solutions directly address these pain points by eliminating battery replacement cycles, enabling installation in previously inaccessible locations, reducing electronic waste, and providing consistent performance in challenging environments.
Market barriers include current cost premiums of 30-40% compared to traditional battery-powered alternatives, technical limitations in energy harvesting efficiency, and integration challenges with existing systems. However, these barriers are steadily eroding as manufacturing scales and technological advances improve performance metrics.
Industrial applications represent the largest market segment, accounting for roughly 38% of current demand. Manufacturing facilities are increasingly deploying self-powered sensor networks to monitor equipment performance, predict maintenance needs, and optimize energy consumption without the limitations of wired power or battery replacement schedules. The cost savings from predictive maintenance alone has been documented to reduce downtime by up to 45% in early adopting facilities.
Smart building applications follow closely, comprising approximately 27% of market demand. Energy harvesting sensors for occupancy detection, climate control, and structural health monitoring are becoming standard components in new construction projects, with retrofit installations growing at 24% annually. The value proposition centers on both operational efficiency and enhanced occupant comfort, with documented energy savings of 15-30% in buildings utilizing comprehensive sensor networks.
Consumer demand is emerging as the fastest-growing segment at 32% annual growth, albeit from a smaller base. Wearable technology, smart home devices, and personal health monitoring systems increasingly incorporate energy autonomous sensors to extend functionality and eliminate charging requirements. This segment is particularly sensitive to form factor and cost considerations, driving innovation in miniaturization and manufacturing efficiency.
Regional analysis reveals North America and Europe currently dominating market share at 34% and 31% respectively, though Asia-Pacific demonstrates the highest growth rate at 23% annually. China, South Korea, and Japan are making substantial investments in both manufacturing capacity and R&D initiatives focused on self-powered sensing technologies.
Customer requirements analysis indicates five primary demand drivers: extended operational lifetime, reduced maintenance costs, deployment flexibility, environmental sustainability, and system reliability. Energy autonomous solutions directly address these pain points by eliminating battery replacement cycles, enabling installation in previously inaccessible locations, reducing electronic waste, and providing consistent performance in challenging environments.
Market barriers include current cost premiums of 30-40% compared to traditional battery-powered alternatives, technical limitations in energy harvesting efficiency, and integration challenges with existing systems. However, these barriers are steadily eroding as manufacturing scales and technological advances improve performance metrics.
Current State and Technical Challenges in Self-Powered Sensing
Self-powered sensing technology has witnessed significant advancements globally, with research institutions and companies across North America, Europe, and Asia-Pacific regions making substantial contributions. The current technological landscape reveals varying levels of maturity across different self-powered sensing mechanisms. Energy harvesting technologies such as piezoelectric, triboelectric, thermoelectric, and photovoltaic have reached commercial viability for specific applications, while newer approaches like RF energy harvesting and biofuel cells remain predominantly in research phases.
Despite progress, several critical technical challenges persist in self-powered sensor development. Power generation capacity represents the foremost limitation, as most energy harvesting mechanisms produce only microwatts to milliwatts of power, insufficient for many sensing applications requiring continuous operation. Energy storage integration presents another significant hurdle, with current battery and supercapacitor technologies often compromising the size and longevity advantages of self-powered systems.
Miniaturization constraints further complicate development, as reducing form factors while maintaining adequate power generation capabilities involves complex engineering tradeoffs. Environmental adaptability remains problematic, with many harvesting technologies showing high sensitivity to ambient conditions, resulting in unpredictable power output in real-world deployments. Additionally, the manufacturing scalability of these technologies presents challenges, with many advanced materials and fabrication processes not yet optimized for mass production.
System-level integration represents another substantial obstacle, as combining sensing elements, power management circuits, and communication modules into cohesive, reliable packages requires sophisticated design approaches. The cost factor cannot be overlooked, with current self-powered solutions generally commanding premium prices compared to traditional battery-powered alternatives, limiting widespread adoption.
Standardization issues further complicate the landscape, with the absence of unified protocols and interfaces hindering interoperability across different self-powered sensing platforms. Reliability and longevity concerns persist, particularly regarding degradation mechanisms in energy harvesting materials and components over extended deployment periods.
Recent technological breakthroughs offer promising pathways forward, including hybrid energy harvesting approaches that combine multiple mechanisms to enhance power reliability, ultra-low-power electronics that dramatically reduce consumption requirements, and advanced materials engineering yielding higher conversion efficiencies. Machine learning integration for adaptive power management represents another frontier, potentially enabling systems to optimize their operation based on available energy and application priorities.
Despite progress, several critical technical challenges persist in self-powered sensor development. Power generation capacity represents the foremost limitation, as most energy harvesting mechanisms produce only microwatts to milliwatts of power, insufficient for many sensing applications requiring continuous operation. Energy storage integration presents another significant hurdle, with current battery and supercapacitor technologies often compromising the size and longevity advantages of self-powered systems.
Miniaturization constraints further complicate development, as reducing form factors while maintaining adequate power generation capabilities involves complex engineering tradeoffs. Environmental adaptability remains problematic, with many harvesting technologies showing high sensitivity to ambient conditions, resulting in unpredictable power output in real-world deployments. Additionally, the manufacturing scalability of these technologies presents challenges, with many advanced materials and fabrication processes not yet optimized for mass production.
System-level integration represents another substantial obstacle, as combining sensing elements, power management circuits, and communication modules into cohesive, reliable packages requires sophisticated design approaches. The cost factor cannot be overlooked, with current self-powered solutions generally commanding premium prices compared to traditional battery-powered alternatives, limiting widespread adoption.
Standardization issues further complicate the landscape, with the absence of unified protocols and interfaces hindering interoperability across different self-powered sensing platforms. Reliability and longevity concerns persist, particularly regarding degradation mechanisms in energy harvesting materials and components over extended deployment periods.
Recent technological breakthroughs offer promising pathways forward, including hybrid energy harvesting approaches that combine multiple mechanisms to enhance power reliability, ultra-low-power electronics that dramatically reduce consumption requirements, and advanced materials engineering yielding higher conversion efficiencies. Machine learning integration for adaptive power management represents another frontier, potentially enabling systems to optimize their operation based on available energy and application priorities.
Current Technical Solutions for Energy Autonomous Sensing
01 Energy harvesting mechanisms for self-powered sensors
Various energy harvesting mechanisms can be employed to power sensors without external power sources. These include piezoelectric, thermoelectric, and electromagnetic energy harvesting techniques that convert ambient energy (mechanical vibrations, temperature gradients, or electromagnetic waves) into electrical energy to power sensor operations. These self-sustaining power solutions enable sensors to operate in remote or inaccessible locations without battery replacement.- Energy harvesting mechanisms for self-powered sensors: Various energy harvesting mechanisms can be employed to power sensors autonomously. These include piezoelectric elements that convert mechanical vibrations into electrical energy, photovoltaic cells that harvest solar energy, thermoelectric generators that utilize temperature differentials, and electromagnetic induction systems. These energy harvesting technologies enable sensors to operate without external power sources, making them suitable for remote or inaccessible locations.
- Wireless self-powered sensor networks: Self-powered sensors can be integrated into wireless sensor networks for various applications. These networks utilize energy-efficient communication protocols to transmit data while minimizing power consumption. The sensors can form mesh networks that enable distributed sensing and data collection across large areas. Such wireless self-powered sensor networks are particularly valuable for environmental monitoring, structural health monitoring, and industrial automation applications.
- Power management systems for self-powered sensors: Efficient power management is crucial for self-powered sensors to operate reliably. These systems include energy storage elements like supercapacitors or thin-film batteries, power conditioning circuits that regulate voltage and current, and intelligent power distribution algorithms. Advanced power management systems can implement sleep modes, duty cycling, and adaptive sampling rates to optimize energy usage based on application requirements and available energy.
- MEMS-based self-powered sensing devices: Microelectromechanical systems (MEMS) technology enables the development of miniaturized self-powered sensors. These devices integrate sensing elements, energy harvesters, and signal processing circuits on a single chip. MEMS-based self-powered sensors can detect various physical parameters such as acceleration, pressure, temperature, and chemical composition. Their small form factor and low power consumption make them ideal for wearable devices, implantable medical sensors, and IoT applications.
- Self-powered sensors for environmental and structural monitoring: Self-powered sensors are particularly valuable for long-term environmental and structural monitoring applications. These sensors can be deployed in remote locations to monitor parameters such as temperature, humidity, air quality, and structural integrity without requiring battery replacement or external power sources. They can be designed to withstand harsh environmental conditions and operate reliably for extended periods, making them suitable for applications in civil infrastructure, agriculture, and natural resource management.
02 Wireless self-powered sensor networks
Self-powered sensors can be integrated into wireless sensor networks that collect and transmit data without requiring external power connections. These networks utilize energy-efficient communication protocols and power management strategies to optimize the limited energy available from harvesting mechanisms. Applications include environmental monitoring, structural health monitoring, and industrial automation where wired power is impractical.Expand Specific Solutions03 Triboelectric nanogenerators for sensor power
Triboelectric nanogenerators (TENGs) represent an emerging technology for self-powered sensors that generate electricity through contact electrification and electrostatic induction. These devices can harvest mechanical energy from human motion, vibration, or fluid flow to power various types of sensors. The technology enables wearable electronics, health monitoring devices, and IoT applications with sustainable power sources.Expand Specific Solutions04 Integrated power management systems
Advanced power management systems are crucial for optimizing the performance of self-powered sensors. These systems include energy storage components (supercapacitors or thin-film batteries), power conditioning circuits, and intelligent control algorithms that balance energy harvesting, storage, and consumption. Such integration ensures reliable sensor operation even when energy harvesting conditions are intermittent or variable.Expand Specific Solutions05 Application-specific self-powered sensor designs
Self-powered sensors are being designed for specific applications with customized energy harvesting mechanisms. These include automotive sensors powered by vehicle vibrations, structural monitoring sensors powered by building movements, medical implants powered by body heat or motion, and environmental sensors powered by solar energy. The application-specific approach optimizes both the sensing capabilities and power requirements for each use case.Expand Specific Solutions
Key Industry Players in Self-Powered Sensor Ecosystem
The self-powered sensor solutions market is currently in a growth phase, with increasing demand driven by IoT expansion and sustainability requirements. The market is projected to reach significant scale as industries seek energy-efficient monitoring solutions. Technology maturity varies across applications, with companies demonstrating different levels of specialization. EnOcean GmbH leads with established energy harvesting technologies, while Gentle Energy Corp. focuses on innovative AI-driven solutions. Traditional players like Eaton Corp. and Honeywell are leveraging their market presence to integrate self-powered technologies. Academic institutions including Beijing Institute of Nanoenergy & Nanosystems and Zhejiang University are advancing fundamental research, while State Grid Corp. of China represents potential large-scale implementation opportunities in utility infrastructure.
Pepperl+Fuchs, Inc.
Technical Solution: Pepperl+Fuchs has developed innovative self-powered sensor solutions specifically designed for industrial automation and hazardous environments. Their technology focuses on electromagnetic induction and solar energy harvesting to power sensors in explosive atmospheres where conventional power sources pose safety risks. Their WirelessHART product line features self-powered sensors that harvest energy from process heat in industrial settings, enabling wireless monitoring without batteries in hazardous locations. These sensors operate in Class I, Division 1 and ATEX/IECEx Zone 0/1 environments with intrinsically safe designs. Pepperl+Fuchs' solutions incorporate power-efficient wireless protocols with transmission ranges up to 250 meters and mesh networking capabilities for reliable communication in complex industrial environments. Their sensors feature ultra-low power consumption (typically <100μW in sleep mode) with intelligent power management that adjusts sampling rates based on available energy. The company has implemented these solutions in oil and gas facilities, chemical plants, and pharmaceutical manufacturing, where they monitor critical parameters like pressure, temperature, and flow without requiring external power infrastructure[6][8]. Their technology enables "fit and forget" installation in locations previously impossible to monitor due to power constraints.
Strengths: Intrinsically safe design for hazardous locations; ruggedized construction for extreme industrial environments; compatibility with industry-standard protocols (HART, PROFIBUS); long-term reliability with documented field performance. Weaknesses: Limited to specific industrial applications; higher cost compared to consumer solutions; energy harvesting efficiency dependent on specific environmental conditions; requires specialized expertise for installation and configuration.
Gentle Energy Corp.
Technical Solution: Gentle Energy Corporation has developed proprietary piezoelectric energy harvesting technology for self-powered sensor solutions. Their approach utilizes advanced piezoelectric materials that convert mechanical stress, vibration, and strain into electrical energy with high efficiency. Gentle Energy's self-powered sensors incorporate specialized piezoelectric crystals with energy conversion efficiencies reaching 70-80% under optimal conditions. Their technology features ultra-low-power microcontrollers that operate on harvested energy as low as 10μW, enabling continuous operation from ambient vibrations in industrial machinery, vehicles, and infrastructure. The company's sensors include integrated energy storage using supercapacitors that provide power during periods of low energy availability. Gentle Energy has demonstrated applications in predictive maintenance for industrial equipment, structural health monitoring for civil infrastructure, and vehicle health monitoring systems. Their wireless communication protocol operates in the 2.4GHz band with proprietary power-saving algorithms that adjust transmission frequency based on available energy and data priority[9][10]. The company has successfully deployed self-powered sensor networks in manufacturing facilities, bridges, and commercial vehicle fleets, demonstrating operational lifespans exceeding 10 years without maintenance.
Strengths: High energy conversion efficiency from mechanical vibration sources; compact form factor suitable for space-constrained applications; proven long-term reliability in field deployments; sophisticated power management for operation in variable energy environments. Weaknesses: Performance highly dependent on consistent vibration sources; limited applicability in static environments; higher initial cost compared to conventional sensors; proprietary communication protocols may limit integration with third-party systems.
Core Patents and Innovations in Energy Harvesting
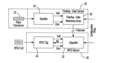
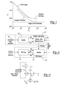
Self-powered sensor system
PatentActiveUS9762150B2
Innovation
- A self-powered sensor system that utilizes a piezoelectric power source to generate power based on vibrations, a charge management circuit to control data transmission rates, and a processor to identify changes in vibration profiles without requiring separate vibration sensing devices, thereby detecting variations in mechanical properties of equipment.
Self-powered sensor
PatentActiveUS8056420B2
Innovation
- A self-powered sensor system utilizing a piezoelectric transducer, a non-volatile memory with floating gate transistors, and a current reference circuit that operates in weak-inversion mode, allowing for energy harvesting and efficient storage and computation, while maintaining low power dissipation.
Sustainability Impact and Environmental Benefits
Self-powered sensor solutions represent a significant advancement in sustainable technology, offering substantial environmental benefits across multiple dimensions. These autonomous sensing systems eliminate the need for traditional battery replacements, thereby reducing electronic waste generation that would otherwise contribute to landfill accumulation and potential toxic material leaching into ecosystems.
The environmental impact extends beyond waste reduction to include significant carbon footprint minimization. By harvesting ambient energy from sources such as vibration, temperature differentials, light, or RF signals, self-powered sensors eliminate the emissions associated with battery manufacturing, transportation, and disposal processes. Research indicates that widespread adoption of self-powered sensing technology could reduce IoT-related battery waste by up to 78% over a five-year deployment period.
Energy conservation represents another critical sustainability benefit. Traditional battery-powered sensor networks often require energy-intensive maintenance operations, including vehicle deployments for battery replacement in remote locations. Self-powered alternatives eliminate these maintenance requirements, resulting in substantial energy savings throughout the system lifecycle. Case studies from industrial implementations demonstrate energy savings of 40-60% compared to conventional battery-powered sensor networks.
Material resource conservation further enhances the sustainability profile of these solutions. Self-powered sensors typically utilize smaller quantities of rare earth elements and precious metals compared to disposable battery systems. This reduced material intensity alleviates pressure on mining operations and their associated environmental impacts, including habitat destruction, water pollution, and energy-intensive extraction processes.
From a circular economy perspective, self-powered sensor solutions align perfectly with sustainability principles by extending product lifecycles and reducing resource consumption. Their design philosophy emphasizes longevity and minimal maintenance, creating systems that can operate continuously for years or even decades without component replacement. This extended operational lifespan represents a fundamental shift from the consumption-based model of disposable electronics toward truly sustainable sensing infrastructure.
The cumulative environmental benefits of self-powered sensor technology position it as a cornerstone of sustainable IoT development, offering a path to expand sensing capabilities while simultaneously reducing environmental impact. As climate concerns intensify globally, these solutions provide a tangible demonstration of how technological innovation can address both performance requirements and environmental imperatives simultaneously.
The environmental impact extends beyond waste reduction to include significant carbon footprint minimization. By harvesting ambient energy from sources such as vibration, temperature differentials, light, or RF signals, self-powered sensors eliminate the emissions associated with battery manufacturing, transportation, and disposal processes. Research indicates that widespread adoption of self-powered sensing technology could reduce IoT-related battery waste by up to 78% over a five-year deployment period.
Energy conservation represents another critical sustainability benefit. Traditional battery-powered sensor networks often require energy-intensive maintenance operations, including vehicle deployments for battery replacement in remote locations. Self-powered alternatives eliminate these maintenance requirements, resulting in substantial energy savings throughout the system lifecycle. Case studies from industrial implementations demonstrate energy savings of 40-60% compared to conventional battery-powered sensor networks.
Material resource conservation further enhances the sustainability profile of these solutions. Self-powered sensors typically utilize smaller quantities of rare earth elements and precious metals compared to disposable battery systems. This reduced material intensity alleviates pressure on mining operations and their associated environmental impacts, including habitat destruction, water pollution, and energy-intensive extraction processes.
From a circular economy perspective, self-powered sensor solutions align perfectly with sustainability principles by extending product lifecycles and reducing resource consumption. Their design philosophy emphasizes longevity and minimal maintenance, creating systems that can operate continuously for years or even decades without component replacement. This extended operational lifespan represents a fundamental shift from the consumption-based model of disposable electronics toward truly sustainable sensing infrastructure.
The cumulative environmental benefits of self-powered sensor technology position it as a cornerstone of sustainable IoT development, offering a path to expand sensing capabilities while simultaneously reducing environmental impact. As climate concerns intensify globally, these solutions provide a tangible demonstration of how technological innovation can address both performance requirements and environmental imperatives simultaneously.
Standardization and Interoperability Challenges
The standardization landscape for self-powered sensor solutions remains fragmented, presenting significant challenges for market adoption and integration. Currently, multiple proprietary protocols and interfaces exist across different manufacturers, creating compatibility issues when attempting to implement comprehensive IoT systems. This lack of unified standards impedes interoperability between self-powered sensors from different vendors, forcing organizations to either commit to single-vendor ecosystems or develop costly custom integration solutions.
Energy harvesting mechanisms employed in self-powered sensors further complicate standardization efforts. Various harvesting technologies—including photovoltaic, piezoelectric, thermoelectric, and RF energy harvesting—each operate under different parameters and efficiency metrics. The absence of standardized testing methodologies for energy harvesting performance makes it difficult for end-users to compare solutions objectively or predict real-world performance across varying environmental conditions.
Data format inconsistencies represent another critical interoperability challenge. Self-powered sensors utilize diverse data structures, transmission protocols, and encryption methods, creating significant barriers to seamless data integration. This heterogeneity increases implementation complexity and raises costs associated with data normalization and system integration, particularly for large-scale deployments spanning multiple facilities or geographical locations.
Communication protocol fragmentation further exacerbates interoperability issues. While low-power wireless standards like Bluetooth LE, Zigbee, and LoRaWAN have gained traction, self-powered sensor manufacturers often implement proprietary modifications to optimize power consumption, compromising cross-vendor compatibility. The trade-offs between power efficiency and adherence to standardized protocols remain a persistent challenge for the industry.
Security standards for self-powered sensors also lack uniformity, creating vulnerabilities in IoT ecosystems. The constrained power budgets of these devices often limit the implementation of robust security measures, resulting in inconsistent encryption practices and authentication mechanisms across different solutions. This security fragmentation increases exposure to potential breaches and complicates compliance with data protection regulations.
Industry consortia such as the Industrial Internet Consortium and the LoRa Alliance are working toward establishing common frameworks, but progress remains slow due to competing commercial interests and technical challenges. The development of comprehensive standards that address energy harvesting metrics, communication protocols, data formats, and security requirements represents a critical path forward for the self-powered sensor market to achieve its full potential.
Energy harvesting mechanisms employed in self-powered sensors further complicate standardization efforts. Various harvesting technologies—including photovoltaic, piezoelectric, thermoelectric, and RF energy harvesting—each operate under different parameters and efficiency metrics. The absence of standardized testing methodologies for energy harvesting performance makes it difficult for end-users to compare solutions objectively or predict real-world performance across varying environmental conditions.
Data format inconsistencies represent another critical interoperability challenge. Self-powered sensors utilize diverse data structures, transmission protocols, and encryption methods, creating significant barriers to seamless data integration. This heterogeneity increases implementation complexity and raises costs associated with data normalization and system integration, particularly for large-scale deployments spanning multiple facilities or geographical locations.
Communication protocol fragmentation further exacerbates interoperability issues. While low-power wireless standards like Bluetooth LE, Zigbee, and LoRaWAN have gained traction, self-powered sensor manufacturers often implement proprietary modifications to optimize power consumption, compromising cross-vendor compatibility. The trade-offs between power efficiency and adherence to standardized protocols remain a persistent challenge for the industry.
Security standards for self-powered sensors also lack uniformity, creating vulnerabilities in IoT ecosystems. The constrained power budgets of these devices often limit the implementation of robust security measures, resulting in inconsistent encryption practices and authentication mechanisms across different solutions. This security fragmentation increases exposure to potential breaches and complicates compliance with data protection regulations.
Industry consortia such as the Industrial Internet Consortium and the LoRa Alliance are working toward establishing common frameworks, but progress remains slow due to competing commercial interests and technical challenges. The development of comprehensive standards that address energy harvesting metrics, communication protocols, data formats, and security requirements represents a critical path forward for the self-powered sensor market to achieve its full potential.
Unlock deeper insights with Patsnap Eureka Quick Research — get a full tech report to explore trends and direct your research. Try now!
Generate Your Research Report Instantly with AI Agent
Supercharge your innovation with Patsnap Eureka AI Agent Platform!







