What Drives Technological Integration of Self-Powered Sensors
OCT 21, 202510 MIN READ
Generate Your Research Report Instantly with AI Agent
Patsnap Eureka helps you evaluate technical feasibility & market potential.
Self-Powered Sensor Technology Background and Objectives
Self-powered sensor technology has evolved significantly over the past two decades, transforming from theoretical concepts to practical implementations across various industries. The fundamental principle behind self-powered sensors lies in their ability to harvest energy from ambient sources such as light, vibration, temperature gradients, and electromagnetic waves, eliminating the need for external power supplies or battery replacements. This technological evolution began with basic piezoelectric and thermoelectric generators in the early 2000s and has now expanded to include sophisticated triboelectric nanogenerators, photovoltaic cells, and hybrid energy harvesting systems.
The trajectory of self-powered sensor development has been shaped by several key factors, including miniaturization of electronic components, advancements in materials science, and the growing demand for sustainable IoT solutions. Particularly noteworthy is the convergence of nanotechnology with energy harvesting techniques, which has enabled unprecedented levels of efficiency and functionality in extremely compact form factors.
Current research trends indicate a shift toward multifunctional self-powered sensors capable of not only detecting environmental parameters but also processing and transmitting data with minimal energy consumption. The integration of artificial intelligence and machine learning algorithms directly into these sensors represents the cutting edge of this field, allowing for intelligent decision-making at the edge without constant communication with centralized systems.
The primary technical objectives in this domain include enhancing energy conversion efficiency, improving reliability under variable environmental conditions, and developing standardized integration protocols for seamless incorporation into existing systems. Researchers are particularly focused on overcoming the challenge of power intermittency, which remains a significant barrier to widespread adoption of self-powered sensing technologies.
From an industrial perspective, the goals for self-powered sensor technology center around cost-effective manufacturing at scale, interoperability with legacy systems, and demonstrable return on investment through reduced maintenance costs and extended operational lifetimes. The healthcare, industrial automation, and environmental monitoring sectors have emerged as early adopters, driving innovation through specific use case requirements.
Looking forward, the technological roadmap for self-powered sensors aims to achieve complete energy autonomy while maintaining or exceeding the performance of traditionally powered alternatives. This includes developing sensors capable of operating in extreme environments, ultra-low-power communication protocols specifically designed for energy-harvested systems, and adaptive power management strategies that optimize energy usage based on contextual awareness.
The trajectory of self-powered sensor development has been shaped by several key factors, including miniaturization of electronic components, advancements in materials science, and the growing demand for sustainable IoT solutions. Particularly noteworthy is the convergence of nanotechnology with energy harvesting techniques, which has enabled unprecedented levels of efficiency and functionality in extremely compact form factors.
Current research trends indicate a shift toward multifunctional self-powered sensors capable of not only detecting environmental parameters but also processing and transmitting data with minimal energy consumption. The integration of artificial intelligence and machine learning algorithms directly into these sensors represents the cutting edge of this field, allowing for intelligent decision-making at the edge without constant communication with centralized systems.
The primary technical objectives in this domain include enhancing energy conversion efficiency, improving reliability under variable environmental conditions, and developing standardized integration protocols for seamless incorporation into existing systems. Researchers are particularly focused on overcoming the challenge of power intermittency, which remains a significant barrier to widespread adoption of self-powered sensing technologies.
From an industrial perspective, the goals for self-powered sensor technology center around cost-effective manufacturing at scale, interoperability with legacy systems, and demonstrable return on investment through reduced maintenance costs and extended operational lifetimes. The healthcare, industrial automation, and environmental monitoring sectors have emerged as early adopters, driving innovation through specific use case requirements.
Looking forward, the technological roadmap for self-powered sensors aims to achieve complete energy autonomy while maintaining or exceeding the performance of traditionally powered alternatives. This includes developing sensors capable of operating in extreme environments, ultra-low-power communication protocols specifically designed for energy-harvested systems, and adaptive power management strategies that optimize energy usage based on contextual awareness.
Market Demand Analysis for Self-Powered Sensing Solutions
The global market for self-powered sensing solutions is experiencing unprecedented growth, driven by the convergence of IoT expansion, energy harvesting advancements, and sustainability imperatives. Current market valuations indicate that the self-powered sensors market is growing at a compound annual growth rate of 19.2%, with projections to reach $8.3 billion by 2026. This remarkable growth trajectory reflects the increasing demand across multiple sectors for autonomous sensing capabilities that eliminate battery dependencies.
Industrial automation represents the largest market segment, accounting for approximately 32% of current demand. Manufacturing facilities are rapidly adopting self-powered sensors to monitor equipment performance, predict maintenance needs, and optimize production processes without the operational burden of battery replacement. The ability to deploy sensors in hard-to-reach locations while maintaining continuous operation has proven particularly valuable in large-scale industrial environments.
Healthcare applications constitute another significant market driver, growing at 23.7% annually. Wearable health monitoring devices, implantable medical sensors, and remote patient monitoring systems all benefit from self-powered operation, extending device longevity and improving patient comfort. The elimination of battery replacement procedures for implantable devices represents a particularly compelling value proposition in this sector.
Smart infrastructure and building management systems represent an emerging high-growth segment. Energy harvesting sensors that monitor structural integrity, occupancy, temperature, and air quality can be embedded throughout buildings without creating maintenance liabilities. Market research indicates that building managers can reduce energy consumption by up to 30% through optimized environmental control enabled by comprehensive sensor networks.
Consumer electronics manufacturers are increasingly incorporating self-powered sensing capabilities into their product ecosystems. Market analysis reveals that consumers show strong preference (71% according to recent surveys) for devices that require minimal charging or battery replacement, creating pull-through demand for self-powered technologies.
The geographic distribution of market demand shows regional variations, with North America currently leading adoption (38% market share), followed by Europe (29%) and Asia-Pacific (26%). However, the Asia-Pacific region demonstrates the fastest growth rate at 24.3% annually, driven by rapid industrial automation and smart city initiatives in China, South Korea, and Singapore.
Market barriers include cost premiums compared to traditional battery-powered sensors, with self-powered alternatives typically commanding 30-45% higher initial prices. However, total cost of ownership analysis demonstrates that self-powered solutions become economically advantageous within 2-3 years of deployment due to eliminated maintenance costs. As manufacturing scales increase and energy harvesting efficiencies improve, this initial cost differential is expected to diminish significantly.
Industrial automation represents the largest market segment, accounting for approximately 32% of current demand. Manufacturing facilities are rapidly adopting self-powered sensors to monitor equipment performance, predict maintenance needs, and optimize production processes without the operational burden of battery replacement. The ability to deploy sensors in hard-to-reach locations while maintaining continuous operation has proven particularly valuable in large-scale industrial environments.
Healthcare applications constitute another significant market driver, growing at 23.7% annually. Wearable health monitoring devices, implantable medical sensors, and remote patient monitoring systems all benefit from self-powered operation, extending device longevity and improving patient comfort. The elimination of battery replacement procedures for implantable devices represents a particularly compelling value proposition in this sector.
Smart infrastructure and building management systems represent an emerging high-growth segment. Energy harvesting sensors that monitor structural integrity, occupancy, temperature, and air quality can be embedded throughout buildings without creating maintenance liabilities. Market research indicates that building managers can reduce energy consumption by up to 30% through optimized environmental control enabled by comprehensive sensor networks.
Consumer electronics manufacturers are increasingly incorporating self-powered sensing capabilities into their product ecosystems. Market analysis reveals that consumers show strong preference (71% according to recent surveys) for devices that require minimal charging or battery replacement, creating pull-through demand for self-powered technologies.
The geographic distribution of market demand shows regional variations, with North America currently leading adoption (38% market share), followed by Europe (29%) and Asia-Pacific (26%). However, the Asia-Pacific region demonstrates the fastest growth rate at 24.3% annually, driven by rapid industrial automation and smart city initiatives in China, South Korea, and Singapore.
Market barriers include cost premiums compared to traditional battery-powered sensors, with self-powered alternatives typically commanding 30-45% higher initial prices. However, total cost of ownership analysis demonstrates that self-powered solutions become economically advantageous within 2-3 years of deployment due to eliminated maintenance costs. As manufacturing scales increase and energy harvesting efficiencies improve, this initial cost differential is expected to diminish significantly.
Current State and Technical Challenges in Self-Powered Sensors
Self-powered sensors have emerged as a transformative technology in the Internet of Things (IoT) landscape, yet their global development remains uneven. Currently, North America and East Asia lead in research and commercialization efforts, with Europe following closely behind. The technological maturity varies significantly across different types of self-powered sensors, with piezoelectric and thermoelectric solutions reaching higher technology readiness levels compared to triboelectric and photovoltaic integration approaches.
The primary technical challenge facing self-powered sensors is energy harvesting efficiency. Most ambient energy harvesters operate at conversion efficiencies below 30%, which severely limits their practical applications in low-energy environments. This efficiency bottleneck represents a fundamental obstacle to widespread deployment, particularly for applications requiring continuous operation or higher power consumption sensing modalities.
Miniaturization presents another significant hurdle. As devices shrink to accommodate modern IoT requirements, the available surface area for energy harvesting diminishes proportionally. This creates an inherent tension between form factor and power generation capacity that engineers must navigate. Current miniaturized self-powered sensors often struggle to generate sufficient power for complex sensing and data transmission tasks.
Power management circuitry poses additional challenges. The intermittent nature of harvested energy necessitates sophisticated energy storage and power conditioning systems. Current solutions often add significant bulk and complexity to sensor designs, compromising the size and cost advantages that would otherwise make self-powered sensors attractive for mass deployment.
Materials compatibility and durability issues further complicate development efforts. Many energy harvesting materials exhibit performance degradation under environmental stressors or have limited operational lifespans. For instance, piezoelectric materials may suffer from fatigue after repeated mechanical cycling, while organic photovoltaic materials can degrade when exposed to ultraviolet radiation or moisture.
Integration with existing systems represents another substantial challenge. Self-powered sensors must interface with conventional electronics and communication protocols, requiring signal conditioning and protocol adaptation that can consume precious harvested energy. The lack of standardized interfaces specifically designed for energy-harvesting systems creates interoperability issues across platforms and manufacturers.
Manufacturing scalability remains problematic for many self-powered sensor technologies. Complex fabrication processes, specialized materials, and precision assembly requirements drive up production costs and limit mass-market adoption. Technologies that show promising performance in laboratory settings often face significant hurdles in transitioning to cost-effective, high-volume manufacturing processes.
The primary technical challenge facing self-powered sensors is energy harvesting efficiency. Most ambient energy harvesters operate at conversion efficiencies below 30%, which severely limits their practical applications in low-energy environments. This efficiency bottleneck represents a fundamental obstacle to widespread deployment, particularly for applications requiring continuous operation or higher power consumption sensing modalities.
Miniaturization presents another significant hurdle. As devices shrink to accommodate modern IoT requirements, the available surface area for energy harvesting diminishes proportionally. This creates an inherent tension between form factor and power generation capacity that engineers must navigate. Current miniaturized self-powered sensors often struggle to generate sufficient power for complex sensing and data transmission tasks.
Power management circuitry poses additional challenges. The intermittent nature of harvested energy necessitates sophisticated energy storage and power conditioning systems. Current solutions often add significant bulk and complexity to sensor designs, compromising the size and cost advantages that would otherwise make self-powered sensors attractive for mass deployment.
Materials compatibility and durability issues further complicate development efforts. Many energy harvesting materials exhibit performance degradation under environmental stressors or have limited operational lifespans. For instance, piezoelectric materials may suffer from fatigue after repeated mechanical cycling, while organic photovoltaic materials can degrade when exposed to ultraviolet radiation or moisture.
Integration with existing systems represents another substantial challenge. Self-powered sensors must interface with conventional electronics and communication protocols, requiring signal conditioning and protocol adaptation that can consume precious harvested energy. The lack of standardized interfaces specifically designed for energy-harvesting systems creates interoperability issues across platforms and manufacturers.
Manufacturing scalability remains problematic for many self-powered sensor technologies. Complex fabrication processes, specialized materials, and precision assembly requirements drive up production costs and limit mass-market adoption. Technologies that show promising performance in laboratory settings often face significant hurdles in transitioning to cost-effective, high-volume manufacturing processes.
Current Technical Solutions for Energy Harvesting Integration
01 Energy harvesting mechanisms for self-powered sensors
Various energy harvesting mechanisms can be integrated into sensor systems to create self-powered devices. These mechanisms capture energy from the surrounding environment, such as vibration, thermal gradients, solar energy, or RF signals, and convert it into electrical power to operate the sensors. This approach eliminates the need for external power sources or battery replacements, making the sensors more sustainable and suitable for long-term deployment in remote or inaccessible locations.- Energy harvesting mechanisms for self-powered sensors: Various energy harvesting mechanisms can be integrated into sensor systems to create self-powered devices. These include piezoelectric generators that convert mechanical vibrations into electrical energy, photovoltaic cells that harvest solar energy, thermoelectric generators that utilize temperature differentials, and electromagnetic induction systems. These energy harvesting technologies enable sensors to operate autonomously without external power sources, making them suitable for remote monitoring applications.
- Wireless communication integration in self-powered sensor networks: Self-powered sensors can be integrated with various wireless communication technologies to transmit collected data efficiently. These technologies include low-power radio frequency (RF) transmission, Bluetooth Low Energy (BLE), ZigBee, and other IoT communication protocols. The integration of wireless communication capabilities allows for real-time data monitoring and analysis while maintaining energy efficiency, which is crucial for self-powered operation in distributed sensor networks.
- Power management systems for self-powered sensors: Advanced power management systems are essential for optimizing the operation of self-powered sensors. These systems include energy storage solutions such as supercapacitors and thin-film batteries, power conditioning circuits, and intelligent power distribution algorithms. Efficient power management ensures that harvested energy is properly stored, regulated, and utilized, extending the operational lifetime of self-powered sensors and enabling them to function reliably even under variable energy harvesting conditions.
- Integration of self-powered sensors in IoT and smart systems: Self-powered sensors can be integrated into Internet of Things (IoT) ecosystems and smart systems to enable autonomous monitoring capabilities. This integration involves embedding sensors in various environments such as smart buildings, industrial facilities, agricultural settings, and wearable devices. The self-powered nature of these sensors eliminates the need for battery replacement or wired power connections, making them ideal for large-scale deployments in smart cities and industrial IoT applications where maintenance access may be limited.
- Miniaturization and fabrication techniques for self-powered sensor integration: Advanced miniaturization and fabrication techniques enable the integration of self-powered sensors into compact and flexible form factors. These techniques include microelectromechanical systems (MEMS) fabrication, flexible electronics manufacturing, printed electronics, and nanomaterial integration. Miniaturization allows self-powered sensors to be incorporated into space-constrained applications while maintaining energy harvesting capabilities, sensing accuracy, and communication functionality.
02 Integration of sensors with IoT and wireless communication
Self-powered sensors can be integrated with Internet of Things (IoT) platforms and wireless communication technologies to enable remote monitoring and data collection. These integrated systems can autonomously collect, process, and transmit data without requiring manual intervention. The combination of energy harvesting, low-power sensing, and wireless communication creates a comprehensive solution for applications such as environmental monitoring, structural health monitoring, and industrial automation.Expand Specific Solutions03 Miniaturization and flexible form factors
Advanced manufacturing techniques enable the miniaturization and development of flexible form factors for self-powered sensors. These compact and flexible designs allow for integration into various applications, including wearable devices, implantable medical sensors, and structural monitoring systems. The reduced size and conformable nature of these sensors make them less intrusive and more adaptable to different environments while maintaining their self-powering capabilities.Expand Specific Solutions04 Smart materials and piezoelectric technologies
Smart materials and piezoelectric technologies play a crucial role in self-powered sensor development. These materials can generate electrical signals in response to mechanical stress or environmental changes, enabling both sensing and energy harvesting functions simultaneously. By utilizing materials that exhibit piezoelectric, triboelectric, or thermoelectric properties, sensors can detect physical parameters while generating sufficient power for their operation, creating truly autonomous sensing systems.Expand Specific Solutions05 System-level integration and power management
Effective system-level integration and power management are essential for self-powered sensor networks. This includes optimizing the energy consumption of sensors, implementing efficient power conditioning circuits, and developing intelligent power management algorithms. Advanced techniques such as adaptive sampling rates, sleep modes, and energy-aware data processing help maximize the operational lifetime of self-powered sensors by balancing energy harvesting capabilities with power consumption requirements.Expand Specific Solutions
Key Industry Players in Self-Powered Sensor Development
The self-powered sensor technology market is currently in a growth phase, characterized by increasing integration across multiple industries. The global market is expanding rapidly, projected to reach significant scale as energy harvesting technologies mature. Leading academic institutions like KAIST, Beijing Institute of Nanoenergy & Nanosystems, and UESTC are advancing fundamental research, while commercial players demonstrate varying levels of technological maturity. Companies like EnOcean GmbH and Gentle Energy Corp. have established specialized energy harvesting solutions, while larger corporations including Samsung Electronics, Texas Instruments, and Robert Bosch GmbH are integrating self-powered sensing into broader product ecosystems. The competitive landscape shows a healthy mix of specialized startups, established technology firms, and research institutions collaborating to overcome power constraints in IoT applications.
Beijing Institute of Nanoenergy & Nanosystems
Technical Solution: The Beijing Institute of Nanoenergy & Nanosystems (BINN) has pioneered triboelectric nanogenerator (TENG) technology as a fundamental solution for self-powered sensors. Their approach harvests mechanical energy from everyday movements and converts it into electrical signals through nanoscale friction effects. BINN has developed multi-functional self-powered sensors that can detect pressure, motion, and environmental parameters simultaneously without external power sources. Their integrated systems combine energy harvesting units with ultra-low-power sensing circuits and wireless communication modules, creating completely autonomous sensing nodes. Recent innovations include flexible TENG arrays that can be conformally attached to curved surfaces for health monitoring and industrial applications, achieving power densities of 500 mW/m² under normal human movement conditions.
Strengths: Leading expertise in nanogenerator technology with superior energy conversion efficiency (up to 85% in optimal conditions); extensive intellectual property portfolio in self-powered sensing systems. Weaknesses: Some solutions still face challenges in long-term durability when exposed to harsh environmental conditions; commercialization pathway requires partnerships with industry manufacturers.
EnOcean GmbH
Technical Solution: EnOcean has developed a comprehensive ecosystem for self-powered IoT sensors based on their patented energy harvesting wireless technology. Their approach combines multiple energy harvesting methods including solar, kinetic, and thermal conversion to power wireless sensors without batteries. The company's core innovation is their ultra-low power radio protocol (EnOcean Radio Protocol) that enables reliable communication with minimal energy consumption, requiring as little as 50 μJ per transmission. Their self-powered sensor modules integrate energy harvesting converters, energy storage capacitors, microcontrollers, and wireless transceivers in compact packages typically smaller than 20 cm³. EnOcean's technology has been widely deployed in building automation with over 1 million installations worldwide, demonstrating the commercial viability of self-powered sensing networks in real-world applications.
Strengths: Mature, field-proven technology with established interoperability standards (EnOcean Alliance); complete end-to-end solutions from energy harvesting to data transmission. Weaknesses: Primary focus on indoor/building applications limits penetration in other industrial sectors; relatively higher initial cost compared to conventional battery-powered sensors despite better lifetime value.
Core Patents and Innovations in Self-Powered Sensing
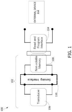
Self-powered sensor, and monitoring system including same
PatentWO2021060906A1
Innovation
- A self-powered sensor that converts external physical stimulation into electrical energy, integrating power generation and sensing units to transmit signals wirelessly without a battery or wiring, using a power management unit to switch between energized and power-saving states based on energy storage levels.
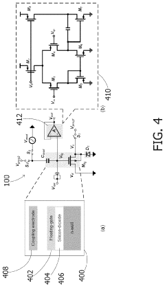
Self-powered sensors for long-term monitoring
PatentActiveUS12013292B2
Innovation
- A sensor system utilizing an array of memory devices with floating-gate transistors that leak electrons at a predetermined rate through Fowler-Nordheim tunneling, where the sensor signal modulates the energy barrier to change the electron leakage rate, allowing for the storage of event data and timestamps.
Sustainability Impact of Self-Powered Sensing Technologies
The integration of self-powered sensing technologies represents a significant advancement in sustainable development across multiple sectors. These technologies, which harvest energy from their environment rather than relying on external power sources, substantially reduce the environmental footprint associated with traditional sensor networks. By eliminating the need for battery replacements and associated maintenance, self-powered sensors minimize electronic waste generation and reduce the consumption of rare earth materials used in battery production.
Energy autonomy achieved through self-powered sensing directly contributes to carbon footprint reduction. Traditional sensor networks often require extensive wiring or frequent battery replacements, both of which involve significant material resources and energy consumption. Self-powered alternatives eliminate these requirements, resulting in measurable reductions in greenhouse gas emissions throughout their lifecycle.
In remote environmental monitoring applications, self-powered sensors enable continuous data collection without human intervention or infrastructure development that might otherwise disrupt sensitive ecosystems. This capability has proven invaluable for tracking climate change indicators, monitoring wildlife habitats, and preserving biodiversity in areas where conventional powered systems would be impractical or environmentally disruptive.
The economic sustainability aspects of these technologies are equally compelling. While initial deployment costs may be higher than conventional alternatives, the total cost of ownership is typically lower due to eliminated maintenance requirements and extended operational lifespans. This economic advantage becomes particularly pronounced in large-scale deployments or in difficult-to-access locations where maintenance visits carry significant costs.
From a social sustainability perspective, self-powered sensing technologies enable more equitable access to environmental monitoring and smart infrastructure capabilities. Communities with limited access to reliable power grids can implement these systems to monitor water quality, air pollution, or structural health without dependence on external energy sources. This democratization of sensing technology supports more inclusive sustainable development.
Looking forward, the continued advancement of self-powered sensing technologies promises to further enhance their sustainability impact. Improvements in energy harvesting efficiency, material science innovations reducing reliance on scarce resources, and the development of biodegradable components all point toward increasingly sustainable implementations. As these technologies mature and achieve greater market penetration, their collective contribution to global sustainability goals will likely become increasingly significant.
Energy autonomy achieved through self-powered sensing directly contributes to carbon footprint reduction. Traditional sensor networks often require extensive wiring or frequent battery replacements, both of which involve significant material resources and energy consumption. Self-powered alternatives eliminate these requirements, resulting in measurable reductions in greenhouse gas emissions throughout their lifecycle.
In remote environmental monitoring applications, self-powered sensors enable continuous data collection without human intervention or infrastructure development that might otherwise disrupt sensitive ecosystems. This capability has proven invaluable for tracking climate change indicators, monitoring wildlife habitats, and preserving biodiversity in areas where conventional powered systems would be impractical or environmentally disruptive.
The economic sustainability aspects of these technologies are equally compelling. While initial deployment costs may be higher than conventional alternatives, the total cost of ownership is typically lower due to eliminated maintenance requirements and extended operational lifespans. This economic advantage becomes particularly pronounced in large-scale deployments or in difficult-to-access locations where maintenance visits carry significant costs.
From a social sustainability perspective, self-powered sensing technologies enable more equitable access to environmental monitoring and smart infrastructure capabilities. Communities with limited access to reliable power grids can implement these systems to monitor water quality, air pollution, or structural health without dependence on external energy sources. This democratization of sensing technology supports more inclusive sustainable development.
Looking forward, the continued advancement of self-powered sensing technologies promises to further enhance their sustainability impact. Improvements in energy harvesting efficiency, material science innovations reducing reliance on scarce resources, and the development of biodegradable components all point toward increasingly sustainable implementations. As these technologies mature and achieve greater market penetration, their collective contribution to global sustainability goals will likely become increasingly significant.
Standardization and Interoperability Challenges
The integration of self-powered sensors across diverse technological ecosystems faces significant standardization and interoperability challenges that impede widespread adoption. Currently, the self-powered sensor market suffers from fragmentation due to proprietary protocols and diverse energy harvesting mechanisms, creating compatibility barriers between different manufacturers' devices. This lack of unified standards prevents seamless integration into existing IoT infrastructures and limits the potential for creating comprehensive sensing networks.
Communication protocol standardization represents a critical challenge, as self-powered sensors employ various wireless technologies including BLE, Zigbee, LoRaWAN, and proprietary protocols. The energy constraints of these sensors often necessitate specialized low-power communication methods that may not align with established industry standards, creating integration bottlenecks when deploying heterogeneous sensor networks.
Data format inconsistencies further complicate interoperability efforts. Different sensors produce outputs in varying formats, structures, and units, requiring complex middleware solutions to normalize data for unified processing. Without standardized data models specifically designed for self-powered sensing applications, system integrators must develop custom interfaces for each sensor type, significantly increasing implementation costs and complexity.
Power management standardization presents another critical challenge. The diverse energy harvesting mechanisms—ranging from photovoltaic and piezoelectric to thermoelectric and RF energy harvesting—operate under different parameters and efficiency metrics. This diversity complicates the development of universal power management interfaces that could facilitate plug-and-play functionality across different energy harvesting technologies.
Industry consortia including the IEEE, IEC, and ISO have initiated efforts to address these challenges through working groups focused on energy harvesting sensor standards. However, progress remains fragmented across different application domains. The IEEE 2030.5 standard offers partial solutions for smart grid applications, while the IEC 62830 series addresses certain aspects of energy harvesting sensor specifications, but comprehensive cross-domain standards remain elusive.
Regulatory frameworks across different regions introduce additional complexity, as certification requirements for wireless devices, frequency allocations, and power limitations vary significantly. These regulatory disparities create market entry barriers for self-powered sensor manufacturers seeking global deployment capabilities, further fragmenting the technological landscape and impeding standardization efforts.
Addressing these challenges requires coordinated multi-stakeholder initiatives involving sensor manufacturers, system integrators, standards organizations, and regulatory bodies to develop comprehensive interoperability frameworks that accommodate the unique constraints of self-powered sensing technologies while ensuring seamless integration with existing technological infrastructures.
Communication protocol standardization represents a critical challenge, as self-powered sensors employ various wireless technologies including BLE, Zigbee, LoRaWAN, and proprietary protocols. The energy constraints of these sensors often necessitate specialized low-power communication methods that may not align with established industry standards, creating integration bottlenecks when deploying heterogeneous sensor networks.
Data format inconsistencies further complicate interoperability efforts. Different sensors produce outputs in varying formats, structures, and units, requiring complex middleware solutions to normalize data for unified processing. Without standardized data models specifically designed for self-powered sensing applications, system integrators must develop custom interfaces for each sensor type, significantly increasing implementation costs and complexity.
Power management standardization presents another critical challenge. The diverse energy harvesting mechanisms—ranging from photovoltaic and piezoelectric to thermoelectric and RF energy harvesting—operate under different parameters and efficiency metrics. This diversity complicates the development of universal power management interfaces that could facilitate plug-and-play functionality across different energy harvesting technologies.
Industry consortia including the IEEE, IEC, and ISO have initiated efforts to address these challenges through working groups focused on energy harvesting sensor standards. However, progress remains fragmented across different application domains. The IEEE 2030.5 standard offers partial solutions for smart grid applications, while the IEC 62830 series addresses certain aspects of energy harvesting sensor specifications, but comprehensive cross-domain standards remain elusive.
Regulatory frameworks across different regions introduce additional complexity, as certification requirements for wireless devices, frequency allocations, and power limitations vary significantly. These regulatory disparities create market entry barriers for self-powered sensor manufacturers seeking global deployment capabilities, further fragmenting the technological landscape and impeding standardization efforts.
Addressing these challenges requires coordinated multi-stakeholder initiatives involving sensor manufacturers, system integrators, standards organizations, and regulatory bodies to develop comprehensive interoperability frameworks that accommodate the unique constraints of self-powered sensing technologies while ensuring seamless integration with existing technological infrastructures.
Unlock deeper insights with Patsnap Eureka Quick Research — get a full tech report to explore trends and direct your research. Try now!
Generate Your Research Report Instantly with AI Agent
Supercharge your innovation with Patsnap Eureka AI Agent Platform!







