Comparative Analysis of Self-Powered Sensor Applications in Telemedicine
OCT 21, 202510 MIN READ
Generate Your Research Report Instantly with AI Agent
Patsnap Eureka helps you evaluate technical feasibility & market potential.
Self-Powered Sensor Technology Background and Objectives
Self-powered sensor technology has evolved significantly over the past two decades, transforming from laboratory curiosities to practical applications across multiple industries. The fundamental concept behind these sensors is energy harvesting—converting ambient energy sources such as mechanical vibration, thermal gradients, light, or RF signals into electrical power sufficient to operate sensing, processing, and communication functions. This technological evolution has been driven by advances in low-power electronics, energy harvesting techniques, and miniaturization capabilities.
The historical trajectory of self-powered sensors began with basic piezoelectric and thermoelectric generators in the early 2000s, progressing through significant milestones including the development of triboelectric nanogenerators (TENGs) in 2012, which dramatically expanded energy harvesting capabilities. Recent breakthroughs in hybrid energy harvesting systems have further enhanced power generation efficiency, while improvements in power management circuits have optimized energy utilization.
In the telemedicine context, self-powered sensors represent a paradigm shift in patient monitoring capabilities. Traditional medical sensors typically rely on batteries that require regular replacement or recharging, creating maintenance burdens and reliability concerns, particularly for continuous monitoring applications. Self-powered alternatives eliminate these limitations, enabling truly autonomous operation for extended periods.
The convergence of self-powered technology with telemedicine addresses several critical healthcare challenges, including the need for continuous patient monitoring, reduced healthcare costs through preventive care, and expanded access to healthcare services in remote or underserved regions. These technologies enable the collection of real-time physiological data without the constraints of external power sources or frequent maintenance interventions.
The primary technical objectives for self-powered sensors in telemedicine applications include achieving sufficient power generation for reliable operation, ensuring biocompatibility and patient comfort, maintaining measurement accuracy comparable to conventional powered sensors, and establishing secure, efficient data transmission protocols. Additionally, these systems must demonstrate long-term stability and reliability under varying environmental and physiological conditions.
Current research trends focus on developing multi-modal energy harvesting systems that can extract energy from multiple environmental sources simultaneously, creating ultra-low-power sensing and communication circuits, and implementing edge computing capabilities to reduce transmission power requirements. The integration of artificial intelligence for predictive diagnostics represents another promising direction, potentially enabling early detection of health deterioration through pattern recognition in sensor data.
The ultimate goal is to create a seamless ecosystem of self-powered medical sensors that can continuously monitor patient health parameters, process data locally, and transmit critical information to healthcare providers without requiring user intervention for power management or maintenance.
The historical trajectory of self-powered sensors began with basic piezoelectric and thermoelectric generators in the early 2000s, progressing through significant milestones including the development of triboelectric nanogenerators (TENGs) in 2012, which dramatically expanded energy harvesting capabilities. Recent breakthroughs in hybrid energy harvesting systems have further enhanced power generation efficiency, while improvements in power management circuits have optimized energy utilization.
In the telemedicine context, self-powered sensors represent a paradigm shift in patient monitoring capabilities. Traditional medical sensors typically rely on batteries that require regular replacement or recharging, creating maintenance burdens and reliability concerns, particularly for continuous monitoring applications. Self-powered alternatives eliminate these limitations, enabling truly autonomous operation for extended periods.
The convergence of self-powered technology with telemedicine addresses several critical healthcare challenges, including the need for continuous patient monitoring, reduced healthcare costs through preventive care, and expanded access to healthcare services in remote or underserved regions. These technologies enable the collection of real-time physiological data without the constraints of external power sources or frequent maintenance interventions.
The primary technical objectives for self-powered sensors in telemedicine applications include achieving sufficient power generation for reliable operation, ensuring biocompatibility and patient comfort, maintaining measurement accuracy comparable to conventional powered sensors, and establishing secure, efficient data transmission protocols. Additionally, these systems must demonstrate long-term stability and reliability under varying environmental and physiological conditions.
Current research trends focus on developing multi-modal energy harvesting systems that can extract energy from multiple environmental sources simultaneously, creating ultra-low-power sensing and communication circuits, and implementing edge computing capabilities to reduce transmission power requirements. The integration of artificial intelligence for predictive diagnostics represents another promising direction, potentially enabling early detection of health deterioration through pattern recognition in sensor data.
The ultimate goal is to create a seamless ecosystem of self-powered medical sensors that can continuously monitor patient health parameters, process data locally, and transmit critical information to healthcare providers without requiring user intervention for power management or maintenance.
Telemedicine Market Demand Analysis
The telemedicine market has experienced unprecedented growth in recent years, with the COVID-19 pandemic serving as a significant catalyst. According to recent market research, the global telemedicine market was valued at approximately $70 billion in 2022 and is projected to reach $285 billion by 2028, representing a compound annual growth rate (CAGR) of over 26%. This remarkable expansion reflects the increasing acceptance of remote healthcare solutions among patients, providers, and payers alike.
Self-powered sensors represent a critical technological advancement in this rapidly evolving landscape. The demand for these devices stems from several converging market needs. Healthcare providers are increasingly seeking solutions that can provide continuous, real-time patient monitoring without the limitations of traditional power sources. This is particularly relevant for chronic disease management, which accounts for nearly 75% of healthcare expenditures in developed nations.
Patient preferences are also driving market demand. Studies indicate that over 60% of patients with chronic conditions prefer home-based monitoring solutions that minimize disruption to their daily lives. Self-powered sensors, which eliminate the need for frequent battery replacements or recharging, directly address this preference by offering unobtrusive, maintenance-free monitoring capabilities.
The aging global population represents another significant market driver. With the number of people aged 65 and above expected to double by 2050, reaching nearly 1.5 billion, there is growing pressure on healthcare systems to implement cost-effective remote monitoring solutions. Self-powered sensors in telemedicine applications can reduce hospitalization rates by enabling earlier interventions, potentially saving healthcare systems billions annually.
Geographically, North America currently dominates the telemedicine market with approximately 40% market share, followed by Europe and Asia-Pacific. However, the Asia-Pacific region is expected to witness the highest growth rate in the coming years due to improving healthcare infrastructure, increasing digital literacy, and supportive government initiatives.
From an application perspective, cardiac monitoring represents the largest segment for self-powered sensor applications in telemedicine, accounting for roughly 30% of the market. This is followed by diabetes management (25%), respiratory monitoring (15%), and neurological monitoring (10%). Emerging applications in preventive healthcare and wellness monitoring are expected to gain significant traction, potentially growing at twice the rate of established applications.
Insurance reimbursement policies are evolving to accommodate telemedicine solutions, with over 200 new reimbursement codes added in the past three years across major markets. This trend is expected to continue, further stimulating demand for innovative self-powered sensor technologies that can demonstrate clear clinical benefits and cost-effectiveness in telemedicine applications.
Self-powered sensors represent a critical technological advancement in this rapidly evolving landscape. The demand for these devices stems from several converging market needs. Healthcare providers are increasingly seeking solutions that can provide continuous, real-time patient monitoring without the limitations of traditional power sources. This is particularly relevant for chronic disease management, which accounts for nearly 75% of healthcare expenditures in developed nations.
Patient preferences are also driving market demand. Studies indicate that over 60% of patients with chronic conditions prefer home-based monitoring solutions that minimize disruption to their daily lives. Self-powered sensors, which eliminate the need for frequent battery replacements or recharging, directly address this preference by offering unobtrusive, maintenance-free monitoring capabilities.
The aging global population represents another significant market driver. With the number of people aged 65 and above expected to double by 2050, reaching nearly 1.5 billion, there is growing pressure on healthcare systems to implement cost-effective remote monitoring solutions. Self-powered sensors in telemedicine applications can reduce hospitalization rates by enabling earlier interventions, potentially saving healthcare systems billions annually.
Geographically, North America currently dominates the telemedicine market with approximately 40% market share, followed by Europe and Asia-Pacific. However, the Asia-Pacific region is expected to witness the highest growth rate in the coming years due to improving healthcare infrastructure, increasing digital literacy, and supportive government initiatives.
From an application perspective, cardiac monitoring represents the largest segment for self-powered sensor applications in telemedicine, accounting for roughly 30% of the market. This is followed by diabetes management (25%), respiratory monitoring (15%), and neurological monitoring (10%). Emerging applications in preventive healthcare and wellness monitoring are expected to gain significant traction, potentially growing at twice the rate of established applications.
Insurance reimbursement policies are evolving to accommodate telemedicine solutions, with over 200 new reimbursement codes added in the past three years across major markets. This trend is expected to continue, further stimulating demand for innovative self-powered sensor technologies that can demonstrate clear clinical benefits and cost-effectiveness in telemedicine applications.
Current Status and Challenges in Self-Powered Sensing
Self-powered sensing technology has witnessed significant advancements globally, with research institutions and companies across North America, Europe, and Asia making substantial contributions. In the United States, institutions like Georgia Tech and MIT lead in triboelectric nanogenerators (TENG) and piezoelectric energy harvesting technologies. European research centers, particularly in Germany and Switzerland, focus on thermoelectric generators (TEGs) and photovoltaic-based self-powered sensors. Meanwhile, Asian countries, especially China, Japan, and South Korea, demonstrate strong capabilities in miniaturization and mass production of self-powered sensing devices.
Despite these advancements, self-powered sensing in telemedicine faces several critical challenges. Power generation stability remains a primary concern, as human body-based energy harvesting methods often produce inconsistent power outputs due to variations in patient movement, body temperature, and ambient conditions. This inconsistency can compromise the reliability of vital sign monitoring in critical telemedicine applications.
Miniaturization presents another significant hurdle. While considerable progress has been made in reducing the size of energy harvesting components, further miniaturization is necessary for seamless integration into wearable and implantable medical devices without causing patient discomfort or requiring frequent maintenance.
Energy efficiency also remains problematic. Current self-powered sensors typically generate power in the microwatt to milliwatt range, which limits their functionality for more power-intensive telemedicine applications such as continuous glucose monitoring or ECG recording. The gap between energy harvested and energy required for comprehensive health monitoring needs to be addressed.
Biocompatibility and longevity constitute additional challenges, particularly for implantable self-powered sensors. Materials must remain stable within the body environment while maintaining consistent performance over extended periods. Current solutions often face degradation issues when exposed to bodily fluids, limiting their practical deployment in long-term telemedicine scenarios.
Data transmission capabilities represent another constraint. Self-powered sensors must balance power consumption with the need to transmit data reliably, often wirelessly, to healthcare providers. Current technologies struggle to maintain this balance, particularly when continuous monitoring and real-time alerts are required for patient safety.
Regulatory hurdles further complicate advancement in this field. Medical device approval processes are stringent, requiring extensive testing and validation. Self-powered sensors face additional scrutiny regarding their reliability, safety, and performance consistency, creating a significant barrier to market entry for innovative solutions.
Despite these advancements, self-powered sensing in telemedicine faces several critical challenges. Power generation stability remains a primary concern, as human body-based energy harvesting methods often produce inconsistent power outputs due to variations in patient movement, body temperature, and ambient conditions. This inconsistency can compromise the reliability of vital sign monitoring in critical telemedicine applications.
Miniaturization presents another significant hurdle. While considerable progress has been made in reducing the size of energy harvesting components, further miniaturization is necessary for seamless integration into wearable and implantable medical devices without causing patient discomfort or requiring frequent maintenance.
Energy efficiency also remains problematic. Current self-powered sensors typically generate power in the microwatt to milliwatt range, which limits their functionality for more power-intensive telemedicine applications such as continuous glucose monitoring or ECG recording. The gap between energy harvested and energy required for comprehensive health monitoring needs to be addressed.
Biocompatibility and longevity constitute additional challenges, particularly for implantable self-powered sensors. Materials must remain stable within the body environment while maintaining consistent performance over extended periods. Current solutions often face degradation issues when exposed to bodily fluids, limiting their practical deployment in long-term telemedicine scenarios.
Data transmission capabilities represent another constraint. Self-powered sensors must balance power consumption with the need to transmit data reliably, often wirelessly, to healthcare providers. Current technologies struggle to maintain this balance, particularly when continuous monitoring and real-time alerts are required for patient safety.
Regulatory hurdles further complicate advancement in this field. Medical device approval processes are stringent, requiring extensive testing and validation. Self-powered sensors face additional scrutiny regarding their reliability, safety, and performance consistency, creating a significant barrier to market entry for innovative solutions.
Current Self-Powered Solutions for Telemedicine
01 Energy harvesting mechanisms for self-powered sensors
Various energy harvesting mechanisms can be employed to power sensors autonomously. These include piezoelectric elements that convert mechanical vibrations into electrical energy, thermoelectric generators that utilize temperature differentials, and photovoltaic cells that convert light into electricity. These harvesting technologies enable sensors to operate without external power sources, making them suitable for remote or inaccessible locations.- Energy harvesting mechanisms for self-powered sensors: Various energy harvesting mechanisms can be employed to power sensors autonomously. These include piezoelectric elements that convert mechanical vibrations into electrical energy, solar cells that harness light energy, and thermoelectric generators that utilize temperature differentials. These energy harvesting technologies enable sensors to operate without external power sources, making them suitable for remote or inaccessible locations.
- Wireless self-powered sensor networks: Self-powered sensors can be integrated into wireless sensor networks for various applications. These networks utilize energy-efficient communication protocols to transmit data while minimizing power consumption. The sensors harvest ambient energy to power both the sensing elements and wireless communication modules, enabling long-term deployment without battery replacement or maintenance.
- Triboelectric and mechanical energy harvesting for sensors: Triboelectric nanogenerators and mechanical energy harvesting systems can power sensors by converting motion, friction, or vibration into electrical energy. These systems can be designed to harvest energy from human movement, machine vibrations, or environmental forces. The harvested energy is then used to power sensing elements and data processing units, creating truly autonomous sensing systems.
- Power management circuits for self-powered sensors: Specialized power management circuits are essential for optimizing the performance of self-powered sensors. These circuits regulate the harvested energy, store excess power in capacitors or small batteries, and efficiently distribute energy to sensor components. Advanced power management techniques include adaptive duty cycling, sleep modes, and prioritized power allocation to extend operational lifetimes of self-powered sensing systems.
- Applications of self-powered sensor technologies: Self-powered sensors find applications across various domains including environmental monitoring, structural health monitoring, wearable health devices, and industrial IoT. These sensors can operate in harsh environments, remote locations, or on moving objects where conventional power sources are impractical. The autonomous nature of these sensors enables long-term data collection without human intervention, making them valuable for continuous monitoring applications.
02 Wireless self-powered sensor networks
Self-powered sensors can be integrated into wireless sensor networks for distributed monitoring applications. These networks utilize energy-efficient communication protocols to transmit data while minimizing power consumption. The sensors harvest ambient energy to power both the sensing elements and wireless communication modules, enabling long-term deployment without battery replacement or maintenance.Expand Specific Solutions03 Mechanical motion-based energy generation for sensors
Sensors can be powered by converting mechanical motion into electrical energy. This approach utilizes mechanisms such as electromagnetic induction, where movement of a conductor in a magnetic field generates electricity, or triboelectric generators that produce power from friction between different materials. These technologies are particularly useful in applications involving moving parts or vibrating environments.Expand Specific Solutions04 Integrated power management systems for self-powered sensors
Advanced power management systems are crucial for optimizing the operation of self-powered sensors. These systems include energy storage elements like supercapacitors or thin-film batteries, power conditioning circuits, and intelligent control algorithms that adjust sensor operation based on available energy. The integration of these components ensures efficient use of harvested energy and extends the operational lifetime of the sensor.Expand Specific Solutions05 Application-specific self-powered sensor designs
Self-powered sensors can be tailored for specific applications such as environmental monitoring, structural health monitoring, or biomedical sensing. These specialized designs incorporate appropriate sensing elements, energy harvesting mechanisms suited to the deployment environment, and optimized form factors. The application-specific approach ensures that the sensor can reliably operate using only the energy available in its particular environment.Expand Specific Solutions
Key Industry Players in Telemedicine Sensing
The self-powered sensor applications in telemedicine market is currently in a growth phase, with an estimated market size exceeding $3 billion and projected to expand at a CAGR of 15-20% through 2028. The competitive landscape features established medical technology companies like Medtronic and Philips alongside emerging specialized players such as Medwand Solutions and 19Labs. Academic institutions including Chongqing University, UESTC, and EPFL are driving innovation through research partnerships with industry leaders. The technology is approaching maturity in basic vital sign monitoring applications but remains in early development stages for advanced diagnostic capabilities, with companies like Boston Scientific Neuromodulation and Inspire Medical Systems leading in implantable self-powered sensors for continuous patient monitoring.
Medtronic, Inc.
Technical Solution: Medtronic has developed advanced self-powered sensor systems for telemedicine applications that utilize energy harvesting technologies including piezoelectric, thermoelectric, and electromagnetic mechanisms. Their flagship technology incorporates miniaturized energy harvesters that convert body motion, temperature gradients, and ambient vibrations into electrical power for implantable medical devices and wearable health monitors. The company's proprietary power management integrated circuits (PMICs) optimize energy collection and storage, enabling continuous operation of sensors with minimal patient intervention. Medtronic's systems feature wireless data transmission capabilities that allow real-time monitoring of vital parameters such as cardiac rhythm, glucose levels, and neurological activity, with power consumption as low as 10μW during transmission events[1]. Their implantable cardiac monitors can operate for up to 10 years on harvested energy, eliminating the need for battery replacement surgeries and reducing patient risk.
Strengths: Industry-leading energy harvesting efficiency (up to 70% conversion rate); extensive clinical validation across multiple therapeutic areas; seamless integration with existing healthcare IT infrastructure. Weaknesses: Higher initial implementation costs compared to battery-powered alternatives; limited energy harvesting potential in sedentary patients; requires specialized medical expertise for implantation.
Interuniversitair Micro-Electronica Centrum VZW
Technical Solution: IMEC has pioneered ultra-low-power self-powered sensor technologies specifically designed for telemedicine applications. Their approach combines advanced MEMS (Micro-Electro-Mechanical Systems) fabrication techniques with innovative energy harvesting solutions to create autonomous sensing platforms. IMEC's technology utilizes multi-source energy harvesting, simultaneously capturing energy from body heat, motion, and ambient RF signals to power miniaturized sensors. Their proprietary thin-film solid-state batteries and supercapacitors provide efficient energy storage with energy densities exceeding 200Wh/L[2]. IMEC has developed specialized biocompatible materials and flexible substrates that conform to body contours, enhancing both comfort and energy harvesting efficiency. Their sensors incorporate advanced signal processing algorithms that operate on sub-milliwatt power budgets, enabling continuous monitoring of physiological parameters including ECG, temperature, and blood oxygen levels. The data is processed locally using ultra-low-power microcontrollers before being transmitted via Bluetooth Low Energy or sub-GHz protocols to telemedicine platforms.
Strengths: Industry-leading miniaturization (sensors as small as 2mm²); exceptional power efficiency (operating at <100μW); advanced integration capabilities with flexible/wearable electronics. Weaknesses: Higher manufacturing complexity increases unit costs; limited real-world deployment compared to established medical device companies; challenges in scaling production for mass market applications.
Core Patents and Technical Literature Review
Self-powered sensor
PatentActiveUS7757565B2
Innovation
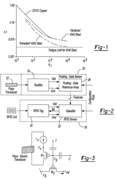
- A self-powered sensor system utilizing a piezoelectric transducer, a floating gate transistor for non-volatile memory, and a current reference circuit that harvests energy from mechanical strain to monitor strain rates and fatigue, with a triggering circuit to control power flow and store data, achieving sub-microwatt operation and reliable data retention.
Self-powered sensor, and monitoring system including same
PatentInactiveEP4246766A3
Innovation
- The self-powered sensor converts external physical stimuli directly into electrical energy, eliminating the need for external power sources or battery replacements.
- The system incorporates an intelligent power management approach with a switching unit that toggles between energized and power-saving states based on stored energy levels compared to a reference threshold.
- The sensor includes an electrical energy storage unit that enables operation continuity even when external stimuli are intermittent, ensuring reliable wireless transmission of sensing data.
Regulatory Framework for Medical Sensing Devices
The regulatory landscape for medical sensing devices, particularly self-powered sensors in telemedicine, presents a complex framework that manufacturers and healthcare providers must navigate. In the United States, the Food and Drug Administration (FDA) classifies medical sensing devices into three categories based on risk levels, with most telemedicine sensors falling under Class II, requiring premarket notification (510(k)) or Class III, requiring premarket approval (PMA).
The European Union implements the Medical Device Regulation (MDR) and In Vitro Diagnostic Regulation (IVDR), which introduced more stringent requirements for clinical evidence, post-market surveillance, and unique device identification. Self-powered sensors in telemedicine must comply with these regulations, with particular attention to the classification rules that determine conformity assessment procedures.
International standards play a crucial role in regulatory compliance. ISO 13485 for quality management systems, IEC 60601 for electrical medical equipment safety, and ISO 14971 for risk management are fundamental standards that manufacturers must adhere to. Additionally, specific standards for wireless communication (IEEE 802.15.6) and cybersecurity (IEC 80001) are increasingly important as telemedicine devices become more connected.
Data privacy regulations significantly impact self-powered sensor applications in telemedicine. In Europe, the General Data Protection Regulation (GDPR) imposes strict requirements on the processing of health data. Similarly, the Health Insurance Portability and Accountability Act (HIPAA) in the US establishes standards for the protection of sensitive patient data. These regulations necessitate robust data encryption, secure transmission protocols, and comprehensive patient consent mechanisms.
Emerging regulatory trends include the development of frameworks for artificial intelligence and machine learning in medical devices, with the FDA's proposed regulatory framework for AI/ML-based Software as a Medical Device (SaMD) being particularly relevant for advanced telemedicine sensors that incorporate predictive algorithms.
Regulatory harmonization efforts, such as the International Medical Device Regulators Forum (IMDRF), aim to reduce regulatory barriers across different jurisdictions. However, significant regional differences persist, creating challenges for global deployment of self-powered sensor technologies in telemedicine.
Compliance strategies for manufacturers include early engagement with regulatory bodies through pre-submission consultations, implementing design controls aligned with regulatory requirements, and developing comprehensive regulatory plans that address the entire product lifecycle from development through post-market surveillance.
The European Union implements the Medical Device Regulation (MDR) and In Vitro Diagnostic Regulation (IVDR), which introduced more stringent requirements for clinical evidence, post-market surveillance, and unique device identification. Self-powered sensors in telemedicine must comply with these regulations, with particular attention to the classification rules that determine conformity assessment procedures.
International standards play a crucial role in regulatory compliance. ISO 13485 for quality management systems, IEC 60601 for electrical medical equipment safety, and ISO 14971 for risk management are fundamental standards that manufacturers must adhere to. Additionally, specific standards for wireless communication (IEEE 802.15.6) and cybersecurity (IEC 80001) are increasingly important as telemedicine devices become more connected.
Data privacy regulations significantly impact self-powered sensor applications in telemedicine. In Europe, the General Data Protection Regulation (GDPR) imposes strict requirements on the processing of health data. Similarly, the Health Insurance Portability and Accountability Act (HIPAA) in the US establishes standards for the protection of sensitive patient data. These regulations necessitate robust data encryption, secure transmission protocols, and comprehensive patient consent mechanisms.
Emerging regulatory trends include the development of frameworks for artificial intelligence and machine learning in medical devices, with the FDA's proposed regulatory framework for AI/ML-based Software as a Medical Device (SaMD) being particularly relevant for advanced telemedicine sensors that incorporate predictive algorithms.
Regulatory harmonization efforts, such as the International Medical Device Regulators Forum (IMDRF), aim to reduce regulatory barriers across different jurisdictions. However, significant regional differences persist, creating challenges for global deployment of self-powered sensor technologies in telemedicine.
Compliance strategies for manufacturers include early engagement with regulatory bodies through pre-submission consultations, implementing design controls aligned with regulatory requirements, and developing comprehensive regulatory plans that address the entire product lifecycle from development through post-market surveillance.
Data Security and Privacy Considerations
The integration of self-powered sensors in telemedicine systems introduces significant data security and privacy challenges that must be addressed comprehensively. These autonomous sensing devices continuously collect sensitive patient health information, creating potential vulnerabilities throughout the data lifecycle. The wireless transmission protocols commonly used in self-powered sensor networks—including Bluetooth Low Energy, ZigBee, and proprietary protocols—each present distinct security profiles that must be evaluated against power consumption constraints.
Encryption mechanisms for self-powered sensors require special consideration due to energy limitations. Lightweight cryptographic algorithms such as PRESENT, SIMON, and SPECK have emerged as viable solutions, offering reasonable security guarantees while minimizing computational overhead. However, these algorithms must be carefully implemented to prevent side-channel attacks that could compromise patient data integrity.
Authentication frameworks present another critical challenge in self-powered telemedicine applications. Traditional authentication methods often demand substantial energy resources, necessitating the development of energy-aware authentication protocols. Recent innovations include physiological signal-based authentication systems that leverage unique biometric markers like ECG patterns or gait characteristics as authentication factors, enhancing security while maintaining energy efficiency.
Regulatory compliance adds another layer of complexity to self-powered sensor implementations in telemedicine. These systems must adhere to region-specific healthcare data protection frameworks including HIPAA in the United States, GDPR in Europe, and equivalent regulations in other jurisdictions. The autonomous nature of self-powered sensors creates unique compliance challenges, particularly regarding consent management and data minimization principles.
Data anonymization techniques have evolved specifically for resource-constrained environments. Differential privacy approaches adapted for self-powered sensors can protect individual patient identities while preserving statistical utility of collected health data. These techniques must balance privacy protection with clinical relevance, ensuring that anonymized data remains valuable for healthcare providers.
The physical security of self-powered sensors represents an often overlooked vulnerability. Tamper-resistant designs incorporating physical unclonable functions (PUFs) can provide hardware-level security guarantees without significant energy overhead. Additionally, secure boot mechanisms and trusted execution environments are being miniaturized for implementation in energy-harvesting sensor platforms, though significant challenges remain in their practical deployment.
Future security frameworks for self-powered telemedicine sensors will likely incorporate adaptive security measures that dynamically adjust protection levels based on available energy, contextual risk factors, and data sensitivity. This approach promises to optimize the security-energy balance while maintaining robust protection for sensitive patient information across diverse telemedicine applications.
Encryption mechanisms for self-powered sensors require special consideration due to energy limitations. Lightweight cryptographic algorithms such as PRESENT, SIMON, and SPECK have emerged as viable solutions, offering reasonable security guarantees while minimizing computational overhead. However, these algorithms must be carefully implemented to prevent side-channel attacks that could compromise patient data integrity.
Authentication frameworks present another critical challenge in self-powered telemedicine applications. Traditional authentication methods often demand substantial energy resources, necessitating the development of energy-aware authentication protocols. Recent innovations include physiological signal-based authentication systems that leverage unique biometric markers like ECG patterns or gait characteristics as authentication factors, enhancing security while maintaining energy efficiency.
Regulatory compliance adds another layer of complexity to self-powered sensor implementations in telemedicine. These systems must adhere to region-specific healthcare data protection frameworks including HIPAA in the United States, GDPR in Europe, and equivalent regulations in other jurisdictions. The autonomous nature of self-powered sensors creates unique compliance challenges, particularly regarding consent management and data minimization principles.
Data anonymization techniques have evolved specifically for resource-constrained environments. Differential privacy approaches adapted for self-powered sensors can protect individual patient identities while preserving statistical utility of collected health data. These techniques must balance privacy protection with clinical relevance, ensuring that anonymized data remains valuable for healthcare providers.
The physical security of self-powered sensors represents an often overlooked vulnerability. Tamper-resistant designs incorporating physical unclonable functions (PUFs) can provide hardware-level security guarantees without significant energy overhead. Additionally, secure boot mechanisms and trusted execution environments are being miniaturized for implementation in energy-harvesting sensor platforms, though significant challenges remain in their practical deployment.
Future security frameworks for self-powered telemedicine sensors will likely incorporate adaptive security measures that dynamically adjust protection levels based on available energy, contextual risk factors, and data sensitivity. This approach promises to optimize the security-energy balance while maintaining robust protection for sensitive patient information across diverse telemedicine applications.
Unlock deeper insights with Patsnap Eureka Quick Research — get a full tech report to explore trends and direct your research. Try now!
Generate Your Research Report Instantly with AI Agent
Supercharge your innovation with Patsnap Eureka AI Agent Platform!





