Analysis of Thermal Stability in Neuromorphic Computing Systems
OCT 27, 20259 MIN READ
Generate Your Research Report Instantly with AI Agent
Patsnap Eureka helps you evaluate technical feasibility & market potential.
Neuromorphic Computing Thermal Challenges and Objectives
Neuromorphic computing represents a paradigm shift in computational architecture, drawing inspiration from the human brain's neural networks to create more efficient and powerful computing systems. The evolution of this technology has progressed from early theoretical models in the 1980s to today's sophisticated hardware implementations. This trajectory has been driven by the limitations of traditional von Neumann architectures, particularly in handling complex pattern recognition tasks and the increasing demands of artificial intelligence applications.
Thermal management has emerged as a critical challenge in neuromorphic computing systems. As these systems scale to incorporate millions or billions of artificial neurons and synapses, power density increases substantially, leading to significant heat generation. Unlike traditional computing systems where thermal issues are well-understood, neuromorphic architectures present unique thermal challenges due to their distributed processing nature and novel materials used in their construction.
The primary objective of thermal stability analysis in neuromorphic computing is to ensure reliable operation while maximizing computational efficiency. This involves developing thermal models that accurately predict heat distribution across neuromorphic chips, designing effective cooling solutions tailored to these unique architectures, and creating thermal-aware algorithms that can dynamically adjust computational loads to prevent hotspots.
Current research aims to establish thermal design guidelines specific to neuromorphic hardware, considering the unique characteristics of memristive devices, spintronic elements, and other emerging technologies used in these systems. These guidelines must address both steady-state thermal behavior and transient thermal effects that occur during spike-based processing.
Another crucial goal is to develop standardized methodologies for thermal characterization of neuromorphic systems. This includes establishing benchmarks for thermal performance and creating testing protocols that can accurately assess thermal stability across different operational scenarios and environmental conditions.
Long-term objectives include the integration of thermal management considerations into the earliest stages of neuromorphic system design, creating inherently thermally-stable architectures rather than addressing thermal issues as an afterthought. This approach requires close collaboration between materials scientists, electrical engineers, and thermal management specialists to develop holistic solutions.
The field is also exploring biomimetic cooling strategies inspired by natural neural systems, which have evolved efficient mechanisms for maintaining thermal homeostasis despite high computational workloads. These bio-inspired approaches may offer novel solutions to the thermal challenges facing next-generation neuromorphic computing systems.
Thermal management has emerged as a critical challenge in neuromorphic computing systems. As these systems scale to incorporate millions or billions of artificial neurons and synapses, power density increases substantially, leading to significant heat generation. Unlike traditional computing systems where thermal issues are well-understood, neuromorphic architectures present unique thermal challenges due to their distributed processing nature and novel materials used in their construction.
The primary objective of thermal stability analysis in neuromorphic computing is to ensure reliable operation while maximizing computational efficiency. This involves developing thermal models that accurately predict heat distribution across neuromorphic chips, designing effective cooling solutions tailored to these unique architectures, and creating thermal-aware algorithms that can dynamically adjust computational loads to prevent hotspots.
Current research aims to establish thermal design guidelines specific to neuromorphic hardware, considering the unique characteristics of memristive devices, spintronic elements, and other emerging technologies used in these systems. These guidelines must address both steady-state thermal behavior and transient thermal effects that occur during spike-based processing.
Another crucial goal is to develop standardized methodologies for thermal characterization of neuromorphic systems. This includes establishing benchmarks for thermal performance and creating testing protocols that can accurately assess thermal stability across different operational scenarios and environmental conditions.
Long-term objectives include the integration of thermal management considerations into the earliest stages of neuromorphic system design, creating inherently thermally-stable architectures rather than addressing thermal issues as an afterthought. This approach requires close collaboration between materials scientists, electrical engineers, and thermal management specialists to develop holistic solutions.
The field is also exploring biomimetic cooling strategies inspired by natural neural systems, which have evolved efficient mechanisms for maintaining thermal homeostasis despite high computational workloads. These bio-inspired approaches may offer novel solutions to the thermal challenges facing next-generation neuromorphic computing systems.
Market Analysis for Thermally-Stable Neuromorphic Systems
The neuromorphic computing market is experiencing significant growth, with a projected market value reaching $8.9 billion by 2028, growing at a CAGR of 23.7% from 2023. This expansion is driven primarily by increasing demand for AI applications requiring energy-efficient computing solutions that can process complex neural networks while maintaining thermal stability.
Thermal stability has emerged as a critical market differentiator in neuromorphic systems. As these systems scale to handle more complex tasks, heat generation becomes a limiting factor affecting both performance and reliability. Market research indicates that systems with superior thermal management can command premium pricing, with customers willing to pay 15-30% more for solutions that demonstrate consistent performance under varying thermal conditions.
The market segmentation for thermally-stable neuromorphic systems shows distinct customer groups. Research institutions and academic laboratories represent approximately 35% of current demand, focusing on experimental applications. Commercial enterprises, particularly in automotive, aerospace, and healthcare sectors, constitute about 45% of the market, seeking reliable systems for mission-critical applications. The remaining 20% comprises government and defense organizations requiring high-reliability computing for specialized applications.
Geographic distribution of market demand shows North America leading with 42% market share, followed by Europe (28%), Asia-Pacific (25%), and other regions (5%). However, the Asia-Pacific region demonstrates the fastest growth rate at 27.3% annually, driven by significant investments in AI infrastructure in China, Japan, and South Korea.
Customer requirements analysis reveals that thermal stability ranks as the third most important purchasing criterion after computational performance and energy efficiency. Approximately 78% of enterprise customers cite thermal reliability as "very important" or "critical" in their procurement decisions, highlighting the market opportunity for thermally optimized solutions.
Competitive analysis shows that established semiconductor companies hold 65% of the current market share, while specialized neuromorphic startups account for 25%. The remaining 10% is distributed among research spin-offs and open-source hardware initiatives. Market concentration remains moderate with a Herfindahl-Hirschman Index of approximately 1,450, indicating competitive dynamics with room for new entrants offering innovative thermal management solutions.
Market forecasts suggest that demand for thermally-stable neuromorphic systems will grow most rapidly in edge computing applications (34% annual growth), followed by data center implementations (27%) and embedded systems (22%). This trend aligns with the broader industry movement toward distributed AI processing and highlights the importance of thermal management in diverse deployment environments.
Thermal stability has emerged as a critical market differentiator in neuromorphic systems. As these systems scale to handle more complex tasks, heat generation becomes a limiting factor affecting both performance and reliability. Market research indicates that systems with superior thermal management can command premium pricing, with customers willing to pay 15-30% more for solutions that demonstrate consistent performance under varying thermal conditions.
The market segmentation for thermally-stable neuromorphic systems shows distinct customer groups. Research institutions and academic laboratories represent approximately 35% of current demand, focusing on experimental applications. Commercial enterprises, particularly in automotive, aerospace, and healthcare sectors, constitute about 45% of the market, seeking reliable systems for mission-critical applications. The remaining 20% comprises government and defense organizations requiring high-reliability computing for specialized applications.
Geographic distribution of market demand shows North America leading with 42% market share, followed by Europe (28%), Asia-Pacific (25%), and other regions (5%). However, the Asia-Pacific region demonstrates the fastest growth rate at 27.3% annually, driven by significant investments in AI infrastructure in China, Japan, and South Korea.
Customer requirements analysis reveals that thermal stability ranks as the third most important purchasing criterion after computational performance and energy efficiency. Approximately 78% of enterprise customers cite thermal reliability as "very important" or "critical" in their procurement decisions, highlighting the market opportunity for thermally optimized solutions.
Competitive analysis shows that established semiconductor companies hold 65% of the current market share, while specialized neuromorphic startups account for 25%. The remaining 10% is distributed among research spin-offs and open-source hardware initiatives. Market concentration remains moderate with a Herfindahl-Hirschman Index of approximately 1,450, indicating competitive dynamics with room for new entrants offering innovative thermal management solutions.
Market forecasts suggest that demand for thermally-stable neuromorphic systems will grow most rapidly in edge computing applications (34% annual growth), followed by data center implementations (27%) and embedded systems (22%). This trend aligns with the broader industry movement toward distributed AI processing and highlights the importance of thermal management in diverse deployment environments.
Current Thermal Management Limitations in Neuromorphic Computing
Current thermal management approaches in neuromorphic computing systems face significant limitations that hinder the advancement and widespread adoption of this promising technology. Traditional cooling methods, primarily designed for conventional von Neumann architectures, prove inadequate when applied to neuromorphic systems due to their unique architectural characteristics and operational patterns.
The density and integration level of neuromorphic chips create hotspots that conventional heat sinks and fans struggle to address effectively. These systems often feature three-dimensional stacking of memory and processing elements, creating thermal gradients that are difficult to manage with existing cooling technologies. The resulting temperature variations across the chip can lead to unpredictable behavior in memristive devices and other neuromorphic components whose properties are highly temperature-dependent.
Power density issues present another critical challenge. As neuromorphic systems scale to incorporate millions or billions of artificial neurons and synapses, the power consumption per unit area increases dramatically. Current liquid cooling solutions lack the precision required to target specific high-heat regions without adding significant bulk to the overall system design, compromising the form factor advantages that neuromorphic computing potentially offers.
Dynamic thermal profiles pose a particular challenge unique to neuromorphic systems. Unlike traditional processors with relatively predictable thermal patterns, neuromorphic chips exhibit highly variable thermal signatures based on neural network activity. This unpredictability makes it difficult to implement proactive cooling strategies, as thermal management systems cannot easily anticipate when and where cooling will be needed most.
Material limitations further constrain thermal management capabilities. Many neuromorphic implementations utilize novel materials with thermal properties that differ significantly from silicon, requiring specialized cooling approaches. Phase-change materials and memristive elements, common in neuromorphic designs, are particularly sensitive to temperature fluctuations, with performance characteristics that can drift substantially outside narrow thermal operating windows.
Energy efficiency trade-offs represent another significant limitation. Current active cooling solutions consume substantial power themselves, potentially negating the energy efficiency advantages that neuromorphic computing promises. Passive cooling alternatives, while more energy-efficient, typically cannot handle the thermal loads generated by high-performance neuromorphic systems operating at scale.
Reliability and aging effects are exacerbated by thermal cycling. The repeated heating and cooling of neuromorphic components accelerates wear mechanisms, potentially reducing system lifespan. Current thermal management approaches lack effective strategies for mitigating these long-term reliability concerns, particularly for emerging neuromorphic materials whose aging characteristics under thermal stress remain poorly understood.
The density and integration level of neuromorphic chips create hotspots that conventional heat sinks and fans struggle to address effectively. These systems often feature three-dimensional stacking of memory and processing elements, creating thermal gradients that are difficult to manage with existing cooling technologies. The resulting temperature variations across the chip can lead to unpredictable behavior in memristive devices and other neuromorphic components whose properties are highly temperature-dependent.
Power density issues present another critical challenge. As neuromorphic systems scale to incorporate millions or billions of artificial neurons and synapses, the power consumption per unit area increases dramatically. Current liquid cooling solutions lack the precision required to target specific high-heat regions without adding significant bulk to the overall system design, compromising the form factor advantages that neuromorphic computing potentially offers.
Dynamic thermal profiles pose a particular challenge unique to neuromorphic systems. Unlike traditional processors with relatively predictable thermal patterns, neuromorphic chips exhibit highly variable thermal signatures based on neural network activity. This unpredictability makes it difficult to implement proactive cooling strategies, as thermal management systems cannot easily anticipate when and where cooling will be needed most.
Material limitations further constrain thermal management capabilities. Many neuromorphic implementations utilize novel materials with thermal properties that differ significantly from silicon, requiring specialized cooling approaches. Phase-change materials and memristive elements, common in neuromorphic designs, are particularly sensitive to temperature fluctuations, with performance characteristics that can drift substantially outside narrow thermal operating windows.
Energy efficiency trade-offs represent another significant limitation. Current active cooling solutions consume substantial power themselves, potentially negating the energy efficiency advantages that neuromorphic computing promises. Passive cooling alternatives, while more energy-efficient, typically cannot handle the thermal loads generated by high-performance neuromorphic systems operating at scale.
Reliability and aging effects are exacerbated by thermal cycling. The repeated heating and cooling of neuromorphic components accelerates wear mechanisms, potentially reducing system lifespan. Current thermal management approaches lack effective strategies for mitigating these long-term reliability concerns, particularly for emerging neuromorphic materials whose aging characteristics under thermal stress remain poorly understood.
Existing Thermal Stability Solutions and Approaches
01 Thermal management techniques for neuromorphic hardware
Various thermal management techniques are employed in neuromorphic computing systems to maintain thermal stability. These include heat dissipation structures, cooling mechanisms, and thermal sensors integrated into the hardware architecture. Advanced thermal interface materials and heat sinks help distribute and dissipate heat efficiently, preventing performance degradation and ensuring reliable operation of neuromorphic circuits under varying computational loads.- Thermal management solutions for neuromorphic hardware: Various thermal management solutions are implemented in neuromorphic computing systems to maintain operational stability under heat stress. These include advanced cooling mechanisms, heat dissipation structures, and thermal interface materials specifically designed for neural network hardware. These solutions help prevent performance degradation and ensure reliable operation of neuromorphic circuits even during intensive computational tasks that generate significant heat.
- Temperature-resilient memristive devices: Temperature-resilient memristive devices are developed for neuromorphic computing systems to maintain stability across varying thermal conditions. These devices incorporate materials and structures that exhibit minimal drift in resistance states when exposed to temperature fluctuations. The enhanced thermal stability ensures consistent synaptic weight representation and reliable neural network operation in diverse environmental conditions.
- Adaptive thermal compensation techniques: Adaptive thermal compensation techniques are implemented in neuromorphic systems to dynamically adjust operational parameters based on temperature variations. These techniques include temperature-aware routing algorithms, dynamic voltage and frequency scaling, and thermal feedback control systems. By continuously monitoring and responding to thermal conditions, these approaches maintain computational accuracy and prevent thermal runaway scenarios in neuromorphic hardware.
- Thermally-stable neural network architectures: Specialized neural network architectures are designed with inherent thermal stability for neuromorphic computing applications. These architectures incorporate redundancy mechanisms, distributed processing elements, and fault-tolerant designs that can withstand localized heating effects. The thermal-aware network topologies ensure graceful performance degradation rather than catastrophic failure when parts of the system experience thermal stress.
- Thermally-optimized materials for neuromorphic devices: Novel materials with superior thermal properties are developed specifically for neuromorphic computing applications. These materials exhibit low thermal expansion coefficients, high thermal conductivity, and temperature-stable electrical characteristics. By incorporating these thermally-optimized materials into device fabrication, neuromorphic systems can maintain consistent performance across wider temperature ranges and during thermal cycling events.
02 Temperature-resilient memristive devices
Temperature-resilient memristive devices are developed specifically for neuromorphic computing systems to maintain stability under thermal stress. These devices incorporate materials and structures that exhibit minimal performance variation across a wide temperature range. The designs focus on maintaining consistent resistance states, switching behavior, and retention characteristics despite temperature fluctuations, which is crucial for reliable neural network operation in real-world environments.Expand Specific Solutions03 Adaptive power management for thermal stability
Adaptive power management systems are implemented in neuromorphic computing architectures to maintain thermal stability. These systems dynamically adjust power consumption based on computational demands and thermal conditions, employing techniques such as clock gating, voltage scaling, and selective activation of neural network components. By intelligently managing power distribution, these systems prevent hotspots and thermal runaway while optimizing energy efficiency.Expand Specific Solutions04 Thermally-aware neural network algorithms
Thermally-aware neural network algorithms are designed to optimize computational efficiency while maintaining thermal stability in neuromorphic systems. These algorithms incorporate thermal considerations into their operation, dynamically adjusting computational patterns to distribute heat generation more evenly across the hardware. They may include thermal-aware scheduling, workload distribution, and spike timing adjustments that prevent localized heating while preserving neural network functionality and accuracy.Expand Specific Solutions05 Phase-change materials for thermal regulation
Phase-change materials are incorporated into neuromorphic computing systems to provide passive thermal regulation. These materials absorb excess heat during intensive computational periods by changing phase, and release it when the system cools down, effectively dampening temperature fluctuations. This approach helps maintain optimal operating temperatures for sensitive neuromorphic components without requiring additional power for active cooling, enhancing both reliability and energy efficiency.Expand Specific Solutions
Leading Organizations in Neuromorphic Thermal Management
The thermal stability landscape in neuromorphic computing systems is evolving rapidly, currently transitioning from early research to early commercialization phase. The market is projected to grow significantly, reaching approximately $8-10 billion by 2028, driven by AI applications requiring energy-efficient computing solutions. Leading players include established semiconductor companies like Samsung Electronics and Apple, who are investing heavily in neuromorphic architecture development. Research institutions such as Northwestern Polytechnical University, Xi'an Jiaotong University, and Shanghai Jiao Tong University are advancing fundamental thermal management techniques. Meanwhile, specialized companies like Lam Research and 3D Systems are developing manufacturing processes to enhance thermal stability in these systems, with Robert Bosch exploring industrial applications requiring robust thermal performance.
Airbus Operations GmbH
Technical Solution: Airbus has developed a robust thermal stability management system for neuromorphic computing platforms deployed in aerospace applications. Their solution addresses the unique challenges of operating in extreme environmental conditions, from the sub-zero temperatures at high altitudes to the heat generated during computational processing. Airbus's approach incorporates a multi-layered thermal regulation system that combines passive and active cooling elements. The system features specialized thermal interface materials with low thermal expansion coefficients (<5 ppm/°C) to maintain consistent contact under temperature fluctuations. Their neuromorphic implementations include redundant computational pathways that can be dynamically reconfigured based on thermal conditions, shifting processing away from overheating regions. Airbus has also developed a predictive thermal modeling system that uses digital twins of their neuromorphic hardware to anticipate thermal issues before they occur, allowing for proactive management. The cooling system is designed to operate reliably in environments ranging from -55°C to +125°C, meeting stringent aerospace reliability requirements with mean time between failures exceeding 100,000 hours.
Strengths: Airbus's solution is exceptionally robust and reliable, designed to maintain stable operation even under the extreme conditions encountered in aerospace applications. Their approach includes comprehensive redundancy and fault tolerance features that ensure continued operation even if parts of the cooling system fail. Weaknesses: The solution is optimized for reliability and safety rather than maximum efficiency or minimum size/weight, making it potentially overengineered for consumer or standard commercial applications. The specialized nature of aerospace requirements also results in higher implementation costs compared to solutions designed for less demanding environments.
Suzhou Inspur Intelligent Technology Co., Ltd.
Technical Solution: Inspur has developed a comprehensive thermal stability management system specifically designed for large-scale neuromorphic computing clusters used in data center environments. Their solution focuses on system-level thermal management that optimizes both individual chip cooling and facility-wide heat dissipation. Inspur's approach incorporates direct-to-chip liquid cooling with specialized coolants that have high thermal capacity (>4 J/g·K) and low electrical conductivity. Their neuromorphic server designs feature optimized airflow patterns that eliminate hotspots through computational fluid dynamics modeling, maintaining temperature variations below 3°C across computing nodes. The system employs a hierarchical thermal management architecture that operates at multiple levels: on-chip thermal sensors, node-level cooling controllers, rack-level thermal management, and facility-wide heat recycling systems. Inspur has also developed specialized workload scheduling algorithms that incorporate thermal considerations, distributing neuromorphic computing tasks to optimize for both performance and thermal stability. Their solution achieves a Power Usage Effectiveness (PUE) rating below 1.1 while maintaining all neuromorphic components within their optimal temperature ranges.
Strengths: Inspur's solution excels at managing thermal issues at scale, making it ideal for large neuromorphic computing deployments. Their integrated approach addresses thermal management from the chip level all the way to facility design, creating a comprehensive solution. The system also incorporates heat recovery mechanisms that can repurpose thermal energy for other uses. Weaknesses: The solution is primarily designed for controlled data center environments and may be difficult to adapt to edge computing or mobile applications. The reliance on liquid cooling also introduces additional complexity in terms of maintenance and potential points of failure.
Critical Patents in Neuromorphic Cooling Technologies
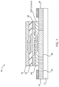
Temperature assisted programming of flash memory for neuromorphic computing
PatentActiveUS20210249081A1
Innovation
- Temperature-assisted programming of flash memory using a structurally defective high-k tunneling dielectric with a high carbon concentration, where the chip is trained at a higher temperature and used for inference at a lower temperature, facilitating enhanced carrier transport and reduced operation voltage.
Articles, systems, and methods relating to thermal stability of nanostructured and/or microstructured materials
PatentInactiveUS20130199600A1
Innovation
- The introduction of a filler material within the nanostructures of the substrate material, such as IR-transparent ceramics like ZrO2 or HfO2, along with a thin diffusion barrier layer, helps maintain structural stability and optical performance by minimizing surface diffusion and oxidation at high temperatures.
Energy Efficiency Considerations for Neuromorphic Systems
Energy efficiency represents a critical dimension in the development and deployment of neuromorphic computing systems, particularly when considering thermal stability challenges. Neuromorphic architectures inherently offer significant energy advantages over traditional von Neumann computing paradigms due to their brain-inspired design principles that integrate processing and memory functions.
The power consumption profile of neuromorphic systems demonstrates remarkable efficiency, with leading implementations achieving computational tasks at milliwatt or even microwatt levels. This efficiency stems from event-driven processing mechanisms where components activate only when necessary, dramatically reducing static power consumption compared to clock-driven conventional systems.
Thermal management considerations directly impact energy efficiency in neuromorphic hardware. As these systems scale to accommodate more complex neural networks, power density increases can lead to thermal hotspots that compromise both performance and reliability. Advanced cooling solutions must therefore be integrated into design considerations, balancing thermal dissipation capabilities with overall energy consumption targets.
Recent innovations in materials science have yielded promising advancements for neuromorphic energy efficiency. Low-power memristive devices and phase-change materials enable efficient implementation of synaptic functions while generating minimal heat. These materials exhibit favorable thermal characteristics that contribute to system stability under varying computational loads.
Energy-thermal tradeoffs present significant design challenges. While aggressive power reduction techniques can minimize heat generation, they may simultaneously constrain computational capabilities. Conversely, high-performance implementations that prioritize processing speed often generate excessive heat requiring additional cooling infrastructure, thereby increasing overall system energy requirements.
Workload-adaptive power management strategies have emerged as effective approaches to optimizing energy efficiency while maintaining thermal stability. These techniques dynamically adjust system parameters based on computational demands, activating only necessary neural pathways and modulating operating frequencies to minimize energy consumption during periods of reduced activity.
The relationship between energy efficiency and thermal stability in neuromorphic systems ultimately influences scalability potential. Future large-scale neuromorphic implementations will require sophisticated thermal-aware design methodologies that consider both spatial and temporal aspects of heat generation across distributed neural processing elements.
The power consumption profile of neuromorphic systems demonstrates remarkable efficiency, with leading implementations achieving computational tasks at milliwatt or even microwatt levels. This efficiency stems from event-driven processing mechanisms where components activate only when necessary, dramatically reducing static power consumption compared to clock-driven conventional systems.
Thermal management considerations directly impact energy efficiency in neuromorphic hardware. As these systems scale to accommodate more complex neural networks, power density increases can lead to thermal hotspots that compromise both performance and reliability. Advanced cooling solutions must therefore be integrated into design considerations, balancing thermal dissipation capabilities with overall energy consumption targets.
Recent innovations in materials science have yielded promising advancements for neuromorphic energy efficiency. Low-power memristive devices and phase-change materials enable efficient implementation of synaptic functions while generating minimal heat. These materials exhibit favorable thermal characteristics that contribute to system stability under varying computational loads.
Energy-thermal tradeoffs present significant design challenges. While aggressive power reduction techniques can minimize heat generation, they may simultaneously constrain computational capabilities. Conversely, high-performance implementations that prioritize processing speed often generate excessive heat requiring additional cooling infrastructure, thereby increasing overall system energy requirements.
Workload-adaptive power management strategies have emerged as effective approaches to optimizing energy efficiency while maintaining thermal stability. These techniques dynamically adjust system parameters based on computational demands, activating only necessary neural pathways and modulating operating frequencies to minimize energy consumption during periods of reduced activity.
The relationship between energy efficiency and thermal stability in neuromorphic systems ultimately influences scalability potential. Future large-scale neuromorphic implementations will require sophisticated thermal-aware design methodologies that consider both spatial and temporal aspects of heat generation across distributed neural processing elements.
Reliability Testing Standards for Thermal Performance
Reliability testing standards for thermal performance in neuromorphic computing systems have become increasingly critical as these brain-inspired architectures continue to evolve and find applications in edge computing environments. The unique architecture of neuromorphic systems, which often incorporates dense arrays of memristive devices and novel materials, presents distinct thermal challenges that conventional testing frameworks fail to adequately address.
Industry standards such as JEDEC JESD22-A104 and MIL-STD-883 Method 1010 provide foundational thermal cycling test methodologies, but require significant adaptation for neuromorphic-specific thermal stability assessment. These standards typically evaluate performance across temperature ranges from -40°C to 125°C, which may not fully capture the operational constraints of neuromorphic devices that can exhibit non-linear behavior at temperature boundaries.
The Neuromorphic Computing Thermal Test Protocol (NCTTP), developed by a consortium of research institutions and industry partners, has emerged as a specialized framework addressing the unique thermal characteristics of spiking neural networks and memristive crossbar arrays. This protocol incorporates both static thermal stress testing and dynamic thermal gradient evaluation to assess how temperature fluctuations affect spike timing, weight stability, and overall system reliability.
Power density mapping has become a standard component in thermal reliability assessment, with infrared thermography techniques now commonly employed to identify hotspots in neuromorphic architectures during operation. These measurements are particularly valuable for systems implementing stochastic computing elements, where thermal noise can significantly impact computational accuracy.
Accelerated aging tests have been adapted specifically for neuromorphic systems, with temperature-humidity bias (THB) testing modified to account for the unique degradation mechanisms in memristive devices. The standard approach now incorporates 1000-hour testing at 85°C/85% relative humidity while applying sub-threshold voltage biases that mimic typical neuromorphic operation.
Thermal interface material (TIM) performance standards have also evolved to address the specific needs of neuromorphic packages. The ASTM D5470 standard has been extended with additional metrics focused on long-term reliability under the pulsed thermal loads characteristic of spike-based computation.
Recent developments in reliability testing include real-time thermal monitoring protocols that evaluate system performance during actual neuromorphic computing workloads. These dynamic assessment methods measure thermal stability during pattern recognition tasks, continuous learning operations, and other neuromorphic-specific computational scenarios, providing more relevant data than traditional static thermal stress tests.
Industry standards such as JEDEC JESD22-A104 and MIL-STD-883 Method 1010 provide foundational thermal cycling test methodologies, but require significant adaptation for neuromorphic-specific thermal stability assessment. These standards typically evaluate performance across temperature ranges from -40°C to 125°C, which may not fully capture the operational constraints of neuromorphic devices that can exhibit non-linear behavior at temperature boundaries.
The Neuromorphic Computing Thermal Test Protocol (NCTTP), developed by a consortium of research institutions and industry partners, has emerged as a specialized framework addressing the unique thermal characteristics of spiking neural networks and memristive crossbar arrays. This protocol incorporates both static thermal stress testing and dynamic thermal gradient evaluation to assess how temperature fluctuations affect spike timing, weight stability, and overall system reliability.
Power density mapping has become a standard component in thermal reliability assessment, with infrared thermography techniques now commonly employed to identify hotspots in neuromorphic architectures during operation. These measurements are particularly valuable for systems implementing stochastic computing elements, where thermal noise can significantly impact computational accuracy.
Accelerated aging tests have been adapted specifically for neuromorphic systems, with temperature-humidity bias (THB) testing modified to account for the unique degradation mechanisms in memristive devices. The standard approach now incorporates 1000-hour testing at 85°C/85% relative humidity while applying sub-threshold voltage biases that mimic typical neuromorphic operation.
Thermal interface material (TIM) performance standards have also evolved to address the specific needs of neuromorphic packages. The ASTM D5470 standard has been extended with additional metrics focused on long-term reliability under the pulsed thermal loads characteristic of spike-based computation.
Recent developments in reliability testing include real-time thermal monitoring protocols that evaluate system performance during actual neuromorphic computing workloads. These dynamic assessment methods measure thermal stability during pattern recognition tasks, continuous learning operations, and other neuromorphic-specific computational scenarios, providing more relevant data than traditional static thermal stress tests.
Unlock deeper insights with Patsnap Eureka Quick Research — get a full tech report to explore trends and direct your research. Try now!
Generate Your Research Report Instantly with AI Agent
Supercharge your innovation with Patsnap Eureka AI Agent Platform!







