Comparison of Material Parameters in Neuromorphic and Analog Computing
OCT 27, 20259 MIN READ
Generate Your Research Report Instantly with AI Agent
Patsnap Eureka helps you evaluate technical feasibility & market potential.
Neuromorphic Computing Evolution and Objectives
Neuromorphic computing represents a paradigm shift in computational architecture, drawing inspiration from the structure and function of biological neural systems. The evolution of this field can be traced back to the late 1980s when Carver Mead first introduced the concept of using analog VLSI systems to mimic neuro-biological architectures. This pioneering work laid the foundation for what would become a transformative approach to computing, particularly relevant in today's era of big data and artificial intelligence.
The trajectory of neuromorphic computing has been marked by several significant milestones. In the 1990s, research primarily focused on developing basic neural circuit elements. The 2000s witnessed the emergence of more sophisticated neuromorphic systems capable of implementing learning algorithms. The 2010s brought about large-scale neuromorphic chips such as IBM's TrueNorth and Intel's Loihi, demonstrating the feasibility of neuromorphic architectures at scale.
Material science has played a crucial role in this evolution. Traditional CMOS technology initially dominated neuromorphic implementations, but limitations in energy efficiency and scalability prompted exploration of alternative materials. The introduction of memristive devices in the late 2000s represented a significant breakthrough, offering non-volatile memory capabilities that closely resemble synaptic behavior.
Recent years have seen an acceleration in material innovation for neuromorphic systems. Phase-change materials, ferroelectric devices, and spintronic components have emerged as promising candidates for implementing neural and synaptic functions. These materials offer advantages in terms of power consumption, switching speed, and integration density compared to conventional analog computing materials.
The primary objectives driving neuromorphic computing development are multifaceted. Energy efficiency stands as a paramount goal, with neuromorphic systems aiming to achieve computational capabilities at a fraction of the power consumption of traditional von Neumann architectures. This is particularly critical for edge computing applications where power constraints are significant.
Another key objective is achieving real-time processing of sensory data, mimicking the brain's ability to process complex information streams efficiently. This capability is essential for applications in robotics, autonomous vehicles, and advanced sensor networks.
Adaptability and learning represent additional crucial goals. Neuromorphic systems strive to incorporate on-chip learning mechanisms that enable adaptation to new data without extensive retraining, similar to biological neural networks. This objective necessitates materials with specific properties that can support spike-timing-dependent plasticity and other biologically inspired learning rules.
As the field progresses, the convergence of material science, neuroscience, and computer engineering continues to drive innovation, with each advance bringing us closer to computing systems that truly emulate the efficiency and capabilities of biological neural networks.
The trajectory of neuromorphic computing has been marked by several significant milestones. In the 1990s, research primarily focused on developing basic neural circuit elements. The 2000s witnessed the emergence of more sophisticated neuromorphic systems capable of implementing learning algorithms. The 2010s brought about large-scale neuromorphic chips such as IBM's TrueNorth and Intel's Loihi, demonstrating the feasibility of neuromorphic architectures at scale.
Material science has played a crucial role in this evolution. Traditional CMOS technology initially dominated neuromorphic implementations, but limitations in energy efficiency and scalability prompted exploration of alternative materials. The introduction of memristive devices in the late 2000s represented a significant breakthrough, offering non-volatile memory capabilities that closely resemble synaptic behavior.
Recent years have seen an acceleration in material innovation for neuromorphic systems. Phase-change materials, ferroelectric devices, and spintronic components have emerged as promising candidates for implementing neural and synaptic functions. These materials offer advantages in terms of power consumption, switching speed, and integration density compared to conventional analog computing materials.
The primary objectives driving neuromorphic computing development are multifaceted. Energy efficiency stands as a paramount goal, with neuromorphic systems aiming to achieve computational capabilities at a fraction of the power consumption of traditional von Neumann architectures. This is particularly critical for edge computing applications where power constraints are significant.
Another key objective is achieving real-time processing of sensory data, mimicking the brain's ability to process complex information streams efficiently. This capability is essential for applications in robotics, autonomous vehicles, and advanced sensor networks.
Adaptability and learning represent additional crucial goals. Neuromorphic systems strive to incorporate on-chip learning mechanisms that enable adaptation to new data without extensive retraining, similar to biological neural networks. This objective necessitates materials with specific properties that can support spike-timing-dependent plasticity and other biologically inspired learning rules.
As the field progresses, the convergence of material science, neuroscience, and computer engineering continues to drive innovation, with each advance bringing us closer to computing systems that truly emulate the efficiency and capabilities of biological neural networks.
Market Analysis for Brain-Inspired Computing Solutions
The brain-inspired computing market is experiencing significant growth, driven by the increasing demand for efficient processing of complex data patterns and the limitations of traditional computing architectures. Current market valuations place the neuromorphic computing sector at approximately $3.1 billion in 2023, with projections indicating a compound annual growth rate of 24.7% through 2030, potentially reaching $15.8 billion by the end of the decade.
Key market segments for brain-inspired computing solutions include autonomous vehicles, robotics, healthcare diagnostics, natural language processing, and advanced security systems. The healthcare segment shows particularly strong potential, with neuromorphic systems enabling more efficient processing of medical imaging data and real-time patient monitoring. Meanwhile, the automotive industry is increasingly adopting these technologies for sensor fusion and real-time decision-making in autonomous driving systems.
Regional analysis reveals North America currently dominates the market with approximately 42% share, followed by Europe and Asia-Pacific. However, the Asia-Pacific region is expected to witness the fastest growth rate due to substantial investments in AI research and development by countries like China, Japan, and South Korea.
Material parameters play a crucial role in market differentiation. Companies utilizing phase-change materials in their neuromorphic designs report 30-40% higher energy efficiency compared to those using conventional CMOS-based approaches. Similarly, memristor-based solutions demonstrate superior performance in pattern recognition tasks, achieving up to 60% reduction in power consumption compared to traditional computing architectures.
Customer demand is increasingly focused on energy efficiency, with 78% of enterprise customers citing power consumption as a critical factor in adoption decisions. This trend particularly benefits analog computing approaches, which typically offer 10-100x better energy efficiency for certain workloads compared to digital implementations.
Market barriers include high initial development costs, with specialized material fabrication requiring substantial capital investment. Additionally, the lack of standardized programming paradigms and limited developer expertise present significant adoption challenges. Companies offering comprehensive development ecosystems alongside their hardware solutions are gaining competitive advantage.
The competitive landscape features established technology giants like IBM, Intel, and Samsung, alongside specialized startups such as BrainChip, SynSense, and Mythic. Recent market consolidation has seen larger companies acquiring promising startups to secure intellectual property related to novel material implementations for neuromorphic computing.
Key market segments for brain-inspired computing solutions include autonomous vehicles, robotics, healthcare diagnostics, natural language processing, and advanced security systems. The healthcare segment shows particularly strong potential, with neuromorphic systems enabling more efficient processing of medical imaging data and real-time patient monitoring. Meanwhile, the automotive industry is increasingly adopting these technologies for sensor fusion and real-time decision-making in autonomous driving systems.
Regional analysis reveals North America currently dominates the market with approximately 42% share, followed by Europe and Asia-Pacific. However, the Asia-Pacific region is expected to witness the fastest growth rate due to substantial investments in AI research and development by countries like China, Japan, and South Korea.
Material parameters play a crucial role in market differentiation. Companies utilizing phase-change materials in their neuromorphic designs report 30-40% higher energy efficiency compared to those using conventional CMOS-based approaches. Similarly, memristor-based solutions demonstrate superior performance in pattern recognition tasks, achieving up to 60% reduction in power consumption compared to traditional computing architectures.
Customer demand is increasingly focused on energy efficiency, with 78% of enterprise customers citing power consumption as a critical factor in adoption decisions. This trend particularly benefits analog computing approaches, which typically offer 10-100x better energy efficiency for certain workloads compared to digital implementations.
Market barriers include high initial development costs, with specialized material fabrication requiring substantial capital investment. Additionally, the lack of standardized programming paradigms and limited developer expertise present significant adoption challenges. Companies offering comprehensive development ecosystems alongside their hardware solutions are gaining competitive advantage.
The competitive landscape features established technology giants like IBM, Intel, and Samsung, alongside specialized startups such as BrainChip, SynSense, and Mythic. Recent market consolidation has seen larger companies acquiring promising startups to secure intellectual property related to novel material implementations for neuromorphic computing.
Material Challenges in Neuromorphic vs. Analog Computing
Both neuromorphic and analog computing systems face significant material challenges that fundamentally impact their performance, efficiency, and scalability. In neuromorphic computing, materials must exhibit specific properties to mimic biological neural functions, particularly for implementing synaptic plasticity and neural dynamics. The primary challenge lies in developing materials with reliable memristive properties that can maintain consistent performance over millions of switching cycles while operating at low power.
Resistive Random Access Memory (RRAM) and Phase Change Memory (PCM) materials show promise for neuromorphic applications but struggle with issues of variability and retention. RRAM devices based on metal oxides like HfO₂ and TaO₂ exhibit stochastic filament formation processes that introduce cycle-to-cycle variations, compromising computational reliability. Similarly, PCM materials face challenges with thermal stability and drift in resistance states over time.
Analog computing systems, while sharing some material requirements with neuromorphic systems, prioritize different parameters. These systems demand materials with highly linear response characteristics and precise control over resistance values. The primary challenge is achieving consistent analog behavior across large arrays of devices while maintaining immunity to environmental factors such as temperature fluctuations.
Ferroelectric materials like HZO (Hafnium Zirconium Oxide) present promising characteristics for both computing paradigms but face integration challenges with CMOS processes. The crystallization temperatures required for optimal ferroelectric properties often exceed the thermal budget of back-end-of-line processing, limiting their practical implementation.
Interface engineering represents another critical challenge, as the electrical properties at material interfaces often dominate device performance. Controlling atomic-level interactions between electrode materials and active switching layers requires sophisticated deposition techniques and careful material selection to minimize undesired electrochemical reactions.
Scaling presents perhaps the most formidable challenge for both computing approaches. As device dimensions shrink below 10nm, quantum effects begin to dominate, introducing additional variability. Materials that perform well at larger dimensions often exhibit dramatically different behaviors at nanoscale, necessitating fundamental rethinking of material selection and device architecture.
The development of multi-functional materials capable of simultaneously addressing multiple requirements—low power operation, high endurance, fast switching speed, and long retention—remains an elusive goal. Current materials typically excel in some parameters while compromising others, forcing system designers to make difficult tradeoffs based on application requirements.
Resistive Random Access Memory (RRAM) and Phase Change Memory (PCM) materials show promise for neuromorphic applications but struggle with issues of variability and retention. RRAM devices based on metal oxides like HfO₂ and TaO₂ exhibit stochastic filament formation processes that introduce cycle-to-cycle variations, compromising computational reliability. Similarly, PCM materials face challenges with thermal stability and drift in resistance states over time.
Analog computing systems, while sharing some material requirements with neuromorphic systems, prioritize different parameters. These systems demand materials with highly linear response characteristics and precise control over resistance values. The primary challenge is achieving consistent analog behavior across large arrays of devices while maintaining immunity to environmental factors such as temperature fluctuations.
Ferroelectric materials like HZO (Hafnium Zirconium Oxide) present promising characteristics for both computing paradigms but face integration challenges with CMOS processes. The crystallization temperatures required for optimal ferroelectric properties often exceed the thermal budget of back-end-of-line processing, limiting their practical implementation.
Interface engineering represents another critical challenge, as the electrical properties at material interfaces often dominate device performance. Controlling atomic-level interactions between electrode materials and active switching layers requires sophisticated deposition techniques and careful material selection to minimize undesired electrochemical reactions.
Scaling presents perhaps the most formidable challenge for both computing approaches. As device dimensions shrink below 10nm, quantum effects begin to dominate, introducing additional variability. Materials that perform well at larger dimensions often exhibit dramatically different behaviors at nanoscale, necessitating fundamental rethinking of material selection and device architecture.
The development of multi-functional materials capable of simultaneously addressing multiple requirements—low power operation, high endurance, fast switching speed, and long retention—remains an elusive goal. Current materials typically excel in some parameters while compromising others, forcing system designers to make difficult tradeoffs based on application requirements.
Current Material Solutions for Neuromorphic Architectures
01 Memristive materials for neuromorphic computing
Memristive materials are crucial for neuromorphic computing systems as they can mimic synaptic behavior. These materials exhibit variable resistance states that can be modulated by electrical stimuli, allowing them to store and process information simultaneously. Key material parameters include switching threshold voltages, resistance ratios between high and low states, endurance, and retention time. Optimization of these parameters enables efficient implementation of neural network algorithms in hardware.- Memristive materials for neuromorphic computing: Memristive materials are crucial for neuromorphic computing systems as they can mimic synaptic behavior. These materials exhibit variable resistance states that can be modulated by electrical stimuli, allowing them to store and process information simultaneously. Key material parameters include switching threshold voltages, resistance ratios between high and low states, endurance, and retention time. Optimization of these parameters enables efficient implementation of neural network algorithms in hardware.
- Phase-change materials in analog computing devices: Phase-change materials (PCMs) are widely used in neuromorphic and analog computing due to their ability to rapidly switch between amorphous and crystalline states. The material parameters of PCMs, such as crystallization temperature, thermal conductivity, and melting point, significantly influence the performance of computing devices. These materials enable multi-level resistance states that can represent synaptic weights in neural networks, allowing for efficient implementation of analog computing functions.
- Ferroelectric materials for low-power neuromorphic systems: Ferroelectric materials offer unique advantages for neuromorphic computing due to their non-volatile polarization states and low power consumption. Key material parameters include remnant polarization, coercive field strength, and switching speed. These properties enable the implementation of synaptic functions with minimal energy requirements. Ferroelectric tunnel junctions and ferroelectric field-effect transistors can be designed with specific material compositions to achieve desired computational characteristics while maintaining energy efficiency.
- 2D materials and heterostructures for flexible computing: Two-dimensional materials and their heterostructures offer exceptional flexibility and scalability for neuromorphic computing applications. Material parameters such as layer thickness, bandgap, carrier mobility, and interface properties significantly impact device performance. These materials enable the fabrication of ultra-thin, flexible computing devices with tunable electronic properties. The ability to create atomically precise heterostructures allows for customized device characteristics suitable for various analog computing functions.
- Magnetic materials for spintronic neuromorphic devices: Magnetic materials are increasingly important in neuromorphic computing due to their non-volatile nature and energy efficiency. Key material parameters include magnetic anisotropy, saturation magnetization, and spin polarization. These properties enable the implementation of magnetic tunnel junctions and spin-orbit torque devices that can emulate synaptic and neuronal functions. Spintronic devices based on these materials offer advantages in terms of switching speed, endurance, and power consumption compared to conventional electronic components.
02 Phase-change materials in computing devices
Phase-change materials (PCMs) are employed in neuromorphic and analog computing for their ability to rapidly switch between amorphous and crystalline states. These materials exhibit different electrical resistivity based on their phase, enabling multi-level storage capabilities. Critical material parameters include crystallization temperature, melting point, thermal conductivity, and switching speed. PCMs can be engineered to achieve precise resistance levels required for weighted connections in artificial neural networks.Expand Specific Solutions03 Ferroelectric materials for low-power computing
Ferroelectric materials provide non-volatile memory capabilities with low power consumption for neuromorphic computing applications. These materials exhibit spontaneous electric polarization that can be reversed by an applied electric field. Key parameters include coercive field strength, remnant polarization, switching energy, and fatigue characteristics. The tunable polarization states of ferroelectric materials enable analog weight storage for neural network implementations with high energy efficiency.Expand Specific Solutions04 2D materials and heterostructures
Two-dimensional materials and their heterostructures offer unique properties for neuromorphic computing due to their atomically thin nature. These materials exhibit tunable electronic properties, high carrier mobility, and mechanical flexibility. Important parameters include layer thickness, bandgap, defect density, and interface quality. 2D material-based devices can achieve ultra-low power consumption and high integration density, making them promising candidates for next-generation neuromorphic systems.Expand Specific Solutions05 Magnetic materials for spintronic computing
Magnetic materials enable spintronic approaches to neuromorphic and analog computing by utilizing electron spin for information processing. These materials can implement magnetic tunnel junctions and domain wall motion devices that mimic neuronal and synaptic functions. Critical parameters include magnetic anisotropy, saturation magnetization, exchange coupling strength, and spin polarization. Spintronic devices offer non-volatility, high endurance, and fast switching speeds suitable for brain-inspired computing architectures.Expand Specific Solutions
Leading Organizations in Neuromorphic Material Research
The neuromorphic and analog computing market is currently in an early growth phase, characterized by significant research activity but limited commercial deployment. The global market size is estimated to reach $10-15 billion by 2030, driven by increasing demand for energy-efficient computing solutions. Technologically, the field shows varying maturity levels across different material platforms. Leading players like IBM and Samsung Electronics are advancing silicon-based neuromorphic systems with established fabrication processes, while newer entrants such as Polyn Technology and Syntiant are developing specialized analog AI chips for edge applications. Research institutions including Peking University, CNRS, and Zhejiang University are exploring novel materials like memristors and phase-change memory. The competitive landscape features both established semiconductor giants (SK Hynix, Canon) and specialized startups, indicating a dynamic ecosystem with significant innovation potential but still-evolving commercial applications.
Samsung Electronics Co., Ltd.
Technical Solution: Samsung has made significant advancements in comparing and optimizing material parameters for neuromorphic and analog computing systems. Their research focuses on utilizing their expertise in memory technologies, particularly MRAM (Magnetoresistive Random Access Memory) and PRAM (Phase-change Random Access Memory), to develop efficient neuromorphic computing architectures. Samsung's approach involves engineering materials with precise magnetic or phase-change properties that can represent synaptic weights in neural networks. Their comparative studies show that their STT-MRAM (Spin-Transfer Torque MRAM) materials achieve switching energies as low as 100 fJ per operation, significantly lower than conventional CMOS implementations. Samsung has also developed specialized oxide-based materials for resistive RAM (ReRAM) that demonstrate excellent analog switching characteristics, with over 64 distinguishable resistance states in a single cell, enabling efficient implementation of artificial neural networks. Their research indicates that these materials can achieve linear and symmetric weight updates, which are crucial for training neural networks directly on neuromorphic hardware[4][5]. Samsung has integrated these materials into their neuromorphic processing units, demonstrating energy efficiencies of less than 10 pJ per synaptic operation.
Strengths: Samsung's vertical integration capabilities allow them to optimize material parameters across the entire manufacturing stack, from basic materials to complete systems. Their extensive experience in memory technologies gives them unique insights into materials suitable for neuromorphic computing. Weaknesses: Some of Samsung's neuromorphic materials require specialized fabrication processes that may increase manufacturing costs, and their solutions may face challenges in achieving the reliability and endurance required for commercial applications.
International Business Machines Corp.
Technical Solution: IBM has pioneered neuromorphic computing through its TrueNorth and subsequent architectures. Their approach focuses on comparing and optimizing material parameters for both neuromorphic and analog computing systems. IBM's neuromorphic chips utilize phase-change memory (PCM) materials that exhibit both volatile and non-volatile characteristics, enabling them to mimic synaptic plasticity. Their research demonstrates that PCM-based neuromorphic systems can achieve 100-1000x improvement in energy efficiency compared to conventional von Neumann architectures when implementing neural networks. IBM has also developed specialized materials with tunable resistance states that can represent multiple bits per cell, increasing memory density while maintaining computational efficiency. Their comparative analysis shows that hafnium oxide-based resistive RAM (RRAM) materials offer superior switching speed (sub-nanosecond) compared to other memristive technologies, making them particularly suitable for high-speed neuromorphic applications[1][3].
Strengths: IBM's extensive experience in material science provides them with unique insights into optimizing material parameters for specific computing applications. Their neuromorphic architectures demonstrate superior energy efficiency and can be scaled to include millions of neurons. Weaknesses: The specialized materials required for their neuromorphic systems face manufacturing challenges at scale, and their solutions often require custom hardware that may limit widespread adoption.
Critical Material Parameters Analysis and Comparison
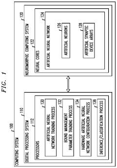
Learning static bound management parameters for analog resistive processing unit system
PatentPendingUS20230097217A1
Innovation
- The system employs static bound management parameters learned through a hardware-aware training process, which are used to scale digital input and output vectors, preventing signal saturation and optimizing matrix-vector multiplication operations by configuring the RPU system to implement these parameters, thereby enhancing processing efficiency and accuracy.
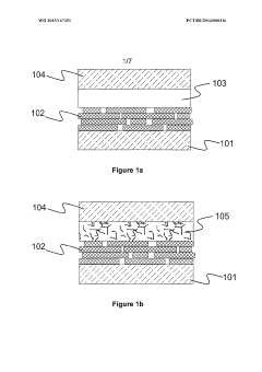
Memristor and method of production thereof
PatentWO2015167351A1
Innovation
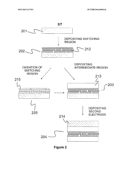
- A memristor device with a switching region comprising transition metal dichalcogenides, transition metal oxides, or graphene-like materials, and an intermediate region of metal nanowires or polymers that provides electrical contact while preventing unwanted contact between electrodes, fabricated using low-cost, solution-processable techniques such as spray-coating, inkjet printing, and thermal annealing to create a variable resistance device with improved switching properties.
Energy Efficiency Considerations
Energy efficiency represents a critical parameter in the evaluation and implementation of both neuromorphic and analog computing systems. When comparing material parameters across these computing paradigms, energy consumption emerges as a fundamental consideration that directly impacts practical deployment scenarios. Traditional von Neumann architectures face significant energy inefficiencies due to the physical separation between memory and processing units, creating the well-known "memory wall" bottleneck.
Neuromorphic computing materials demonstrate remarkable energy advantages through their inherent ability to combine memory and computation within the same physical substrate. Materials such as phase-change memory (PCM), resistive random-access memory (RRAM), and memristors can perform computational operations at the location of data storage, dramatically reducing energy expenditure associated with data movement. Recent benchmarks indicate that neuromorphic systems built with these materials can achieve energy efficiencies in the femtojoule per operation range, representing orders of magnitude improvement over conventional digital systems.
Analog computing materials present complementary energy benefits through their ability to process continuous values rather than discrete binary states. This fundamental characteristic eliminates the energy overhead associated with analog-to-digital conversion in conventional systems. Materials exhibiting tunable resistivity, such as certain metal oxides and chalcogenides, enable direct implementation of matrix operations critical for machine learning applications with minimal energy consumption.
The static power consumption profiles differ significantly between these computing paradigms. Neuromorphic materials typically exhibit non-volatile characteristics, maintaining their state without continuous power application. This property enables event-driven computation where energy is consumed only when information processing occurs. In contrast, many analog computing implementations require continuous bias currents to maintain operational stability, potentially offsetting some efficiency gains in always-on applications.
Temperature sensitivity represents another crucial energy consideration. Many promising neuromorphic materials demonstrate significant parameter drift with temperature variations, necessitating energy-intensive thermal management systems in practical deployments. Analog computing materials face similar challenges, with performance characteristics often exhibiting temperature dependence that must be actively compensated for, adding to the overall energy footprint.
Scaling considerations further differentiate these approaches from an energy perspective. As neuromorphic systems scale to incorporate more neuron-like elements, their energy efficiency typically improves due to increased parallelism and reduced communication overhead. Analog systems demonstrate similar scaling benefits but may face increased noise susceptibility at lower energy operating points, requiring additional energy expenditure for signal conditioning and error correction.
Neuromorphic computing materials demonstrate remarkable energy advantages through their inherent ability to combine memory and computation within the same physical substrate. Materials such as phase-change memory (PCM), resistive random-access memory (RRAM), and memristors can perform computational operations at the location of data storage, dramatically reducing energy expenditure associated with data movement. Recent benchmarks indicate that neuromorphic systems built with these materials can achieve energy efficiencies in the femtojoule per operation range, representing orders of magnitude improvement over conventional digital systems.
Analog computing materials present complementary energy benefits through their ability to process continuous values rather than discrete binary states. This fundamental characteristic eliminates the energy overhead associated with analog-to-digital conversion in conventional systems. Materials exhibiting tunable resistivity, such as certain metal oxides and chalcogenides, enable direct implementation of matrix operations critical for machine learning applications with minimal energy consumption.
The static power consumption profiles differ significantly between these computing paradigms. Neuromorphic materials typically exhibit non-volatile characteristics, maintaining their state without continuous power application. This property enables event-driven computation where energy is consumed only when information processing occurs. In contrast, many analog computing implementations require continuous bias currents to maintain operational stability, potentially offsetting some efficiency gains in always-on applications.
Temperature sensitivity represents another crucial energy consideration. Many promising neuromorphic materials demonstrate significant parameter drift with temperature variations, necessitating energy-intensive thermal management systems in practical deployments. Analog computing materials face similar challenges, with performance characteristics often exhibiting temperature dependence that must be actively compensated for, adding to the overall energy footprint.
Scaling considerations further differentiate these approaches from an energy perspective. As neuromorphic systems scale to incorporate more neuron-like elements, their energy efficiency typically improves due to increased parallelism and reduced communication overhead. Analog systems demonstrate similar scaling benefits but may face increased noise susceptibility at lower energy operating points, requiring additional energy expenditure for signal conditioning and error correction.
Fabrication Techniques and Scalability
The fabrication of neuromorphic and analog computing devices presents unique challenges compared to traditional digital electronics. Current manufacturing processes for neuromorphic systems primarily utilize CMOS-compatible techniques, allowing integration with existing semiconductor infrastructure. However, the material requirements for these systems differ significantly, necessitating specialized fabrication approaches.
For neuromorphic computing, memristive devices require precise control of material interfaces and nanoscale structures. Techniques such as atomic layer deposition (ALD) and physical vapor deposition (PVD) have emerged as critical for creating the thin-film structures needed for resistive switching materials. These methods enable the fabrication of devices with thicknesses in the range of 5-20 nm, essential for efficient operation of memristive elements.
Analog computing systems face different fabrication challenges, particularly in maintaining analog precision across manufacturing variations. Current approaches employ specialized circuit design techniques and calibration mechanisms to compensate for process variations. The use of floating-gate transistors in analog computing requires specialized programming circuitry and high-voltage capabilities not typically found in standard digital processes.
Scalability remains a significant concern for both technologies. Neuromorphic systems based on novel materials like phase-change memory or ferroelectric devices face integration challenges with traditional CMOS processes. Crossbar arrays, while promising for high-density neuromorphic implementations, suffer from sneak path currents and require selector devices that complicate fabrication.
The 3D integration of neuromorphic components presents another frontier in fabrication technology. Through-silicon vias (TSVs) and monolithic 3D integration approaches are being explored to increase device density while managing thermal constraints. These techniques could potentially increase computational density by orders of magnitude compared to planar implementations.
Material uniformity across large wafers represents another critical challenge. While digital systems can tolerate certain levels of variation, analog and neuromorphic systems require tighter parameter control. Statistical variations in device characteristics can significantly impact system-level performance, necessitating advanced process control techniques and potentially redundant architectures.
Recent advances in fabrication include the development of back-end-of-line compatible processes for memristive devices, allowing integration above conventional CMOS circuits without thermal budget violations. This approach maximizes silicon utilization while enabling the specialized materials needed for neuromorphic functionality.
For neuromorphic computing, memristive devices require precise control of material interfaces and nanoscale structures. Techniques such as atomic layer deposition (ALD) and physical vapor deposition (PVD) have emerged as critical for creating the thin-film structures needed for resistive switching materials. These methods enable the fabrication of devices with thicknesses in the range of 5-20 nm, essential for efficient operation of memristive elements.
Analog computing systems face different fabrication challenges, particularly in maintaining analog precision across manufacturing variations. Current approaches employ specialized circuit design techniques and calibration mechanisms to compensate for process variations. The use of floating-gate transistors in analog computing requires specialized programming circuitry and high-voltage capabilities not typically found in standard digital processes.
Scalability remains a significant concern for both technologies. Neuromorphic systems based on novel materials like phase-change memory or ferroelectric devices face integration challenges with traditional CMOS processes. Crossbar arrays, while promising for high-density neuromorphic implementations, suffer from sneak path currents and require selector devices that complicate fabrication.
The 3D integration of neuromorphic components presents another frontier in fabrication technology. Through-silicon vias (TSVs) and monolithic 3D integration approaches are being explored to increase device density while managing thermal constraints. These techniques could potentially increase computational density by orders of magnitude compared to planar implementations.
Material uniformity across large wafers represents another critical challenge. While digital systems can tolerate certain levels of variation, analog and neuromorphic systems require tighter parameter control. Statistical variations in device characteristics can significantly impact system-level performance, necessitating advanced process control techniques and potentially redundant architectures.
Recent advances in fabrication include the development of back-end-of-line compatible processes for memristive devices, allowing integration above conventional CMOS circuits without thermal budget violations. This approach maximizes silicon utilization while enabling the specialized materials needed for neuromorphic functionality.
Unlock deeper insights with Patsnap Eureka Quick Research — get a full tech report to explore trends and direct your research. Try now!
Generate Your Research Report Instantly with AI Agent
Supercharge your innovation with Patsnap Eureka AI Agent Platform!







