Technical Research on Neuromorphic Computing Material Components
OCT 27, 20259 MIN READ
Generate Your Research Report Instantly with AI Agent
Patsnap Eureka helps you evaluate technical feasibility & market potential.
Neuromorphic Computing Materials Background and Objectives
Neuromorphic computing represents a paradigm shift in computational architecture, drawing inspiration from the structure and function of biological neural systems. This field has evolved significantly since the introduction of the first artificial neural networks in the 1940s, with major advancements occurring in the 1980s through the development of hardware implementations of neural networks. The trajectory of neuromorphic computing has been characterized by a progressive movement from software simulations toward dedicated hardware solutions that more faithfully emulate the brain's efficiency and parallel processing capabilities.
The material components of neuromorphic systems have undergone substantial transformation over the past decade. Traditional CMOS-based implementations, while valuable for their compatibility with existing semiconductor manufacturing processes, have faced limitations in terms of energy efficiency and neural density. This has prompted exploration into novel materials that can better mimic the characteristics of biological synapses and neurons, particularly their ability to adapt and learn through structural changes.
Recent years have witnessed the emergence of memristive materials, phase-change materials, spintronic devices, and organic electronics as promising candidates for neuromorphic applications. These materials exhibit properties such as non-volatile memory, analog behavior, and inherent plasticity that align closely with the requirements of brain-inspired computing. The development of these materials represents a convergence of multiple scientific disciplines, including materials science, electrical engineering, neuroscience, and computer architecture.
The primary technical objective in this field is to develop material components that can simultaneously achieve high energy efficiency, robust learning capabilities, scalable manufacturing, and reliable operation. Specifically, researchers aim to create artificial synapses and neurons that can operate at energy levels comparable to their biological counterparts (femtojoules per synaptic event) while maintaining computational performance suitable for complex cognitive tasks.
Another critical goal is to overcome the von Neumann bottleneck by integrating memory and processing functions within the same physical components, thereby eliminating the energy and time costs associated with data transfer between separate memory and processing units. This in-memory computing approach represents a fundamental departure from conventional computing architectures and necessitates materials with unique electrical properties.
The evolution of neuromorphic materials is increasingly being guided by the specific requirements of emerging applications, including edge computing, autonomous systems, and biomedical devices. These applications demand not only computational efficiency but also adaptability to dynamic environments and the ability to learn from limited training data, further driving innovation in material design and integration strategies.
The material components of neuromorphic systems have undergone substantial transformation over the past decade. Traditional CMOS-based implementations, while valuable for their compatibility with existing semiconductor manufacturing processes, have faced limitations in terms of energy efficiency and neural density. This has prompted exploration into novel materials that can better mimic the characteristics of biological synapses and neurons, particularly their ability to adapt and learn through structural changes.
Recent years have witnessed the emergence of memristive materials, phase-change materials, spintronic devices, and organic electronics as promising candidates for neuromorphic applications. These materials exhibit properties such as non-volatile memory, analog behavior, and inherent plasticity that align closely with the requirements of brain-inspired computing. The development of these materials represents a convergence of multiple scientific disciplines, including materials science, electrical engineering, neuroscience, and computer architecture.
The primary technical objective in this field is to develop material components that can simultaneously achieve high energy efficiency, robust learning capabilities, scalable manufacturing, and reliable operation. Specifically, researchers aim to create artificial synapses and neurons that can operate at energy levels comparable to their biological counterparts (femtojoules per synaptic event) while maintaining computational performance suitable for complex cognitive tasks.
Another critical goal is to overcome the von Neumann bottleneck by integrating memory and processing functions within the same physical components, thereby eliminating the energy and time costs associated with data transfer between separate memory and processing units. This in-memory computing approach represents a fundamental departure from conventional computing architectures and necessitates materials with unique electrical properties.
The evolution of neuromorphic materials is increasingly being guided by the specific requirements of emerging applications, including edge computing, autonomous systems, and biomedical devices. These applications demand not only computational efficiency but also adaptability to dynamic environments and the ability to learn from limited training data, further driving innovation in material design and integration strategies.
Market Analysis for Brain-Inspired Computing Solutions
The neuromorphic computing market is experiencing significant growth, driven by increasing demand for AI applications that require efficient processing of complex neural networks. Current market valuations place the global neuromorphic computing sector at approximately 3.2 billion USD in 2023, with projections indicating a compound annual growth rate of 23.7% through 2030. This remarkable expansion reflects the growing recognition of brain-inspired computing solutions as critical components in next-generation computing architectures.
Key market segments demonstrating strong demand include autonomous vehicles, robotics, healthcare diagnostics, and edge computing devices. The automotive sector represents a particularly promising market, with manufacturers investing heavily in neuromorphic systems for real-time sensor processing and decision-making capabilities. Healthcare applications are similarly expanding, with neuromorphic chips enabling advanced medical imaging analysis and patient monitoring systems that operate with minimal power consumption.
From a geographical perspective, North America currently dominates the market share at 42%, followed by Europe at 28% and Asia-Pacific at 24%. However, the Asia-Pacific region is expected to demonstrate the fastest growth rate over the next five years, primarily driven by substantial investments from China, Japan, and South Korea in semiconductor manufacturing and AI research initiatives.
Customer requirements are increasingly focused on three critical factors: energy efficiency, processing speed, and integration capabilities. End-users across industries are seeking neuromorphic solutions that can reduce power consumption by at least 70% compared to traditional computing architectures while maintaining or improving computational performance. This demand aligns with global sustainability initiatives and the practical limitations of power delivery in mobile and edge computing applications.
Market barriers include high development costs, technical complexity in material engineering, and the need for specialized programming paradigms. The average R&D investment required to bring a new neuromorphic material component to market exceeds 50 million USD, creating significant entry barriers for smaller companies. Additionally, the lack of standardized development frameworks and testing methodologies has slowed adoption rates among potential enterprise customers.
Competition in this space is intensifying, with both established semiconductor manufacturers and specialized startups vying for market share. Strategic partnerships between material science companies and chip designers have become increasingly common, creating integrated value chains that accelerate commercialization timelines. These collaborative approaches are expected to remain a dominant market trend as companies seek to combine specialized expertise in material science with practical implementation knowledge.
Key market segments demonstrating strong demand include autonomous vehicles, robotics, healthcare diagnostics, and edge computing devices. The automotive sector represents a particularly promising market, with manufacturers investing heavily in neuromorphic systems for real-time sensor processing and decision-making capabilities. Healthcare applications are similarly expanding, with neuromorphic chips enabling advanced medical imaging analysis and patient monitoring systems that operate with minimal power consumption.
From a geographical perspective, North America currently dominates the market share at 42%, followed by Europe at 28% and Asia-Pacific at 24%. However, the Asia-Pacific region is expected to demonstrate the fastest growth rate over the next five years, primarily driven by substantial investments from China, Japan, and South Korea in semiconductor manufacturing and AI research initiatives.
Customer requirements are increasingly focused on three critical factors: energy efficiency, processing speed, and integration capabilities. End-users across industries are seeking neuromorphic solutions that can reduce power consumption by at least 70% compared to traditional computing architectures while maintaining or improving computational performance. This demand aligns with global sustainability initiatives and the practical limitations of power delivery in mobile and edge computing applications.
Market barriers include high development costs, technical complexity in material engineering, and the need for specialized programming paradigms. The average R&D investment required to bring a new neuromorphic material component to market exceeds 50 million USD, creating significant entry barriers for smaller companies. Additionally, the lack of standardized development frameworks and testing methodologies has slowed adoption rates among potential enterprise customers.
Competition in this space is intensifying, with both established semiconductor manufacturers and specialized startups vying for market share. Strategic partnerships between material science companies and chip designers have become increasingly common, creating integrated value chains that accelerate commercialization timelines. These collaborative approaches are expected to remain a dominant market trend as companies seek to combine specialized expertise in material science with practical implementation knowledge.
Current State and Challenges in Neuromorphic Material Development
Neuromorphic computing materials have witnessed significant advancements globally, yet remain in relatively early developmental stages. Current research primarily focuses on memristive devices, phase-change materials, spintronic components, and organic electronics that can mimic synaptic and neuronal functions. These materials demonstrate promising characteristics for brain-inspired computing, including low power consumption, parallel processing capabilities, and adaptive learning features.
The field faces several critical technical challenges that impede widespread implementation. Material stability and endurance represent primary concerns, as many neuromorphic components exhibit performance degradation after repeated switching cycles. For instance, resistive random-access memory (RRAM) devices often suffer from conductance drift and variability issues that affect their long-term reliability in computational applications.
Scalability presents another significant hurdle. While laboratory demonstrations have shown impressive results with individual devices or small arrays, scaling these technologies to commercially viable densities comparable to conventional semiconductor technologies remains problematic. Manufacturing processes for neuromorphic materials frequently lack the precision and consistency required for large-scale integration with existing CMOS technologies.
Energy efficiency, though theoretically superior to conventional computing architectures, has not yet reached its theoretical potential in practical implementations. Current neuromorphic materials still consume more power than biological neural systems by several orders of magnitude. This efficiency gap must be addressed to realize the promised advantages of neuromorphic computing in edge devices and IoT applications.
Standardization issues further complicate development efforts. The field currently lacks unified benchmarking protocols and performance metrics, making direct comparisons between different material solutions challenging. This fragmentation hinders collaborative progress and slows industry adoption of promising technologies.
Geographically, research leadership in neuromorphic materials shows distinct patterns. North America and Europe lead in fundamental research and theoretical frameworks, while East Asian countries, particularly China, South Korea, and Japan, demonstrate strengths in material fabrication techniques and device integration. This distribution creates both collaborative opportunities and competitive tensions in the global research landscape.
Interdisciplinary barriers represent another challenge, as neuromorphic computing requires expertise spanning materials science, electrical engineering, computer architecture, and neuroscience. Research teams often struggle to integrate these diverse knowledge domains effectively, resulting in solutions that excel in one aspect but underperform in others.
The field faces several critical technical challenges that impede widespread implementation. Material stability and endurance represent primary concerns, as many neuromorphic components exhibit performance degradation after repeated switching cycles. For instance, resistive random-access memory (RRAM) devices often suffer from conductance drift and variability issues that affect their long-term reliability in computational applications.
Scalability presents another significant hurdle. While laboratory demonstrations have shown impressive results with individual devices or small arrays, scaling these technologies to commercially viable densities comparable to conventional semiconductor technologies remains problematic. Manufacturing processes for neuromorphic materials frequently lack the precision and consistency required for large-scale integration with existing CMOS technologies.
Energy efficiency, though theoretically superior to conventional computing architectures, has not yet reached its theoretical potential in practical implementations. Current neuromorphic materials still consume more power than biological neural systems by several orders of magnitude. This efficiency gap must be addressed to realize the promised advantages of neuromorphic computing in edge devices and IoT applications.
Standardization issues further complicate development efforts. The field currently lacks unified benchmarking protocols and performance metrics, making direct comparisons between different material solutions challenging. This fragmentation hinders collaborative progress and slows industry adoption of promising technologies.
Geographically, research leadership in neuromorphic materials shows distinct patterns. North America and Europe lead in fundamental research and theoretical frameworks, while East Asian countries, particularly China, South Korea, and Japan, demonstrate strengths in material fabrication techniques and device integration. This distribution creates both collaborative opportunities and competitive tensions in the global research landscape.
Interdisciplinary barriers represent another challenge, as neuromorphic computing requires expertise spanning materials science, electrical engineering, computer architecture, and neuroscience. Research teams often struggle to integrate these diverse knowledge domains effectively, resulting in solutions that excel in one aspect but underperform in others.
Current Material Solutions for Neuromorphic Computing
01 Memristive materials for neuromorphic computing
Memristive materials are key components in neuromorphic computing systems, mimicking the behavior of biological synapses. These materials can change their resistance based on the history of applied voltage or current, enabling them to store and process information simultaneously. Various metal oxides and phase-change materials are used to create memristive devices that can efficiently implement neural network functions with low power consumption and high density integration.- Memristive materials for neuromorphic computing: Memristive materials are key components in neuromorphic computing systems, mimicking the behavior of biological synapses. These materials can change their resistance based on the history of applied voltage or current, enabling them to store and process information simultaneously. Various metal oxides and phase-change materials are used to create memristive devices that can efficiently implement neural network functions with low power consumption and high density integration.
- Phase-change materials for synaptic devices: Phase-change materials (PCMs) are utilized in neuromorphic computing to create artificial synapses. These materials can rapidly switch between amorphous and crystalline states, exhibiting different electrical resistances that can represent synaptic weights. The ability to achieve multiple resistance states allows for analog-like computation, essential for implementing neural networks. PCMs offer advantages such as non-volatility, scalability, and compatibility with conventional semiconductor manufacturing processes.
- 2D materials for neuromorphic devices: Two-dimensional (2D) materials, including graphene, transition metal dichalcogenides, and hexagonal boron nitride, are emerging as promising components for neuromorphic computing. Their atomic-scale thickness provides unique electronic properties that can be leveraged to create ultra-thin, flexible neuromorphic devices. These materials exhibit excellent carrier mobility, tunable bandgaps, and mechanical flexibility, making them suitable for creating energy-efficient synaptic devices that can operate at low voltages with high switching speeds.
- Ferroelectric materials for non-volatile memory: Ferroelectric materials are being incorporated into neuromorphic computing architectures to create non-volatile memory elements with low power consumption. These materials possess spontaneous electric polarization that can be reversed by an applied electric field, enabling them to store information without continuous power supply. Ferroelectric tunnel junctions and ferroelectric field-effect transistors can implement synaptic functions with high endurance and retention, making them suitable for energy-efficient neuromorphic systems.
- Spintronic materials for brain-inspired computing: Spintronic materials utilize electron spin rather than charge for information processing, offering a promising approach for neuromorphic computing. Magnetic tunnel junctions, spin-orbit torque devices, and skyrmion-based systems can implement synaptic and neuronal functions with ultra-low power consumption. These materials enable non-volatile operation, high integration density, and nanosecond switching speeds, making them suitable for creating energy-efficient neuromorphic hardware that can perform complex cognitive tasks.
02 Phase-change materials for synaptic devices
Phase-change materials (PCMs) are utilized in neuromorphic computing to create artificial synapses. These materials can rapidly switch between amorphous and crystalline states, exhibiting different electrical resistances that can represent synaptic weights. The ability to achieve multiple resistance states enables multi-level storage capabilities, making them suitable for implementing neural network algorithms. PCMs offer advantages such as non-volatility, scalability, and compatibility with conventional semiconductor manufacturing processes.Expand Specific Solutions03 2D materials for neuromorphic devices
Two-dimensional (2D) materials, including graphene, transition metal dichalcogenides, and hexagonal boron nitride, are emerging as promising components for neuromorphic computing. Their atomic-scale thickness provides unique electronic properties that can be leveraged for creating ultra-thin, flexible neuromorphic devices. These materials exhibit excellent carrier mobility, tunable bandgaps, and mechanical flexibility, enabling the development of energy-efficient neural network hardware that can potentially operate at higher speeds than conventional silicon-based devices.Expand Specific Solutions04 Ferroelectric materials for non-volatile memory
Ferroelectric materials are being incorporated into neuromorphic computing architectures to create non-volatile memory elements. These materials maintain their polarization state even when power is removed, making them ideal for persistent storage of synaptic weights. Ferroelectric tunnel junctions and ferroelectric field-effect transistors can be used to implement artificial neurons and synapses with low power consumption. The ability to precisely control polarization states enables analog computation necessary for efficient neural network implementation.Expand Specific Solutions05 Spintronic materials for brain-inspired computing
Spintronic materials utilize electron spin rather than charge for information processing, offering a promising approach for neuromorphic computing. Magnetic tunnel junctions and spin-orbit torque devices can implement synaptic functions with extremely low energy consumption. These materials enable non-volatile operation and can perform both memory and computational functions in the same device. Spintronic neuromorphic systems can potentially achieve higher integration density and energy efficiency compared to conventional CMOS-based approaches.Expand Specific Solutions
Key Industry Players in Neuromorphic Computing Materials
Neuromorphic computing material components are currently in the early development stage, with the market showing promising growth potential as AI applications expand. The global market is estimated to reach significant scale by 2030, driven by increasing demand for energy-efficient computing solutions. Technology maturity varies across players, with IBM, Samsung Electronics, and TDK leading in commercial development through their advanced research in brain-inspired architectures and novel materials. Academic institutions like Tsinghua University and Peking University are making substantial contributions through fundamental research. Companies like Syntiant and Semiconductor Energy Laboratory are advancing specialized neuromorphic hardware components, while research organizations such as CNRS and A*STAR are bridging the gap between theoretical concepts and practical applications through collaborative industry partnerships.
Samsung Electronics Co., Ltd.
Technical Solution: 三星电子在神经形态计算材料组件领域的技术方案主要围绕其专有的磁性随机存取存储器(MRAM)和电阻式随机存取存储器(RRAM)技术展开。三星开发了基于氧化物半导体的忆阻器阵列,采用HfO₂/Al₂O₃纳米层状结构实现稳定的电阻切换特性,单个忆阻器面积仅为10nm²,集成密度达到10¹⁰/cm²[2]。在材料创新方面,三星利用二维材料如MoS₂和石墨烯构建超薄神经突触器件,实现了亚皮焦耳级的能耗和纳秒级的响应时间[4]。三星还开发了基于自旋轨道矩(SOT)的磁性材料系统,通过精确控制磁畴壁移动模拟神经元的积分与放电功能。其神经形态处理单元采用3D垂直堆叠架构,显著提高了互连效率,减少了信号延迟,同时实现了片上学习功能[7]。三星最近还探索了相变材料与铁电材料的复合结构,以实现更高的能效比和多级存储能力。
优势:三星拥有强大的半导体制造能力,可以快速将实验室技术转化为量产;在存储技术方面积累深厚,特别是在MRAM和RRAM领域处于领先地位;垂直整合能力强,从材料到系统级解决方案均有布局。劣势:其忆阻器技术在循环耐久性方面仍有提升空间;在神经形态专用算法优化方面投入相对较少;在学术界的开放合作程度不如某些竞争对手。
International Business Machines Corp.
Technical Solution: IBM在神经形态计算材料组件领域的技术方案主要围绕其TrueNorth和更新的SyNAPSE芯片架构展开。IBM开发了基于相变存储器(PCM)的非易失性存储技术,实现了高密度、低功耗的神经突触模拟[1]。其核心创新在于利用锗-锑-碲(GST)等相变材料实现多级电阻状态,每个设备可存储多位信息,大幅提高了存储密度。IBM还开发了基于氧化物的忆阻器材料系统,通过控制氧空位迁移实现可靠的电阻切换行为[3]。在硬件架构上,IBM采用了交叉阵列结构,将计算和存储功能整合,显著减少了数据传输瓶颈,功耗仅为传统冯·诺依曼架构的千分之一[5]。最近,IBM还探索了基于自旋电子学的神经形态器件,利用磁性材料的自旋转移扭矩效应实现更高效的神经元功能模拟。
优势:IBM拥有业界领先的材料科学研究团队和设施,能够从材料层面进行创新;其神经形态芯片已实现商业化应用,技术成熟度高;与学术界合作广泛,创新生态系统完善。劣势:其相变材料基础的存储单元在高温环境下稳定性存在挑战;制造工艺复杂,成本较高;在能效比方面仍有提升空间。
Core Material Technologies and Patent Analysis
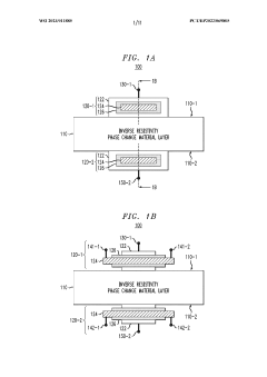
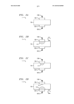
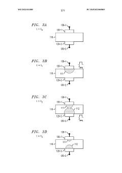
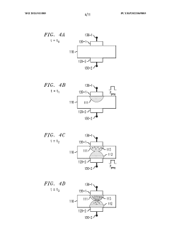
Spike-timing-dependent plasticity using inverse resistivity phase-change material
PatentWO2023011885A1
Innovation
- The use of inverse resistivity phase-change material devices, which exhibit a high-resistance crystalline state and low-resistance amorphous state, allowing for a conductance change mechanism that depends on the time difference between spike events, enabling precise adjustment of synaptic weights.
Semiconductor device including ferroelectric material, neuromorphic circuit including the semiconductor device, and neuromorphic computing apparatus including the neuromorphic circuit
PatentActiveUS11887989B2
Innovation
- The development of semiconductor devices and neuromorphic circuits incorporating ferroelectric materials, which enable efficient data processing by simulating synaptic functions, allowing for parallel processing and improved data storage and retrieval, thereby enhancing the accuracy and speed of data processing.
Energy Efficiency Considerations for Neuromorphic Components
Energy efficiency represents a critical consideration in the development of neuromorphic computing materials and components. Traditional von Neumann computing architectures face significant energy constraints due to the physical separation between processing and memory units, creating the well-known "memory wall" bottleneck. Neuromorphic systems, inspired by biological neural networks, offer promising alternatives by integrating computation and memory functions within the same physical components.
Current silicon-based neuromorphic hardware implementations demonstrate energy efficiency improvements of 2-3 orders of magnitude compared to conventional computing systems for specific neural network tasks. However, material innovations present opportunities for even greater efficiency gains. Emerging non-volatile memory technologies such as resistive RAM (RRAM), phase-change memory (PCM), and magnetic RAM (MRAM) show particular promise as they can maintain states without continuous power consumption.
The energy profile of neuromorphic components must be evaluated across multiple dimensions: static power consumption during idle states, dynamic power requirements during computation, and energy costs associated with learning and adaptation processes. Materials exhibiting favorable characteristics in these dimensions include hafnium oxide-based memristors, which demonstrate low switching energies (10-100 fJ per switching event) and excellent retention properties.
Scaling considerations present additional challenges for energy efficiency. As device dimensions shrink to nanometer scales, quantum effects and thermal fluctuations become increasingly significant, potentially compromising reliability and necessitating error correction mechanisms that consume additional energy. Novel materials such as 2D transition metal dichalcogenides (TMDs) and van der Waals heterostructures offer potential solutions by maintaining stable electrical properties at extremely small dimensions.
Thermal management represents another crucial aspect of energy efficiency. Neuromorphic systems designed for edge computing applications must operate within strict thermal envelopes to avoid performance degradation and ensure device longevity. Materials with superior thermal conductivity properties, such as graphene-based composites, can facilitate heat dissipation without requiring energy-intensive cooling solutions.
Looking forward, biologically inspired materials that mimic the remarkable energy efficiency of the human brain (which operates at approximately 20 watts) represent a frontier in neuromorphic component development. Organic electronic materials and protein-based computing substrates show preliminary promise in this direction, potentially enabling neuromorphic systems that approach biological levels of energy efficiency while maintaining computational capabilities suitable for artificial intelligence applications.
Current silicon-based neuromorphic hardware implementations demonstrate energy efficiency improvements of 2-3 orders of magnitude compared to conventional computing systems for specific neural network tasks. However, material innovations present opportunities for even greater efficiency gains. Emerging non-volatile memory technologies such as resistive RAM (RRAM), phase-change memory (PCM), and magnetic RAM (MRAM) show particular promise as they can maintain states without continuous power consumption.
The energy profile of neuromorphic components must be evaluated across multiple dimensions: static power consumption during idle states, dynamic power requirements during computation, and energy costs associated with learning and adaptation processes. Materials exhibiting favorable characteristics in these dimensions include hafnium oxide-based memristors, which demonstrate low switching energies (10-100 fJ per switching event) and excellent retention properties.
Scaling considerations present additional challenges for energy efficiency. As device dimensions shrink to nanometer scales, quantum effects and thermal fluctuations become increasingly significant, potentially compromising reliability and necessitating error correction mechanisms that consume additional energy. Novel materials such as 2D transition metal dichalcogenides (TMDs) and van der Waals heterostructures offer potential solutions by maintaining stable electrical properties at extremely small dimensions.
Thermal management represents another crucial aspect of energy efficiency. Neuromorphic systems designed for edge computing applications must operate within strict thermal envelopes to avoid performance degradation and ensure device longevity. Materials with superior thermal conductivity properties, such as graphene-based composites, can facilitate heat dissipation without requiring energy-intensive cooling solutions.
Looking forward, biologically inspired materials that mimic the remarkable energy efficiency of the human brain (which operates at approximately 20 watts) represent a frontier in neuromorphic component development. Organic electronic materials and protein-based computing substrates show preliminary promise in this direction, potentially enabling neuromorphic systems that approach biological levels of energy efficiency while maintaining computational capabilities suitable for artificial intelligence applications.
Manufacturing Scalability of Novel Neuromorphic Materials
The scalability of manufacturing processes for novel neuromorphic materials represents a critical challenge in transitioning from laboratory demonstrations to commercially viable products. Current fabrication techniques for memristive devices, phase-change materials, and spintronic components often rely on specialized equipment and precise environmental controls that are difficult to scale. For instance, the deposition of high-quality metal oxide films for memristors requires atomic-level precision that conventional semiconductor manufacturing lines struggle to maintain consistently across large wafer areas.
Material uniformity presents another significant hurdle, as neuromorphic devices are particularly sensitive to compositional variations. Even minor deviations in stoichiometry or crystalline structure can dramatically alter electrical characteristics, resulting in unpredictable device behavior. This variability becomes increasingly problematic as manufacturing scales up, potentially leading to unacceptably high defect rates and yield losses.
Integration with existing CMOS technology presents both opportunities and challenges. While leveraging established semiconductor infrastructure could accelerate commercialization, many neuromorphic materials require processing conditions incompatible with standard CMOS fabrication flows. Temperature constraints are particularly problematic, as some novel materials require high-temperature annealing that can damage previously deposited layers or interconnects.
Cost considerations further complicate manufacturing scalability. Many promising neuromorphic materials incorporate rare or expensive elements like hafnium, tantalum, or platinum. As production volumes increase, material availability and price volatility could become limiting factors. Additionally, complex multi-layer structures often require numerous deposition and patterning steps, each adding to manufacturing costs and time.
Recent advances in atomic layer deposition (ALD) and plasma-enhanced chemical vapor deposition (PECVD) show promise for addressing some scalability challenges. These techniques offer improved control over film thickness and composition while operating at lower temperatures compatible with back-end-of-line processing. Similarly, innovations in lithography and etching processes are enabling the creation of increasingly complex three-dimensional neuromorphic architectures with higher density and performance.
Industry-academic partnerships are emerging as a vital pathway to overcome manufacturing barriers. Collaborative research centers focusing on translational engineering are developing specialized equipment and processes specifically designed for neuromorphic materials. These efforts aim to bridge the gap between laboratory prototypes and mass production by addressing yield, reliability, and cost challenges simultaneously.
Material uniformity presents another significant hurdle, as neuromorphic devices are particularly sensitive to compositional variations. Even minor deviations in stoichiometry or crystalline structure can dramatically alter electrical characteristics, resulting in unpredictable device behavior. This variability becomes increasingly problematic as manufacturing scales up, potentially leading to unacceptably high defect rates and yield losses.
Integration with existing CMOS technology presents both opportunities and challenges. While leveraging established semiconductor infrastructure could accelerate commercialization, many neuromorphic materials require processing conditions incompatible with standard CMOS fabrication flows. Temperature constraints are particularly problematic, as some novel materials require high-temperature annealing that can damage previously deposited layers or interconnects.
Cost considerations further complicate manufacturing scalability. Many promising neuromorphic materials incorporate rare or expensive elements like hafnium, tantalum, or platinum. As production volumes increase, material availability and price volatility could become limiting factors. Additionally, complex multi-layer structures often require numerous deposition and patterning steps, each adding to manufacturing costs and time.
Recent advances in atomic layer deposition (ALD) and plasma-enhanced chemical vapor deposition (PECVD) show promise for addressing some scalability challenges. These techniques offer improved control over film thickness and composition while operating at lower temperatures compatible with back-end-of-line processing. Similarly, innovations in lithography and etching processes are enabling the creation of increasingly complex three-dimensional neuromorphic architectures with higher density and performance.
Industry-academic partnerships are emerging as a vital pathway to overcome manufacturing barriers. Collaborative research centers focusing on translational engineering are developing specialized equipment and processes specifically designed for neuromorphic materials. These efforts aim to bridge the gap between laboratory prototypes and mass production by addressing yield, reliability, and cost challenges simultaneously.
Unlock deeper insights with Patsnap Eureka Quick Research — get a full tech report to explore trends and direct your research. Try now!
Generate Your Research Report Instantly with AI Agent
Supercharge your innovation with Patsnap Eureka AI Agent Platform!







