What Role Do Neuromorphic Computing Materials Play in Advanced Electronics
OCT 27, 202510 MIN READ
Generate Your Research Report Instantly with AI Agent
Patsnap Eureka helps you evaluate technical feasibility & market potential.
Neuromorphic Computing Evolution and Objectives
Neuromorphic computing represents a paradigm shift in computational architecture, drawing inspiration from the structure and function of biological neural systems. The evolution of this field began in the late 1980s when Carver Mead first introduced the concept of using electronic analog circuits to mimic neuro-biological architectures. This marked the beginning of a journey to create computing systems that could process information in ways similar to the human brain—parallel, fault-tolerant, and energy-efficient.
The 1990s witnessed the development of early neuromorphic hardware implementations, primarily focused on silicon-based neural networks. These initial systems demonstrated the potential for brain-inspired computing but were limited by the materials and fabrication technologies available at the time. The turn of the millennium brought significant advancements in materials science and nanotechnology, enabling more sophisticated neuromorphic designs.
By the mid-2000s, researchers began exploring beyond traditional CMOS technology, investigating novel materials with properties conducive to mimicking synaptic functions. This period saw the emergence of memristive devices, phase-change materials, and spintronic components as potential building blocks for neuromorphic systems. These materials offered unique characteristics such as non-volatility, analog behavior, and inherent learning capabilities that aligned well with neuromorphic principles.
The 2010s marked a period of accelerated development, with major research institutions and technology companies investing heavily in neuromorphic computing. IBM's TrueNorth, Intel's Loihi, and BrainChip's Akida emerged as prominent examples of neuromorphic chips, each employing different material approaches to achieve brain-like functionality. This decade also witnessed the convergence of neuromorphic computing with artificial intelligence, particularly in applications requiring real-time processing of sensory data.
Current objectives in neuromorphic computing focus on several key areas. First, enhancing energy efficiency to enable deployment in edge computing scenarios where power constraints are significant. Second, improving the scalability of neuromorphic systems to handle increasingly complex tasks while maintaining their inherent advantages. Third, developing more sophisticated learning algorithms specifically designed for neuromorphic hardware to fully leverage their unique capabilities.
Looking forward, the field aims to create truly autonomous neuromorphic systems capable of unsupervised learning and adaptation to dynamic environments. This includes the development of multi-modal neuromorphic processors that can integrate various sensory inputs similar to biological systems. Additionally, there is growing interest in hybrid approaches that combine traditional computing with neuromorphic elements to address specific computational challenges in advanced electronics.
The 1990s witnessed the development of early neuromorphic hardware implementations, primarily focused on silicon-based neural networks. These initial systems demonstrated the potential for brain-inspired computing but were limited by the materials and fabrication technologies available at the time. The turn of the millennium brought significant advancements in materials science and nanotechnology, enabling more sophisticated neuromorphic designs.
By the mid-2000s, researchers began exploring beyond traditional CMOS technology, investigating novel materials with properties conducive to mimicking synaptic functions. This period saw the emergence of memristive devices, phase-change materials, and spintronic components as potential building blocks for neuromorphic systems. These materials offered unique characteristics such as non-volatility, analog behavior, and inherent learning capabilities that aligned well with neuromorphic principles.
The 2010s marked a period of accelerated development, with major research institutions and technology companies investing heavily in neuromorphic computing. IBM's TrueNorth, Intel's Loihi, and BrainChip's Akida emerged as prominent examples of neuromorphic chips, each employing different material approaches to achieve brain-like functionality. This decade also witnessed the convergence of neuromorphic computing with artificial intelligence, particularly in applications requiring real-time processing of sensory data.
Current objectives in neuromorphic computing focus on several key areas. First, enhancing energy efficiency to enable deployment in edge computing scenarios where power constraints are significant. Second, improving the scalability of neuromorphic systems to handle increasingly complex tasks while maintaining their inherent advantages. Third, developing more sophisticated learning algorithms specifically designed for neuromorphic hardware to fully leverage their unique capabilities.
Looking forward, the field aims to create truly autonomous neuromorphic systems capable of unsupervised learning and adaptation to dynamic environments. This includes the development of multi-modal neuromorphic processors that can integrate various sensory inputs similar to biological systems. Additionally, there is growing interest in hybrid approaches that combine traditional computing with neuromorphic elements to address specific computational challenges in advanced electronics.
Market Demand Analysis for Brain-Inspired Electronics
The global market for neuromorphic computing materials is experiencing significant growth, driven by the increasing demand for energy-efficient computing solutions that can handle complex AI workloads. Current projections indicate the neuromorphic hardware market will reach approximately $8 billion by 2028, with a compound annual growth rate exceeding 20% from 2023 to 2028. This remarkable growth trajectory reflects the expanding applications of brain-inspired electronics across multiple industries.
The primary market demand stems from data centers and cloud computing providers seeking to reduce energy consumption while managing exponentially growing computational needs. Traditional von Neumann architecture-based systems consume substantial power, particularly when running AI and machine learning algorithms. Brain-inspired electronics offer potential energy savings of up to 1000x compared to conventional computing systems, creating a compelling value proposition for large-scale computing operations.
Edge computing represents another significant market driver, with the proliferation of IoT devices creating demand for low-power, high-performance computing capabilities at the network edge. Market research indicates that by 2025, over 75% of enterprise-generated data will be processed at the edge, necessitating more efficient computing solutions. Neuromorphic materials enable on-device processing that minimizes data transmission and power consumption while maintaining performance.
The automotive sector has emerged as a key market for neuromorphic computing materials, particularly for advanced driver-assistance systems (ADAS) and autonomous vehicles. These applications require real-time processing of sensor data with strict power and latency constraints. The automotive AI hardware market is projected to grow at over 25% annually through 2027, with neuromorphic solutions positioned to capture an increasing share.
Healthcare applications represent another promising market segment, with brain-inspired electronics enabling more efficient processing of complex medical imaging data and real-time patient monitoring. The medical AI hardware market is expected to double in size by 2026, creating substantial opportunities for neuromorphic computing materials.
Consumer electronics manufacturers are also exploring neuromorphic solutions for next-generation smartphones, wearables, and smart home devices. These applications benefit from the power efficiency and on-device processing capabilities of brain-inspired electronics, allowing for enhanced AI features without compromising battery life or requiring constant cloud connectivity.
Despite this promising outlook, market adoption faces challenges including the need for new programming paradigms, integration with existing systems, and scaling production of novel materials. However, the clear value proposition of dramatically improved energy efficiency coupled with enhanced performance for specific workloads continues to drive strong market interest and investment in neuromorphic computing materials.
The primary market demand stems from data centers and cloud computing providers seeking to reduce energy consumption while managing exponentially growing computational needs. Traditional von Neumann architecture-based systems consume substantial power, particularly when running AI and machine learning algorithms. Brain-inspired electronics offer potential energy savings of up to 1000x compared to conventional computing systems, creating a compelling value proposition for large-scale computing operations.
Edge computing represents another significant market driver, with the proliferation of IoT devices creating demand for low-power, high-performance computing capabilities at the network edge. Market research indicates that by 2025, over 75% of enterprise-generated data will be processed at the edge, necessitating more efficient computing solutions. Neuromorphic materials enable on-device processing that minimizes data transmission and power consumption while maintaining performance.
The automotive sector has emerged as a key market for neuromorphic computing materials, particularly for advanced driver-assistance systems (ADAS) and autonomous vehicles. These applications require real-time processing of sensor data with strict power and latency constraints. The automotive AI hardware market is projected to grow at over 25% annually through 2027, with neuromorphic solutions positioned to capture an increasing share.
Healthcare applications represent another promising market segment, with brain-inspired electronics enabling more efficient processing of complex medical imaging data and real-time patient monitoring. The medical AI hardware market is expected to double in size by 2026, creating substantial opportunities for neuromorphic computing materials.
Consumer electronics manufacturers are also exploring neuromorphic solutions for next-generation smartphones, wearables, and smart home devices. These applications benefit from the power efficiency and on-device processing capabilities of brain-inspired electronics, allowing for enhanced AI features without compromising battery life or requiring constant cloud connectivity.
Despite this promising outlook, market adoption faces challenges including the need for new programming paradigms, integration with existing systems, and scaling production of novel materials. However, the clear value proposition of dramatically improved energy efficiency coupled with enhanced performance for specific workloads continues to drive strong market interest and investment in neuromorphic computing materials.
Current State and Challenges in Neuromorphic Materials
Neuromorphic computing materials have witnessed significant advancements in recent years, yet the field faces substantial technical challenges that impede widespread commercial adoption. Current state-of-the-art materials include memristors, phase-change materials, spintronic devices, and organic electronic materials, each offering unique properties for brain-inspired computing architectures. These materials enable the creation of artificial synapses and neurons that can mimic biological neural networks with significantly lower power consumption compared to traditional von Neumann architectures.
Memristive devices, particularly those based on metal oxides like HfO₂, TiO₂, and Ta₂O₅, have demonstrated promising characteristics for neuromorphic applications, including non-volatile memory, analog conductance modulation, and spike-timing-dependent plasticity. However, these materials still struggle with reliability issues, cycle-to-cycle variations, and limited endurance that restrict their practical implementation in large-scale neuromorphic systems.
Phase-change materials (PCMs) such as Ge₂Sb₂Te₅ offer excellent scalability and multi-level storage capabilities but face challenges related to high programming currents and thermal crosstalk between adjacent devices. These limitations affect energy efficiency and integration density, two critical factors for neuromorphic computing systems designed to rival biological neural networks.
The geographical distribution of neuromorphic materials research shows concentration in North America, Europe, and East Asia, with the United States, China, Germany, Japan, and South Korea leading development efforts. This distribution reflects both academic research clusters and industrial investment patterns, with significant collaboration between universities and technology companies driving innovation.
A major technical hurdle in the field is achieving the right balance between material stability and plasticity. Neuromorphic systems require materials that can maintain stored information reliably while remaining adaptable enough for continuous learning. Current materials often excel in one aspect at the expense of the other, creating a fundamental design challenge for researchers.
Integration with conventional CMOS technology represents another significant obstacle. While standalone neuromorphic devices show promising performance in laboratory settings, their incorporation into existing semiconductor manufacturing processes remains problematic due to material compatibility issues, thermal budget constraints, and specialized fabrication requirements.
Energy efficiency, though improved compared to traditional computing architectures, still falls short of biological neural networks by several orders of magnitude. This gap stems from limitations in current materials' switching energies and the overhead required for peripheral circuitry. Addressing these energy constraints will be crucial for enabling edge computing applications where power consumption is strictly limited.
Memristive devices, particularly those based on metal oxides like HfO₂, TiO₂, and Ta₂O₅, have demonstrated promising characteristics for neuromorphic applications, including non-volatile memory, analog conductance modulation, and spike-timing-dependent plasticity. However, these materials still struggle with reliability issues, cycle-to-cycle variations, and limited endurance that restrict their practical implementation in large-scale neuromorphic systems.
Phase-change materials (PCMs) such as Ge₂Sb₂Te₅ offer excellent scalability and multi-level storage capabilities but face challenges related to high programming currents and thermal crosstalk between adjacent devices. These limitations affect energy efficiency and integration density, two critical factors for neuromorphic computing systems designed to rival biological neural networks.
The geographical distribution of neuromorphic materials research shows concentration in North America, Europe, and East Asia, with the United States, China, Germany, Japan, and South Korea leading development efforts. This distribution reflects both academic research clusters and industrial investment patterns, with significant collaboration between universities and technology companies driving innovation.
A major technical hurdle in the field is achieving the right balance between material stability and plasticity. Neuromorphic systems require materials that can maintain stored information reliably while remaining adaptable enough for continuous learning. Current materials often excel in one aspect at the expense of the other, creating a fundamental design challenge for researchers.
Integration with conventional CMOS technology represents another significant obstacle. While standalone neuromorphic devices show promising performance in laboratory settings, their incorporation into existing semiconductor manufacturing processes remains problematic due to material compatibility issues, thermal budget constraints, and specialized fabrication requirements.
Energy efficiency, though improved compared to traditional computing architectures, still falls short of biological neural networks by several orders of magnitude. This gap stems from limitations in current materials' switching energies and the overhead required for peripheral circuitry. Addressing these energy constraints will be crucial for enabling edge computing applications where power consumption is strictly limited.
Existing Neuromorphic Material Solutions and Implementations
01 Phase-change materials for neuromorphic computing
Phase-change materials exhibit properties that make them suitable for neuromorphic computing applications. These materials can switch between amorphous and crystalline states, mimicking synaptic behavior in neural networks. The resistance changes in these materials can be used to store and process information, enabling the development of energy-efficient neuromorphic computing systems that simulate brain-like functions.- Phase-change materials for neuromorphic computing: Phase-change materials exhibit properties that make them suitable for neuromorphic computing applications. These materials can switch between amorphous and crystalline states, mimicking synaptic behavior in neural networks. The reversible phase transitions allow for the implementation of memory and computational functions in neuromorphic systems, enabling efficient processing of information similar to biological neural networks.
- Memristive materials and devices: Memristive materials are key components in neuromorphic computing systems, functioning as artificial synapses. These materials can change their resistance based on the history of applied voltage or current, enabling them to store and process information simultaneously. Memristive devices can be fabricated using various materials including metal oxides, chalcogenides, and organic compounds, offering different performance characteristics for neuromorphic applications.
- 2D materials for neuromorphic architectures: Two-dimensional materials such as graphene, transition metal dichalcogenides, and hexagonal boron nitride offer unique properties for neuromorphic computing applications. Their atomic-scale thickness, tunable electronic properties, and compatibility with existing fabrication technologies make them promising candidates for building energy-efficient neuromorphic devices. These materials can be engineered to exhibit synaptic behaviors required for brain-inspired computing systems.
- Ferroelectric and magnetic materials for neuromorphic systems: Ferroelectric and magnetic materials provide non-volatile memory capabilities essential for neuromorphic computing. These materials can maintain their polarization or magnetization state without continuous power supply, enabling persistent memory functions. Their ability to exhibit multiple stable states and undergo controlled switching makes them suitable for implementing synaptic weights and neuronal functions in hardware neural networks.
- Organic and biomimetic materials for brain-inspired computing: Organic and biomimetic materials offer unique advantages for neuromorphic computing, including flexibility, biocompatibility, and low power operation. These materials can be engineered to mimic biological neural processes more closely than traditional semiconductor materials. Polymer-based electronic devices, protein-based memories, and other bio-inspired materials enable the development of neuromorphic systems that more accurately replicate the functionality and efficiency of biological neural networks.
02 Memristive materials and devices
Memristive materials and devices are fundamental components in neuromorphic computing systems. These materials can retain memory of past electrical signals, allowing them to mimic the behavior of biological synapses. By incorporating memristive materials into computing architectures, researchers can develop systems that perform brain-inspired computing with significantly lower power consumption compared to traditional computing paradigms.Expand Specific Solutions03 2D materials for neuromorphic applications
Two-dimensional materials, such as graphene and transition metal dichalcogenides, offer unique properties for neuromorphic computing. Their atomic thinness, tunable electronic properties, and compatibility with existing fabrication techniques make them promising candidates for building neuromorphic devices. These materials can be engineered to exhibit synaptic behaviors, enabling the development of highly scalable and energy-efficient neuromorphic systems.Expand Specific Solutions04 Oxide-based materials for neuromorphic devices
Metal oxides and oxide-based materials are widely used in neuromorphic computing due to their versatile electronic properties. These materials can be engineered to exhibit resistive switching behavior, making them suitable for implementing artificial synapses and neurons. Oxide-based neuromorphic devices offer advantages such as high endurance, retention, and compatibility with conventional semiconductor manufacturing processes.Expand Specific Solutions05 Organic and polymer materials for flexible neuromorphic systems
Organic and polymer-based materials enable the development of flexible and biocompatible neuromorphic computing systems. These materials can be processed at low temperatures and deposited on various substrates, allowing for the creation of bendable and stretchable neuromorphic devices. The tunable electronic properties of organic materials make them particularly suitable for bio-inspired computing applications and interfaces between biological and artificial neural systems.Expand Specific Solutions
Key Industry Players in Neuromorphic Computing Ecosystem
Neuromorphic computing materials are emerging as a critical component in advanced electronics, with the market currently in its early growth phase. The global market size is expanding rapidly, driven by increasing demand for energy-efficient AI processing at the edge. From a technological maturity perspective, the landscape shows varied development stages across key players. Industry leaders like IBM, Samsung Electronics, and SK hynix are advancing commercial neuromorphic hardware solutions, while specialized companies such as Syntiant and Polyn Technology focus on ultra-low-power neuromorphic chips for specific applications. Academic institutions including KAIST, USC, and National University of Singapore collaborate with industry partners like Thales and Nokia to bridge fundamental research with practical implementations. The ecosystem is further enriched by research organizations like CNRS and CEA developing novel materials and architectures for next-generation neuromorphic systems.
International Business Machines Corp.
Technical Solution: IBM has pioneered neuromorphic computing materials through its TrueNorth and subsequent neuromorphic chip architectures. Their approach focuses on phase-change memory (PCM) materials that mimic synaptic behavior in the brain. IBM's neuromorphic systems utilize non-volatile memory materials to create artificial neurons and synapses that can process information in parallel while consuming minimal power. Their research includes the development of analog memory devices based on chalcogenide materials that exhibit gradual resistance changes similar to biological synapses[1]. IBM has also explored the integration of carbon nanotubes and graphene-based materials to enhance the performance of their neuromorphic systems. Their materials innovation extends to three-dimensional integration techniques that stack memory and processing elements to increase density and reduce signal transmission distances, similar to the brain's compact architecture[3].
Strengths: IBM's neuromorphic materials offer exceptional energy efficiency (100x more efficient than traditional computing for certain AI tasks) and scalability. Their materials enable true parallel processing capabilities that conventional computing cannot match. Weaknesses: The technology faces challenges in manufacturing consistency at scale, and programming paradigms for these novel architectures remain complex, limiting widespread adoption.
Samsung Electronics Co., Ltd.
Technical Solution: Samsung has developed advanced neuromorphic computing materials centered around resistive random-access memory (RRAM) and magnetoresistive random-access memory (MRAM) technologies. Their approach integrates these memory materials directly with processing elements to create brain-inspired computing architectures. Samsung's neuromorphic materials feature nanoscale crossbar arrays of memristive devices that can simultaneously store and process information, eliminating the traditional memory-processor bottleneck[2]. Their research has yielded significant breakthroughs in materials that can maintain multiple stable resistance states, enabling analog computation similar to biological synapses. Samsung has also pioneered the use of 2D materials like molybdenum disulfide (MoS2) in neuromorphic devices, which exhibit excellent switching characteristics and low power consumption[4]. Additionally, they've developed specialized oxide-based materials that demonstrate reliable potentiation and depression behaviors analogous to biological synaptic plasticity.
Strengths: Samsung's neuromorphic materials demonstrate exceptional energy efficiency (reducing power consumption by up to 70% compared to conventional AI accelerators) and high integration density. Their manufacturing expertise allows for potential mass production of these advanced materials. Weaknesses: Current implementations still face challenges with long-term stability and reliability of the resistive switching materials, and the technology requires significant software ecosystem development to be fully utilized.
Critical Innovations in Memristive and Phase-Change Materials
Memristor and method of production thereof
PatentActiveUS20170047512A1
Innovation
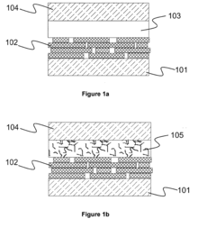
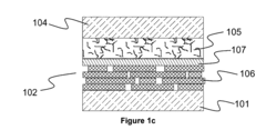
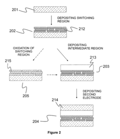
- A variable resistance device with a switching region and an intermediate region that provides electrical contact with the second electrode while preventing unwanted contact between the first and second electrodes, using materials like transition metal dichalcogenides, partially oxidized transition metal oxides, and graphene-like materials, along with metal nanowires and polymers to create sporadic contact points and tune the Schottky barrier, allowing for localized resistance switching and improved manufacturing processes.
Energy Efficiency Implications of Neuromorphic Computing
Neuromorphic computing represents a paradigm shift in electronic system design, offering unprecedented energy efficiency compared to conventional computing architectures. The fundamental advantage stems from its brain-inspired design that processes information through spike-based communication rather than continuous data transfer, significantly reducing power consumption during idle states. Current von Neumann architectures consume energy constantly, regardless of computational activity, whereas neuromorphic systems activate components only when necessary for information processing.
Material innovations play a crucial role in this energy revolution. Memristive materials like hafnium oxide, tantalum oxide, and phase-change materials enable non-volatile memory functions with minimal energy requirements for state changes. These materials can maintain their states without continuous power supply, dramatically reducing standby power consumption. Recent advancements in these materials have demonstrated energy efficiency improvements of two to three orders of magnitude compared to traditional CMOS implementations.
The integration of these specialized materials into neuromorphic architectures creates synergistic effects for energy conservation. Spike-timing-dependent plasticity (STDP) implemented through these materials allows for efficient learning operations with minimal energy overhead. Studies indicate that neuromorphic systems can achieve energy efficiencies approaching 1-10 femtojoules per synaptic operation, compared to hundreds of picojoules in conventional digital systems—a 100-1000x improvement.
From a systems perspective, neuromorphic computing enables significant reductions in data movement energy costs. By collocating memory and processing functions through material innovations, these systems minimize the energy-intensive data transfer between separate memory and processing units that dominates power consumption in conventional architectures. This approach addresses the "memory wall" problem that has long constrained energy efficiency in traditional computing.
The implications extend beyond immediate power savings to broader sustainability considerations. As computing demands continue to escalate globally, particularly with the rise of AI applications, neuromorphic approaches offer a pathway to sustainable computing that could significantly reduce the carbon footprint of the technology sector. Estimates suggest that widespread adoption of neuromorphic computing could potentially reduce data center energy consumption by 30-50% for specific workloads like pattern recognition and sensor processing.
For edge computing applications, these energy efficiency gains translate directly to extended battery life and new capabilities for resource-constrained devices. Neuromorphic sensors incorporating these advanced materials can operate continuously on minimal power budgets, enabling always-on functionality without frequent recharging. This capability is particularly valuable for IoT deployments, medical implants, and remote sensing applications where energy availability represents a critical constraint.
Material innovations play a crucial role in this energy revolution. Memristive materials like hafnium oxide, tantalum oxide, and phase-change materials enable non-volatile memory functions with minimal energy requirements for state changes. These materials can maintain their states without continuous power supply, dramatically reducing standby power consumption. Recent advancements in these materials have demonstrated energy efficiency improvements of two to three orders of magnitude compared to traditional CMOS implementations.
The integration of these specialized materials into neuromorphic architectures creates synergistic effects for energy conservation. Spike-timing-dependent plasticity (STDP) implemented through these materials allows for efficient learning operations with minimal energy overhead. Studies indicate that neuromorphic systems can achieve energy efficiencies approaching 1-10 femtojoules per synaptic operation, compared to hundreds of picojoules in conventional digital systems—a 100-1000x improvement.
From a systems perspective, neuromorphic computing enables significant reductions in data movement energy costs. By collocating memory and processing functions through material innovations, these systems minimize the energy-intensive data transfer between separate memory and processing units that dominates power consumption in conventional architectures. This approach addresses the "memory wall" problem that has long constrained energy efficiency in traditional computing.
The implications extend beyond immediate power savings to broader sustainability considerations. As computing demands continue to escalate globally, particularly with the rise of AI applications, neuromorphic approaches offer a pathway to sustainable computing that could significantly reduce the carbon footprint of the technology sector. Estimates suggest that widespread adoption of neuromorphic computing could potentially reduce data center energy consumption by 30-50% for specific workloads like pattern recognition and sensor processing.
For edge computing applications, these energy efficiency gains translate directly to extended battery life and new capabilities for resource-constrained devices. Neuromorphic sensors incorporating these advanced materials can operate continuously on minimal power budgets, enabling always-on functionality without frequent recharging. This capability is particularly valuable for IoT deployments, medical implants, and remote sensing applications where energy availability represents a critical constraint.
Integration Pathways with Conventional Computing Architectures
The integration of neuromorphic computing materials with conventional computing architectures represents a critical frontier in advanced electronics development. This convergence pathway requires sophisticated interfacing solutions that bridge the fundamental operational differences between traditional von Neumann architectures and brain-inspired neuromorphic systems.
Current integration approaches primarily follow three strategic directions. First, co-processor configurations position neuromorphic components as specialized accelerators alongside conventional CPUs. This arrangement leverages neuromorphic strengths in pattern recognition and sensory processing while maintaining traditional computing capabilities for precise numerical calculations and logical operations.
Second, heterogeneous integration techniques employ advanced packaging technologies such as 2.5D and 3D integration to physically combine neuromorphic and conventional silicon. These methods utilize silicon interposers or through-silicon vias (TSVs) to create compact, high-bandwidth connections between disparate computing paradigms while addressing thermal management challenges inherent in dense integration scenarios.
Third, hybrid memory hierarchies incorporate neuromorphic materials into conventional memory systems. Memristive devices and phase-change materials can function simultaneously as memory and computational elements, potentially resolving the von Neumann bottleneck by reducing data movement between processing and storage components.
Significant technical challenges persist in these integration pathways. Signal conversion between analog neuromorphic components and digital conventional systems introduces latency and energy overhead. Standardized interfaces and communication protocols between these fundamentally different computing paradigms remain underdeveloped, hampering seamless integration efforts.
Programming models present another substantial hurdle. Current software frameworks predominantly target either conventional or neuromorphic architectures separately, with limited tools supporting heterogeneous computing environments. Emerging programming abstractions attempt to hide architectural complexity while enabling developers to leverage the strengths of both paradigms without specialized knowledge of the underlying hardware.
Looking forward, promising research directions include the development of adaptive interfaces that dynamically optimize workload distribution between conventional and neuromorphic components based on computational requirements. Additionally, neuromorphic-aware compilers and runtime systems that can automatically identify portions of applications suitable for neuromorphic acceleration represent a crucial advancement toward practical integrated systems.
Current integration approaches primarily follow three strategic directions. First, co-processor configurations position neuromorphic components as specialized accelerators alongside conventional CPUs. This arrangement leverages neuromorphic strengths in pattern recognition and sensory processing while maintaining traditional computing capabilities for precise numerical calculations and logical operations.
Second, heterogeneous integration techniques employ advanced packaging technologies such as 2.5D and 3D integration to physically combine neuromorphic and conventional silicon. These methods utilize silicon interposers or through-silicon vias (TSVs) to create compact, high-bandwidth connections between disparate computing paradigms while addressing thermal management challenges inherent in dense integration scenarios.
Third, hybrid memory hierarchies incorporate neuromorphic materials into conventional memory systems. Memristive devices and phase-change materials can function simultaneously as memory and computational elements, potentially resolving the von Neumann bottleneck by reducing data movement between processing and storage components.
Significant technical challenges persist in these integration pathways. Signal conversion between analog neuromorphic components and digital conventional systems introduces latency and energy overhead. Standardized interfaces and communication protocols between these fundamentally different computing paradigms remain underdeveloped, hampering seamless integration efforts.
Programming models present another substantial hurdle. Current software frameworks predominantly target either conventional or neuromorphic architectures separately, with limited tools supporting heterogeneous computing environments. Emerging programming abstractions attempt to hide architectural complexity while enabling developers to leverage the strengths of both paradigms without specialized knowledge of the underlying hardware.
Looking forward, promising research directions include the development of adaptive interfaces that dynamically optimize workload distribution between conventional and neuromorphic components based on computational requirements. Additionally, neuromorphic-aware compilers and runtime systems that can automatically identify portions of applications suitable for neuromorphic acceleration represent a crucial advancement toward practical integrated systems.
Unlock deeper insights with Patsnap Eureka Quick Research — get a full tech report to explore trends and direct your research. Try now!
Generate Your Research Report Instantly with AI Agent
Supercharge your innovation with Patsnap Eureka AI Agent Platform!



