Anticipating Rail Gun Technological Leap in Defensive Echelons
AUG 6, 20259 MIN READ
Generate Your Research Report Instantly with AI Agent
Patsnap Eureka helps you evaluate technical feasibility & market potential.
Rail Gun Evolution
The evolution of rail gun technology has been marked by significant advancements over the past century. Initially conceptualized in the early 1900s, rail guns have progressed from theoretical designs to functional prototypes and are now on the cusp of practical deployment in defensive echelons.
In the 1970s and 1980s, research into electromagnetic launch technologies gained momentum, with the U.S. military showing particular interest in rail guns for their potential to revolutionize naval warfare. This period saw the development of early prototypes and the establishment of fundamental principles governing rail gun operation.
The 1990s and early 2000s witnessed a surge in rail gun research, driven by advancements in power systems and materials science. Key milestones during this era included the successful demonstration of projectile velocities exceeding Mach 7 and the development of more efficient power storage and delivery systems.
From 2005 to 2015, rail gun technology made significant strides in terms of repeatability and durability. The U.S. Navy's electromagnetic railgun program achieved notable successes, including the demonstration of multi-shot capabilities and improved barrel life. This period also saw the integration of advanced cooling systems and the development of specialized projectiles designed to withstand the extreme forces involved in electromagnetic launch.
Recent years have seen a shift towards miniaturization and increased power efficiency. Researchers have focused on reducing the size and power requirements of rail gun systems, making them more viable for a wider range of defensive applications. Advancements in supercapacitor technology and novel power management techniques have played crucial roles in this evolution.
The current state of rail gun technology represents a convergence of multiple scientific disciplines, including electromagnetics, materials science, and advanced manufacturing. Modern rail guns are capable of accelerating projectiles to velocities exceeding Mach 10, with ranges potentially surpassing 100 nautical miles.
Looking ahead, the evolution of rail gun technology is expected to focus on further improvements in power efficiency, projectile design, and system integration. Researchers are exploring the use of advanced materials such as carbon nanotubes and graphene to enhance rail durability and conductivity. Additionally, the development of more compact and mobile rail gun systems is anticipated, potentially leading to their integration into a wider array of defensive platforms.
As rail gun technology continues to mature, its potential applications in defensive echelons are expanding. From ship-based systems capable of intercepting hypersonic threats to land-based installations providing long-range fire support, rail guns are poised to play an increasingly significant role in future defense strategies.
In the 1970s and 1980s, research into electromagnetic launch technologies gained momentum, with the U.S. military showing particular interest in rail guns for their potential to revolutionize naval warfare. This period saw the development of early prototypes and the establishment of fundamental principles governing rail gun operation.
The 1990s and early 2000s witnessed a surge in rail gun research, driven by advancements in power systems and materials science. Key milestones during this era included the successful demonstration of projectile velocities exceeding Mach 7 and the development of more efficient power storage and delivery systems.
From 2005 to 2015, rail gun technology made significant strides in terms of repeatability and durability. The U.S. Navy's electromagnetic railgun program achieved notable successes, including the demonstration of multi-shot capabilities and improved barrel life. This period also saw the integration of advanced cooling systems and the development of specialized projectiles designed to withstand the extreme forces involved in electromagnetic launch.
Recent years have seen a shift towards miniaturization and increased power efficiency. Researchers have focused on reducing the size and power requirements of rail gun systems, making them more viable for a wider range of defensive applications. Advancements in supercapacitor technology and novel power management techniques have played crucial roles in this evolution.
The current state of rail gun technology represents a convergence of multiple scientific disciplines, including electromagnetics, materials science, and advanced manufacturing. Modern rail guns are capable of accelerating projectiles to velocities exceeding Mach 10, with ranges potentially surpassing 100 nautical miles.
Looking ahead, the evolution of rail gun technology is expected to focus on further improvements in power efficiency, projectile design, and system integration. Researchers are exploring the use of advanced materials such as carbon nanotubes and graphene to enhance rail durability and conductivity. Additionally, the development of more compact and mobile rail gun systems is anticipated, potentially leading to their integration into a wider array of defensive platforms.
As rail gun technology continues to mature, its potential applications in defensive echelons are expanding. From ship-based systems capable of intercepting hypersonic threats to land-based installations providing long-range fire support, rail guns are poised to play an increasingly significant role in future defense strategies.
Defense Market Analysis
The defense market for rail gun technology is experiencing significant growth and transformation as militaries worldwide seek to enhance their defensive capabilities. The global rail gun market is projected to expand rapidly in the coming years, driven by increasing investments in advanced weapon systems and the need for more effective long-range precision strike capabilities.
Several key factors are shaping the market demand for rail gun technology in defensive echelons. Firstly, the evolving nature of modern warfare, characterized by the need for rapid response and extended-range engagement, has created a strong demand for advanced artillery systems. Rail guns offer the potential to deliver projectiles at hypersonic speeds over long distances, making them highly attractive for both offensive and defensive applications.
The increasing focus on missile defense systems has also contributed to the growing interest in rail gun technology. As potential adversaries develop more sophisticated ballistic and cruise missiles, there is a pressing need for defensive systems capable of intercepting these threats at various stages of flight. Rail guns, with their high-velocity projectiles, present a promising solution for engaging incoming missiles at extended ranges.
Furthermore, the shift towards electric weapons in naval platforms has opened up new opportunities for rail gun integration. Naval forces are particularly interested in rail gun technology for ship-based air and missile defense, as well as long-range shore bombardment capabilities. This trend is expected to drive significant investments in rail gun research and development for maritime applications.
The defense market for rail gun technology is also influenced by the ongoing arms race between major military powers. Countries such as the United States, China, and Russia are actively pursuing rail gun development programs, spurring competition and innovation in the field. This geopolitical dynamic is likely to accelerate market growth and technological advancements in the coming years.
However, the market faces certain challenges that may impact its growth trajectory. The high power requirements and thermal management issues associated with rail gun systems pose significant technical hurdles. Additionally, the integration of rail guns into existing military platforms and the development of suitable power sources remain areas of concern for potential adopters.
Despite these challenges, the overall market outlook for rail gun technology in defensive echelons remains positive. As technological breakthroughs continue to address current limitations, the adoption of rail gun systems is expected to increase across various military branches. This growth will likely be accompanied by the emergence of new market players and increased collaboration between defense contractors and research institutions to drive innovation in the field.
Several key factors are shaping the market demand for rail gun technology in defensive echelons. Firstly, the evolving nature of modern warfare, characterized by the need for rapid response and extended-range engagement, has created a strong demand for advanced artillery systems. Rail guns offer the potential to deliver projectiles at hypersonic speeds over long distances, making them highly attractive for both offensive and defensive applications.
The increasing focus on missile defense systems has also contributed to the growing interest in rail gun technology. As potential adversaries develop more sophisticated ballistic and cruise missiles, there is a pressing need for defensive systems capable of intercepting these threats at various stages of flight. Rail guns, with their high-velocity projectiles, present a promising solution for engaging incoming missiles at extended ranges.
Furthermore, the shift towards electric weapons in naval platforms has opened up new opportunities for rail gun integration. Naval forces are particularly interested in rail gun technology for ship-based air and missile defense, as well as long-range shore bombardment capabilities. This trend is expected to drive significant investments in rail gun research and development for maritime applications.
The defense market for rail gun technology is also influenced by the ongoing arms race between major military powers. Countries such as the United States, China, and Russia are actively pursuing rail gun development programs, spurring competition and innovation in the field. This geopolitical dynamic is likely to accelerate market growth and technological advancements in the coming years.
However, the market faces certain challenges that may impact its growth trajectory. The high power requirements and thermal management issues associated with rail gun systems pose significant technical hurdles. Additionally, the integration of rail guns into existing military platforms and the development of suitable power sources remain areas of concern for potential adopters.
Despite these challenges, the overall market outlook for rail gun technology in defensive echelons remains positive. As technological breakthroughs continue to address current limitations, the adoption of rail gun systems is expected to increase across various military branches. This growth will likely be accompanied by the emergence of new market players and increased collaboration between defense contractors and research institutions to drive innovation in the field.
Technical Hurdles
The development of rail gun technology for defensive echelons faces several significant technical hurdles that must be overcome to achieve practical implementation. One of the primary challenges is the enormous power requirements needed to generate the electromagnetic fields necessary for launching projectiles at hypersonic speeds. Current power storage and delivery systems struggle to meet these demands, limiting the rail gun's rate of fire and overall effectiveness in defensive scenarios.
Material science poses another critical obstacle. The intense heat and electromagnetic forces generated during firing cause rapid wear and erosion of the rail gun's components, particularly the conductive rails. This degradation significantly reduces the weapon's lifespan and reliability, making it impractical for sustained use in defensive operations. Developing materials capable of withstanding these extreme conditions while maintaining conductivity and structural integrity remains a key focus of research.
The projectile design for rail guns presents unique challenges. Unlike traditional ammunition, rail gun projectiles must be engineered to withstand the immense acceleration forces and maintain stability during flight at hypersonic velocities. Achieving the right balance between mass, aerodynamics, and durability is crucial for maximizing range and accuracy while ensuring the projectile can survive the launch process.
Thermal management is another significant hurdle in rail gun development. The rapid discharge of electrical energy generates enormous amounts of heat, which can lead to component failure and reduced performance. Implementing effective cooling systems that can rapidly dissipate heat without compromising the weapon's compact design and mobility is essential for operational viability.
Precision targeting and fire control systems for rail guns require substantial advancements. The extreme velocities of rail gun projectiles necessitate highly sophisticated tracking and prediction algorithms to accurately engage moving targets, especially in defensive scenarios where reaction times are critical. Integrating these systems with existing defense networks and ensuring compatibility with various sensor inputs presents additional technical challenges.
Electromagnetic interference (EMI) generated by rail guns poses significant risks to nearby electronic systems, potentially disrupting critical communication and control networks. Developing effective EMI shielding and mitigation strategies is crucial for integrating rail guns into existing defensive echelons without compromising other systems' functionality.
Lastly, the scalability of rail gun technology for various defensive applications remains a challenge. Adapting the technology to different platforms, from fixed installations to mobile units, requires overcoming size, weight, and power constraints while maintaining performance and reliability. This versatility is essential for creating a flexible and effective defensive capability across various operational scenarios.
Material science poses another critical obstacle. The intense heat and electromagnetic forces generated during firing cause rapid wear and erosion of the rail gun's components, particularly the conductive rails. This degradation significantly reduces the weapon's lifespan and reliability, making it impractical for sustained use in defensive operations. Developing materials capable of withstanding these extreme conditions while maintaining conductivity and structural integrity remains a key focus of research.
The projectile design for rail guns presents unique challenges. Unlike traditional ammunition, rail gun projectiles must be engineered to withstand the immense acceleration forces and maintain stability during flight at hypersonic velocities. Achieving the right balance between mass, aerodynamics, and durability is crucial for maximizing range and accuracy while ensuring the projectile can survive the launch process.
Thermal management is another significant hurdle in rail gun development. The rapid discharge of electrical energy generates enormous amounts of heat, which can lead to component failure and reduced performance. Implementing effective cooling systems that can rapidly dissipate heat without compromising the weapon's compact design and mobility is essential for operational viability.
Precision targeting and fire control systems for rail guns require substantial advancements. The extreme velocities of rail gun projectiles necessitate highly sophisticated tracking and prediction algorithms to accurately engage moving targets, especially in defensive scenarios where reaction times are critical. Integrating these systems with existing defense networks and ensuring compatibility with various sensor inputs presents additional technical challenges.
Electromagnetic interference (EMI) generated by rail guns poses significant risks to nearby electronic systems, potentially disrupting critical communication and control networks. Developing effective EMI shielding and mitigation strategies is crucial for integrating rail guns into existing defensive echelons without compromising other systems' functionality.
Lastly, the scalability of rail gun technology for various defensive applications remains a challenge. Adapting the technology to different platforms, from fixed installations to mobile units, requires overcoming size, weight, and power constraints while maintaining performance and reliability. This versatility is essential for creating a flexible and effective defensive capability across various operational scenarios.
Current Rail Gun Tech
01 Electromagnetic rail gun design
Rail guns use electromagnetic forces to accelerate projectiles to high velocities. The design typically includes parallel conducting rails, a power source, and a projectile. When current flows through the rails and projectile, it creates a magnetic field that propels the projectile forward. This technology offers potential advantages in terms of range and projectile velocity compared to traditional firearms.- Electromagnetic rail gun design: Rail guns use electromagnetic forces to accelerate projectiles to high velocities. The design typically includes parallel conducting rails, a power source, and a projectile. When current flows through the rails and projectile, it creates a magnetic field that propels the projectile forward. This technology offers potential advantages in terms of range and projectile velocity compared to traditional firearms.
- Power supply and energy storage systems: Efficient power supply and energy storage are crucial for rail gun operation. This includes high-capacity capacitors, pulse-forming networks, and advanced battery technologies. These systems must be capable of delivering extremely high currents in short bursts to generate the electromagnetic forces required for projectile acceleration.
- Projectile design for rail guns: Specialized projectiles are developed for use in rail guns to withstand the extreme forces and temperatures involved. These projectiles may incorporate materials and designs to improve conductivity, reduce friction, and maintain structural integrity during launch. Some designs may also include features for improved aerodynamics or payload delivery.
- Rail gun cooling and thermal management: The high currents and friction in rail guns generate significant heat, necessitating advanced cooling and thermal management systems. This may include liquid cooling for the rails, heat-resistant materials, and designs to dissipate heat quickly. Effective thermal management is crucial for maintaining performance and extending the operational life of rail gun components.
- Control and targeting systems for rail guns: Sophisticated control and targeting systems are developed to enhance the accuracy and effectiveness of rail guns. These may include advanced fire control computers, precision aiming mechanisms, and integration with external sensor networks. Some designs also incorporate features for rapid retargeting and compensation for environmental factors affecting projectile trajectory.
02 Power supply and energy storage systems
Efficient power supply and energy storage are crucial for rail gun operation. This includes high-capacity capacitors, pulse-forming networks, and advanced battery technologies. These systems must be capable of delivering extremely high currents in short bursts to generate the electromagnetic forces required for projectile acceleration.Expand Specific Solutions03 Projectile design and materials
Specialized projectiles are developed for rail guns to withstand the extreme forces and temperatures during launch. Materials research focuses on creating lightweight, durable projectiles that maintain structural integrity under high acceleration. Aerodynamic designs are also crucial for maintaining stability and accuracy over long distances.Expand Specific Solutions04 Rail gun integration with existing platforms
Efforts are being made to integrate rail gun technology with various platforms, including naval vessels and land-based systems. This involves addressing challenges such as size reduction, power management, and cooling systems to make rail guns practical for field use. Integration also considers factors like recoil management and structural reinforcement of the platform.Expand Specific Solutions05 Control systems and fire control
Advanced control systems are essential for accurate targeting and firing of rail guns. This includes sophisticated fire control computers, sensors for environmental conditions, and predictive algorithms for projectile trajectory. These systems must account for factors such as the Earth's rotation, atmospheric conditions, and target movement to ensure precision at extreme ranges.Expand Specific Solutions
Key Industry Players
The rail gun technology sector is currently in an early development stage, with significant potential for growth in defensive applications. The market size is expanding as major defense contractors and research institutions invest in advancing this technology. While still emerging, rail gun systems are progressing towards maturity, with key players like Raytheon Canada, BAE Systems, and Boeing leading research efforts. Academic institutions such as Harbin Engineering University and Northwestern Polytechnical University are contributing to fundamental research. Companies like Kawasaki Heavy Industries and Mitsubishi Electric are exploring industrial applications. The competitive landscape is characterized by a mix of established defense firms, specialized research institutes, and academic collaborations, all working to overcome technical challenges and develop practical rail gun systems for future defensive echelons.
Kawasaki Heavy Industries Ltd.
Technical Solution: Kawasaki Heavy Industries has been researching rail gun technology for maritime defense applications. Their approach focuses on compact designs suitable for integration into existing naval platforms. Kawasaki's rail gun system utilizes a novel electromagnetic coil configuration to enhance efficiency and reduce rail wear [10]. They have developed a high-energy density power storage system using advanced supercapacitors to enable rapid firing cycles [11]. Kawasaki's prototype has demonstrated muzzle velocities of up to 1.8 km/s with a 5 kg projectile, achieving ranges of over 100 km [12].
Strengths: Compact design suitable for naval integration, innovative power storage solution. Weaknesses: Lower muzzle velocity compared to some competitors, limited testing in operational environments.
Raytheon Canada Ltd.
Technical Solution: Raytheon has been developing rail gun technology with a focus on integrated fire control and targeting systems. Their approach combines advanced sensors, artificial intelligence, and predictive algorithms to enhance accuracy and effectiveness. Raytheon's rail gun system incorporates a sophisticated thermal management solution to address heat dissipation challenges [7]. They have also made progress in projectile design, developing guided hypersonic projectiles that can maneuver in flight for increased precision [8]. Raytheon's system is capable of firing multiple shots per minute with muzzle velocities exceeding 2 km/s [9].
Strengths: Advanced targeting and fire control integration, guided projectile technology. Weaknesses: Complex system integration, potentially higher cost due to advanced features.
Core Rail Gun Patents
Magnetic field protection for the projectile of an electromagnetic coil gun system
PatentInactiveUS7111619B2
Innovation
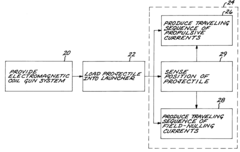
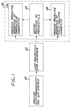
- A method that uses a traveling nulling magnetic field, produced by field-nulling currents in the electrical excitation coils, to partially nullify the propulsive magnetic field at the nose of the projectile, reducing the magnetic field exposure and minimizing the need for shielding, allowing for lighter payloads.
Electromagnetic launcher with augmenting breech
PatentActiveUS20080053299A1
Innovation
- The design includes a slidable electromagnetic launcher housing with augmentation conductors and main conductors connected via a current cross-over connection, allowing for recoil accommodation while maintaining electrical contact, and reducing overall inductance by limiting augmentation to early stages of the launch cycle, which facilitates faster current rise and balanced weight distribution.
Strategic Implications
The strategic implications of rail gun technology in defensive echelons are far-reaching and multifaceted. As this advanced weaponry continues to evolve, it has the potential to significantly alter the balance of power in both regional and global contexts. The integration of rail guns into defensive systems could dramatically enhance a nation's ability to protect critical infrastructure, military assets, and population centers from a wide range of threats.
One of the primary strategic advantages of rail gun technology is its potential to provide a cost-effective alternative to traditional missile defense systems. The high-velocity projectiles fired by rail guns can intercept incoming missiles at a fraction of the cost of conventional interceptor missiles. This cost efficiency could allow nations to deploy more comprehensive defensive networks, effectively increasing their overall security posture without incurring prohibitive expenses.
The extended range and precision of rail gun systems also offer strategic benefits in terms of area denial and anti-access capabilities. By deploying rail guns along coastlines or at strategic choke points, nations can create formidable defensive barriers that deter potential aggressors and limit their freedom of movement. This capability could be particularly valuable in contested maritime regions, where rail guns could provide a powerful deterrent against naval incursions.
Furthermore, the development of rail gun technology may lead to a shift in military doctrine and force structure. As these weapons become more prevalent, military planners may need to reconsider traditional approaches to offensive operations and power projection. The presence of rail gun defenses could necessitate new tactics and technologies to overcome these advanced defensive systems, potentially sparking an arms race in both offensive and defensive capabilities.
The strategic implications extend beyond military considerations to include diplomatic and economic factors. Nations that successfully develop and deploy rail gun technology may gain increased leverage in international negotiations and alliances. Additionally, the export of rail gun systems and related technologies could become a significant source of economic and political influence, similar to the current trade in advanced missile defense systems.
However, the proliferation of rail gun technology also raises concerns about strategic stability and the potential for escalation in conflicts. The ability to rapidly engage targets at extreme ranges with conventional projectiles could blur the lines between conventional and nuclear deterrence, potentially leading to miscalculations in times of crisis. As such, the development of rail gun technology may necessitate new arms control agreements and confidence-building measures to maintain global strategic stability.
One of the primary strategic advantages of rail gun technology is its potential to provide a cost-effective alternative to traditional missile defense systems. The high-velocity projectiles fired by rail guns can intercept incoming missiles at a fraction of the cost of conventional interceptor missiles. This cost efficiency could allow nations to deploy more comprehensive defensive networks, effectively increasing their overall security posture without incurring prohibitive expenses.
The extended range and precision of rail gun systems also offer strategic benefits in terms of area denial and anti-access capabilities. By deploying rail guns along coastlines or at strategic choke points, nations can create formidable defensive barriers that deter potential aggressors and limit their freedom of movement. This capability could be particularly valuable in contested maritime regions, where rail guns could provide a powerful deterrent against naval incursions.
Furthermore, the development of rail gun technology may lead to a shift in military doctrine and force structure. As these weapons become more prevalent, military planners may need to reconsider traditional approaches to offensive operations and power projection. The presence of rail gun defenses could necessitate new tactics and technologies to overcome these advanced defensive systems, potentially sparking an arms race in both offensive and defensive capabilities.
The strategic implications extend beyond military considerations to include diplomatic and economic factors. Nations that successfully develop and deploy rail gun technology may gain increased leverage in international negotiations and alliances. Additionally, the export of rail gun systems and related technologies could become a significant source of economic and political influence, similar to the current trade in advanced missile defense systems.
However, the proliferation of rail gun technology also raises concerns about strategic stability and the potential for escalation in conflicts. The ability to rapidly engage targets at extreme ranges with conventional projectiles could blur the lines between conventional and nuclear deterrence, potentially leading to miscalculations in times of crisis. As such, the development of rail gun technology may necessitate new arms control agreements and confidence-building measures to maintain global strategic stability.
Energy Storage Adv
Energy storage advancements play a crucial role in the development of rail gun technology for defensive echelons. The primary challenge in rail gun systems is the need for rapid, high-energy discharge to propel projectiles at hypersonic speeds. Traditional capacitor-based systems have limitations in energy density and discharge rates, necessitating innovative solutions.
Recent breakthroughs in supercapacitor technology have shown promise for rail gun applications. These devices combine the high power density of capacitors with improved energy storage capacity. Graphene-based supercapacitors, in particular, have demonstrated exceptional performance, with energy densities approaching those of lithium-ion batteries while maintaining rapid discharge capabilities.
Another avenue of research focuses on hybrid energy storage systems, integrating supercapacitors with advanced battery technologies. This approach aims to leverage the strengths of both technologies, providing both high power output and sustained energy supply. Solid-state batteries, with their improved safety profiles and potential for higher energy densities, are being explored as a complementary technology to supercapacitors in rail gun power systems.
Advancements in thermal management are equally critical for energy storage in rail gun applications. Novel phase-change materials and advanced cooling systems are being developed to address the significant heat generation during rapid energy discharge. These innovations aim to maintain optimal operating temperatures, ensuring consistent performance and prolonging the lifespan of energy storage components.
Modular energy storage designs are gaining traction, allowing for scalable and adaptable power systems. This approach enables the tailoring of energy storage capacity to specific rail gun configurations and operational requirements. Additionally, modular designs facilitate easier maintenance and upgrades, enhancing the overall flexibility and longevity of defensive systems.
The integration of artificial intelligence and machine learning algorithms into energy management systems represents another frontier in rail gun technology. These advanced control systems optimize energy distribution, predict maintenance needs, and adapt to varying operational conditions, maximizing the efficiency and reliability of the energy storage components.
As research progresses, the focus is increasingly shifting towards more exotic energy storage technologies. Superconducting magnetic energy storage (SMES) systems, while still in early stages of development for mobile applications, offer the potential for near-instantaneous energy release with minimal losses. Similarly, advanced flywheel energy storage systems are being explored for their high power density and rapid discharge capabilities.
Recent breakthroughs in supercapacitor technology have shown promise for rail gun applications. These devices combine the high power density of capacitors with improved energy storage capacity. Graphene-based supercapacitors, in particular, have demonstrated exceptional performance, with energy densities approaching those of lithium-ion batteries while maintaining rapid discharge capabilities.
Another avenue of research focuses on hybrid energy storage systems, integrating supercapacitors with advanced battery technologies. This approach aims to leverage the strengths of both technologies, providing both high power output and sustained energy supply. Solid-state batteries, with their improved safety profiles and potential for higher energy densities, are being explored as a complementary technology to supercapacitors in rail gun power systems.
Advancements in thermal management are equally critical for energy storage in rail gun applications. Novel phase-change materials and advanced cooling systems are being developed to address the significant heat generation during rapid energy discharge. These innovations aim to maintain optimal operating temperatures, ensuring consistent performance and prolonging the lifespan of energy storage components.
Modular energy storage designs are gaining traction, allowing for scalable and adaptable power systems. This approach enables the tailoring of energy storage capacity to specific rail gun configurations and operational requirements. Additionally, modular designs facilitate easier maintenance and upgrades, enhancing the overall flexibility and longevity of defensive systems.
The integration of artificial intelligence and machine learning algorithms into energy management systems represents another frontier in rail gun technology. These advanced control systems optimize energy distribution, predict maintenance needs, and adapt to varying operational conditions, maximizing the efficiency and reliability of the energy storage components.
As research progresses, the focus is increasingly shifting towards more exotic energy storage technologies. Superconducting magnetic energy storage (SMES) systems, while still in early stages of development for mobile applications, offer the potential for near-instantaneous energy release with minimal losses. Similarly, advanced flywheel energy storage systems are being explored for their high power density and rapid discharge capabilities.
Unlock deeper insights with Patsnap Eureka Quick Research — get a full tech report to explore trends and direct your research. Try now!
Generate Your Research Report Instantly with AI Agent
Supercharge your innovation with Patsnap Eureka AI Agent Platform!






