Characteristics of Vehicle-to-Grid Charging Interface Innovations
SEP 23, 20259 MIN READ
 Generate Your Research Report Instantly with AI Agent 
 Patsnap Eureka helps you evaluate technical feasibility & market potential. 
V2G Interface Technology Background and Objectives
Vehicle-to-Grid (V2G) technology has evolved significantly over the past decade, transforming from a theoretical concept into a practical solution for grid stabilization and renewable energy integration. The fundamental premise of V2G technology involves bidirectional power flow between electric vehicles (EVs) and the electrical grid, allowing EVs to serve as mobile energy storage units. This bidirectional capability represents a paradigm shift from traditional unidirectional charging infrastructure, where vehicles merely consume electricity from the grid.
The evolution of V2G interfaces began with rudimentary systems in the early 2010s, primarily focused on basic power exchange capabilities. These early interfaces lacked sophisticated communication protocols and were limited in their ability to respond dynamically to grid conditions. By mid-decade, second-generation interfaces emerged, incorporating enhanced communication capabilities and preliminary smart charging features, though still constrained by hardware limitations and standardization issues.
Current V2G interface technology has matured to include advanced features such as real-time grid communication, dynamic power management, and integration with renewable energy sources. Modern interfaces utilize sophisticated protocols like ISO 15118, CHAdeMO, and CCS (Combined Charging System) to facilitate secure and efficient bidirectional energy transfer while ensuring grid stability and vehicle battery health.
The primary technical objective for V2G interface innovations centers on developing seamless, standardized communication protocols that enable efficient bidirectional power flow while maintaining grid stability and protecting vehicle battery systems. Additional objectives include reducing latency in grid response, enhancing cybersecurity measures, and improving interoperability across different vehicle models and grid infrastructures.
Looking forward, V2G interface technology aims to achieve greater integration with smart grid ecosystems, enabling features such as predictive energy management based on machine learning algorithms, enhanced user experience through intuitive interfaces, and support for vehicle-to-everything (V2X) applications including vehicle-to-home (V2H) and vehicle-to-building (V2B) capabilities.
The technological trajectory suggests a convergence toward unified standards that will facilitate widespread adoption while addressing current challenges related to communication protocols, hardware compatibility, and regulatory frameworks. This standardization is crucial for realizing the full potential of V2G technology as a cornerstone of future smart energy systems, where millions of electric vehicles could collectively serve as a massive distributed energy resource.
The evolution of V2G interfaces began with rudimentary systems in the early 2010s, primarily focused on basic power exchange capabilities. These early interfaces lacked sophisticated communication protocols and were limited in their ability to respond dynamically to grid conditions. By mid-decade, second-generation interfaces emerged, incorporating enhanced communication capabilities and preliminary smart charging features, though still constrained by hardware limitations and standardization issues.
Current V2G interface technology has matured to include advanced features such as real-time grid communication, dynamic power management, and integration with renewable energy sources. Modern interfaces utilize sophisticated protocols like ISO 15118, CHAdeMO, and CCS (Combined Charging System) to facilitate secure and efficient bidirectional energy transfer while ensuring grid stability and vehicle battery health.
The primary technical objective for V2G interface innovations centers on developing seamless, standardized communication protocols that enable efficient bidirectional power flow while maintaining grid stability and protecting vehicle battery systems. Additional objectives include reducing latency in grid response, enhancing cybersecurity measures, and improving interoperability across different vehicle models and grid infrastructures.
Looking forward, V2G interface technology aims to achieve greater integration with smart grid ecosystems, enabling features such as predictive energy management based on machine learning algorithms, enhanced user experience through intuitive interfaces, and support for vehicle-to-everything (V2X) applications including vehicle-to-home (V2H) and vehicle-to-building (V2B) capabilities.
The technological trajectory suggests a convergence toward unified standards that will facilitate widespread adoption while addressing current challenges related to communication protocols, hardware compatibility, and regulatory frameworks. This standardization is crucial for realizing the full potential of V2G technology as a cornerstone of future smart energy systems, where millions of electric vehicles could collectively serve as a massive distributed energy resource.
Market Demand Analysis for V2G Charging Solutions
The Vehicle-to-Grid (V2G) charging interface market is experiencing significant growth driven by the convergence of renewable energy integration, grid stability concerns, and electric vehicle (EV) proliferation. Current market analysis indicates that the global V2G technology market is projected to grow at a compound annual growth rate of 48% between 2023 and 2030, reaching substantial market valuation by the end of the decade.
Primary market demand for V2G charging solutions stems from utility companies seeking to leverage EV batteries as distributed energy resources. These companies recognize the potential of V2G to provide grid services such as frequency regulation, peak shaving, and load balancing, which can defer costly infrastructure upgrades while improving grid resilience. Utilities in regions with high renewable energy penetration show particularly strong interest, as V2G offers a solution to intermittency challenges.
Fleet operators represent another significant market segment, especially those managing delivery vehicles, public transportation, and corporate fleets. These operators are increasingly attracted to V2G's potential for reducing total cost of ownership through revenue generation during vehicle downtime. Market research indicates that fleet operators can potentially reduce EV-related costs by 20-30% through strategic V2G participation.
Residential consumers constitute an emerging but promising market segment. While currently limited by infrastructure costs and regulatory barriers, consumer interest in energy independence and sustainability is driving adoption in regions with favorable net metering policies and time-of-use electricity rates. The residential V2G market is expected to accelerate as hardware costs decrease and user interfaces become more intuitive.
Geographically, market demand shows distinct regional patterns. Europe leads in V2G adoption, driven by progressive energy policies in countries like Denmark, the Netherlands, and the UK. North America follows with strong pilots in California and the Northeast United States. The Asia-Pacific region, particularly Japan and South Korea, is rapidly advancing V2G implementation through government-backed initiatives.
Market barriers include standardization challenges, with competing protocols limiting interoperability between vehicles and charging infrastructure. Regulatory frameworks remain underdeveloped in many regions, creating uncertainty for potential investors. Additionally, battery degradation concerns persist among vehicle manufacturers and consumers, though recent studies suggest minimal impact under managed charging conditions.
The V2G charging interface market is also influenced by adjacent technology trends, including the growth of smart home systems, decentralized energy markets, and blockchain-based energy trading platforms. These complementary technologies are expected to enhance the value proposition of V2G solutions by creating new revenue streams and improving user experience.
Primary market demand for V2G charging solutions stems from utility companies seeking to leverage EV batteries as distributed energy resources. These companies recognize the potential of V2G to provide grid services such as frequency regulation, peak shaving, and load balancing, which can defer costly infrastructure upgrades while improving grid resilience. Utilities in regions with high renewable energy penetration show particularly strong interest, as V2G offers a solution to intermittency challenges.
Fleet operators represent another significant market segment, especially those managing delivery vehicles, public transportation, and corporate fleets. These operators are increasingly attracted to V2G's potential for reducing total cost of ownership through revenue generation during vehicle downtime. Market research indicates that fleet operators can potentially reduce EV-related costs by 20-30% through strategic V2G participation.
Residential consumers constitute an emerging but promising market segment. While currently limited by infrastructure costs and regulatory barriers, consumer interest in energy independence and sustainability is driving adoption in regions with favorable net metering policies and time-of-use electricity rates. The residential V2G market is expected to accelerate as hardware costs decrease and user interfaces become more intuitive.
Geographically, market demand shows distinct regional patterns. Europe leads in V2G adoption, driven by progressive energy policies in countries like Denmark, the Netherlands, and the UK. North America follows with strong pilots in California and the Northeast United States. The Asia-Pacific region, particularly Japan and South Korea, is rapidly advancing V2G implementation through government-backed initiatives.
Market barriers include standardization challenges, with competing protocols limiting interoperability between vehicles and charging infrastructure. Regulatory frameworks remain underdeveloped in many regions, creating uncertainty for potential investors. Additionally, battery degradation concerns persist among vehicle manufacturers and consumers, though recent studies suggest minimal impact under managed charging conditions.
The V2G charging interface market is also influenced by adjacent technology trends, including the growth of smart home systems, decentralized energy markets, and blockchain-based energy trading platforms. These complementary technologies are expected to enhance the value proposition of V2G solutions by creating new revenue streams and improving user experience.
Current V2G Interface Challenges and Limitations
Despite significant advancements in Vehicle-to-Grid (V2G) technology, current interface systems face substantial challenges that impede widespread adoption. The primary technical limitation remains the lack of standardized communication protocols between vehicles and grid infrastructure. While standards like ISO 15118, CHAdeMO, and OpenADR exist, their fragmented implementation creates interoperability issues across different vehicle models and charging stations, resulting in inconsistent user experiences and limited functionality.
Hardware compatibility presents another significant barrier. Many existing Electric Vehicles (EVs) lack the necessary bidirectional charging capabilities, requiring additional hardware modifications or converters that increase implementation costs and complexity. The retrofitting process often involves proprietary solutions that are not universally compatible, further fragmenting the ecosystem.
Grid integration challenges persist due to outdated regulatory frameworks and technical limitations in local distribution networks. Many electrical grids were not designed to handle bidirectional power flows at scale, leading to potential stability issues, voltage fluctuations, and safety concerns when multiple V2G-enabled vehicles operate simultaneously in a neighborhood.
Security vulnerabilities in current V2G interfaces pose critical risks to both the power grid and vehicle systems. The increased connectivity between vehicles and grid infrastructure expands the attack surface for potential cyber threats, with inadequate encryption, authentication mechanisms, and secure firmware update processes in many existing implementations.
User experience limitations significantly impact adoption rates. Current V2G interfaces often feature complex setup procedures, unintuitive control systems, and limited visibility into energy flows and financial benefits. The absence of seamless integration with home energy management systems and smart devices creates additional friction points for potential users.
Efficiency losses during bidirectional energy transfer remain problematic, with conversion losses typically ranging from 10-20% during each grid-to-vehicle and vehicle-to-grid cycle. These losses reduce the economic viability of V2G services and contribute to faster battery degradation, which remains inadequately addressed in current interface designs.
Real-time data management capabilities are insufficient in most existing systems. The inability to process and respond to dynamic pricing signals, grid demand fluctuations, and user preferences in real-time limits the value proposition of V2G technology. Current interfaces typically operate on simplified schedules rather than adaptive algorithms that could maximize both grid benefits and user returns.
Hardware compatibility presents another significant barrier. Many existing Electric Vehicles (EVs) lack the necessary bidirectional charging capabilities, requiring additional hardware modifications or converters that increase implementation costs and complexity. The retrofitting process often involves proprietary solutions that are not universally compatible, further fragmenting the ecosystem.
Grid integration challenges persist due to outdated regulatory frameworks and technical limitations in local distribution networks. Many electrical grids were not designed to handle bidirectional power flows at scale, leading to potential stability issues, voltage fluctuations, and safety concerns when multiple V2G-enabled vehicles operate simultaneously in a neighborhood.
Security vulnerabilities in current V2G interfaces pose critical risks to both the power grid and vehicle systems. The increased connectivity between vehicles and grid infrastructure expands the attack surface for potential cyber threats, with inadequate encryption, authentication mechanisms, and secure firmware update processes in many existing implementations.
User experience limitations significantly impact adoption rates. Current V2G interfaces often feature complex setup procedures, unintuitive control systems, and limited visibility into energy flows and financial benefits. The absence of seamless integration with home energy management systems and smart devices creates additional friction points for potential users.
Efficiency losses during bidirectional energy transfer remain problematic, with conversion losses typically ranging from 10-20% during each grid-to-vehicle and vehicle-to-grid cycle. These losses reduce the economic viability of V2G services and contribute to faster battery degradation, which remains inadequately addressed in current interface designs.
Real-time data management capabilities are insufficient in most existing systems. The inability to process and respond to dynamic pricing signals, grid demand fluctuations, and user preferences in real-time limits the value proposition of V2G technology. Current interfaces typically operate on simplified schedules rather than adaptive algorithms that could maximize both grid benefits and user returns.
Current V2G Interface Technical Solutions
01 Communication protocols for V2G interfaces
Vehicle-to-Grid (V2G) charging interfaces require standardized communication protocols to enable bidirectional power flow between electric vehicles and the grid. These protocols facilitate secure data exchange for authentication, authorization, and coordination of charging/discharging operations. They ensure interoperability between different vehicle models and charging infrastructure while supporting various grid services such as frequency regulation, demand response, and load balancing.- Communication protocols for V2G interfaces: Vehicle-to-Grid (V2G) systems require standardized communication protocols to enable effective interaction between electric vehicles and the power grid. These protocols facilitate bidirectional communication, allowing for negotiation of charging parameters, authentication, and secure data exchange. Advanced protocols support features such as load balancing, remote monitoring, and dynamic pricing based on grid conditions, ensuring seamless integration of electric vehicles into the smart grid ecosystem.
 - Physical connector designs and standards: The physical interface between electric vehicles and charging infrastructure is critical for V2G functionality. Connector designs must accommodate bidirectional power flow while ensuring safety, durability, and ease of use. Various international standards define connector specifications, including pin configurations, power ratings, and safety features. These standardized connectors enable interoperability across different vehicle models and charging stations, supporting widespread adoption of V2G technology.
 - Power management and grid integration systems: V2G interfaces incorporate sophisticated power management systems to regulate energy flow between vehicles and the grid. These systems monitor grid conditions, vehicle battery status, and user preferences to optimize charging and discharging operations. Advanced features include reactive power compensation, frequency regulation, and peak shaving capabilities. Integration with grid management systems allows for coordinated control of multiple vehicles, enabling them to function as distributed energy resources within the broader power network.
 - User interface and authentication mechanisms: V2G charging interfaces feature user-friendly control systems that allow vehicle owners to manage their participation in grid services. These interfaces typically include mobile applications, in-vehicle displays, or charging station screens that provide information on energy flows, pricing, and system status. Secure authentication mechanisms ensure that only authorized users can initiate charging sessions and grid interactions, protecting both vehicle systems and grid infrastructure from unauthorized access or manipulation.
 - Billing and transaction management features: V2G interfaces incorporate sophisticated billing systems to account for bidirectional energy flows between vehicles and the grid. These systems track energy consumption during charging and energy contribution during discharging, applying appropriate tariffs based on time-of-use, grid conditions, or contractual arrangements. Transaction management features support various business models, including direct compensation for grid services, reduced charging costs, or subscription-based approaches, enabling vehicle owners to monetize their battery capacity while supporting grid stability.
 
02 Physical connector designs and standards
The physical aspects of V2G charging interfaces involve specialized connector designs that support bidirectional power flow. These connectors must meet safety standards while accommodating high power levels and ensuring durability through numerous connection cycles. Various connector standards exist globally, including Combined Charging System (CCS), CHAdeMO, and Tesla proprietary connectors, each with different capabilities for V2G applications and regional adoption patterns.Expand Specific Solutions03 Power management and grid integration systems
V2G interfaces incorporate sophisticated power management systems that regulate the flow of electricity between vehicles and the grid. These systems include power electronics for AC/DC conversion, voltage regulation, and protection mechanisms. Advanced grid integration features enable vehicles to respond to grid signals, participate in energy markets, and provide ancillary services while ensuring grid stability and preventing adverse impacts on distribution networks.Expand Specific Solutions04 User interface and authentication mechanisms
V2G charging interfaces feature user interface systems that allow vehicle owners to control and monitor energy transactions. These interfaces typically include mobile applications, in-vehicle displays, or charging station screens that provide information on charging status, energy prices, and grid service participation. Secure authentication mechanisms ensure that only authorized users can initiate V2G operations, protecting both vehicle systems and grid infrastructure from unauthorized access.Expand Specific Solutions05 Smart charging and scheduling algorithms
Advanced V2G interfaces incorporate intelligent charging algorithms that optimize energy flow based on multiple factors including electricity prices, grid conditions, user preferences, and vehicle usage patterns. These algorithms enable features such as time-of-use charging, peak shaving, and renewable energy integration. Machine learning techniques may be employed to predict optimal charging/discharging schedules, maximizing economic benefits for vehicle owners while supporting grid reliability and sustainability objectives.Expand Specific Solutions
Key Industry Players in V2G Interface Development
Vehicle-to-Grid (V2G) charging interface innovations are currently in the early growth phase, with the market expected to expand significantly as electric vehicle adoption increases globally. The global V2G market is projected to reach approximately $17 billion by 2027, growing at a CAGR of over 45%. Technologically, the field is still maturing, with varying levels of readiness across key players. BYD and State Grid Corp. of China are leading in large-scale implementation, while ChargePoint and Siemens have developed advanced commercial solutions. Automotive manufacturers like Hyundai, Kia, BMW, and Porsche are actively integrating V2G capabilities into their vehicle designs. Research institutions including Zhejiang University and Auckland UniServices are driving fundamental innovations, while specialized companies like ROCSYS are developing automated charging solutions to overcome current interface limitations.
BYD Co., Ltd.
Technical Solution:  BYD has developed an advanced Vehicle-to-Grid (V2G) charging interface system that integrates their proprietary "Blade Battery" technology with bidirectional power flow capabilities. Their solution incorporates a high-efficiency DC charging interface that supports power flows up to 60kW for grid feedback. BYD's V2G system features intelligent power management algorithms that optimize charging/discharging cycles based on grid demand signals, vehicle battery state, and user preferences. The system employs a standardized CCS (Combined Charging System) connector enhanced with additional communication protocols for secure grid integration. BYD has implemented this technology across their commercial fleet vehicles, particularly in their electric buses, where the large battery capacity serves as significant energy storage for grid stabilization during peak demand periods[1][3].
Strengths: Seamless integration with their own battery technology allows for optimized battery longevity during V2G operations; extensive real-world deployment experience across commercial fleets. Weaknesses: Proprietary aspects of their system may limit interoperability with other manufacturers' vehicles; primarily focused on fleet applications rather than individual consumer vehicles.
Siemens Industry, Inc.
Technical Solution:  Siemens has developed a comprehensive V2G charging interface solution called "VersiCharge Grid-Interactive" that enables bidirectional power flow between electric vehicles and the electrical grid. The system features advanced power electronics with silicon carbide technology that achieves conversion efficiencies exceeding 95% during both charging and discharging operations. Their interface incorporates ISO 15118 communication protocols for secure authentication and automated billing processes, allowing seamless integration with utility demand response programs. Siemens' solution includes dynamic load management capabilities that can respond to grid signals within milliseconds, providing frequency regulation services. The charging interface supports both AC (up to 22kW) and DC (up to 150kW) bidirectional power transfer, with integrated safety features including galvanic isolation and continuous ground fault monitoring[2][5].
Strengths: Extensive grid infrastructure expertise allows for deep integration with utility systems; highly scalable solution applicable from residential to commercial installations; robust safety certifications. Weaknesses: Higher implementation costs compared to unidirectional charging solutions; requires compatible vehicles with bidirectional charging capabilities which limits current market penetration.
Core V2G Interface Patents and Innovations
Bi-directional vehicle ac charging apparatus 
PatentPendingEP4494917A1
 Innovation 
- A bi-directional AC charging apparatus that converts unidirectional AC charging points into bi-directional charging stations, equipped with a control computer, communication interfaces, and a grid and system protection circuit, allowing for geo-location determination and configuration of grid codes for safe and efficient bi-directional energy transfer.
 
Integrated dual-output grid-to-vehicle (G2V) and vehicle-to-grid (V2G) onboard charger for plug-in electric vehicles 
PatentActiveUS10696182B2
 Innovation 
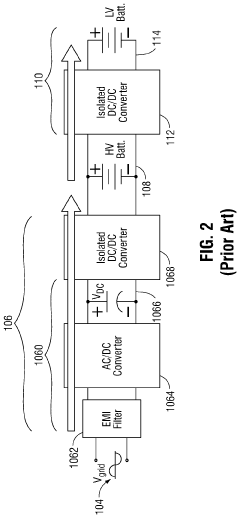
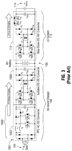
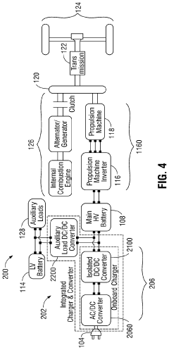
- An integrated and isolated onboard charger with a dual-output DC-DC resonant converter using a three-winding electromagnetically integrated transformer (EMIT) for both HV traction batteries and LV loads, capable of unidirectional or bidirectional operation, including grid-to-vehicle (G2V) and vehicle-to-grid (V2G) applications, with a CLLLC resonant converter integrated with an LLC converter for enhanced power density and reduced component count.
 
Grid Integration and Stability Considerations
The integration of Vehicle-to-Grid (V2G) charging interfaces into existing power infrastructure presents significant challenges and opportunities for grid stability. As V2G technology advances, power systems must adapt to bidirectional energy flows that were not originally anticipated in traditional grid design. This fundamental shift requires sophisticated management systems capable of predicting, monitoring, and controlling energy exchanges between vehicles and the grid in real-time.
Grid operators face the challenge of maintaining frequency regulation and voltage stability when thousands of electric vehicles simultaneously connect to or disconnect from the grid. Advanced V2G interfaces now incorporate reactive power compensation capabilities, allowing them to support grid stability by adjusting power factor and providing voltage support during peak demand periods. These innovations help mitigate the risk of localized grid congestion and potential cascading failures.
Demand response mechanisms integrated into V2G interfaces enable grid operators to incentivize charging or discharging based on grid conditions. During periods of excess renewable generation, signals can be sent to connected vehicles to increase charging rates, effectively using the distributed battery network as a massive energy storage system. Conversely, during supply constraints, vehicles can be instructed to feed power back to the grid, creating a virtual power plant effect.
The synchronization of V2G operations with grid frequency has emerged as a critical innovation area. Modern interfaces can detect minute frequency deviations and respond within milliseconds, providing primary frequency response capabilities that traditionally came from conventional power plants. This rapid response characteristic makes V2G particularly valuable for grids with high renewable penetration where inertia is decreasing.
Cybersecurity considerations have become paramount as V2G interfaces increasingly rely on communication networks for coordination. Secure authentication protocols and encrypted communications are being implemented to prevent unauthorized access that could potentially destabilize the grid through coordinated charging or discharging events.
Standardization efforts are addressing interoperability challenges to ensure that V2G interfaces from different manufacturers can communicate effectively with various grid management systems. The development of common protocols like ISO 15118-20 and IEEE 2030.5 is facilitating seamless integration while maintaining grid reliability across diverse equipment deployments.
Predictive analytics and machine learning algorithms are being incorporated into advanced V2G management systems to forecast available capacity and optimize grid services. These systems can anticipate vehicle connection patterns based on historical data and user behavior, allowing for more effective planning of grid resources and stability measures.
Grid operators face the challenge of maintaining frequency regulation and voltage stability when thousands of electric vehicles simultaneously connect to or disconnect from the grid. Advanced V2G interfaces now incorporate reactive power compensation capabilities, allowing them to support grid stability by adjusting power factor and providing voltage support during peak demand periods. These innovations help mitigate the risk of localized grid congestion and potential cascading failures.
Demand response mechanisms integrated into V2G interfaces enable grid operators to incentivize charging or discharging based on grid conditions. During periods of excess renewable generation, signals can be sent to connected vehicles to increase charging rates, effectively using the distributed battery network as a massive energy storage system. Conversely, during supply constraints, vehicles can be instructed to feed power back to the grid, creating a virtual power plant effect.
The synchronization of V2G operations with grid frequency has emerged as a critical innovation area. Modern interfaces can detect minute frequency deviations and respond within milliseconds, providing primary frequency response capabilities that traditionally came from conventional power plants. This rapid response characteristic makes V2G particularly valuable for grids with high renewable penetration where inertia is decreasing.
Cybersecurity considerations have become paramount as V2G interfaces increasingly rely on communication networks for coordination. Secure authentication protocols and encrypted communications are being implemented to prevent unauthorized access that could potentially destabilize the grid through coordinated charging or discharging events.
Standardization efforts are addressing interoperability challenges to ensure that V2G interfaces from different manufacturers can communicate effectively with various grid management systems. The development of common protocols like ISO 15118-20 and IEEE 2030.5 is facilitating seamless integration while maintaining grid reliability across diverse equipment deployments.
Predictive analytics and machine learning algorithms are being incorporated into advanced V2G management systems to forecast available capacity and optimize grid services. These systems can anticipate vehicle connection patterns based on historical data and user behavior, allowing for more effective planning of grid resources and stability measures.
Standardization and Interoperability Requirements
The standardization landscape for Vehicle-to-Grid (V2G) charging interfaces remains fragmented, with multiple competing protocols and standards across different regions. Key international standards include ISO 15118, which defines communication between electric vehicles (EVs) and charging stations, and IEC 61851 for conductive charging systems. These standards provide the foundation for V2G operations but require further development to fully support bidirectional energy flow capabilities.
Interoperability between different vehicle brands, charging equipment, and grid systems represents a critical challenge for widespread V2G adoption. Current implementations often operate in closed ecosystems, limiting the potential for scaling V2G technologies across diverse infrastructure environments. The development of universal communication protocols that enable seamless interaction between vehicles from various manufacturers and charging infrastructure from different providers remains a priority for industry stakeholders.
Security requirements present another significant standardization challenge. As V2G systems involve financial transactions and critical infrastructure interactions, robust authentication mechanisms and encryption protocols must be standardized to protect against cyber threats. Standards bodies are increasingly focusing on developing comprehensive security frameworks that address vulnerabilities specific to bidirectional charging interfaces.
Grid integration standards constitute a crucial aspect of V2G standardization efforts. These standards must define how EVs communicate with grid operators, participate in energy markets, and respond to grid signals. Emerging standards like OpenADR (Automated Demand Response) and IEEE 2030.5 are being adapted to accommodate V2G use cases, but further refinement is needed to ensure consistent implementation across different regions and regulatory environments.
Hardware compatibility standards for connectors and physical interfaces vary significantly by region, with CHAdeMO supporting bidirectional capabilities in Japan, CCS (Combined Charging System) evolving to include V2G functionality in Europe and North America, and GB/T standards developing in China. This regional fragmentation creates challenges for vehicle manufacturers and charging infrastructure providers seeking to deploy global V2G solutions.
Regulatory harmonization across different jurisdictions remains an ongoing challenge, with varying requirements for metering, billing, grid connection, and energy trading. Industry consortia and international standards organizations are working to develop reference architectures and implementation guidelines that can be adapted to different regulatory frameworks while maintaining essential interoperability.
Interoperability between different vehicle brands, charging equipment, and grid systems represents a critical challenge for widespread V2G adoption. Current implementations often operate in closed ecosystems, limiting the potential for scaling V2G technologies across diverse infrastructure environments. The development of universal communication protocols that enable seamless interaction between vehicles from various manufacturers and charging infrastructure from different providers remains a priority for industry stakeholders.
Security requirements present another significant standardization challenge. As V2G systems involve financial transactions and critical infrastructure interactions, robust authentication mechanisms and encryption protocols must be standardized to protect against cyber threats. Standards bodies are increasingly focusing on developing comprehensive security frameworks that address vulnerabilities specific to bidirectional charging interfaces.
Grid integration standards constitute a crucial aspect of V2G standardization efforts. These standards must define how EVs communicate with grid operators, participate in energy markets, and respond to grid signals. Emerging standards like OpenADR (Automated Demand Response) and IEEE 2030.5 are being adapted to accommodate V2G use cases, but further refinement is needed to ensure consistent implementation across different regions and regulatory environments.
Hardware compatibility standards for connectors and physical interfaces vary significantly by region, with CHAdeMO supporting bidirectional capabilities in Japan, CCS (Combined Charging System) evolving to include V2G functionality in Europe and North America, and GB/T standards developing in China. This regional fragmentation creates challenges for vehicle manufacturers and charging infrastructure providers seeking to deploy global V2G solutions.
Regulatory harmonization across different jurisdictions remains an ongoing challenge, with varying requirements for metering, billing, grid connection, and energy trading. Industry consortia and international standards organizations are working to develop reference architectures and implementation guidelines that can be adapted to different regulatory frameworks while maintaining essential interoperability.
 Unlock deeper insights with  Patsnap Eureka Quick Research — get a full tech report to explore trends and direct your research. Try now! 
 Generate Your Research Report Instantly with AI Agent 
 Supercharge your innovation with Patsnap Eureka AI Agent Platform! 







