Grid Modernization: The Role of Vehicle-to-Grid Solutions
SEP 23, 20259 MIN READ
Generate Your Research Report Instantly with AI Agent
Patsnap Eureka helps you evaluate technical feasibility & market potential.
V2G Technology Background and Objectives
Vehicle-to-Grid (V2G) technology represents a transformative approach to grid modernization that has evolved significantly over the past decade. The concept originated in the late 1990s when Professor Willett Kempton and his team at the University of Delaware first proposed using electric vehicle (EV) batteries as distributed energy resources. Since then, V2G has progressed from theoretical concept to practical implementation, driven by advancements in bidirectional charging technology, battery management systems, and grid integration protocols.
The evolution of V2G technology has been closely tied to the broader development of electric mobility and smart grid infrastructure. Early V2G systems focused primarily on unidirectional power flow (V1G), allowing grid operators to control the charging rate of EVs. Modern V2G systems enable bidirectional power flow, permitting vehicles to both draw energy from and feed energy back to the grid, effectively transforming EVs into mobile energy storage units.
Current technological trends indicate a shift toward more sophisticated V2G systems with enhanced communication capabilities, improved power electronics, and advanced algorithms for optimizing energy flows. The integration of artificial intelligence and machine learning is enabling more predictive and responsive V2G operations, while blockchain technology is being explored for secure and transparent energy transactions.
The primary technical objectives of V2G implementation include grid stabilization, peak load management, renewable energy integration, and enhanced grid resilience. By leveraging the distributed storage capacity of EV batteries, V2G aims to provide frequency regulation services, voltage support, and demand response capabilities to grid operators. Additionally, V2G seeks to create new value streams for EV owners by monetizing their vehicle's battery capacity during idle periods.
Long-term technical goals for V2G technology include seamless integration with smart city infrastructure, development of standardized communication protocols, improvement of battery degradation management, and creation of robust cybersecurity frameworks. The technology aspires to become a cornerstone of future energy systems, enabling greater penetration of renewable energy sources by providing the flexibility needed to balance their intermittent nature.
As the global EV fleet continues to grow exponentially, V2G technology stands poised to play a pivotal role in the transition toward more sustainable, resilient, and efficient electrical grids. The convergence of electrified transportation and renewable energy generation presents both technical challenges and opportunities that V2G technology aims to address through continued innovation and deployment.
The evolution of V2G technology has been closely tied to the broader development of electric mobility and smart grid infrastructure. Early V2G systems focused primarily on unidirectional power flow (V1G), allowing grid operators to control the charging rate of EVs. Modern V2G systems enable bidirectional power flow, permitting vehicles to both draw energy from and feed energy back to the grid, effectively transforming EVs into mobile energy storage units.
Current technological trends indicate a shift toward more sophisticated V2G systems with enhanced communication capabilities, improved power electronics, and advanced algorithms for optimizing energy flows. The integration of artificial intelligence and machine learning is enabling more predictive and responsive V2G operations, while blockchain technology is being explored for secure and transparent energy transactions.
The primary technical objectives of V2G implementation include grid stabilization, peak load management, renewable energy integration, and enhanced grid resilience. By leveraging the distributed storage capacity of EV batteries, V2G aims to provide frequency regulation services, voltage support, and demand response capabilities to grid operators. Additionally, V2G seeks to create new value streams for EV owners by monetizing their vehicle's battery capacity during idle periods.
Long-term technical goals for V2G technology include seamless integration with smart city infrastructure, development of standardized communication protocols, improvement of battery degradation management, and creation of robust cybersecurity frameworks. The technology aspires to become a cornerstone of future energy systems, enabling greater penetration of renewable energy sources by providing the flexibility needed to balance their intermittent nature.
As the global EV fleet continues to grow exponentially, V2G technology stands poised to play a pivotal role in the transition toward more sustainable, resilient, and efficient electrical grids. The convergence of electrified transportation and renewable energy generation presents both technical challenges and opportunities that V2G technology aims to address through continued innovation and deployment.
Market Demand Analysis for V2G Solutions
The Vehicle-to-Grid (V2G) market is experiencing significant growth driven by the convergence of renewable energy integration challenges and the rapid adoption of electric vehicles (EVs). Current market analysis indicates that the global V2G technology market was valued at approximately $1.8 billion in 2022 and is projected to reach $17.4 billion by 2030, representing a compound annual growth rate (CAGR) of 32.8% during the forecast period.
This substantial growth is primarily fueled by increasing grid instability issues as more intermittent renewable energy sources are integrated into power systems worldwide. Utility companies are actively seeking flexible grid management solutions, with V2G technology emerging as a promising option that leverages the distributed battery capacity of growing EV fleets. Market research shows that over 65% of utility executives now consider V2G integration as a critical component of their future grid management strategies.
Consumer demand patterns reveal interesting trends in V2G adoption. While only 12% of current EV owners actively participate in V2G programs, surveys indicate that approximately 47% express interest in participation if provided with appropriate financial incentives. The primary consumer motivations include potential revenue generation (cited by 78% of interested consumers), contribution to grid stability (65%), and environmental benefits (59%).
From a geographic perspective, Europe currently leads the V2G market with approximately 40% market share, followed by North America (32%) and Asia-Pacific (21%). The European dominance is largely attributed to progressive regulatory frameworks, particularly in countries like Denmark, the Netherlands, and the UK, which have implemented policies encouraging V2G adoption.
Industry segmentation shows that commercial fleet operators represent the fastest-growing segment for V2G solutions, with a projected CAGR of 38.5% through 2030. This is primarily due to the predictable charging patterns and centralized management of commercial fleets, making them ideal candidates for V2G implementation.
Key market barriers include technological limitations (particularly battery degradation concerns), regulatory uncertainties, and insufficient consumer awareness. However, recent technological advancements have significantly reduced battery degradation issues, with modern V2G systems claiming to limit additional degradation to less than 3% over the battery's lifetime.
The market is also witnessing increased demand for integrated V2G solutions that combine hardware, software, and service components. This trend is reflected in the growing number of partnerships between automotive manufacturers, charging infrastructure providers, and utility companies, with over 75 such partnerships announced in the past two years alone.
This substantial growth is primarily fueled by increasing grid instability issues as more intermittent renewable energy sources are integrated into power systems worldwide. Utility companies are actively seeking flexible grid management solutions, with V2G technology emerging as a promising option that leverages the distributed battery capacity of growing EV fleets. Market research shows that over 65% of utility executives now consider V2G integration as a critical component of their future grid management strategies.
Consumer demand patterns reveal interesting trends in V2G adoption. While only 12% of current EV owners actively participate in V2G programs, surveys indicate that approximately 47% express interest in participation if provided with appropriate financial incentives. The primary consumer motivations include potential revenue generation (cited by 78% of interested consumers), contribution to grid stability (65%), and environmental benefits (59%).
From a geographic perspective, Europe currently leads the V2G market with approximately 40% market share, followed by North America (32%) and Asia-Pacific (21%). The European dominance is largely attributed to progressive regulatory frameworks, particularly in countries like Denmark, the Netherlands, and the UK, which have implemented policies encouraging V2G adoption.
Industry segmentation shows that commercial fleet operators represent the fastest-growing segment for V2G solutions, with a projected CAGR of 38.5% through 2030. This is primarily due to the predictable charging patterns and centralized management of commercial fleets, making them ideal candidates for V2G implementation.
Key market barriers include technological limitations (particularly battery degradation concerns), regulatory uncertainties, and insufficient consumer awareness. However, recent technological advancements have significantly reduced battery degradation issues, with modern V2G systems claiming to limit additional degradation to less than 3% over the battery's lifetime.
The market is also witnessing increased demand for integrated V2G solutions that combine hardware, software, and service components. This trend is reflected in the growing number of partnerships between automotive manufacturers, charging infrastructure providers, and utility companies, with over 75 such partnerships announced in the past two years alone.
Current V2G Implementation Challenges
Despite the promising potential of Vehicle-to-Grid (V2G) technology, several significant implementation challenges currently hinder its widespread adoption. Technical barriers represent the most immediate obstacles, with bidirectional charging infrastructure requiring substantial upgrades to existing electrical systems. Most current EV charging stations are designed for unidirectional power flow, and retrofitting them for bidirectional capability involves complex engineering modifications and considerable investment. Additionally, the development of standardized communication protocols between vehicles, charging stations, and grid operators remains incomplete, creating interoperability issues across different manufacturers and regions.
Battery degradation concerns constitute another major challenge. The frequent charging and discharging cycles inherent in V2G operations can potentially accelerate battery wear, reducing the overall lifespan of EV batteries. While recent research suggests this impact may be less severe than initially feared, particularly with advanced battery management systems, the perception of accelerated degradation remains a significant barrier to consumer acceptance. This concern is compounded by uncertainties regarding warranty implications for EVs participating in V2G programs.
Regulatory frameworks and market structures present equally formidable challenges. In many jurisdictions, regulations were designed for traditional one-way power distribution systems and do not adequately address the complexities of bidirectional energy flow. Issues such as energy metering, taxation, grid connection requirements, and compensation mechanisms for V2G services remain inconsistently defined across different markets. Furthermore, current electricity market structures often lack appropriate pricing mechanisms to properly value the flexibility services that V2G can provide.
Consumer adoption barriers also significantly impede V2G implementation. Many potential users express concerns about relinquishing control over their vehicle's charging status, fearing their EV might not be sufficiently charged when needed. The complexity of V2G participation, including understanding variable rate structures and managing charging schedules, presents a steep learning curve for average consumers. Additionally, the current economic incentives for V2G participation often fail to provide compelling value propositions that would offset perceived risks and inconveniences.
Utility integration challenges further complicate V2G deployment. Many utilities operate with legacy grid management systems that lack the sophistication to effectively incorporate distributed energy resources like V2G. Real-time monitoring, dispatch, and settlement systems require significant upgrades to handle the dynamic nature of V2G resources. Moreover, utilities face challenges in accurately forecasting and reliably accessing V2G capacity, as vehicle availability patterns can be unpredictable and subject to individual user behaviors.
Battery degradation concerns constitute another major challenge. The frequent charging and discharging cycles inherent in V2G operations can potentially accelerate battery wear, reducing the overall lifespan of EV batteries. While recent research suggests this impact may be less severe than initially feared, particularly with advanced battery management systems, the perception of accelerated degradation remains a significant barrier to consumer acceptance. This concern is compounded by uncertainties regarding warranty implications for EVs participating in V2G programs.
Regulatory frameworks and market structures present equally formidable challenges. In many jurisdictions, regulations were designed for traditional one-way power distribution systems and do not adequately address the complexities of bidirectional energy flow. Issues such as energy metering, taxation, grid connection requirements, and compensation mechanisms for V2G services remain inconsistently defined across different markets. Furthermore, current electricity market structures often lack appropriate pricing mechanisms to properly value the flexibility services that V2G can provide.
Consumer adoption barriers also significantly impede V2G implementation. Many potential users express concerns about relinquishing control over their vehicle's charging status, fearing their EV might not be sufficiently charged when needed. The complexity of V2G participation, including understanding variable rate structures and managing charging schedules, presents a steep learning curve for average consumers. Additionally, the current economic incentives for V2G participation often fail to provide compelling value propositions that would offset perceived risks and inconveniences.
Utility integration challenges further complicate V2G deployment. Many utilities operate with legacy grid management systems that lack the sophistication to effectively incorporate distributed energy resources like V2G. Real-time monitoring, dispatch, and settlement systems require significant upgrades to handle the dynamic nature of V2G resources. Moreover, utilities face challenges in accurately forecasting and reliably accessing V2G capacity, as vehicle availability patterns can be unpredictable and subject to individual user behaviors.
Current V2G Integration Approaches
01 V2G Integration with Power Grid Infrastructure
Vehicle-to-Grid technology enables bidirectional power flow between electric vehicles and the power grid, allowing EVs to serve as distributed energy resources. This integration requires specialized infrastructure including bidirectional chargers, communication protocols, and grid connection systems that enable EVs to both draw power from and feed power back to the grid during peak demand periods, enhancing grid stability and resilience.- V2G Integration Systems for Grid Modernization: Vehicle-to-Grid (V2G) technology enables bidirectional power flow between electric vehicles and the power grid, allowing EVs to serve as distributed energy resources. These integration systems include hardware and software components that facilitate communication between vehicles and grid operators, manage power flow, and ensure grid stability. By leveraging EVs as mobile energy storage units, V2G systems help balance load, provide ancillary services, and enhance overall grid resilience during peak demand periods.
- Smart Charging Infrastructure and Management: Advanced charging infrastructure is essential for effective V2G implementation in grid modernization efforts. These systems incorporate intelligent charging stations, energy management systems, and communication protocols that optimize charging/discharging based on grid conditions, electricity prices, and user preferences. Smart charging infrastructure enables dynamic load management, reduces grid congestion, and maximizes renewable energy utilization while ensuring vehicle owners' mobility needs are met.
- V2G Market Mechanisms and Business Models: Economic frameworks and market mechanisms are being developed to incentivize V2G participation and create value for all stakeholders. These include aggregator business models, dynamic pricing schemes, regulatory frameworks, and compensation structures for grid services provided by electric vehicles. By establishing clear financial incentives and market rules, these mechanisms encourage EV owners to participate in grid services while ensuring fair compensation for the use of their vehicle batteries.
- V2G Communication and Control Systems: Sophisticated communication and control technologies enable seamless interaction between vehicles, charging infrastructure, and grid operators. These systems include protocols for real-time data exchange, secure authentication mechanisms, and distributed control algorithms that coordinate V2G operations across multiple vehicles and grid nodes. Advanced communication systems ensure reliable grid services while protecting user privacy and maintaining cybersecurity in increasingly interconnected energy networks.
- Grid Stability and Renewable Energy Integration through V2G: V2G technology plays a crucial role in maintaining grid stability and facilitating higher penetration of renewable energy sources. By providing services such as frequency regulation, voltage support, and energy storage, electric vehicles can help mitigate the intermittency of renewable generation. These systems incorporate advanced algorithms for predicting grid needs, optimizing vehicle availability, and coordinating with other grid assets to enhance overall system reliability and resilience.
02 Smart Grid Management Systems for V2G Operations
Advanced management systems are essential for coordinating V2G operations across multiple vehicles and grid nodes. These systems employ AI algorithms and cloud-based platforms to optimize energy flow, predict demand patterns, and manage grid load balancing. The technology includes real-time monitoring capabilities, automated decision-making processes, and secure communication channels between vehicles, charging stations, and utility operators.Expand Specific Solutions03 Economic and Incentive Models for V2G Participation
Financial frameworks and incentive structures are developed to encourage EV owners to participate in V2G programs. These models include dynamic pricing mechanisms, energy trading platforms, and compensation schemes for grid services provided by vehicle batteries. The systems calculate fair compensation based on factors such as energy contribution, battery degradation, and grid service value, while providing transparent transaction records and automated payment processing.Expand Specific Solutions04 Battery Management and Longevity in V2G Applications
Specialized battery management systems are designed to mitigate the additional wear on EV batteries caused by V2G operations. These technologies monitor battery health, optimize charging/discharging cycles, and implement protective algorithms to extend battery life while participating in grid services. Advanced thermal management, state-of-charge control, and degradation prediction models help balance grid service provision with battery preservation.Expand Specific Solutions05 Regulatory and Standardization Frameworks for V2G Implementation
Technical standards and regulatory frameworks are developed to ensure interoperability, safety, and fair market access for V2G technologies. These include communication protocols, grid interconnection requirements, and certification processes for V2G-enabled equipment. The frameworks address cybersecurity concerns, establish testing methodologies, and define operational parameters to facilitate widespread adoption while ensuring grid stability and consumer protection.Expand Specific Solutions
Key Industry Players in Grid Modernization
Grid modernization through Vehicle-to-Grid (V2G) solutions is currently in an early growth phase, with the market expected to expand significantly as electric vehicle adoption increases. The global V2G market, though still developing, shows promising growth potential with increasing investments from major automotive players. Leading automakers like Ford, Toyota, GM, and Volkswagen are actively developing V2G technologies, while specialized companies such as ChargePoint and Waymo are creating complementary infrastructure. Technology maturity varies, with companies like Siemens and Qualcomm advancing integration capabilities, while automotive manufacturers focus on vehicle compatibility. The ecosystem is further enriched by research contributions from institutions like Northwestern University and King Fahd University of Petroleum & Minerals, indicating a collaborative approach to technical challenges.
Ford Global Technologies LLC
Technical Solution: Ford has developed an integrated Vehicle-to-Grid (V2G) system that enables bidirectional power flow between electric vehicles and the grid. Their solution incorporates intelligent power management algorithms that optimize charging and discharging based on grid demand signals, electricity pricing, and user preferences. Ford's system includes specialized onboard chargers with bidirectional capabilities and a home energy management system that coordinates with utility providers. The technology allows Ford EVs to serve as mobile power sources during peak demand periods or grid outages, effectively functioning as distributed energy resources. Ford has implemented pilot programs in various regions to demonstrate how their V2G technology can provide grid services such as frequency regulation, demand response, and load balancing while ensuring vehicle owners receive compensation for the grid services they provide[1][3].
Strengths: Ford's V2G solution integrates seamlessly with their growing EV fleet, providing scale advantages. Their system offers user-friendly interfaces that give vehicle owners control over energy sharing parameters. Weaknesses: The technology requires significant infrastructure investment and utility cooperation to achieve widespread implementation. Battery degradation concerns from additional cycling remain a challenge for consumer adoption.
Toyota Motor Corp.
Technical Solution: Toyota has pioneered a comprehensive V2G ecosystem called "Toyota Vehicle-to-Grid" that leverages their hybrid and battery electric vehicle platforms. Their solution features advanced bidirectional charging hardware integrated with Toyota's energy management software platform. The system enables precise control of energy flows between vehicles and the grid, with sophisticated algorithms that protect battery health while maximizing grid support capabilities. Toyota's approach includes cloud-based coordination with grid operators to provide services like peak shaving, frequency regulation, and voltage support. Their V2G technology incorporates predictive analytics to anticipate grid needs based on historical patterns and weather forecasts, allowing for proactive energy management. Toyota has demonstrated the capability to aggregate multiple vehicles into virtual power plants that can provide significant grid stabilization services during periods of high demand or renewable energy fluctuation[2][5].
Strengths: Toyota's extensive experience with electrified vehicles provides a strong foundation for V2G implementation. Their solution emphasizes battery longevity through sophisticated battery management systems. Weaknesses: The technology requires substantial investment in charging infrastructure and faces regulatory hurdles in many markets. Consumer education about the benefits remains a significant challenge.
Core V2G Technical Innovations
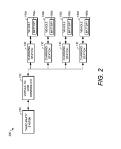
Vehicle-to-grid system with power loss compensation
PatentInactiveUS9630511B2
Innovation
- A vehicle-to-grid system with a controller that assigns vehicles to different groups based on transmission distance, instructing the first group to supply power at a nominal frequency and adjusted amplitude, and the second group to supply power at an adjusted frequency different from the nominal frequency and nominal amplitude, thereby optimizing power delivery and reducing losses.
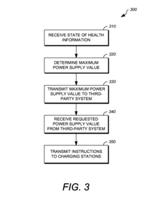
Vehicle-to-grid system control based on state of health
PatentInactiveUS20150255984A1
Innovation
- A vehicle-to-grid system that determines the state of health for each electric vehicle's battery and calculates a maximum power supply value based on this information, allowing for controlled and optimized power return to the grid, ensuring efficient participation and minimizing battery degradation.
Regulatory Framework for Grid Modernization
The regulatory landscape for grid modernization is evolving rapidly to accommodate emerging technologies like Vehicle-to-Grid (V2G) solutions. Current regulatory frameworks across different jurisdictions vary significantly, creating a complex environment for stakeholders. In the United States, FERC Order 2222 represents a landmark regulation that enables distributed energy resources, including electric vehicles, to participate in wholesale electricity markets, thereby creating economic opportunities for V2G integration.
The European Union has established the Clean Energy Package, which includes provisions for consumer participation in energy markets through technologies like V2G. This regulatory framework emphasizes the importance of bidirectional charging capabilities and standardized communication protocols between vehicles and the grid infrastructure.
Regulatory challenges persist in many regions, particularly regarding tariff structures and compensation mechanisms for grid services provided by electric vehicles. The absence of clear pricing models for services such as frequency regulation, demand response, and voltage support hampers widespread V2G adoption. Additionally, regulations concerning metering requirements, settlement processes, and verification methodologies for V2G transactions remain underdeveloped in most markets.
Interconnection standards represent another critical regulatory component. IEEE 1547 and similar standards are being updated to address the integration of mobile energy resources like electric vehicles into the grid. These standards must evolve to ensure safe, reliable, and efficient bidirectional power flow between vehicles and the electrical system.
Privacy and cybersecurity regulations are increasingly important as V2G solutions involve sensitive data exchange between vehicles, charging infrastructure, and grid operators. Frameworks like GDPR in Europe and various state-level regulations in the US establish requirements for data protection, but specific provisions for V2G applications are still emerging.
Regulatory sandboxes have proven effective in several countries, allowing controlled testing of V2G technologies under modified regulatory conditions. These experimental frameworks provide valuable insights for developing permanent regulations that balance innovation with system reliability and consumer protection.
Forward-looking regulatory approaches are beginning to incorporate performance-based elements that reward grid-supportive behaviors rather than prescribing specific technologies. This shift enables more flexible implementation of V2G solutions while ensuring they contribute to overall grid modernization objectives such as reliability, resilience, and decarbonization.
The European Union has established the Clean Energy Package, which includes provisions for consumer participation in energy markets through technologies like V2G. This regulatory framework emphasizes the importance of bidirectional charging capabilities and standardized communication protocols between vehicles and the grid infrastructure.
Regulatory challenges persist in many regions, particularly regarding tariff structures and compensation mechanisms for grid services provided by electric vehicles. The absence of clear pricing models for services such as frequency regulation, demand response, and voltage support hampers widespread V2G adoption. Additionally, regulations concerning metering requirements, settlement processes, and verification methodologies for V2G transactions remain underdeveloped in most markets.
Interconnection standards represent another critical regulatory component. IEEE 1547 and similar standards are being updated to address the integration of mobile energy resources like electric vehicles into the grid. These standards must evolve to ensure safe, reliable, and efficient bidirectional power flow between vehicles and the electrical system.
Privacy and cybersecurity regulations are increasingly important as V2G solutions involve sensitive data exchange between vehicles, charging infrastructure, and grid operators. Frameworks like GDPR in Europe and various state-level regulations in the US establish requirements for data protection, but specific provisions for V2G applications are still emerging.
Regulatory sandboxes have proven effective in several countries, allowing controlled testing of V2G technologies under modified regulatory conditions. These experimental frameworks provide valuable insights for developing permanent regulations that balance innovation with system reliability and consumer protection.
Forward-looking regulatory approaches are beginning to incorporate performance-based elements that reward grid-supportive behaviors rather than prescribing specific technologies. This shift enables more flexible implementation of V2G solutions while ensuring they contribute to overall grid modernization objectives such as reliability, resilience, and decarbonization.
Economic Viability of V2G Implementation
The economic viability of Vehicle-to-Grid (V2G) implementation represents a critical factor in determining the widespread adoption of this technology. Current cost-benefit analyses indicate that V2G systems require significant initial investments, including specialized bidirectional chargers, grid integration infrastructure, and vehicle modifications. These capital expenditures typically range from $1,500 to $4,000 per vehicle beyond standard charging equipment costs, creating a substantial barrier to entry for many potential adopters.
Revenue generation mechanisms for V2G participants primarily include grid services compensation, such as frequency regulation payments ($30-70/MWh), demand response programs ($0.50-2.00/kWh during peak events), and capacity market participation. Studies from pilot projects in Denmark and the Netherlands demonstrate that EV owners can potentially earn $1,000-2,500 annually through V2G participation, depending on market conditions and participation levels.
Battery degradation remains a significant economic concern, with current estimates suggesting that frequent V2G cycling may reduce battery lifespan by 5-15% depending on cycling patterns and battery chemistry. However, recent technological improvements in battery management systems have shown promise in mitigating these effects, potentially reducing degradation to under 5% with optimized algorithms.
The payback period for V2G investments varies considerably based on regulatory frameworks and market structures. In favorable markets with stacked revenue streams (combining multiple grid services), ROI periods of 3-5 years have been demonstrated. Conversely, in less developed markets or those with regulatory barriers, payback periods may extend beyond 8 years, exceeding the typical ownership period of vehicles.
Regulatory incentives significantly impact economic viability, with tax credits, grants, and favorable tariff structures potentially reducing payback periods by 30-50%. For example, programs in California and the UK have offered incentives of $2,000-4,000 per V2G-enabled vehicle, substantially improving the business case for early adopters.
Scale economies present another crucial factor, as aggregation of multiple vehicles into virtual power plants creates more valuable grid resources. Analysis indicates that fleets of 100+ vehicles can access wholesale market opportunities unavailable to individual participants, potentially increasing per-vehicle revenue by 20-40% through improved market positioning and reduced transaction costs.
Revenue generation mechanisms for V2G participants primarily include grid services compensation, such as frequency regulation payments ($30-70/MWh), demand response programs ($0.50-2.00/kWh during peak events), and capacity market participation. Studies from pilot projects in Denmark and the Netherlands demonstrate that EV owners can potentially earn $1,000-2,500 annually through V2G participation, depending on market conditions and participation levels.
Battery degradation remains a significant economic concern, with current estimates suggesting that frequent V2G cycling may reduce battery lifespan by 5-15% depending on cycling patterns and battery chemistry. However, recent technological improvements in battery management systems have shown promise in mitigating these effects, potentially reducing degradation to under 5% with optimized algorithms.
The payback period for V2G investments varies considerably based on regulatory frameworks and market structures. In favorable markets with stacked revenue streams (combining multiple grid services), ROI periods of 3-5 years have been demonstrated. Conversely, in less developed markets or those with regulatory barriers, payback periods may extend beyond 8 years, exceeding the typical ownership period of vehicles.
Regulatory incentives significantly impact economic viability, with tax credits, grants, and favorable tariff structures potentially reducing payback periods by 30-50%. For example, programs in California and the UK have offered incentives of $2,000-4,000 per V2G-enabled vehicle, substantially improving the business case for early adopters.
Scale economies present another crucial factor, as aggregation of multiple vehicles into virtual power plants creates more valuable grid resources. Analysis indicates that fleets of 100+ vehicles can access wholesale market opportunities unavailable to individual participants, potentially increasing per-vehicle revenue by 20-40% through improved market positioning and reduced transaction costs.
Unlock deeper insights with Patsnap Eureka Quick Research — get a full tech report to explore trends and direct your research. Try now!
Generate Your Research Report Instantly with AI Agent
Supercharge your innovation with Patsnap Eureka AI Agent Platform!



