How Vehicle-to-Grid Can Enhance Renewable Energy Credits
SEP 23, 20259 MIN READ
Generate Your Research Report Instantly with AI Agent
Patsnap Eureka helps you evaluate technical feasibility & market potential.
V2G Technology Background and Objectives
Vehicle-to-Grid (V2G) technology represents a transformative approach to energy management that has evolved significantly over the past decade. The concept emerged in the late 1990s but gained substantial momentum after 2010 as electric vehicle (EV) adoption increased and renewable energy integration challenges became more pronounced. V2G enables bidirectional power flow between electric vehicles and the electricity grid, allowing EVs to serve not just as transportation assets but as distributed energy resources capable of providing grid services.
The evolution of V2G technology has been driven by advancements in power electronics, communication protocols, and battery management systems. Early implementations focused primarily on unidirectional controlled charging (V1G), while modern systems enable full bidirectional capabilities with sophisticated grid interaction. This progression has paralleled the development of smart grid technologies and the increasing penetration of intermittent renewable energy sources.
The primary technical objective of V2G in relation to Renewable Energy Credits (RECs) is to create a symbiotic relationship between electric vehicle batteries and renewable energy generation. By enabling EVs to store excess renewable energy during peak production periods and discharge it during high demand or low production periods, V2G technology can effectively increase the utilization and value of renewable energy resources.
A critical goal is to develop robust technical frameworks that quantify and verify the renewable energy storage and discharge cycles facilitated by V2G systems. This verification is essential for the creation and validation of RECs that accurately reflect the contribution of V2G to renewable energy integration and carbon reduction.
The technology aims to overcome several technical challenges, including minimizing battery degradation from additional cycling, optimizing bidirectional power conversion efficiency, and developing standardized communication protocols between vehicles, charging infrastructure, and grid operators. Recent advancements in battery chemistry and thermal management have significantly improved cycle life under V2G operations, while modern power electronics have achieved conversion efficiencies exceeding 90%.
Looking forward, V2G technology is trending toward more sophisticated aggregation platforms that can coordinate thousands of vehicles simultaneously, providing grid services at utility scale. Integration with artificial intelligence and machine learning algorithms is enabling predictive capabilities that optimize charging and discharging cycles based on renewable generation forecasts, grid conditions, and vehicle owner preferences.
The ultimate technical objective is to create a seamless, automated ecosystem where EVs naturally complement renewable energy generation, enhancing grid stability while generating verifiable environmental benefits that can be quantified through RECs and monetized to benefit both vehicle owners and the broader energy transition.
The evolution of V2G technology has been driven by advancements in power electronics, communication protocols, and battery management systems. Early implementations focused primarily on unidirectional controlled charging (V1G), while modern systems enable full bidirectional capabilities with sophisticated grid interaction. This progression has paralleled the development of smart grid technologies and the increasing penetration of intermittent renewable energy sources.
The primary technical objective of V2G in relation to Renewable Energy Credits (RECs) is to create a symbiotic relationship between electric vehicle batteries and renewable energy generation. By enabling EVs to store excess renewable energy during peak production periods and discharge it during high demand or low production periods, V2G technology can effectively increase the utilization and value of renewable energy resources.
A critical goal is to develop robust technical frameworks that quantify and verify the renewable energy storage and discharge cycles facilitated by V2G systems. This verification is essential for the creation and validation of RECs that accurately reflect the contribution of V2G to renewable energy integration and carbon reduction.
The technology aims to overcome several technical challenges, including minimizing battery degradation from additional cycling, optimizing bidirectional power conversion efficiency, and developing standardized communication protocols between vehicles, charging infrastructure, and grid operators. Recent advancements in battery chemistry and thermal management have significantly improved cycle life under V2G operations, while modern power electronics have achieved conversion efficiencies exceeding 90%.
Looking forward, V2G technology is trending toward more sophisticated aggregation platforms that can coordinate thousands of vehicles simultaneously, providing grid services at utility scale. Integration with artificial intelligence and machine learning algorithms is enabling predictive capabilities that optimize charging and discharging cycles based on renewable generation forecasts, grid conditions, and vehicle owner preferences.
The ultimate technical objective is to create a seamless, automated ecosystem where EVs naturally complement renewable energy generation, enhancing grid stability while generating verifiable environmental benefits that can be quantified through RECs and monetized to benefit both vehicle owners and the broader energy transition.
Renewable Energy Credit Market Analysis
The Renewable Energy Credit (REC) market has experienced significant growth over the past decade, driven by increasing governmental commitments to reduce carbon emissions and promote clean energy adoption. Currently valued at approximately $12.5 billion globally, this market is projected to expand at a compound annual growth rate of 27% through 2030, reflecting the accelerating transition toward renewable energy sources.
RECs function as tradable, non-tangible energy commodities that represent proof that one megawatt-hour (MWh) of electricity was generated from a qualified renewable energy resource. These certificates can be sold separately from the underlying physical electricity, creating a market mechanism that incentivizes renewable energy production even in regions where direct renewable energy consumption may be challenging.
The market structure varies significantly across different regions. In the United States, RECs are primarily driven by Renewable Portfolio Standards (RPS) established by 30 states, requiring utilities to source a specific percentage of their electricity from renewable sources. The European market operates under the Guarantees of Origin (GO) system, while emerging markets in Asia-Pacific are developing their own certification frameworks, with China's Green Electricity Certificate program showing particularly rapid growth.
Corporate procurement has emerged as a major driver of REC market expansion, with technology companies leading voluntary purchases. Companies like Google, Amazon, and Microsoft have made substantial commitments to match 100% of their electricity consumption with renewable energy, significantly influencing market dynamics and pricing structures.
Pricing trends reveal considerable volatility, with REC values ranging from $1 to over $400 per MWh depending on the jurisdiction, compliance requirements, and renewable energy type. Solar RECs (SRECs) typically command premium prices in markets with specific solar carve-outs, while wind RECs generally trade at lower values due to greater supply availability.
The integration of Vehicle-to-Grid (V2G) technology presents a transformative opportunity for the REC market. As electric vehicles essentially function as mobile energy storage units, their ability to discharge stored energy back to the grid during peak demand periods could potentially generate additional RECs. This creates a novel value stream for EV owners and fleet operators while enhancing grid stability and renewable energy integration.
Market challenges include concerns about double-counting, verification mechanisms, and the need for standardized protocols to accurately measure and certify the renewable attributes of electricity discharged from vehicles to the grid. Regulatory frameworks are still evolving to accommodate these innovative applications, with California and several European countries leading policy development in this space.
RECs function as tradable, non-tangible energy commodities that represent proof that one megawatt-hour (MWh) of electricity was generated from a qualified renewable energy resource. These certificates can be sold separately from the underlying physical electricity, creating a market mechanism that incentivizes renewable energy production even in regions where direct renewable energy consumption may be challenging.
The market structure varies significantly across different regions. In the United States, RECs are primarily driven by Renewable Portfolio Standards (RPS) established by 30 states, requiring utilities to source a specific percentage of their electricity from renewable sources. The European market operates under the Guarantees of Origin (GO) system, while emerging markets in Asia-Pacific are developing their own certification frameworks, with China's Green Electricity Certificate program showing particularly rapid growth.
Corporate procurement has emerged as a major driver of REC market expansion, with technology companies leading voluntary purchases. Companies like Google, Amazon, and Microsoft have made substantial commitments to match 100% of their electricity consumption with renewable energy, significantly influencing market dynamics and pricing structures.
Pricing trends reveal considerable volatility, with REC values ranging from $1 to over $400 per MWh depending on the jurisdiction, compliance requirements, and renewable energy type. Solar RECs (SRECs) typically command premium prices in markets with specific solar carve-outs, while wind RECs generally trade at lower values due to greater supply availability.
The integration of Vehicle-to-Grid (V2G) technology presents a transformative opportunity for the REC market. As electric vehicles essentially function as mobile energy storage units, their ability to discharge stored energy back to the grid during peak demand periods could potentially generate additional RECs. This creates a novel value stream for EV owners and fleet operators while enhancing grid stability and renewable energy integration.
Market challenges include concerns about double-counting, verification mechanisms, and the need for standardized protocols to accurately measure and certify the renewable attributes of electricity discharged from vehicles to the grid. Regulatory frameworks are still evolving to accommodate these innovative applications, with California and several European countries leading policy development in this space.
V2G Implementation Challenges and Barriers
Despite the promising potential of Vehicle-to-Grid (V2G) technology in enhancing renewable energy credits, several significant implementation challenges and barriers exist that hinder widespread adoption. Technical integration issues represent a primary obstacle, as current electrical grid infrastructure was not designed for bidirectional power flow. This requires substantial upgrades to transmission and distribution systems, including advanced metering infrastructure, smart inverters, and grid management systems capable of handling dynamic energy exchanges.
Battery degradation concerns present another major challenge. The frequent charging and discharging cycles associated with V2G operations can potentially accelerate battery wear in electric vehicles. While recent studies suggest this impact may be less severe than initially feared, particularly with advanced battery management systems, the perception of accelerated degradation remains a significant barrier for vehicle owners considering V2G participation.
Regulatory frameworks across most jurisdictions have not kept pace with V2G technology development. Many electricity markets lack clear rules for small-scale distributed energy resources to participate in energy trading, frequency regulation, or capacity markets. Additionally, compensation mechanisms for grid services provided by V2G are often inadequate or nonexistent, creating economic disincentives for adoption.
Standardization issues further complicate implementation. The lack of universal communication protocols between vehicles, charging stations, and grid operators creates interoperability problems. Multiple competing standards for hardware connections, software interfaces, and communication protocols fragment the market and increase costs for all stakeholders.
Economic barriers remain substantial, with high upfront costs for V2G-capable charging equipment and vehicle modifications. The business case for V2G is challenging to establish without clear revenue streams or incentive structures that adequately compensate vehicle owners for the services provided and potential impacts on vehicle batteries.
Consumer awareness and acceptance represent significant social barriers. Many potential users have limited understanding of V2G technology and its benefits. Concerns about vehicle availability, range anxiety, and privacy issues related to sharing vehicle battery data with utilities create resistance to adoption. The complexity of participation in V2G programs, including understanding rate structures and scheduling availability, further discourages consumer engagement.
Cybersecurity vulnerabilities present growing concerns as V2G systems create new potential attack vectors for critical infrastructure. The distributed nature of V2G networks increases the attack surface, requiring robust security protocols that do not currently exist across all implementation scenarios.
Battery degradation concerns present another major challenge. The frequent charging and discharging cycles associated with V2G operations can potentially accelerate battery wear in electric vehicles. While recent studies suggest this impact may be less severe than initially feared, particularly with advanced battery management systems, the perception of accelerated degradation remains a significant barrier for vehicle owners considering V2G participation.
Regulatory frameworks across most jurisdictions have not kept pace with V2G technology development. Many electricity markets lack clear rules for small-scale distributed energy resources to participate in energy trading, frequency regulation, or capacity markets. Additionally, compensation mechanisms for grid services provided by V2G are often inadequate or nonexistent, creating economic disincentives for adoption.
Standardization issues further complicate implementation. The lack of universal communication protocols between vehicles, charging stations, and grid operators creates interoperability problems. Multiple competing standards for hardware connections, software interfaces, and communication protocols fragment the market and increase costs for all stakeholders.
Economic barriers remain substantial, with high upfront costs for V2G-capable charging equipment and vehicle modifications. The business case for V2G is challenging to establish without clear revenue streams or incentive structures that adequately compensate vehicle owners for the services provided and potential impacts on vehicle batteries.
Consumer awareness and acceptance represent significant social barriers. Many potential users have limited understanding of V2G technology and its benefits. Concerns about vehicle availability, range anxiety, and privacy issues related to sharing vehicle battery data with utilities create resistance to adoption. The complexity of participation in V2G programs, including understanding rate structures and scheduling availability, further discourages consumer engagement.
Cybersecurity vulnerabilities present growing concerns as V2G systems create new potential attack vectors for critical infrastructure. The distributed nature of V2G networks increases the attack surface, requiring robust security protocols that do not currently exist across all implementation scenarios.
Current V2G Integration Solutions
01 V2G integration with renewable energy credit systems
Vehicle-to-Grid technology can be integrated with renewable energy credit systems to incentivize electric vehicle owners to participate in grid stabilization. This integration allows EV owners to earn renewable energy credits when they supply electricity back to the grid during peak demand periods or when renewable energy generation is low. The credits can be traded or used to offset electricity costs, creating a financial incentive for V2G participation while supporting renewable energy adoption.- V2G integration with renewable energy credit systems: Vehicle-to-Grid technology can be integrated with renewable energy credit systems to incentivize electric vehicle owners to participate in grid stabilization. When EV owners supply electricity back to the grid during peak demand or from renewable sources, they can earn renewable energy credits. These credits can be traded or used to offset carbon emissions, creating additional value streams for EV owners while supporting renewable energy adoption.
- Smart charging and discharging algorithms for maximizing renewable credits: Advanced algorithms can optimize when electric vehicles charge and discharge to maximize renewable energy credit generation. These systems analyze grid conditions, renewable energy availability, electricity prices, and user preferences to determine optimal charging/discharging schedules. By prioritizing charging during periods of excess renewable generation and discharging during high-demand periods, these algorithms help EV owners maximize their renewable energy credits while supporting grid stability.
- Blockchain-based tracking and trading of V2G renewable credits: Blockchain technology enables secure, transparent tracking and trading of renewable energy credits generated through Vehicle-to-Grid systems. This decentralized approach creates immutable records of energy transactions, allowing for automated verification of renewable energy contributions from electric vehicles. Smart contracts can facilitate instant settlement of renewable energy credit transactions, reducing administrative costs and enabling micro-transactions that would otherwise be impractical.
- V2G aggregation platforms for renewable energy markets: Aggregation platforms enable multiple electric vehicles to participate collectively in renewable energy markets. These platforms combine the storage and generation capabilities of numerous EVs to create virtual power plants that can bid into energy markets. By aggregating smaller contributions from individual vehicles, these systems allow EV owners to access renewable energy credit markets that would otherwise require larger minimum participation thresholds, while providing grid operators with more reliable and substantial energy resources.
- Policy frameworks and incentive structures for V2G renewable credits: Regulatory frameworks and incentive structures are being developed to support Vehicle-to-Grid participation in renewable energy markets. These include specialized tariffs for V2G services, tax incentives for V2G-capable equipment, and modifications to existing renewable energy credit systems to accommodate mobile energy resources. By creating clear rules and attractive incentives, these frameworks aim to accelerate V2G adoption and integration with renewable energy markets, ultimately supporting grid decarbonization efforts.
02 Smart grid management systems for V2G renewable credits
Advanced smart grid management systems enable efficient tracking and allocation of renewable energy credits in V2G applications. These systems use real-time data analytics, blockchain technology, and IoT connectivity to monitor energy flows between vehicles and the grid, accurately calculating renewable energy contributions. The management systems can automatically verify when vehicles are charging with renewable energy and when they're supplying stored renewable energy back to the grid, ensuring proper credit allocation and transparent trading mechanisms.Expand Specific Solutions03 V2G bidirectional charging infrastructure for renewable credit generation
Specialized bidirectional charging infrastructure enables electric vehicles to both draw power from and supply power to the electrical grid, creating opportunities for renewable energy credit generation. These charging systems include advanced power electronics, communication protocols, and safety mechanisms that facilitate seamless energy exchange. The infrastructure can identify renewable energy sources, prioritize green energy for charging, and track when stored renewable energy is returned to the grid, supporting accurate renewable energy credit calculations.Expand Specific Solutions04 Renewable energy credit marketplaces for V2G participants
Digital marketplaces facilitate the trading of renewable energy credits generated through V2G technology. These platforms connect electric vehicle owners, utilities, renewable energy producers, and credit buyers in a transparent ecosystem. The marketplaces incorporate pricing algorithms, verification mechanisms, and automated settlement processes to streamline transactions. Some systems include features for aggregating credits from multiple vehicle owners, increasing market access for individual participants while providing larger, more valuable credit packages to buyers.Expand Specific Solutions05 V2G energy storage optimization for maximizing renewable credits
Algorithms and control systems optimize vehicle battery usage to maximize renewable energy credit generation. These systems analyze grid conditions, renewable energy availability, electricity pricing, and vehicle usage patterns to determine optimal charging and discharging schedules. By prioritizing battery charging during periods of excess renewable generation and discharging during high-demand periods, the technology increases the renewable energy content of grid electricity. Advanced battery management systems also ensure that credit-generating activities don't compromise battery health or vehicle availability.Expand Specific Solutions
Key Industry Players and Stakeholders
Vehicle-to-Grid (V2G) technology is emerging as a significant enabler for renewable energy credits in a market currently transitioning from early adoption to growth phase. The global V2G market is projected to expand substantially, with an estimated value of $17.4 billion by 2027. Technologically, major automotive manufacturers are at varying stages of development: Toyota, Honda, and Hyundai lead with commercial V2G-ready vehicles and established pilot programs, while Ford and Kia are rapidly advancing their capabilities. Energy sector players like State Grid and CATL are developing complementary infrastructure and battery technologies. Technology maturity varies significantly across regions, with European and Japanese companies generally ahead in implementation, while Chinese manufacturers are making substantial R&D investments to close the gap. Integration with existing power grids remains a key technical challenge for widespread adoption.
Toyota Motor Corp.
Technical Solution: Toyota has pioneered a comprehensive V2G ecosystem called "Toyota Energy Share" that leverages their hybrid and electric vehicle platforms. Their technology enables bidirectional power flow between vehicles and the grid through CHAdeMO charging standards, allowing Toyota EVs to function as mobile energy storage units. The system incorporates Toyota's proprietary Battery Management System (BMS) that optimizes battery health while maximizing V2G participation. Toyota's platform includes a sophisticated energy management system that tracks renewable energy generation in real-time and prioritizes vehicle charging during periods of excess renewable production. This creates a direct link between renewable energy generation and consumption, enhancing the value of Renewable Energy Credits. Toyota has also developed a "Green Credit Exchange" program where EV owners can earn and trade RECs based on their V2G participation levels and the carbon intensity of the electricity they provide back to the grid[2][5]. The system includes user-friendly mobile applications that allow owners to set preferences for grid participation and track their environmental impact and credit earnings.
Strengths: Toyota's extensive experience with battery technology provides robust battery health management during V2G operations. Their established dealer network offers potential for widespread implementation and customer education. Weaknesses: The system currently works primarily with CHAdeMO charging standards, limiting compatibility with some newer charging infrastructure. The technology requires significant consumer education to achieve widespread adoption.
Hyundai Motor Co., Ltd.
Technical Solution: Hyundai has developed an innovative V2G system called "Hyundai IONIQ V2X" (Vehicle-to-Everything) that extends beyond simple grid integration. Their technology enables Hyundai EVs to participate in various energy exchange scenarios including V2G (vehicle-to-grid), V2H (vehicle-to-home), and V2B (vehicle-to-building). The system features Hyundai's proprietary Power Conversion System (PCS) that achieves over 90% efficiency in bidirectional energy transfer. Hyundai's platform includes an AI-driven Energy Management System that analyzes grid conditions, renewable energy availability, and electricity pricing to optimize when vehicles should charge or discharge. The system is specifically designed to maximize REC generation by prioritizing grid support during periods when renewable energy would otherwise be curtailed. Hyundai has implemented a "Green Miles" program that quantifies the environmental benefits of V2G participation and converts them into tradable RECs. Their technology includes a sophisticated battery degradation compensation algorithm that adjusts financial incentives based on the estimated impact of V2G operations on battery lifespan[4][6]. Hyundai has also partnered with major utilities to develop standardized protocols for REC verification and trading.
Strengths: Hyundai's multi-directional approach (V2X) provides flexibility for various use cases beyond just grid support. Their AI-driven optimization maximizes both financial returns and environmental benefits. Weaknesses: The complex technology requires significant consumer education. The system's full benefits are only realized in markets with developed REC trading mechanisms and supportive regulatory frameworks.
Technical Innovations in V2G-REC Systems
Systems and methods for integrating on-premises electric appliances with vehicle-to-grid electric vehicles
PatentActiveUS11407325B2
Innovation
- An energy management system that includes a local power grid, an electric vehicle capable of bi-directional energy exchange, and a system server that receives and analyzes utility, appliance, and vehicle data to determine optimal energy usage states, controlling the electric vehicle to discharge energy to the grid when it is cheaper or greener, thereby optimizing energy costs and reducing peak loads.
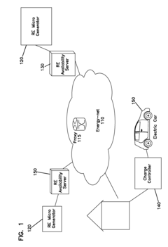
System for associating renewable energy sources and consumers
PatentActiveUS8063604B2
Innovation
- A system comprising a renewable energy generator, a renewable energy availability server connected to the grid and a network, and a recharge controller in rechargeable devices, which establishes a peer-to-peer relationship to manage energy access through a 'right to recharge' certificate, allowing devices to adjust power consumption based on available renewable energy, thereby minimizing grid overload and frequency of brownouts.
Regulatory Framework for V2G-REC Markets
The regulatory landscape for Vehicle-to-Grid (V2G) and Renewable Energy Credits (RECs) integration remains fragmented across different jurisdictions, creating both challenges and opportunities for market development. At the federal level in the United States, the Federal Energy Regulatory Commission (FERC) Order 2222 represents a significant milestone by requiring wholesale market operators to enable distributed energy resources, including V2G-capable electric vehicles, to participate in electricity markets. This regulatory foundation creates pathways for EVs to monetize their grid services, potentially including REC generation.
State-level policies exhibit considerable variation, with California leading through its Low Carbon Fuel Standard (LCFS) program that allows V2G systems to generate credits when displacing fossil fuels. Similarly, states with Renewable Portfolio Standards (RPS) are beginning to consider how V2G technologies might contribute to renewable energy targets, though explicit inclusion remains limited. The lack of standardized measurement and verification protocols for V2G-generated RECs constitutes a significant regulatory gap that impedes market growth.
In the European Union, the regulatory framework is evolving through the Clean Energy Package, which recognizes "energy storage" as a distinct market activity and enables aggregators to participate in electricity markets. The EU's Renewable Energy Directive II (RED II) provides a potential framework for V2G integration into renewable energy accounting, though specific implementation guidelines for V2G-REC markets remain underdeveloped across member states.
Regulatory barriers persist in several key areas. Metering requirements often fail to accommodate bidirectional energy flows, creating challenges for accurately tracking V2G contributions to renewable energy integration. Double taxation issues arise when electricity is both purchased and sold by EV owners, potentially diminishing economic incentives. Additionally, grid interconnection rules frequently lack clear pathways for V2G systems, creating procedural uncertainties for market participants.
Emerging regulatory innovations include "regulatory sandboxes" in the UK and Netherlands that allow controlled testing of V2G-REC market mechanisms before full-scale implementation. Performance-based regulation models are also gaining traction, incentivizing utilities to integrate V2G systems based on measurable grid performance improvements rather than traditional cost-recovery models.
For V2G-REC markets to mature, regulatory frameworks must evolve to address several critical needs: standardized protocols for measuring and verifying V2G contributions to renewable energy integration, clear ownership rights for RECs generated through V2G activities, and streamlined permitting processes that reduce administrative barriers to market entry.
State-level policies exhibit considerable variation, with California leading through its Low Carbon Fuel Standard (LCFS) program that allows V2G systems to generate credits when displacing fossil fuels. Similarly, states with Renewable Portfolio Standards (RPS) are beginning to consider how V2G technologies might contribute to renewable energy targets, though explicit inclusion remains limited. The lack of standardized measurement and verification protocols for V2G-generated RECs constitutes a significant regulatory gap that impedes market growth.
In the European Union, the regulatory framework is evolving through the Clean Energy Package, which recognizes "energy storage" as a distinct market activity and enables aggregators to participate in electricity markets. The EU's Renewable Energy Directive II (RED II) provides a potential framework for V2G integration into renewable energy accounting, though specific implementation guidelines for V2G-REC markets remain underdeveloped across member states.
Regulatory barriers persist in several key areas. Metering requirements often fail to accommodate bidirectional energy flows, creating challenges for accurately tracking V2G contributions to renewable energy integration. Double taxation issues arise when electricity is both purchased and sold by EV owners, potentially diminishing economic incentives. Additionally, grid interconnection rules frequently lack clear pathways for V2G systems, creating procedural uncertainties for market participants.
Emerging regulatory innovations include "regulatory sandboxes" in the UK and Netherlands that allow controlled testing of V2G-REC market mechanisms before full-scale implementation. Performance-based regulation models are also gaining traction, incentivizing utilities to integrate V2G systems based on measurable grid performance improvements rather than traditional cost-recovery models.
For V2G-REC markets to mature, regulatory frameworks must evolve to address several critical needs: standardized protocols for measuring and verifying V2G contributions to renewable energy integration, clear ownership rights for RECs generated through V2G activities, and streamlined permitting processes that reduce administrative barriers to market entry.
Economic Viability and ROI Analysis
The economic viability of Vehicle-to-Grid (V2G) technology as a means to enhance Renewable Energy Credits (RECs) presents a complex investment landscape with multiple variables affecting return on investment. Initial capital expenditure for V2G infrastructure typically ranges from $2,000 to $5,000 per vehicle connection point, with additional costs for bidirectional charging equipment and grid integration systems. These upfront investments represent significant barriers to entry, particularly for smaller fleet operators.
Analysis of operational economics reveals that V2G systems can generate revenue through multiple streams: grid services payments, energy arbitrage opportunities, and enhanced REC values. Grid services alone can generate between $1,000 and $3,500 annually per vehicle, depending on market conditions and participation levels. When combined with strategic charging during low-price periods and discharging during peak demand, additional savings of $300-$800 per vehicle annually become achievable.
The REC enhancement component provides particularly compelling economics. V2G-enabled electric vehicles can increase the value of RECs by 15-30% through improved grid integration of intermittent renewable sources. This premium translates to additional revenue of $200-$600 per vehicle annually in mature REC markets, with higher potential in emerging markets where renewable integration challenges are more acute.
Payback period calculations indicate that most V2G investments reach break-even within 3-5 years under current market conditions. However, this timeline can be shortened to 2-3 years in regions with favorable regulatory frameworks, higher electricity price volatility, or greater renewable penetration. Sensitivity analysis demonstrates that regulatory changes affecting grid services compensation represent the highest risk factor, potentially extending payback periods by 30-50% if adverse policies are implemented.
Long-term ROI projections show internal rates of return ranging from 12% to 25% over a ten-year period, with the higher end achievable in markets with established REC trading mechanisms and supportive V2G policies. These returns compare favorably against alternative grid flexibility investments, which typically yield 8-15% IRR. The economic case strengthens further when considering the declining cost curve of V2G technology, with hardware costs projected to decrease by 40-50% over the next decade as manufacturing scales and designs mature.
For fleet operators, the most economically viable implementation strategy involves phased deployment beginning with vehicles that have predictable idle periods coinciding with peak grid demand or renewable generation surpluses. This approach optimizes capital efficiency while building operational expertise before full-scale implementation.
Analysis of operational economics reveals that V2G systems can generate revenue through multiple streams: grid services payments, energy arbitrage opportunities, and enhanced REC values. Grid services alone can generate between $1,000 and $3,500 annually per vehicle, depending on market conditions and participation levels. When combined with strategic charging during low-price periods and discharging during peak demand, additional savings of $300-$800 per vehicle annually become achievable.
The REC enhancement component provides particularly compelling economics. V2G-enabled electric vehicles can increase the value of RECs by 15-30% through improved grid integration of intermittent renewable sources. This premium translates to additional revenue of $200-$600 per vehicle annually in mature REC markets, with higher potential in emerging markets where renewable integration challenges are more acute.
Payback period calculations indicate that most V2G investments reach break-even within 3-5 years under current market conditions. However, this timeline can be shortened to 2-3 years in regions with favorable regulatory frameworks, higher electricity price volatility, or greater renewable penetration. Sensitivity analysis demonstrates that regulatory changes affecting grid services compensation represent the highest risk factor, potentially extending payback periods by 30-50% if adverse policies are implemented.
Long-term ROI projections show internal rates of return ranging from 12% to 25% over a ten-year period, with the higher end achievable in markets with established REC trading mechanisms and supportive V2G policies. These returns compare favorably against alternative grid flexibility investments, which typically yield 8-15% IRR. The economic case strengthens further when considering the declining cost curve of V2G technology, with hardware costs projected to decrease by 40-50% over the next decade as manufacturing scales and designs mature.
For fleet operators, the most economically viable implementation strategy involves phased deployment beginning with vehicles that have predictable idle periods coinciding with peak grid demand or renewable generation surpluses. This approach optimizes capital efficiency while building operational expertise before full-scale implementation.
Unlock deeper insights with Patsnap Eureka Quick Research — get a full tech report to explore trends and direct your research. Try now!
Generate Your Research Report Instantly with AI Agent
Supercharge your innovation with Patsnap Eureka AI Agent Platform!







