Effects of Climate Policies on Vehicle-to-Grid Adoption
SEP 23, 20259 MIN READ
Generate Your Research Report Instantly with AI Agent
Patsnap Eureka helps you evaluate technical feasibility & market potential.
V2G Technology Background and Objectives
Vehicle-to-Grid (V2G) technology represents a transformative approach to energy management that has evolved significantly over the past decade. The concept emerged in the late 1990s but gained substantial momentum after 2010 as electric vehicle (EV) adoption increased globally. V2G technology enables bidirectional power flow between electric vehicles and the electricity grid, allowing EVs to serve not only as transportation tools but also as distributed energy resources that can provide grid services.
The evolution of V2G technology has been closely tied to advancements in battery technology, power electronics, and smart grid infrastructure. Early V2G systems were primarily experimental, focusing on basic unidirectional charging control. As technology progressed, bidirectional power flow capabilities were developed, enabling vehicles to both draw power from and feed power back to the grid based on grid conditions and price signals.
Climate policies have emerged as critical drivers in the V2G technology landscape. Policies aimed at reducing greenhouse gas emissions, promoting renewable energy integration, and enhancing grid resilience have created favorable conditions for V2G development. These include carbon pricing mechanisms, renewable portfolio standards, and grid modernization initiatives that recognize the value of distributed energy resources.
The primary technical objective of V2G technology is to establish seamless, efficient, and secure bidirectional power flow between vehicles and the grid. This involves developing advanced power electronics, communication protocols, and control systems that can manage complex interactions between vehicles and the grid while ensuring grid stability and vehicle battery health.
Another key objective is to optimize V2G operations to maximize economic and environmental benefits. This includes developing sophisticated algorithms that can determine optimal charging and discharging schedules based on electricity prices, grid conditions, renewable energy availability, and vehicle owner preferences.
From a policy perspective, the objective is to understand how different climate policies affect V2G adoption rates and implementation strategies. This includes analyzing how carbon pricing, renewable energy incentives, and grid regulations influence the economic viability of V2G systems and stakeholder decisions regarding V2G investments.
The long-term technological goal is to achieve widespread V2G integration that supports high penetration of renewable energy sources by providing flexible grid services such as frequency regulation, peak shaving, and energy arbitrage. This requires addressing technical challenges related to battery degradation, communication latency, and system reliability while ensuring that V2G operations align with climate policy objectives of reducing emissions and enhancing grid resilience.
The evolution of V2G technology has been closely tied to advancements in battery technology, power electronics, and smart grid infrastructure. Early V2G systems were primarily experimental, focusing on basic unidirectional charging control. As technology progressed, bidirectional power flow capabilities were developed, enabling vehicles to both draw power from and feed power back to the grid based on grid conditions and price signals.
Climate policies have emerged as critical drivers in the V2G technology landscape. Policies aimed at reducing greenhouse gas emissions, promoting renewable energy integration, and enhancing grid resilience have created favorable conditions for V2G development. These include carbon pricing mechanisms, renewable portfolio standards, and grid modernization initiatives that recognize the value of distributed energy resources.
The primary technical objective of V2G technology is to establish seamless, efficient, and secure bidirectional power flow between vehicles and the grid. This involves developing advanced power electronics, communication protocols, and control systems that can manage complex interactions between vehicles and the grid while ensuring grid stability and vehicle battery health.
Another key objective is to optimize V2G operations to maximize economic and environmental benefits. This includes developing sophisticated algorithms that can determine optimal charging and discharging schedules based on electricity prices, grid conditions, renewable energy availability, and vehicle owner preferences.
From a policy perspective, the objective is to understand how different climate policies affect V2G adoption rates and implementation strategies. This includes analyzing how carbon pricing, renewable energy incentives, and grid regulations influence the economic viability of V2G systems and stakeholder decisions regarding V2G investments.
The long-term technological goal is to achieve widespread V2G integration that supports high penetration of renewable energy sources by providing flexible grid services such as frequency regulation, peak shaving, and energy arbitrage. This requires addressing technical challenges related to battery degradation, communication latency, and system reliability while ensuring that V2G operations align with climate policy objectives of reducing emissions and enhancing grid resilience.
Market Demand Analysis for V2G Solutions
The Vehicle-to-Grid (V2G) market is experiencing significant growth driven by the convergence of electric vehicle adoption and renewable energy integration. Current market analysis indicates that the global V2G technology market is projected to reach $17.4 billion by 2027, growing at a compound annual growth rate of approximately 48% from 2020. This exceptional growth trajectory is primarily fueled by increasing governmental focus on reducing carbon emissions and promoting sustainable energy solutions worldwide.
Consumer demand for V2G solutions is emerging across multiple segments. Fleet operators represent a particularly promising market, as they can leverage V2G technology to optimize charging schedules and generate revenue during vehicle downtime. Residential consumers with electric vehicles are increasingly interested in V2G capabilities to reduce electricity bills through peak shaving and energy arbitrage opportunities. Commercial and industrial customers view V2G as a potential solution for demand response programs and backup power systems.
Climate policies are significantly influencing V2G market dynamics. Carbon pricing mechanisms in regions like the European Union and parts of North America are creating economic incentives for V2G adoption by increasing the value proposition of grid services provided by electric vehicles. Renewable portfolio standards requiring utilities to source increasing percentages of electricity from renewable sources are driving demand for flexible grid assets, including V2G-enabled vehicles that can help balance intermittent renewable generation.
Regional market analysis reveals varying adoption patterns. Europe leads in V2G implementation due to progressive climate policies, with countries like Denmark, the Netherlands, and the UK pioneering commercial V2G projects. North America shows strong growth potential, particularly in California and northeastern states with ambitious climate targets. The Asia-Pacific region, especially Japan and South Korea, is rapidly developing V2G infrastructure supported by government initiatives.
Market barriers remain significant despite positive growth indicators. High initial infrastructure costs for bidirectional charging equipment present adoption challenges. Regulatory frameworks in many regions have not fully evolved to accommodate V2G business models, creating uncertainty for potential investors. Technical concerns regarding battery degradation from increased cycling continue to influence consumer perception, though recent research suggests these impacts may be less significant than initially feared.
The V2G value chain encompasses multiple stakeholders, including automakers, charging infrastructure providers, utilities, aggregators, and software developers. Market research indicates that successful V2G business models will require collaboration across this ecosystem, with revenue-sharing arrangements that fairly distribute the value created through grid services.
Consumer demand for V2G solutions is emerging across multiple segments. Fleet operators represent a particularly promising market, as they can leverage V2G technology to optimize charging schedules and generate revenue during vehicle downtime. Residential consumers with electric vehicles are increasingly interested in V2G capabilities to reduce electricity bills through peak shaving and energy arbitrage opportunities. Commercial and industrial customers view V2G as a potential solution for demand response programs and backup power systems.
Climate policies are significantly influencing V2G market dynamics. Carbon pricing mechanisms in regions like the European Union and parts of North America are creating economic incentives for V2G adoption by increasing the value proposition of grid services provided by electric vehicles. Renewable portfolio standards requiring utilities to source increasing percentages of electricity from renewable sources are driving demand for flexible grid assets, including V2G-enabled vehicles that can help balance intermittent renewable generation.
Regional market analysis reveals varying adoption patterns. Europe leads in V2G implementation due to progressive climate policies, with countries like Denmark, the Netherlands, and the UK pioneering commercial V2G projects. North America shows strong growth potential, particularly in California and northeastern states with ambitious climate targets. The Asia-Pacific region, especially Japan and South Korea, is rapidly developing V2G infrastructure supported by government initiatives.
Market barriers remain significant despite positive growth indicators. High initial infrastructure costs for bidirectional charging equipment present adoption challenges. Regulatory frameworks in many regions have not fully evolved to accommodate V2G business models, creating uncertainty for potential investors. Technical concerns regarding battery degradation from increased cycling continue to influence consumer perception, though recent research suggests these impacts may be less significant than initially feared.
The V2G value chain encompasses multiple stakeholders, including automakers, charging infrastructure providers, utilities, aggregators, and software developers. Market research indicates that successful V2G business models will require collaboration across this ecosystem, with revenue-sharing arrangements that fairly distribute the value created through grid services.
V2G Implementation Status and Challenges
Vehicle-to-Grid (V2G) technology implementation currently exists primarily in pilot projects and demonstration initiatives across various regions. In North America, utilities like PG&E and Southern California Edison have established small-scale V2G programs, while the European Union has funded several demonstration projects through initiatives such as Horizon 2020. Japan and South Korea lead Asian markets with government-backed V2G trials integrated with their renewable energy strategies.
Despite growing interest, V2G adoption faces significant technical challenges. Bidirectional charging infrastructure remains limited and expensive, with standardization issues persisting across different vehicle manufacturers and charging systems. The CHAdeMO standard supports bidirectional charging, but CCS and other popular standards are still evolving their V2G capabilities, creating market fragmentation that impedes widespread implementation.
Battery degradation concerns represent another major obstacle. Current research indicates that frequent charging and discharging cycles associated with V2G operations may accelerate battery wear, potentially reducing electric vehicle battery lifespan by 5-10% depending on usage patterns. This degradation risk creates hesitancy among both manufacturers and consumers to fully embrace V2G technology without compensation mechanisms or warranty adjustments.
Grid integration presents complex technical hurdles. Many existing power grids lack the sophisticated management systems required to handle distributed energy resources effectively. The communication protocols between vehicles, charging stations, and grid operators remain inconsistent, with competing standards like ISO 15118, OpenADR, and proprietary systems creating interoperability challenges that complicate large-scale deployment.
Regulatory frameworks have not kept pace with V2G technological development. In most jurisdictions, regulations regarding electricity trading, grid services, and energy market participation were designed for traditional generators, creating barriers for V2G participation. Only a few markets, such as the UK, Denmark, and parts of California, have established clear regulatory pathways for V2G services to participate in ancillary service markets or capacity mechanisms.
Consumer acceptance represents a significant non-technical barrier. Current V2G business models often fail to provide compelling value propositions that offset the perceived inconvenience and battery degradation concerns. Studies indicate that monetary incentives alone may be insufficient; consumers require assurances regarding vehicle availability, simplified participation processes, and transparent benefit structures to overcome adoption resistance.
Despite growing interest, V2G adoption faces significant technical challenges. Bidirectional charging infrastructure remains limited and expensive, with standardization issues persisting across different vehicle manufacturers and charging systems. The CHAdeMO standard supports bidirectional charging, but CCS and other popular standards are still evolving their V2G capabilities, creating market fragmentation that impedes widespread implementation.
Battery degradation concerns represent another major obstacle. Current research indicates that frequent charging and discharging cycles associated with V2G operations may accelerate battery wear, potentially reducing electric vehicle battery lifespan by 5-10% depending on usage patterns. This degradation risk creates hesitancy among both manufacturers and consumers to fully embrace V2G technology without compensation mechanisms or warranty adjustments.
Grid integration presents complex technical hurdles. Many existing power grids lack the sophisticated management systems required to handle distributed energy resources effectively. The communication protocols between vehicles, charging stations, and grid operators remain inconsistent, with competing standards like ISO 15118, OpenADR, and proprietary systems creating interoperability challenges that complicate large-scale deployment.
Regulatory frameworks have not kept pace with V2G technological development. In most jurisdictions, regulations regarding electricity trading, grid services, and energy market participation were designed for traditional generators, creating barriers for V2G participation. Only a few markets, such as the UK, Denmark, and parts of California, have established clear regulatory pathways for V2G services to participate in ancillary service markets or capacity mechanisms.
Consumer acceptance represents a significant non-technical barrier. Current V2G business models often fail to provide compelling value propositions that offset the perceived inconvenience and battery degradation concerns. Studies indicate that monetary incentives alone may be insufficient; consumers require assurances regarding vehicle availability, simplified participation processes, and transparent benefit structures to overcome adoption resistance.
Current Climate Policy Frameworks for V2G
01 Market adoption factors for V2G technology
Various factors influence the adoption rate of Vehicle-to-Grid (V2G) technology in the market. These include consumer awareness, economic incentives, regulatory frameworks, and infrastructure readiness. The adoption rate can be accelerated through government policies, utility company partnerships, and demonstration projects that showcase the benefits of V2G technology. Market research indicates that adoption rates vary significantly across different regions based on these factors.- Market adoption factors for V2G technology: Various factors influence the adoption rate of Vehicle-to-Grid (V2G) technology in the market. These include consumer awareness, economic incentives, regulatory frameworks, and technological readiness. Understanding these factors is crucial for predicting and accelerating the adoption of V2G systems. Market research and analysis help identify barriers to adoption and strategies to overcome them, ultimately leading to increased implementation of V2G technology.
- Integration of V2G with renewable energy systems: The integration of V2G technology with renewable energy systems enhances grid stability and promotes sustainable energy use. Electric vehicles can serve as mobile energy storage units, absorbing excess renewable energy during peak production periods and feeding it back to the grid when needed. This integration helps balance supply and demand, reduces the need for conventional power plants, and contributes to a more resilient and environmentally friendly energy ecosystem.
- V2G infrastructure development and standardization: The development of infrastructure and standardization of protocols are essential for widespread V2G adoption. This includes charging stations capable of bidirectional power flow, communication systems between vehicles and grid operators, and standardized interfaces. Establishing common technical standards ensures interoperability between different vehicle models and grid systems, reducing implementation costs and encouraging market growth.
- Economic models and incentives for V2G participation: Economic models and incentive structures significantly impact V2G technology adoption rates. These include payment schemes for grid services provided by vehicle owners, reduced electricity rates, tax benefits, and other financial incentives. Developing viable business models that benefit both vehicle owners and grid operators is crucial for encouraging participation in V2G programs and accelerating technology adoption.
- Smart grid management systems for V2G optimization: Advanced smart grid management systems are being developed to optimize V2G operations. These systems use artificial intelligence, machine learning, and predictive analytics to forecast energy demand, manage vehicle charging and discharging cycles, and maximize the efficiency of grid interactions. Smart management systems consider factors such as battery health, user preferences, grid conditions, and electricity prices to create optimal charging strategies that benefit both vehicle owners and the grid.
02 Technical integration challenges affecting V2G adoption
Technical challenges present significant barriers to V2G technology adoption. These include grid integration issues, battery degradation concerns, standardization of communication protocols, and interoperability between different vehicle models and charging infrastructure. Solutions addressing these technical challenges, such as advanced battery management systems and standardized V2G interfaces, are crucial for increasing adoption rates of this technology in the electric vehicle market.Expand Specific Solutions03 Business models and economic viability of V2G systems
The adoption of V2G technology is heavily influenced by the economic viability of various business models. Revenue streams from grid services, electricity arbitrage, demand response programs, and reduced total cost of ownership are key factors driving adoption. Innovative payment structures, aggregator models, and value-sharing mechanisms between vehicle owners, utilities, and grid operators can significantly impact adoption rates. Financial incentives and clear return on investment calculations are essential for widespread implementation.Expand Specific Solutions04 Consumer behavior and acceptance of V2G technology
Consumer acceptance is a critical factor in V2G technology adoption. User concerns about battery life, convenience, privacy, control over vehicle charging, and perceived complexity of V2G systems influence adoption decisions. Educational campaigns, user-friendly interfaces, transparent compensation mechanisms, and addressing range anxiety can positively impact consumer acceptance. Studies show that early adopters are typically environmentally conscious consumers who understand the broader benefits of grid stabilization through V2G technology.Expand Specific Solutions05 Policy frameworks and regulatory support for V2G implementation
Government policies and regulatory frameworks significantly impact V2G technology adoption rates. Supportive measures include carbon reduction incentives, renewable energy integration targets, grid modernization initiatives, and standardization of V2G protocols. Regulatory barriers such as electricity market rules, grid connection requirements, and taxation structures can hinder adoption. Countries with comprehensive policy support for electric mobility and energy transition generally experience higher V2G adoption rates compared to regions with fragmented or limited regulatory frameworks.Expand Specific Solutions
Key Stakeholders in V2G Ecosystem
The vehicle-to-grid (V2G) technology market is currently in its early growth phase, with climate policies emerging as critical drivers for adoption. The competitive landscape features automotive giants like Ford, GM, Toyota, Volkswagen, and Hyundai-Kia leading development alongside newer entrants such as NIO and Zero Electric Vehicles. Energy sector players including State Grid Corporation of China and Ballard Power Systems are establishing infrastructure foundations. Technical maturity varies significantly across regions, with European manufacturers (Mercedes-Benz, BMW) advancing rapidly due to supportive regulatory frameworks. North American companies focus on integration with existing grid systems, while Chinese firms benefit from government-backed initiatives. The global V2G market is projected to expand substantially as climate policies increasingly mandate grid flexibility and renewable energy integration, creating opportunities for cross-sector collaboration between automotive and energy industries.
Ford Global Technologies LLC
Technical Solution: Ford has developed an integrated V2G ecosystem that adapts to varying climate policies through their Intelligent Energy Management System. This platform optimizes vehicle charging and discharging based on regional carbon intensity signals, renewable energy availability, and policy incentives. Their approach includes dynamic tariff response mechanisms that automatically adjust V2G participation based on local climate policy frameworks. Ford's F-150 Lightning with Intelligent Backup Power capability serves as their flagship V2G implementation, capable of providing up to 9.6kW of power back to homes or the grid. The system incorporates predictive analytics to forecast optimal V2G engagement periods based on both user needs and climate policy-driven grid signals. Ford has also established partnerships with utilities across multiple regulatory environments to ensure their V2G technology remains compliant with evolving climate policies while maximizing customer benefits through participation in demand response programs and carbon reduction initiatives.
Strengths: Ford's system demonstrates exceptional adaptability to varying regional climate policies through dynamic response mechanisms. Their established utility partnerships provide practical implementation pathways across diverse regulatory environments. Weaknesses: The system's effectiveness remains heavily dependent on regional policy incentives, potentially limiting adoption in areas with underdeveloped climate policy frameworks. High initial vehicle costs may slow adoption despite long-term economic benefits.
GM Global Technology Operations LLC
Technical Solution: GM has developed a comprehensive V2G integration strategy centered around their Ultium battery platform, specifically designed to respond to climate policy incentives. Their system incorporates a Climate Policy Response Module that dynamically adjusts V2G participation based on local carbon pricing mechanisms, renewable portfolio standards, and emissions regulations. GM's approach includes a proprietary algorithm that calculates optimal charging/discharging schedules by weighing climate policy incentives against battery degradation costs and user mobility needs. The technology enables participation in carbon offset markets by quantifying emissions reductions achieved through V2G operations, creating additional revenue streams for vehicle owners in regions with strong climate policies. GM has implemented pilot programs in multiple regulatory environments to test how different climate policy frameworks affect V2G adoption rates and grid benefits. Their system includes geofencing capabilities that automatically adjust V2G operations when vehicles cross jurisdictional boundaries with different climate policy regimes, ensuring continuous optimization and compliance.
Strengths: GM's Ultium platform provides exceptional flexibility for adapting to diverse climate policy frameworks across different markets. Their carbon offset integration creates additional value streams that can accelerate adoption. Weaknesses: The complex optimization algorithms may create user experience challenges for mainstream consumers unfamiliar with energy markets. The system's full benefits are realized only in regions with well-developed climate policy frameworks and carbon pricing mechanisms.
Critical V2G Integration Technologies
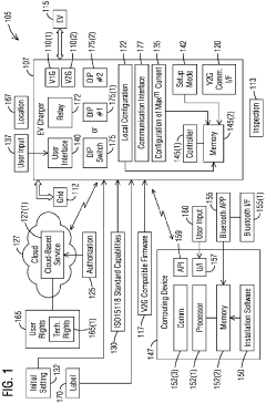
Upgrading an existing standard electric vehicle (EV) charger from grid to vehicle (V1G) to v1g plus vehicle to grid (V2G) operation
PatentPendingEP4389510A1
Innovation
- A method that involves loading existing standard AC EV chargers with V2G compatible firmware and authorizing local configuration via the cloud to enable V2G functionality, utilizing ISO15118 standard capabilities for bi-directional charging/discharging, and configuring maximum current settings through user input or DIP switches.
Devices, systems, and methods for optimization of dispatch schedules for discharging and charging of electric vehicles for use in vehicle-to-grid activities
PatentWO2025054303A1
Innovation
- The implementation of a bi-directional charger system that uses an optimization algorithm to determine a dispatch schedule for electric vehicle batteries, taking into account factors such as battery health, state of charge, and anticipated energy needs, to optimize charging and discharging operations.
Policy Impact Assessment on V2G Economics
Climate policies significantly influence the economic viability of Vehicle-to-Grid (V2G) technology adoption. Carbon pricing mechanisms, such as carbon taxes and cap-and-trade systems, directly affect the cost structure of energy generation, making renewable energy more competitive against fossil fuels. When electricity generation shifts toward cleaner sources, V2G systems benefit from improved emission profiles and potentially higher value propositions for grid services.
Renewable energy subsidies and incentives create favorable conditions for V2G implementation by reducing the cost gap between conventional and clean energy technologies. These policies often include feed-in tariffs, tax credits, and direct subsidies that enhance the economic attractiveness of V2G systems. The financial returns from V2G participation become more substantial when combined with renewable energy incentives, creating synergistic economic benefits.
Electric vehicle (EV) purchase incentives indirectly support V2G economics by accelerating EV adoption rates. As more EVs enter the market, the potential scale of V2G services expands, creating network effects that improve overall system economics. Countries with robust EV incentive programs have demonstrated faster V2G pilot project development and commercialization timelines.
Grid modernization policies and regulatory frameworks significantly impact V2G economic feasibility. Policies that enable dynamic electricity pricing, time-of-use rates, and demand response programs create revenue opportunities for V2G participants. Regulatory changes that allow aggregation of distributed energy resources and participation in wholesale electricity markets are particularly crucial for V2G economic viability.
Energy storage mandates and targets established by policymakers create market demand for grid-scale storage solutions, including V2G. These policies often include procurement requirements for utilities, creating guaranteed markets for V2G services. The economic value of V2G increases substantially when policies recognize and compensate for multiple services provided, including frequency regulation, voltage support, and peak shaving.
Quantitative analysis reveals that regions with comprehensive climate policy frameworks demonstrate V2G payback periods 30-40% shorter than regions with limited policy support. The most effective policy combinations include carbon pricing mechanisms coupled with targeted EV and grid modernization incentives. However, policy uncertainty and frequent regulatory changes remain significant barriers to investment in V2G infrastructure and technology.
Renewable energy subsidies and incentives create favorable conditions for V2G implementation by reducing the cost gap between conventional and clean energy technologies. These policies often include feed-in tariffs, tax credits, and direct subsidies that enhance the economic attractiveness of V2G systems. The financial returns from V2G participation become more substantial when combined with renewable energy incentives, creating synergistic economic benefits.
Electric vehicle (EV) purchase incentives indirectly support V2G economics by accelerating EV adoption rates. As more EVs enter the market, the potential scale of V2G services expands, creating network effects that improve overall system economics. Countries with robust EV incentive programs have demonstrated faster V2G pilot project development and commercialization timelines.
Grid modernization policies and regulatory frameworks significantly impact V2G economic feasibility. Policies that enable dynamic electricity pricing, time-of-use rates, and demand response programs create revenue opportunities for V2G participants. Regulatory changes that allow aggregation of distributed energy resources and participation in wholesale electricity markets are particularly crucial for V2G economic viability.
Energy storage mandates and targets established by policymakers create market demand for grid-scale storage solutions, including V2G. These policies often include procurement requirements for utilities, creating guaranteed markets for V2G services. The economic value of V2G increases substantially when policies recognize and compensate for multiple services provided, including frequency regulation, voltage support, and peak shaving.
Quantitative analysis reveals that regions with comprehensive climate policy frameworks demonstrate V2G payback periods 30-40% shorter than regions with limited policy support. The most effective policy combinations include carbon pricing mechanisms coupled with targeted EV and grid modernization incentives. However, policy uncertainty and frequent regulatory changes remain significant barriers to investment in V2G infrastructure and technology.
Cross-Sector Collaboration Models
The successful implementation of Vehicle-to-Grid (V2G) technology requires unprecedented collaboration across traditionally separate sectors. Energy utilities, automotive manufacturers, technology providers, and policy makers must establish effective partnership models to overcome the complex challenges of integrating electric vehicles into the power grid under climate policy frameworks.
Utility-Automotive partnerships represent the backbone of V2G implementation. These collaborations typically involve power companies partnering with vehicle manufacturers to develop compatible systems that enable bidirectional energy flow. Notable examples include partnerships between Nissan and various energy providers worldwide, where the automotive expertise in battery management systems complements utilities' grid management capabilities. Climate policies that incentivize renewable integration have strengthened these partnerships, as they create mutual benefits for both sectors.
Technology-Energy-Automotive triangular collaborations have emerged as particularly effective models. In these arrangements, technology companies provide the software platforms and communication protocols that enable V2G functionality, while utilities and automotive companies contribute their respective infrastructure and hardware expertise. Climate policies promoting grid decarbonization have accelerated these collaborations, as they require sophisticated energy management systems that can only be developed through cross-sector innovation.
Public-Private partnerships play a crucial role in V2G adoption, especially when climate policies are involved. Government agencies often partner with private companies to establish pilot programs that demonstrate V2G benefits. These collaborations typically include regulatory sandboxes where new business models can be tested without full regulatory constraints. Climate policies that set carbon reduction targets for public fleets have been particularly effective in spurring these partnerships.
Regional collaboration networks connecting multiple stakeholders across geographic areas have proven valuable for V2G deployment. These networks often include local governments, regional utilities, multiple vehicle manufacturers, and technology providers working together to establish interoperable V2G ecosystems. Climate policies that establish regional carbon markets or clean energy zones have strengthened these collaborative networks by providing common objectives and financial incentives.
Academic-Industry partnerships facilitate knowledge transfer and innovation in V2G technology. Universities and research institutions collaborate with industry partners to develop advanced algorithms for optimal V2G operation under various climate policy scenarios. These collaborations often focus on maximizing the carbon reduction potential of V2G systems, directly responding to climate policy objectives while creating commercially viable solutions.
Utility-Automotive partnerships represent the backbone of V2G implementation. These collaborations typically involve power companies partnering with vehicle manufacturers to develop compatible systems that enable bidirectional energy flow. Notable examples include partnerships between Nissan and various energy providers worldwide, where the automotive expertise in battery management systems complements utilities' grid management capabilities. Climate policies that incentivize renewable integration have strengthened these partnerships, as they create mutual benefits for both sectors.
Technology-Energy-Automotive triangular collaborations have emerged as particularly effective models. In these arrangements, technology companies provide the software platforms and communication protocols that enable V2G functionality, while utilities and automotive companies contribute their respective infrastructure and hardware expertise. Climate policies promoting grid decarbonization have accelerated these collaborations, as they require sophisticated energy management systems that can only be developed through cross-sector innovation.
Public-Private partnerships play a crucial role in V2G adoption, especially when climate policies are involved. Government agencies often partner with private companies to establish pilot programs that demonstrate V2G benefits. These collaborations typically include regulatory sandboxes where new business models can be tested without full regulatory constraints. Climate policies that set carbon reduction targets for public fleets have been particularly effective in spurring these partnerships.
Regional collaboration networks connecting multiple stakeholders across geographic areas have proven valuable for V2G deployment. These networks often include local governments, regional utilities, multiple vehicle manufacturers, and technology providers working together to establish interoperable V2G ecosystems. Climate policies that establish regional carbon markets or clean energy zones have strengthened these collaborative networks by providing common objectives and financial incentives.
Academic-Industry partnerships facilitate knowledge transfer and innovation in V2G technology. Universities and research institutions collaborate with industry partners to develop advanced algorithms for optimal V2G operation under various climate policy scenarios. These collaborations often focus on maximizing the carbon reduction potential of V2G systems, directly responding to climate policy objectives while creating commercially viable solutions.
Unlock deeper insights with Patsnap Eureka Quick Research — get a full tech report to explore trends and direct your research. Try now!
Generate Your Research Report Instantly with AI Agent
Supercharge your innovation with Patsnap Eureka AI Agent Platform!







