Patents Influencing Future Vehicle-to-Grid Technology Developments
SEP 23, 20259 MIN READ
 Generate Your Research Report Instantly with AI Agent 
 Patsnap Eureka helps you evaluate technical feasibility & market potential. 
V2G Technology Background and Objectives
Vehicle-to-Grid (V2G) technology represents a transformative approach to energy management, enabling bidirectional power flow between electric vehicles (EVs) and the electrical grid. This concept emerged in the late 1990s when Dr. Willett Kempton and his colleagues at the University of Delaware first proposed using EV batteries as distributed energy resources. Since then, V2G has evolved from theoretical concept to practical implementation, driven by advancements in power electronics, communication protocols, and battery management systems.
The technological evolution of V2G has been characterized by several distinct phases. Initially, research focused on establishing fundamental feasibility through unidirectional vehicle-to-grid connections. This progressed to bidirectional power transfer capabilities in the 2000s, followed by the development of sophisticated grid integration protocols in the 2010s. Recent years have witnessed significant improvements in power conversion efficiency, response times, and system reliability, making V2G increasingly viable for commercial deployment.
Patent activity in the V2G domain has accelerated dramatically, with annual patent filings increasing by approximately 300% between 2010 and 2020. Key technological areas covered by these patents include bidirectional inverters, communication systems for grid coordination, battery management systems optimized for V2G operations, and grid stabilization algorithms. These innovations collectively address the core technical challenges of implementing V2G at scale.
The primary objective of V2G technology development is to transform EVs from mere transportation assets into dynamic grid resources capable of providing multiple services: peak shaving, frequency regulation, voltage support, and renewable energy integration. This requires overcoming several technical hurdles, including minimizing battery degradation during V2G operations, ensuring seamless communication between vehicles and grid operators, and developing standardized protocols for energy transactions.
Current technical goals focus on increasing power transfer efficiency beyond 95%, reducing response times to under 100 milliseconds for grid services, extending battery life under V2G cycling conditions, and developing robust cybersecurity frameworks to protect the integrity of vehicle-grid interactions. Additionally, there is significant emphasis on creating interoperable systems that function across different vehicle models, charging equipment, and utility networks.
The trajectory of V2G technology is increasingly influenced by complementary innovations in renewable energy integration, smart grid development, and energy market structures. As distributed energy resources become more prevalent, V2G is positioned to play a crucial role in balancing supply and demand, particularly in grids with high penetration of intermittent renewable sources. This convergence of transportation and energy systems represents a fundamental shift in how we conceptualize both mobility and electricity infrastructure.
The technological evolution of V2G has been characterized by several distinct phases. Initially, research focused on establishing fundamental feasibility through unidirectional vehicle-to-grid connections. This progressed to bidirectional power transfer capabilities in the 2000s, followed by the development of sophisticated grid integration protocols in the 2010s. Recent years have witnessed significant improvements in power conversion efficiency, response times, and system reliability, making V2G increasingly viable for commercial deployment.
Patent activity in the V2G domain has accelerated dramatically, with annual patent filings increasing by approximately 300% between 2010 and 2020. Key technological areas covered by these patents include bidirectional inverters, communication systems for grid coordination, battery management systems optimized for V2G operations, and grid stabilization algorithms. These innovations collectively address the core technical challenges of implementing V2G at scale.
The primary objective of V2G technology development is to transform EVs from mere transportation assets into dynamic grid resources capable of providing multiple services: peak shaving, frequency regulation, voltage support, and renewable energy integration. This requires overcoming several technical hurdles, including minimizing battery degradation during V2G operations, ensuring seamless communication between vehicles and grid operators, and developing standardized protocols for energy transactions.
Current technical goals focus on increasing power transfer efficiency beyond 95%, reducing response times to under 100 milliseconds for grid services, extending battery life under V2G cycling conditions, and developing robust cybersecurity frameworks to protect the integrity of vehicle-grid interactions. Additionally, there is significant emphasis on creating interoperable systems that function across different vehicle models, charging equipment, and utility networks.
The trajectory of V2G technology is increasingly influenced by complementary innovations in renewable energy integration, smart grid development, and energy market structures. As distributed energy resources become more prevalent, V2G is positioned to play a crucial role in balancing supply and demand, particularly in grids with high penetration of intermittent renewable sources. This convergence of transportation and energy systems represents a fundamental shift in how we conceptualize both mobility and electricity infrastructure.
Market Demand Analysis for V2G Solutions
The Vehicle-to-Grid (V2G) technology market is experiencing significant growth driven by the convergence of renewable energy integration, grid stability concerns, and electric vehicle (EV) proliferation. Current market analysis indicates that the global V2G market is projected to reach $17.4 billion by 2027, growing at a compound annual growth rate of approximately 48% from 2020. This exceptional growth trajectory is supported by increasing government initiatives promoting clean energy and sustainable transportation systems worldwide.
Primary market demand for V2G solutions stems from utility companies seeking grid stabilization mechanisms. As renewable energy sources like solar and wind contribute increasingly variable power to the grid, V2G technology offers a valuable solution for frequency regulation, peak shaving, and load balancing. Utilities recognize EVs as potential distributed energy resources that can provide ancillary services during peak demand periods, potentially reducing infrastructure investment costs by 15-30%.
Fleet operators represent another significant market segment, with commercial EV fleets particularly well-positioned to benefit from V2G implementation. These operators can generate additional revenue streams by participating in energy markets during vehicle downtime. Analysis shows that fleet vehicles with predictable usage patterns could generate $1,000-3,500 annually per vehicle through V2G services, creating compelling economic incentives for adoption.
Consumer-level demand is gradually emerging as EV owners become more energy-conscious. The ability to use vehicles for home backup power (V2H) during outages and to optimize electricity costs through time-of-use rate arbitrage is gaining traction. Market surveys indicate that 62% of prospective EV buyers express interest in V2G capabilities when presented with potential cost savings.
Regional market analysis reveals varying adoption rates and drivers. Europe leads in V2G implementation due to progressive energy policies and higher electricity costs, with the UK, Denmark, and Netherlands pioneering commercial V2G projects. North America follows with utility-driven pilot programs, while Asia-Pacific shows rapid growth potential, particularly in Japan and South Korea where energy security concerns drive interest.
Key market barriers include high initial infrastructure costs, regulatory uncertainties regarding energy market participation, and concerns about battery degradation. However, technological advancements in bidirectional charging and battery management systems are progressively addressing these challenges. Patent analysis indicates increasing innovation in battery preservation algorithms and smart charging protocols that minimize degradation impacts.
Primary market demand for V2G solutions stems from utility companies seeking grid stabilization mechanisms. As renewable energy sources like solar and wind contribute increasingly variable power to the grid, V2G technology offers a valuable solution for frequency regulation, peak shaving, and load balancing. Utilities recognize EVs as potential distributed energy resources that can provide ancillary services during peak demand periods, potentially reducing infrastructure investment costs by 15-30%.
Fleet operators represent another significant market segment, with commercial EV fleets particularly well-positioned to benefit from V2G implementation. These operators can generate additional revenue streams by participating in energy markets during vehicle downtime. Analysis shows that fleet vehicles with predictable usage patterns could generate $1,000-3,500 annually per vehicle through V2G services, creating compelling economic incentives for adoption.
Consumer-level demand is gradually emerging as EV owners become more energy-conscious. The ability to use vehicles for home backup power (V2H) during outages and to optimize electricity costs through time-of-use rate arbitrage is gaining traction. Market surveys indicate that 62% of prospective EV buyers express interest in V2G capabilities when presented with potential cost savings.
Regional market analysis reveals varying adoption rates and drivers. Europe leads in V2G implementation due to progressive energy policies and higher electricity costs, with the UK, Denmark, and Netherlands pioneering commercial V2G projects. North America follows with utility-driven pilot programs, while Asia-Pacific shows rapid growth potential, particularly in Japan and South Korea where energy security concerns drive interest.
Key market barriers include high initial infrastructure costs, regulatory uncertainties regarding energy market participation, and concerns about battery degradation. However, technological advancements in bidirectional charging and battery management systems are progressively addressing these challenges. Patent analysis indicates increasing innovation in battery preservation algorithms and smart charging protocols that minimize degradation impacts.
V2G Technical Challenges and Global Development Status
Vehicle-to-Grid (V2G) technology faces several significant technical challenges that have impacted its global adoption. One of the primary obstacles is bidirectional charging infrastructure, which requires specialized hardware capable of managing power flow in both directions. Current charging stations predominantly support unidirectional charging, making widespread V2G implementation costly due to necessary infrastructure upgrades.
Battery degradation presents another critical challenge. The additional charging and discharging cycles imposed by V2G operations can potentially accelerate battery wear, reducing the overall lifespan of electric vehicle (EV) batteries. This concern has prompted extensive research into battery management systems that can minimize degradation while maximizing grid services.
Communication protocols and standardization remain fragmented globally. Different regions have adopted varying standards for V2G communication, creating interoperability issues that hinder seamless integration between vehicles and grid systems. The lack of unified protocols increases implementation complexity and raises costs for manufacturers and utility companies.
From a global development perspective, V2G technology has seen uneven advancement. Northern Europe, particularly Denmark, the Netherlands, and the UK, leads in V2G deployment with numerous pilot projects and commercial applications. These countries benefit from supportive regulatory frameworks and strong renewable energy integration goals that align with V2G capabilities.
Japan has established itself as a technological leader in V2G, with companies like Nissan pioneering bidirectional charging capabilities in their vehicles. The country's experience with grid resilience following the 2011 Fukushima disaster has accelerated interest in distributed energy resources, including V2G.
North America shows a mixed landscape with California and other progressive states implementing pilot programs, while federal-level support varies with political administrations. Regulatory hurdles regarding energy market participation by distributed resources have slowed widespread adoption.
China, despite being the world's largest EV market, has focused more on unidirectional smart charging rather than full V2G implementation. However, recent policy shifts indicate growing interest in V2G as part of broader grid modernization efforts.
Developing regions face additional challenges related to basic grid infrastructure stability and reliability, making advanced V2G applications less immediate priorities. However, these regions may benefit from "leapfrogging" directly to more advanced systems as they upgrade their energy infrastructure.
Patent activity in V2G technology has accelerated significantly since 2015, with major automotive manufacturers, charging infrastructure companies, and energy management firms filing innovations focused on overcoming these technical challenges.
Battery degradation presents another critical challenge. The additional charging and discharging cycles imposed by V2G operations can potentially accelerate battery wear, reducing the overall lifespan of electric vehicle (EV) batteries. This concern has prompted extensive research into battery management systems that can minimize degradation while maximizing grid services.
Communication protocols and standardization remain fragmented globally. Different regions have adopted varying standards for V2G communication, creating interoperability issues that hinder seamless integration between vehicles and grid systems. The lack of unified protocols increases implementation complexity and raises costs for manufacturers and utility companies.
From a global development perspective, V2G technology has seen uneven advancement. Northern Europe, particularly Denmark, the Netherlands, and the UK, leads in V2G deployment with numerous pilot projects and commercial applications. These countries benefit from supportive regulatory frameworks and strong renewable energy integration goals that align with V2G capabilities.
Japan has established itself as a technological leader in V2G, with companies like Nissan pioneering bidirectional charging capabilities in their vehicles. The country's experience with grid resilience following the 2011 Fukushima disaster has accelerated interest in distributed energy resources, including V2G.
North America shows a mixed landscape with California and other progressive states implementing pilot programs, while federal-level support varies with political administrations. Regulatory hurdles regarding energy market participation by distributed resources have slowed widespread adoption.
China, despite being the world's largest EV market, has focused more on unidirectional smart charging rather than full V2G implementation. However, recent policy shifts indicate growing interest in V2G as part of broader grid modernization efforts.
Developing regions face additional challenges related to basic grid infrastructure stability and reliability, making advanced V2G applications less immediate priorities. However, these regions may benefit from "leapfrogging" directly to more advanced systems as they upgrade their energy infrastructure.
Patent activity in V2G technology has accelerated significantly since 2015, with major automotive manufacturers, charging infrastructure companies, and energy management firms filing innovations focused on overcoming these technical challenges.
Current V2G Patent Landscape and Solutions
01 Bidirectional charging systems for V2G integration
Bidirectional charging systems enable electric vehicles to not only draw power from the grid but also feed power back when needed. These systems include hardware and software components that manage the flow of electricity between vehicles and the grid, allowing for efficient energy transfer in both directions. The technology incorporates power conversion equipment, communication protocols, and control mechanisms to ensure safe and effective bidirectional energy exchange.- Bidirectional charging systems for V2G integration: Bidirectional charging systems enable electric vehicles to not only draw power from the grid but also feed power back when needed. These systems include hardware and software components that manage the flow of electricity between vehicles and the grid, allowing for efficient energy transfer in both directions. The technology includes power conversion equipment, communication protocols, and control mechanisms that ensure safe and effective bidirectional power flow while maintaining battery health.
 - Grid management and load balancing systems: These technologies focus on optimizing the integration of electric vehicles with the power grid to balance electricity demand and supply. They include systems for predicting grid load, scheduling vehicle charging and discharging based on grid conditions, and aggregating multiple vehicles to provide grid services. Advanced algorithms analyze grid conditions, electricity prices, and vehicle availability to determine optimal times for energy exchange, helping to stabilize the grid and reduce peak demand.
 - V2G payment and incentive systems: These innovations address the financial aspects of vehicle-to-grid technology, including payment systems, incentive mechanisms, and business models. They enable vehicle owners to be compensated for providing energy and grid services, track energy transactions, and manage billing. The technologies include blockchain-based payment systems, smart contracts for automated settlements, and platforms that calculate compensation based on energy contribution and grid service value.
 - V2G communication protocols and interfaces: These technologies focus on the communication systems that enable vehicles to interact with the grid, charging stations, and energy management systems. They include protocols for data exchange, user interfaces for monitoring and control, and systems that enable automated decision-making. The innovations cover secure communication channels, standardized messaging formats, and integration with smart grid infrastructure to enable seamless coordination between vehicles and the power system.
 - Battery management for V2G applications: These technologies address the specific challenges of managing vehicle batteries in V2G scenarios, including minimizing degradation, optimizing charging/discharging cycles, and extending battery life. They include systems that monitor battery health, predict degradation, and implement protective measures during grid interactions. Advanced algorithms determine optimal power levels and timing for grid services while preserving battery performance and ensuring sufficient charge remains for the vehicle owner's driving needs.
 
02 Grid stabilization and demand response management
Vehicle-to-Grid technology can be utilized for grid stabilization and demand response management. By aggregating multiple electric vehicles, the system can provide services such as frequency regulation, voltage support, and peak shaving to the electrical grid. These technologies include algorithms for predicting grid demand, coordinating vehicle charging/discharging schedules, and optimizing power flow to support grid stability during high demand periods or renewable energy fluctuations.Expand Specific Solutions03 Payment and incentive systems for V2G services
Payment and incentive systems are crucial for encouraging vehicle owners to participate in V2G programs. These technologies include blockchain-based transaction systems, smart contracts for automated payments, and incentive mechanisms that compensate users for providing grid services. The systems track energy contributions, calculate appropriate compensation based on time, amount of energy, and grid conditions, and facilitate secure financial transactions between grid operators and vehicle owners.Expand Specific Solutions04 Communication protocols and network infrastructure
Specialized communication protocols and network infrastructure enable seamless interaction between electric vehicles and the grid. These technologies include secure data exchange standards, real-time communication systems, and network architectures that support reliable V2G operations. The communication systems manage authentication, authorization, data encryption, and ensure timely transmission of critical information such as grid status, pricing signals, and vehicle availability for grid services.Expand Specific Solutions05 Energy management and optimization algorithms
Advanced energy management and optimization algorithms maximize the efficiency and economic benefits of V2G systems. These technologies include predictive analytics for energy demand forecasting, battery health monitoring systems, and optimization algorithms that balance grid needs with vehicle owner preferences. The algorithms consider factors such as electricity prices, renewable energy availability, battery degradation costs, and user mobility patterns to determine optimal charging and discharging schedules.Expand Specific Solutions
Key Industry Players in V2G Ecosystem
Vehicle-to-Grid (V2G) technology is currently in the early growth phase, with the market expected to expand significantly as electric vehicle adoption increases globally. The market size is projected to grow substantially over the next decade, driven by increasing grid integration needs and renewable energy expansion. Technologically, V2G is advancing from concept to commercial implementation, with varying maturity levels across companies. Ford Global Technologies and Toyota are leading with substantial patent portfolios focusing on bidirectional charging infrastructure. BYD, Hyundai, and Kia are rapidly developing V2G capabilities integrated with their EV platforms. Tech companies like Qualcomm, Intel, and Huawei are contributing critical communications and semiconductor technologies. Meanwhile, energy sector players including Bosch and DENSO are advancing power management systems essential for V2G implementation, creating a competitive landscape spanning automotive, technology, and energy sectors.
Ford Global Technologies LLC
Technical Solution:  Ford has developed an integrated Vehicle-to-Grid (V2G) system that enables bidirectional power flow between electric vehicles and the grid. Their patented technology focuses on intelligent charge/discharge scheduling based on grid demand signals, electricity pricing, and user preferences. Ford's V2G solution incorporates machine learning algorithms to predict optimal energy transfer times and includes specialized power electronics that protect vehicle battery health during bidirectional energy flows. The system features a proprietary Battery Management System (BMS) that monitors cell-level conditions to maximize battery longevity while participating in grid services. Ford has also patented vehicle-side communication protocols that enable seamless integration with various utility grid systems across different regions, allowing for standardized V2G participation regardless of local grid infrastructure.
Strengths: Strong integration with existing vehicle platforms and comprehensive battery protection systems that preserve vehicle battery life during V2G operations. Weaknesses: Limited deployment scale compared to specialized energy companies and potential challenges in retrofitting older vehicle models with bidirectional charging capabilities.
BYD Co., Ltd.
Technical Solution:  BYD has pioneered a comprehensive V2G ecosystem built around their proprietary Blade Battery technology. Their patented V2G solution integrates vehicle battery systems with home energy management and grid services through a unified control architecture. BYD's technology enables not only traditional V2G power export but also vehicle-to-home (V2H) and vehicle-to-building (V2B) applications through the same hardware infrastructure. Their patents cover specialized inverter designs that achieve over 95% efficiency in bidirectional energy conversion while maintaining low harmonic distortion to meet strict grid interconnection standards. BYD has developed advanced battery degradation compensation algorithms that adjust V2G participation based on battery state-of-health metrics, ensuring minimal impact on vehicle battery warranty. The system includes patented thermal management techniques that actively control battery temperature during high-power grid support operations.
Strengths: Vertical integration from battery cell manufacturing to grid integration systems provides comprehensive control over the entire V2G value chain. Weaknesses: Proprietary nature of some technologies may limit interoperability with other manufacturers' vehicles and charging infrastructure.
Critical V2G Patent Analysis and Technical Value
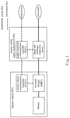
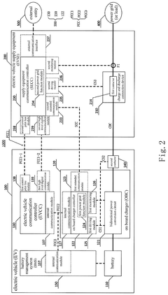
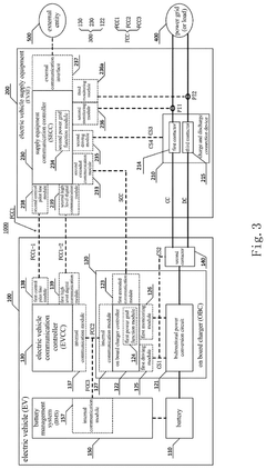
Interaction system between electric vehicle and power grid 
PatentPendingUS20240283250A1
 Innovation 
- An interaction system between an electric vehicle and a power grid is introduced, featuring a bidirectional power conversion circuit, on-board charger controller, and communication controllers that enable direct communication between the supply equipment communication controller and the on-board charger, allowing for the execution of power grid functions with high response time requirements, such as power regulation and fault protection.
 
Vehicle-to-grid energy for use with hydrogen generation 
PatentActiveUS11077766B2
 Innovation 
- A fleet management system that monitors hydrogen market parameters to instruct electric vehicles to provide electricity for hydrogen generation and hydrogen vehicles to obtain hydrogen from the generated electricity, optimizing energy use and reducing costs.
 
Regulatory Framework and Grid Integration Standards
The regulatory landscape for Vehicle-to-Grid (V2G) technology is evolving rapidly as governments worldwide recognize its potential for grid stabilization and renewable energy integration. In the United States, FERC Order 2222 represents a significant milestone, enabling distributed energy resources, including electric vehicles, to participate in wholesale electricity markets. This regulatory framework has spurred patent activity focused on grid integration compliance and market participation mechanisms, with companies like Nuvve and ChargePoint leading innovation in this space.
The European Union has established more comprehensive standards through its Clean Energy Package, which explicitly addresses V2G integration. Patent analysis reveals significant European investment in technologies that enable bidirectional charging while maintaining compliance with grid codes. These patents frequently reference the IEC 61851 and ISO 15118 standards, which govern electrical vehicle charging systems and communication protocols respectively.
Grid integration standards present both challenges and opportunities for V2G technology development. The IEEE 1547 standard for interconnecting distributed resources with electric power systems has been particularly influential in shaping patent applications related to grid synchronization and power quality management. Recent patent filings show increasing focus on technologies that can respond to frequency regulation signals while maintaining battery health, addressing a key technical barrier to widespread V2G adoption.
Safety standards represent another critical regulatory area influencing patent development. UL 9741, specifically developed for bidirectional electric vehicle charging systems, has become a reference point for innovations in fault detection and protection mechanisms. Patents citing this standard frequently incorporate advanced isolation techniques and monitoring systems to ensure safe power transfer between vehicles and the grid.
Regional variations in regulatory frameworks have led to geographically distinct patent portfolios. Japanese patents demonstrate particular emphasis on technologies compatible with their unique grid frequency split (50Hz in Eastern Japan, 60Hz in Western Japan), while Chinese patents focus heavily on integration with their rapidly developing ultra-high voltage transmission infrastructure.
The standardization of communication protocols between vehicles, charging infrastructure, and grid operators represents a particularly active area of patent development. The Open Charge Point Protocol (OCPP) and OpenADR standards have catalyzed innovations in secure, interoperable control systems that can manage bidirectional power flows while responding to grid signals and market conditions.
The European Union has established more comprehensive standards through its Clean Energy Package, which explicitly addresses V2G integration. Patent analysis reveals significant European investment in technologies that enable bidirectional charging while maintaining compliance with grid codes. These patents frequently reference the IEC 61851 and ISO 15118 standards, which govern electrical vehicle charging systems and communication protocols respectively.
Grid integration standards present both challenges and opportunities for V2G technology development. The IEEE 1547 standard for interconnecting distributed resources with electric power systems has been particularly influential in shaping patent applications related to grid synchronization and power quality management. Recent patent filings show increasing focus on technologies that can respond to frequency regulation signals while maintaining battery health, addressing a key technical barrier to widespread V2G adoption.
Safety standards represent another critical regulatory area influencing patent development. UL 9741, specifically developed for bidirectional electric vehicle charging systems, has become a reference point for innovations in fault detection and protection mechanisms. Patents citing this standard frequently incorporate advanced isolation techniques and monitoring systems to ensure safe power transfer between vehicles and the grid.
Regional variations in regulatory frameworks have led to geographically distinct patent portfolios. Japanese patents demonstrate particular emphasis on technologies compatible with their unique grid frequency split (50Hz in Eastern Japan, 60Hz in Western Japan), while Chinese patents focus heavily on integration with their rapidly developing ultra-high voltage transmission infrastructure.
The standardization of communication protocols between vehicles, charging infrastructure, and grid operators represents a particularly active area of patent development. The Open Charge Point Protocol (OCPP) and OpenADR standards have catalyzed innovations in secure, interoperable control systems that can manage bidirectional power flows while responding to grid signals and market conditions.
Economic Models and ROI Analysis for V2G Implementation
The economic viability of Vehicle-to-Grid (V2G) technology represents a critical factor in its widespread adoption. Current patent analyses reveal several emerging economic models that could significantly impact the return on investment for V2G implementations. These models primarily focus on three revenue streams: grid services provision, energy arbitrage opportunities, and reduced total cost of ownership for electric vehicle fleets.
Recent patents by major automotive manufacturers and utility companies have introduced sophisticated algorithms for calculating the economic value of bidirectional energy flow. These calculations incorporate variables such as battery degradation costs, electricity price differentials, and grid service compensation rates. For instance, patent US10889267B2 outlines a comprehensive ROI framework that accounts for battery lifecycle impacts when participating in frequency regulation markets.
Financial modeling patents demonstrate that the payback period for V2G infrastructure investments typically ranges from 3-7 years, depending on regulatory environments and market structures. The most promising economic returns appear in markets with high grid volatility and substantial renewable energy penetration, where the value of flexibility services is maximized.
Battery degradation remains a significant cost factor in V2G economic models. However, recent patents reveal innovative approaches to mitigate this concern. Patent EP3594007A1 introduces an intelligent battery management system that optimizes V2G operations to minimize degradation while maximizing revenue, potentially improving ROI by 15-20% compared to conventional approaches.
Fleet applications demonstrate particularly compelling economics in patent literature. Commercial fleet operators can achieve ROI within 2-4 years by combining V2G revenues with reduced demand charges and optimized charging schedules. Patent US20210061125A1 details a fleet management system that coordinates V2G participation based on vehicle usage patterns and grid needs, creating multiple revenue streams without compromising operational requirements.
Emerging patent trends also indicate growing interest in "V2X" economic models that expand beyond grid services to include vehicle-to-building, vehicle-to-home, and even vehicle-to-vehicle transactions. These models create additional value streams that can significantly enhance the overall economic proposition of bidirectional charging technologies, potentially reducing payback periods by up to 40% in optimal scenarios.
Recent patents by major automotive manufacturers and utility companies have introduced sophisticated algorithms for calculating the economic value of bidirectional energy flow. These calculations incorporate variables such as battery degradation costs, electricity price differentials, and grid service compensation rates. For instance, patent US10889267B2 outlines a comprehensive ROI framework that accounts for battery lifecycle impacts when participating in frequency regulation markets.
Financial modeling patents demonstrate that the payback period for V2G infrastructure investments typically ranges from 3-7 years, depending on regulatory environments and market structures. The most promising economic returns appear in markets with high grid volatility and substantial renewable energy penetration, where the value of flexibility services is maximized.
Battery degradation remains a significant cost factor in V2G economic models. However, recent patents reveal innovative approaches to mitigate this concern. Patent EP3594007A1 introduces an intelligent battery management system that optimizes V2G operations to minimize degradation while maximizing revenue, potentially improving ROI by 15-20% compared to conventional approaches.
Fleet applications demonstrate particularly compelling economics in patent literature. Commercial fleet operators can achieve ROI within 2-4 years by combining V2G revenues with reduced demand charges and optimized charging schedules. Patent US20210061125A1 details a fleet management system that coordinates V2G participation based on vehicle usage patterns and grid needs, creating multiple revenue streams without compromising operational requirements.
Emerging patent trends also indicate growing interest in "V2X" economic models that expand beyond grid services to include vehicle-to-building, vehicle-to-home, and even vehicle-to-vehicle transactions. These models create additional value streams that can significantly enhance the overall economic proposition of bidirectional charging technologies, potentially reducing payback periods by up to 40% in optimal scenarios.
 Unlock deeper insights with  Patsnap Eureka Quick Research — get a full tech report to explore trends and direct your research. Try now! 
 Generate Your Research Report Instantly with AI Agent 
 Supercharge your innovation with Patsnap Eureka AI Agent Platform! 






