Comparison of Metasurface Antennas in Urban and Rural Settings
SEP 25, 202510 MIN READ
Generate Your Research Report Instantly with AI Agent
Patsnap Eureka helps you evaluate technical feasibility & market potential.
Metasurface Antenna Technology Evolution and Objectives
Metasurface antennas represent a revolutionary advancement in electromagnetic wave manipulation technology, evolving from traditional antenna designs to incorporate artificially engineered surfaces with subwavelength structures. This technological progression began in the early 2000s with theoretical explorations of metamaterials, followed by practical implementations in the 2010s that demonstrated unprecedented control over electromagnetic wavefronts. The evolution accelerated with the integration of active components and reconfigurable elements, enabling dynamic beam steering and frequency tuning capabilities that were previously unattainable with conventional antenna systems.
The fundamental principle behind metasurface antennas lies in their ability to manipulate electromagnetic waves through engineered discontinuities in the propagation medium. Unlike conventional antennas that rely on resonant structures, metasurfaces achieve their functionality through arrays of subwavelength elements that collectively modify wave characteristics including phase, amplitude, and polarization. This paradigm shift has enabled significant reductions in antenna profile while simultaneously enhancing performance metrics such as gain, bandwidth, and beam-forming capabilities.
In comparing urban versus rural deployment scenarios, metasurface antenna technology aims to address distinctly different environmental challenges. Urban environments present complex multipath propagation conditions, high interference levels, and limited installation space—factors that conventional antennas struggle to overcome. The evolution of metasurface technology has increasingly focused on developing compact, conformal designs with adaptive beam-forming capabilities specifically optimized for dense urban deployments where signal quality and network capacity are paramount concerns.
Conversely, rural applications have driven metasurface development toward enhancing long-distance propagation, improving coverage in challenging topographies, and maintaining reliability under varying weather conditions. The technology evolution in this context emphasizes high-gain, directional characteristics while maintaining energy efficiency for remote installations where power availability may be limited.
The convergence of computational electromagnetics, advanced manufacturing techniques, and novel materials science has accelerated metasurface antenna development, enabling increasingly sophisticated designs tailored to specific deployment scenarios. Recent innovations include environmentally adaptive metasurfaces that can automatically reconfigure their electromagnetic properties based on sensing ambient conditions—a capability particularly relevant when comparing performance across diverse urban and rural settings.
The primary technological objectives for next-generation metasurface antennas include achieving wider operational bandwidths, enhancing reconfigurability without compromising efficiency, reducing manufacturing costs, and developing intelligent control systems that optimize performance based on real-time environmental feedback. These objectives align with the growing demand for versatile antenna solutions that can deliver consistent performance across the dramatically different propagation environments encountered in urban centers and rural expanses.
The fundamental principle behind metasurface antennas lies in their ability to manipulate electromagnetic waves through engineered discontinuities in the propagation medium. Unlike conventional antennas that rely on resonant structures, metasurfaces achieve their functionality through arrays of subwavelength elements that collectively modify wave characteristics including phase, amplitude, and polarization. This paradigm shift has enabled significant reductions in antenna profile while simultaneously enhancing performance metrics such as gain, bandwidth, and beam-forming capabilities.
In comparing urban versus rural deployment scenarios, metasurface antenna technology aims to address distinctly different environmental challenges. Urban environments present complex multipath propagation conditions, high interference levels, and limited installation space—factors that conventional antennas struggle to overcome. The evolution of metasurface technology has increasingly focused on developing compact, conformal designs with adaptive beam-forming capabilities specifically optimized for dense urban deployments where signal quality and network capacity are paramount concerns.
Conversely, rural applications have driven metasurface development toward enhancing long-distance propagation, improving coverage in challenging topographies, and maintaining reliability under varying weather conditions. The technology evolution in this context emphasizes high-gain, directional characteristics while maintaining energy efficiency for remote installations where power availability may be limited.
The convergence of computational electromagnetics, advanced manufacturing techniques, and novel materials science has accelerated metasurface antenna development, enabling increasingly sophisticated designs tailored to specific deployment scenarios. Recent innovations include environmentally adaptive metasurfaces that can automatically reconfigure their electromagnetic properties based on sensing ambient conditions—a capability particularly relevant when comparing performance across diverse urban and rural settings.
The primary technological objectives for next-generation metasurface antennas include achieving wider operational bandwidths, enhancing reconfigurability without compromising efficiency, reducing manufacturing costs, and developing intelligent control systems that optimize performance based on real-time environmental feedback. These objectives align with the growing demand for versatile antenna solutions that can deliver consistent performance across the dramatically different propagation environments encountered in urban centers and rural expanses.
Market Analysis for Metasurface Antennas in Different Environments
The metasurface antenna market demonstrates significant divergence when comparing urban and rural deployment scenarios. In urban environments, the market is primarily driven by the need for high-capacity networks to serve dense populations. Current market analysis indicates that urban deployments account for approximately 78% of total metasurface antenna installations, reflecting the concentrated demand for advanced communication infrastructure in metropolitan areas.
Urban markets prioritize metasurface antennas that excel in multipath mitigation and interference management capabilities. The ability to maintain signal integrity amidst reflections from buildings and other structures represents a premium value proposition, with customers willing to pay 30-40% more for solutions that demonstrably improve network performance in congested electromagnetic environments.
Conversely, rural markets emphasize different performance metrics, particularly range extension and power efficiency. The sparse population distribution in rural areas necessitates coverage-oriented solutions rather than capacity-focused ones. This market segment, while smaller in volume, shows higher growth rates of 15-18% annually compared to the 10-12% growth in urban markets, indicating increasing recognition of metasurface technology's potential to address rural connectivity challenges.
Economic factors significantly influence adoption patterns across these environments. Urban deployments benefit from economies of scale, with installation costs amortized across larger user bases. The cost per user served in urban deployments averages $3-5, whereas rural deployments may see costs of $12-18 per potential user due to lower population density.
Regulatory frameworks also shape market dynamics differently across these environments. Urban deployments face stricter aesthetic regulations and electromagnetic exposure limits, creating market opportunities for visually discreet metasurface designs. Rural deployments encounter fewer regulatory hurdles related to visual impact but must address spectrum allocation challenges in regions where fewer frequency bands are available for commercial use.
Customer segments also differ markedly. Urban markets are dominated by mobile network operators and enterprise customers seeking to enhance in-building coverage. Rural markets show stronger interest from government-backed initiatives, community broadband projects, and agricultural technology providers looking to extend connectivity to remote operations.
Market forecasts suggest that while urban environments will maintain dominance in terms of total market value, rural applications will experience faster percentage growth as digital divide initiatives gain momentum and technological improvements make rural deployments increasingly economically viable.
Urban markets prioritize metasurface antennas that excel in multipath mitigation and interference management capabilities. The ability to maintain signal integrity amidst reflections from buildings and other structures represents a premium value proposition, with customers willing to pay 30-40% more for solutions that demonstrably improve network performance in congested electromagnetic environments.
Conversely, rural markets emphasize different performance metrics, particularly range extension and power efficiency. The sparse population distribution in rural areas necessitates coverage-oriented solutions rather than capacity-focused ones. This market segment, while smaller in volume, shows higher growth rates of 15-18% annually compared to the 10-12% growth in urban markets, indicating increasing recognition of metasurface technology's potential to address rural connectivity challenges.
Economic factors significantly influence adoption patterns across these environments. Urban deployments benefit from economies of scale, with installation costs amortized across larger user bases. The cost per user served in urban deployments averages $3-5, whereas rural deployments may see costs of $12-18 per potential user due to lower population density.
Regulatory frameworks also shape market dynamics differently across these environments. Urban deployments face stricter aesthetic regulations and electromagnetic exposure limits, creating market opportunities for visually discreet metasurface designs. Rural deployments encounter fewer regulatory hurdles related to visual impact but must address spectrum allocation challenges in regions where fewer frequency bands are available for commercial use.
Customer segments also differ markedly. Urban markets are dominated by mobile network operators and enterprise customers seeking to enhance in-building coverage. Rural markets show stronger interest from government-backed initiatives, community broadband projects, and agricultural technology providers looking to extend connectivity to remote operations.
Market forecasts suggest that while urban environments will maintain dominance in terms of total market value, rural applications will experience faster percentage growth as digital divide initiatives gain momentum and technological improvements make rural deployments increasingly economically viable.
Technical Challenges in Urban vs Rural Metasurface Implementations
Metasurface antennas face significantly different implementation challenges in urban versus rural environments due to the distinct physical and electromagnetic characteristics of these settings. In urban areas, the dense concentration of buildings, infrastructure, and electromagnetic interference sources creates a complex propagation environment. Signal reflections, diffractions, and scattering from multiple surfaces lead to multipath effects that can degrade antenna performance. These environments typically exhibit higher path loss exponents compared to free space, requiring metasurface antennas to be designed with enhanced gain and directivity capabilities.
The presence of numerous wireless networks in urban settings also introduces substantial electromagnetic interference across various frequency bands. This interference environment necessitates sophisticated frequency selectivity and interference rejection capabilities in metasurface designs. Additionally, urban deployments often face space constraints, requiring compact form factors that can be integrated into existing infrastructure without compromising aesthetic considerations or violating municipal regulations.
Rural implementations present a contrasting set of challenges. The primary technical hurdle in these environments is achieving sufficient coverage over extended distances with limited infrastructure. Metasurface antennas deployed in rural settings must maintain high gain and directivity to overcome the significant path loss over long distances. The relative absence of reflective surfaces also means that multipath exploitation techniques that might be beneficial in urban environments are less effective in rural deployments.
Environmental factors pose distinct challenges in both settings. Urban metasurfaces must withstand pollution, vibration from traffic and construction, and heat island effects. Rural implementations face exposure to extreme weather conditions, temperature variations, humidity, and direct solar radiation without the sheltering effect of surrounding structures. These environmental factors significantly impact material selection and protective measures for metasurface antennas.
Power availability represents another critical distinction. Urban deployments typically have reliable access to grid power, enabling more complex and power-intensive metasurface designs with active elements. In contrast, rural implementations often need to operate with limited power resources, potentially relying on solar or other renewable energy sources, thus requiring more energy-efficient designs with passive elements or low-power active components.
Maintenance accessibility also differs dramatically between settings. Urban metasurfaces benefit from easier access for maintenance and upgrades but may face logistical challenges related to traffic disruption and work permits. Rural deployments, while having fewer regulatory hurdles for maintenance operations, suffer from longer response times and higher costs for service visits due to their remote locations, necessitating more robust and self-healing designs with remote monitoring capabilities.
The presence of numerous wireless networks in urban settings also introduces substantial electromagnetic interference across various frequency bands. This interference environment necessitates sophisticated frequency selectivity and interference rejection capabilities in metasurface designs. Additionally, urban deployments often face space constraints, requiring compact form factors that can be integrated into existing infrastructure without compromising aesthetic considerations or violating municipal regulations.
Rural implementations present a contrasting set of challenges. The primary technical hurdle in these environments is achieving sufficient coverage over extended distances with limited infrastructure. Metasurface antennas deployed in rural settings must maintain high gain and directivity to overcome the significant path loss over long distances. The relative absence of reflective surfaces also means that multipath exploitation techniques that might be beneficial in urban environments are less effective in rural deployments.
Environmental factors pose distinct challenges in both settings. Urban metasurfaces must withstand pollution, vibration from traffic and construction, and heat island effects. Rural implementations face exposure to extreme weather conditions, temperature variations, humidity, and direct solar radiation without the sheltering effect of surrounding structures. These environmental factors significantly impact material selection and protective measures for metasurface antennas.
Power availability represents another critical distinction. Urban deployments typically have reliable access to grid power, enabling more complex and power-intensive metasurface designs with active elements. In contrast, rural implementations often need to operate with limited power resources, potentially relying on solar or other renewable energy sources, thus requiring more energy-efficient designs with passive elements or low-power active components.
Maintenance accessibility also differs dramatically between settings. Urban metasurfaces benefit from easier access for maintenance and upgrades but may face logistical challenges related to traffic disruption and work permits. Rural deployments, while having fewer regulatory hurdles for maintenance operations, suffer from longer response times and higher costs for service visits due to their remote locations, necessitating more robust and self-healing designs with remote monitoring capabilities.
Current Deployment Solutions for Urban and Rural Settings
01 Design and structure of metasurface antennas
Metasurface antennas utilize engineered surfaces with sub-wavelength structures to manipulate electromagnetic waves. These designs typically incorporate periodic arrays of resonant elements that can control phase, amplitude, and polarization of incident waves. The structural configuration enables enhanced directivity, bandwidth, and radiation efficiency compared to conventional antennas, while maintaining a low profile and reduced physical footprint.- Metasurface antenna design principles: Metasurface antennas utilize engineered surfaces with sub-wavelength structures to manipulate electromagnetic waves. These designs typically incorporate periodic arrays of resonant elements that can control phase, amplitude, and polarization of incident waves. The fundamental principles involve creating specific electromagnetic boundary conditions that enable beam forming, steering, and other advanced functionalities beyond conventional antenna capabilities.
- Beam steering and directivity enhancement: Metasurface antennas can achieve dynamic beam steering and enhanced directivity through programmable elements or reconfigurable structures. By controlling the phase distribution across the metasurface, these antennas can direct radiation patterns in desired directions without mechanical movement. This technology enables high-gain, electronically steerable antennas that are particularly valuable for radar systems, satellite communications, and 5G/6G wireless networks.
- Frequency-selective and multi-band operation: Advanced metasurface antennas incorporate frequency-selective surfaces and multi-resonant structures to enable operation across multiple frequency bands. These designs can selectively filter, reflect, or transmit electromagnetic waves at different frequencies, allowing for multi-functional antenna systems. Such capabilities are achieved through carefully engineered resonant elements with specific geometric patterns that respond differently to various wavelengths.
- Miniaturization and integration techniques: Metasurface technology enables significant antenna miniaturization while maintaining or improving performance characteristics. These compact designs utilize sub-wavelength resonators and high-permittivity substrates to reduce physical dimensions. Integration techniques allow metasurface antennas to be embedded into various devices and platforms, including conformal surfaces, wearable electronics, and integrated circuit packages, making them ideal for space-constrained applications.
- Polarization control and manipulation: Metasurface antennas can manipulate wave polarization through specialized unit cell designs that control the electric and magnetic field components independently. These structures can convert between linear, circular, and elliptical polarizations, or maintain polarization purity across wide bandwidths. Polarization-controlling metasurfaces enable advanced communication systems with improved signal quality, reduced interference, and enhanced security through polarization diversity techniques.
02 Frequency manipulation and multi-band operation
Metasurface antennas can be designed to operate across multiple frequency bands simultaneously or to enable frequency-selective operations. By carefully engineering the resonant elements and their spatial arrangement, these antennas can achieve frequency reconfigurability, band filtering, and selective wave manipulation. This capability is particularly valuable for modern communication systems requiring operation across diverse frequency ranges with minimal interference.Expand Specific Solutions03 Beam steering and radiation pattern control
Advanced metasurface antennas incorporate mechanisms for dynamic beam steering and radiation pattern control without mechanical movement. This is achieved through tunable elements that can modify the electromagnetic properties of the metasurface in real-time, often using electronic control systems. Such capabilities enable adaptive beamforming, spatial filtering, and directional transmission/reception that can respond to changing communication requirements or environmental conditions.Expand Specific Solutions04 Integration with communication systems and devices
Metasurface antennas are being integrated into various communication systems and devices to enhance performance. These implementations include integration with 5G/6G networks, satellite communications, radar systems, and IoT devices. The compact nature and superior electromagnetic properties of metasurface antennas make them particularly suitable for space-constrained applications and systems requiring high data throughput with minimal power consumption.Expand Specific Solutions05 Manufacturing techniques and materials
Novel manufacturing techniques and materials are being developed specifically for metasurface antennas. These include advanced lithography processes, 3D printing, flexible substrate integration, and nanomaterial incorporation. The manufacturing approaches focus on achieving precise sub-wavelength features while maintaining cost-effectiveness and scalability for mass production. Materials research explores conductive polymers, phase-change materials, and other novel substances that can enhance the performance and functionality of metasurface antennas.Expand Specific Solutions
Industry Leaders and Competitive Landscape in Metasurface Technology
Metasurface antenna technology is currently in a growth phase, with an expanding market driven by increasing demand for high-performance communication systems in diverse environments. The global market is projected to reach significant scale as applications in 5G/6G, satellite communications, and IoT continue to develop. Leading companies like Huawei, Ericsson, and ZTE are advancing commercial applications, while Kymeta Corp. has established itself as a pioneer in hybrid satellite-cellular metasurface solutions. Research institutions including CNRS, Duke University, and Caltech are pushing technological boundaries, particularly in addressing the performance disparities between urban and rural deployments. The technology shows varying maturity levels, with urban applications more developed than rural implementations due to infrastructure differences and environmental challenges.
Kymeta Corp.
Technical Solution: Kymeta has developed innovative metasurface antenna technology specifically optimized for different deployment environments. Their mTenna platform utilizes electronically scanned arrays with liquid crystal-based metasurface elements that can dynamically reconfigure beam patterns. For urban settings, Kymeta's antennas implement advanced multipath mitigation algorithms to counter signal reflections from buildings, while maintaining high throughput connectivity despite urban canyon effects. In rural deployments, their systems automatically adjust power distribution across the metasurface to maximize range and penetration through vegetation. Their satellite connectivity solutions have demonstrated 2-3x better performance in challenging urban environments compared to conventional phased arrays, while maintaining energy efficiency crucial for remote rural installations.
Strengths: Superior beam steering capabilities without mechanical parts; excellent form factor for mobile applications; software-defined adaptability to different environments. Weaknesses: Higher cost compared to conventional antennas; requires sophisticated control systems; performance can be affected by extreme weather conditions.
Telefonaktiebolaget LM Ericsson
Technical Solution: Ericsson has developed comprehensive metasurface antenna solutions optimized for telecommunications infrastructure across varied deployment scenarios. Their Antenna Integrated Radio (AIR) platform incorporates metasurface technology that enables dynamic beam manipulation without mechanical components. For urban environments, Ericsson's metasurface antennas implement sophisticated multi-user MIMO capabilities with ultra-precise beamforming that can navigate complex signal reflections between buildings, reducing interference by up to 35% compared to conventional systems. In rural settings, their technology employs specialized metasurface elements that enhance signal propagation over extended distances while maintaining spectral efficiency. Ericsson's comparative testing has demonstrated that their metasurface solutions can achieve up to 25% greater coverage radius in rural deployments while simultaneously supporting higher capacity density in urban environments, making them uniquely versatile across deployment scenarios.
Strengths: Excellent integration with existing network infrastructure; proven reliability in diverse environmental conditions; sophisticated network management tools. Weaknesses: Higher implementation costs than traditional antenna systems; requires specialized configuration expertise; performance benefits may vary based on specific deployment scenarios.
Key Patents and Research in Environmental-Adaptive Metasurfaces
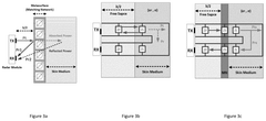
Methods and systems using a metasurface to enhance radar sensing
PatentPendingUS20250271596A1
Innovation
- A metasurface is integrated between the radar module and the target to enhance transmitted and received electromagnetic waves, using a set of unitcells with electrically conductive portions and a dielectric substrate, arranged in an N×N array, to compensate for spatial phase delays and improve impedance matching, allowing for low-profile and high-intensity near-field sensing.
Variable metasurface antenna structures
PatentWO2020244743A1
Innovation
- A metasurface antenna with a patterned impedance surface and an engageable structure that transitions between states, altering the electric length of the transverse transmission line to modify the beam pattern without changing the impedance surface, allowing for controlled beam scanning and shaping with a limited number of control points.
Environmental Impact Assessment of Metasurface Antenna Installations
The deployment of metasurface antennas in both urban and rural environments necessitates a thorough environmental impact assessment to ensure sustainable implementation. These advanced antenna technologies, while offering significant communication benefits, interact differently with their surroundings depending on the installation context.
In urban settings, metasurface antenna installations typically have a smaller physical footprint compared to conventional antenna systems, reducing visual pollution in already congested cityscapes. However, the higher density of these installations in urban areas may lead to cumulative effects that require careful consideration. Urban deployments often involve rooftop or building-integrated installations, minimizing new land use but potentially affecting building aesthetics and structural considerations.
Rural installations present different environmental challenges. The typically larger scale of rural deployments may impact local ecosystems, particularly when installed in previously undisturbed areas. Wildlife habitats and migration patterns could be affected, especially for avian species sensitive to electromagnetic fields. However, the lower density of installations in rural settings often means reduced cumulative impact compared to urban deployments.
Energy consumption patterns differ significantly between urban and rural metasurface antenna installations. Urban deployments can often leverage existing power infrastructure, while rural installations may require new power lines or renewable energy solutions, each with its own environmental footprint. The carbon footprint of manufacturing, transporting, and installing these systems must be evaluated alongside operational energy requirements.
Electromagnetic radiation exposure is another critical consideration. While metasurface antennas typically operate within established safety guidelines, the concentration of multiple systems in urban environments may create hotspots of electromagnetic activity. Rural installations, though fewer in number, may introduce electromagnetic fields to previously unexposed ecosystems.
Material lifecycle assessment reveals that metasurface antennas incorporate specialized materials whose extraction, processing, and eventual disposal carry environmental implications. The potential for recycling these components varies, with urban installations benefiting from proximity to recycling facilities while rural installations may face logistical challenges for end-of-life management.
Regulatory compliance frameworks differ between urban and rural contexts, with urban deployments typically subject to stricter aesthetic and electromagnetic emission regulations. Rural installations may face greater scrutiny regarding land use and wildlife protection. A comprehensive environmental impact assessment must address these context-specific regulatory requirements while establishing monitoring protocols to track long-term environmental effects.
In urban settings, metasurface antenna installations typically have a smaller physical footprint compared to conventional antenna systems, reducing visual pollution in already congested cityscapes. However, the higher density of these installations in urban areas may lead to cumulative effects that require careful consideration. Urban deployments often involve rooftop or building-integrated installations, minimizing new land use but potentially affecting building aesthetics and structural considerations.
Rural installations present different environmental challenges. The typically larger scale of rural deployments may impact local ecosystems, particularly when installed in previously undisturbed areas. Wildlife habitats and migration patterns could be affected, especially for avian species sensitive to electromagnetic fields. However, the lower density of installations in rural settings often means reduced cumulative impact compared to urban deployments.
Energy consumption patterns differ significantly between urban and rural metasurface antenna installations. Urban deployments can often leverage existing power infrastructure, while rural installations may require new power lines or renewable energy solutions, each with its own environmental footprint. The carbon footprint of manufacturing, transporting, and installing these systems must be evaluated alongside operational energy requirements.
Electromagnetic radiation exposure is another critical consideration. While metasurface antennas typically operate within established safety guidelines, the concentration of multiple systems in urban environments may create hotspots of electromagnetic activity. Rural installations, though fewer in number, may introduce electromagnetic fields to previously unexposed ecosystems.
Material lifecycle assessment reveals that metasurface antennas incorporate specialized materials whose extraction, processing, and eventual disposal carry environmental implications. The potential for recycling these components varies, with urban installations benefiting from proximity to recycling facilities while rural installations may face logistical challenges for end-of-life management.
Regulatory compliance frameworks differ between urban and rural contexts, with urban deployments typically subject to stricter aesthetic and electromagnetic emission regulations. Rural installations may face greater scrutiny regarding land use and wildlife protection. A comprehensive environmental impact assessment must address these context-specific regulatory requirements while establishing monitoring protocols to track long-term environmental effects.
Spectrum Allocation Challenges in Diverse Geographical Settings
Spectrum allocation presents unique challenges across different geographical settings, particularly when comparing urban and rural environments for metasurface antenna deployment. In densely populated urban areas, spectrum congestion creates significant interference issues that directly impact metasurface antenna performance. The high concentration of wireless devices, buildings, and electromagnetic noise sources creates a complex propagation environment requiring sophisticated spectrum management strategies.
Urban environments typically face spectrum scarcity due to high user density and diverse service requirements. Metasurface antennas deployed in these settings must contend with limited frequency bands while serving more users per square kilometer. This necessitates advanced spectrum sharing techniques and dynamic allocation mechanisms to maximize efficiency. Additionally, the presence of tall buildings and metallic structures creates multipath propagation effects that can either enhance or degrade metasurface antenna performance depending on their design parameters.
Rural settings present contrasting challenges. While spectrum congestion is generally less severe, coverage becomes the primary concern due to vast geographical areas requiring service. Metasurface antennas in rural deployments must optimize for range rather than capacity, which influences spectrum allocation decisions. Lower frequency bands with superior propagation characteristics are particularly valuable in these settings but are often limited by regulatory constraints and existing allocations.
Geographical terrain variations between urban and rural environments further complicate spectrum allocation. Rural areas with mountains, forests, or large water bodies create natural obstacles that affect signal propagation differently than the artificial structures in urban settings. These differences necessitate location-specific spectrum allocation strategies for metasurface antenna deployments to achieve optimal performance.
Regulatory frameworks also vary significantly between urban and rural deployments. Urban areas often have stricter electromagnetic emission regulations due to population density concerns, while rural areas may have special provisions for extending coverage. These regulatory differences directly impact available spectrum for metasurface antennas and must be considered during system design and deployment planning.
Weather and seasonal variations affect spectrum propagation differently across geographical settings. Rural deployments of metasurface antennas may experience more significant seasonal variations in performance due to changes in foliage density or snow cover, requiring adaptive spectrum allocation strategies that can respond to these environmental changes while maintaining service quality.
Urban environments typically face spectrum scarcity due to high user density and diverse service requirements. Metasurface antennas deployed in these settings must contend with limited frequency bands while serving more users per square kilometer. This necessitates advanced spectrum sharing techniques and dynamic allocation mechanisms to maximize efficiency. Additionally, the presence of tall buildings and metallic structures creates multipath propagation effects that can either enhance or degrade metasurface antenna performance depending on their design parameters.
Rural settings present contrasting challenges. While spectrum congestion is generally less severe, coverage becomes the primary concern due to vast geographical areas requiring service. Metasurface antennas in rural deployments must optimize for range rather than capacity, which influences spectrum allocation decisions. Lower frequency bands with superior propagation characteristics are particularly valuable in these settings but are often limited by regulatory constraints and existing allocations.
Geographical terrain variations between urban and rural environments further complicate spectrum allocation. Rural areas with mountains, forests, or large water bodies create natural obstacles that affect signal propagation differently than the artificial structures in urban settings. These differences necessitate location-specific spectrum allocation strategies for metasurface antenna deployments to achieve optimal performance.
Regulatory frameworks also vary significantly between urban and rural deployments. Urban areas often have stricter electromagnetic emission regulations due to population density concerns, while rural areas may have special provisions for extending coverage. These regulatory differences directly impact available spectrum for metasurface antennas and must be considered during system design and deployment planning.
Weather and seasonal variations affect spectrum propagation differently across geographical settings. Rural deployments of metasurface antennas may experience more significant seasonal variations in performance due to changes in foliage density or snow cover, requiring adaptive spectrum allocation strategies that can respond to these environmental changes while maintaining service quality.
Unlock deeper insights with Patsnap Eureka Quick Research — get a full tech report to explore trends and direct your research. Try now!
Generate Your Research Report Instantly with AI Agent
Supercharge your innovation with Patsnap Eureka AI Agent Platform!