Metasurface Antennas: Opportunities and Challenges in Telecommunications
SEP 25, 20259 MIN READ
Generate Your Research Report Instantly with AI Agent
Patsnap Eureka helps you evaluate technical feasibility & market potential.
Metasurface Antenna Evolution and Objectives
Metasurface antennas represent a revolutionary advancement in antenna technology, emerging from the broader field of metamaterials research that gained significant momentum in the early 2000s. These ultra-thin, planar structures manipulate electromagnetic waves through engineered subwavelength elements arranged on a surface, offering unprecedented control over wave propagation characteristics including phase, amplitude, and polarization.
The evolution of metasurface antennas can be traced through several distinct phases. Initially, researchers focused on basic proof-of-concept designs demonstrating fundamental electromagnetic manipulation capabilities. This was followed by a period of rapid theoretical development during 2010-2015, establishing mathematical frameworks and design methodologies. The subsequent phase saw significant improvements in fabrication techniques, enabling more complex and precise metasurface implementations.
Recent developments have been characterized by integration efforts, with metasurface antennas being incorporated into practical telecommunications systems. This evolution has been driven by increasing demands for compact, efficient, and versatile antennas capable of supporting emerging wireless communication standards, particularly in the millimeter-wave and terahertz frequency ranges.
The primary technical objectives for metasurface antenna development center around overcoming fundamental limitations of conventional antenna designs. These include achieving wider bandwidth operation, higher gain, multi-band functionality, and beam-steering capabilities without mechanical components. Additionally, researchers aim to develop metasurfaces with dynamic reconfigurability, allowing real-time adjustment of antenna properties in response to changing communication requirements.
Miniaturization represents another critical objective, with significant efforts directed toward reducing antenna footprint while maintaining or enhancing performance metrics. This is particularly relevant for integration into space-constrained devices such as smartphones, wearables, and IoT sensors. Energy efficiency also remains a paramount concern, with research focused on minimizing insertion losses and maximizing radiation efficiency.
From a manufacturing perspective, key objectives include developing scalable, cost-effective fabrication processes suitable for mass production. Current advanced metasurface designs often require sophisticated nanofabrication techniques that present challenges for commercial deployment. Bridging this gap between laboratory prototypes and commercially viable products represents a significant focus area.
Looking forward, the field is trending toward intelligent metasurface antennas with embedded sensing and computing capabilities, enabling autonomous adaptation to environmental conditions and user requirements. This convergence with artificial intelligence and edge computing technologies promises to revolutionize telecommunications infrastructure, supporting the development of truly smart and responsive wireless networks.
The evolution of metasurface antennas can be traced through several distinct phases. Initially, researchers focused on basic proof-of-concept designs demonstrating fundamental electromagnetic manipulation capabilities. This was followed by a period of rapid theoretical development during 2010-2015, establishing mathematical frameworks and design methodologies. The subsequent phase saw significant improvements in fabrication techniques, enabling more complex and precise metasurface implementations.
Recent developments have been characterized by integration efforts, with metasurface antennas being incorporated into practical telecommunications systems. This evolution has been driven by increasing demands for compact, efficient, and versatile antennas capable of supporting emerging wireless communication standards, particularly in the millimeter-wave and terahertz frequency ranges.
The primary technical objectives for metasurface antenna development center around overcoming fundamental limitations of conventional antenna designs. These include achieving wider bandwidth operation, higher gain, multi-band functionality, and beam-steering capabilities without mechanical components. Additionally, researchers aim to develop metasurfaces with dynamic reconfigurability, allowing real-time adjustment of antenna properties in response to changing communication requirements.
Miniaturization represents another critical objective, with significant efforts directed toward reducing antenna footprint while maintaining or enhancing performance metrics. This is particularly relevant for integration into space-constrained devices such as smartphones, wearables, and IoT sensors. Energy efficiency also remains a paramount concern, with research focused on minimizing insertion losses and maximizing radiation efficiency.
From a manufacturing perspective, key objectives include developing scalable, cost-effective fabrication processes suitable for mass production. Current advanced metasurface designs often require sophisticated nanofabrication techniques that present challenges for commercial deployment. Bridging this gap between laboratory prototypes and commercially viable products represents a significant focus area.
Looking forward, the field is trending toward intelligent metasurface antennas with embedded sensing and computing capabilities, enabling autonomous adaptation to environmental conditions and user requirements. This convergence with artificial intelligence and edge computing technologies promises to revolutionize telecommunications infrastructure, supporting the development of truly smart and responsive wireless networks.
Telecommunications Market Demand Analysis
The telecommunications market is experiencing unprecedented growth driven by the increasing demand for high-speed, reliable, and efficient communication systems. The global telecommunications market was valued at approximately $1.7 trillion in 2022 and is projected to reach $2.5 trillion by 2028, with a compound annual growth rate of 6.2%. This expansion is primarily fueled by the rapid deployment of 5G networks, the Internet of Things (IoT), and the growing need for enhanced mobile broadband services.
Metasurface antennas represent a revolutionary technology that directly addresses several critical market demands in the telecommunications sector. Network operators are actively seeking solutions that can provide higher data rates, increased network capacity, and improved spectral efficiency. According to industry reports, data traffic is doubling approximately every 18 months, creating an urgent need for advanced antenna technologies that can handle this exponential growth.
The miniaturization trend in consumer electronics and telecommunications equipment has created a significant market opportunity for metasurface antennas. Traditional antenna systems often require substantial physical space, limiting their integration into compact devices. Market research indicates that 78% of telecommunications equipment manufacturers are prioritizing size reduction while maintaining or improving performance parameters.
Energy efficiency has become a paramount concern for telecommunications providers, with network operations accounting for approximately 3% of global energy consumption. Metasurface antennas offer potential energy savings through more efficient signal processing and reduced power requirements, aligning with the industry's sustainability goals and regulatory pressures to reduce carbon footprints.
The emerging market for smart cities, autonomous vehicles, and advanced IoT applications is creating demand for antennas capable of beam steering, multi-band operation, and adaptive reconfiguration. Market forecasts suggest that by 2026, over 75 billion IoT devices will be connected worldwide, each requiring reliable wireless connectivity that metasurface antennas could potentially provide.
Telecommunications infrastructure providers are particularly interested in metasurface technology for base station applications, where improved coverage, capacity, and energy efficiency directly translate to operational cost savings. Industry analysts estimate that metasurface-based solutions could reduce infrastructure deployment costs by up to 30% while improving coverage by 40% in challenging environments.
Regional market analysis reveals varying levels of demand, with North America and East Asia leading in metasurface antenna research and potential adoption, driven by their advanced telecommunications infrastructure and significant investments in 5G and beyond-5G technologies. Developing markets in South Asia and Africa represent long-term growth opportunities as they leapfrog to advanced wireless technologies.
Metasurface antennas represent a revolutionary technology that directly addresses several critical market demands in the telecommunications sector. Network operators are actively seeking solutions that can provide higher data rates, increased network capacity, and improved spectral efficiency. According to industry reports, data traffic is doubling approximately every 18 months, creating an urgent need for advanced antenna technologies that can handle this exponential growth.
The miniaturization trend in consumer electronics and telecommunications equipment has created a significant market opportunity for metasurface antennas. Traditional antenna systems often require substantial physical space, limiting their integration into compact devices. Market research indicates that 78% of telecommunications equipment manufacturers are prioritizing size reduction while maintaining or improving performance parameters.
Energy efficiency has become a paramount concern for telecommunications providers, with network operations accounting for approximately 3% of global energy consumption. Metasurface antennas offer potential energy savings through more efficient signal processing and reduced power requirements, aligning with the industry's sustainability goals and regulatory pressures to reduce carbon footprints.
The emerging market for smart cities, autonomous vehicles, and advanced IoT applications is creating demand for antennas capable of beam steering, multi-band operation, and adaptive reconfiguration. Market forecasts suggest that by 2026, over 75 billion IoT devices will be connected worldwide, each requiring reliable wireless connectivity that metasurface antennas could potentially provide.
Telecommunications infrastructure providers are particularly interested in metasurface technology for base station applications, where improved coverage, capacity, and energy efficiency directly translate to operational cost savings. Industry analysts estimate that metasurface-based solutions could reduce infrastructure deployment costs by up to 30% while improving coverage by 40% in challenging environments.
Regional market analysis reveals varying levels of demand, with North America and East Asia leading in metasurface antenna research and potential adoption, driven by their advanced telecommunications infrastructure and significant investments in 5G and beyond-5G technologies. Developing markets in South Asia and Africa represent long-term growth opportunities as they leapfrog to advanced wireless technologies.
Current Metasurface Technology Limitations
Despite the promising potential of metasurface antennas in telecommunications, several significant technological limitations currently impede their widespread commercial deployment. Fabrication precision remains a primary challenge, as metasurfaces require nanoscale features with tolerances of just a few nanometers. Current manufacturing processes struggle to maintain this precision consistently across large-area metasurfaces, resulting in performance degradation and increased production costs.
Bandwidth constraints represent another major limitation. Most metasurface antennas exhibit narrow operational bandwidths, typically less than 10% of their center frequency. This characteristic severely restricts their application in modern telecommunications systems that demand wideband or multi-band operation. Although some broadband designs have emerged, they often come with compromised efficiency or increased complexity.
Power handling capability presents a significant obstacle for high-power telecommunications applications. The nanoscale resonant structures in metasurfaces can experience localized heating and potential breakdown under high power conditions. Current designs typically operate efficiently only at low to moderate power levels, limiting their utility in transmission systems.
Environmental stability poses another critical challenge. Metasurface performance can degrade significantly when exposed to humidity, temperature fluctuations, or mechanical stress. The lack of robust encapsulation techniques that don't interfere with electromagnetic performance has hindered deployment in harsh environments typical of telecommunications infrastructure.
Tunability and reconfigurability remain limited in current implementations. While static metasurfaces have demonstrated impressive capabilities, dynamic control of their electromagnetic properties—essential for adaptive systems—requires integration with active components. Current approaches using varactors, PIN diodes, or MEMS switches introduce losses, complexity, and reliability issues.
Scaling production from laboratory prototypes to commercial volumes presents substantial challenges. Current fabrication methods like electron-beam lithography offer high precision but are prohibitively expensive and time-consuming for mass production. Alternative techniques such as nanoimprint lithography show promise but still face yield and consistency issues.
System integration complexity further limits practical implementation. Metasurface antennas often require specialized feeding networks and control systems that are difficult to integrate with standard RF components. The interface between conventional electronics and metasurface elements introduces losses and impedance matching challenges that degrade overall system performance.
Bandwidth constraints represent another major limitation. Most metasurface antennas exhibit narrow operational bandwidths, typically less than 10% of their center frequency. This characteristic severely restricts their application in modern telecommunications systems that demand wideband or multi-band operation. Although some broadband designs have emerged, they often come with compromised efficiency or increased complexity.
Power handling capability presents a significant obstacle for high-power telecommunications applications. The nanoscale resonant structures in metasurfaces can experience localized heating and potential breakdown under high power conditions. Current designs typically operate efficiently only at low to moderate power levels, limiting their utility in transmission systems.
Environmental stability poses another critical challenge. Metasurface performance can degrade significantly when exposed to humidity, temperature fluctuations, or mechanical stress. The lack of robust encapsulation techniques that don't interfere with electromagnetic performance has hindered deployment in harsh environments typical of telecommunications infrastructure.
Tunability and reconfigurability remain limited in current implementations. While static metasurfaces have demonstrated impressive capabilities, dynamic control of their electromagnetic properties—essential for adaptive systems—requires integration with active components. Current approaches using varactors, PIN diodes, or MEMS switches introduce losses, complexity, and reliability issues.
Scaling production from laboratory prototypes to commercial volumes presents substantial challenges. Current fabrication methods like electron-beam lithography offer high precision but are prohibitively expensive and time-consuming for mass production. Alternative techniques such as nanoimprint lithography show promise but still face yield and consistency issues.
System integration complexity further limits practical implementation. Metasurface antennas often require specialized feeding networks and control systems that are difficult to integrate with standard RF components. The interface between conventional electronics and metasurface elements introduces losses and impedance matching challenges that degrade overall system performance.
Current Metasurface Implementation Solutions
01 Design and structure of metasurface antennas
Metasurface antennas utilize engineered surfaces with sub-wavelength structures to manipulate electromagnetic waves. These designs typically incorporate periodic or quasi-periodic arrays of resonant elements that can control phase, amplitude, and polarization of incident waves. The structural configuration enables enhanced directivity, bandwidth, and radiation efficiency compared to conventional antennas, while maintaining a low profile and reduced physical footprint.- Design and structure of metasurface antennas: Metasurface antennas utilize engineered surfaces with sub-wavelength elements to manipulate electromagnetic waves. These structures can be designed with specific patterns and geometries to achieve desired radiation characteristics, beam steering capabilities, and enhanced bandwidth. The design often incorporates periodic or aperiodic arrangements of resonant elements that collectively control the phase, amplitude, and polarization of electromagnetic waves.
- Frequency reconfigurable metasurface antennas: These antennas incorporate active components or tunable materials that allow for dynamic adjustment of operating frequencies. By integrating switchable elements or tunable materials into the metasurface structure, these antennas can operate across multiple frequency bands or adapt to changing communication requirements. This reconfigurability enables versatile applications in modern communication systems where spectrum efficiency is crucial.
- Beam steering and directional control in metasurface antennas: Metasurface antennas can achieve dynamic beam steering and directional control without mechanical movement. By manipulating the phase gradient across the metasurface through electronic control of individual elements, these antennas can direct electromagnetic radiation in specific directions. This capability enables applications in radar systems, satellite communications, and 5G/6G networks where precise beam control is essential.
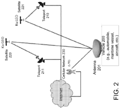
- Integration of metasurface antennas in communication systems: Metasurface antennas can be integrated into various communication platforms including mobile devices, base stations, and satellite systems. Their compact form factor and planar geometry make them suitable for integration with existing electronic systems. These antennas can be designed to work with MIMO configurations, enabling higher data throughput and improved signal quality in modern wireless communication networks.
- Manufacturing techniques for metasurface antennas: Advanced fabrication methods are employed to create metasurface antennas with precise sub-wavelength features. These include photolithography, electron beam lithography, 3D printing, and other microfabrication techniques. The manufacturing process often involves depositing thin metallic layers on dielectric substrates and creating intricate patterns that function as electromagnetic resonators. Novel materials such as graphene and liquid crystals are also being explored to enhance the performance and functionality of metasurface antennas.
02 Frequency manipulation and multi-band operation
Metasurface antennas can be designed to operate across multiple frequency bands simultaneously or to dynamically tune their operating frequency. By incorporating specific resonant elements and geometrical patterns, these antennas can achieve frequency selective surfaces, wideband operation, or reconfigurable frequency responses. This capability makes them particularly valuable for applications requiring operation across diverse frequency ranges or adaptive spectrum utilization.Expand Specific Solutions03 Beam steering and radiation pattern control
Advanced metasurface antennas incorporate mechanisms for dynamic beam steering and radiation pattern control. By integrating active components or reconfigurable elements, these antennas can electronically manipulate the phase distribution across the metasurface, enabling beam scanning, focusing, or pattern shaping without mechanical movement. This functionality is crucial for applications in radar systems, satellite communications, and wireless networks where adaptive coverage is required.Expand Specific Solutions04 Integration with communication systems and devices
Metasurface antennas are increasingly being integrated into modern communication systems and devices. Their compact form factor and superior performance characteristics make them suitable for integration in smartphones, IoT devices, base stations, and satellite systems. These antennas can be designed to work with specific communication protocols and standards, enhancing signal quality, coverage, and data throughput while minimizing interference in crowded electromagnetic environments.Expand Specific Solutions05 Fabrication techniques and materials for metasurface antennas
Various fabrication techniques and materials are employed in creating metasurface antennas with desired electromagnetic properties. These include photolithography, 3D printing, printed circuit board technology, and nanofabrication methods. Advanced materials such as liquid crystals, phase-change materials, graphene, and other 2D materials are being explored to create tunable and responsive metasurfaces. The choice of fabrication method and materials significantly impacts the antenna's performance, cost, and suitability for mass production.Expand Specific Solutions
Critical Patents and Research Breakthroughs
Active metasurface architectures
PatentWO2024127193A1
Innovation
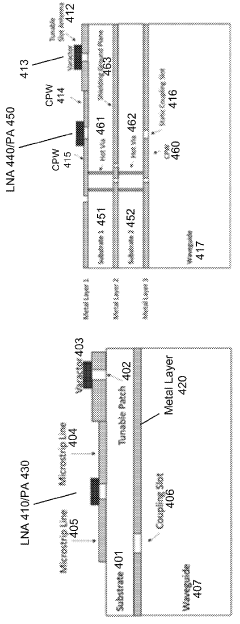
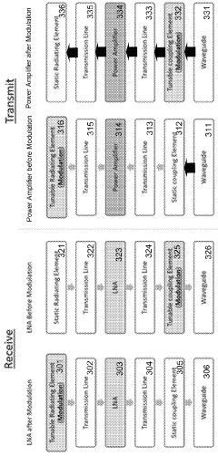
- Incorporating low noise amplifiers (LNAs) and power amplifiers (PAs) into the metasurface to amplify signals closer to the radiating elements, distributing power and heat more evenly, and replacing central amplifiers with distributed arrays for reduced size and cost.
Active metasurface architectures
PatentPendingUS20240195084A1
Innovation
- Incorporating low noise amplifiers (LNAs) and power amplifiers (PAs) into the metasurface to amplify signals closer to the radiating elements, distributing amplification to reduce heat and loss, and integrating tunable devices for beamforming and phase adjustments.
Spectrum Regulation Impact Assessment
The regulatory landscape for spectrum allocation significantly impacts the development and deployment of metasurface antenna technologies in telecommunications. Current spectrum regulations were largely established before the emergence of metasurface technologies, creating potential barriers to innovation. Regulatory bodies worldwide, including the Federal Communications Commission (FCC), European Conference of Postal and Telecommunications Administrations (CEPT), and International Telecommunication Union (ITU), are gradually recognizing the need to adapt policies to accommodate these advanced antenna systems.
Metasurface antennas present unique regulatory challenges due to their ability to dynamically reconfigure radiation patterns and operate across multiple frequency bands simultaneously. Traditional spectrum allocation frameworks, which typically assign fixed frequency bands to specific applications, may not adequately address the fluid operational characteristics of metasurface technologies. This misalignment could potentially limit the full exploitation of metasurface capabilities in commercial telecommunications applications.
Recent regulatory developments show promising trends toward more flexible spectrum management approaches. For instance, the concept of "spectrum sharing" has gained traction, allowing multiple users to access the same frequency bands under specific conditions. This approach could particularly benefit metasurface antenna implementations, which excel at spatial filtering and interference mitigation. Additionally, several countries have begun establishing "innovation zones" where experimental wireless technologies can operate under relaxed regulatory constraints for testing purposes.
The economic implications of spectrum regulation on metasurface antenna adoption are substantial. Current licensing costs for premium spectrum bands represent significant investment barriers for new market entrants. A more accommodating regulatory framework could potentially accelerate market penetration of metasurface-based solutions, particularly in underserved areas where traditional infrastructure deployment remains economically challenging.
From a technical compliance perspective, metasurface antennas must meet existing electromagnetic emission standards and safety regulations. Their unique operational characteristics, including dynamic beam steering and frequency agility, present novel challenges for certification processes. Regulatory bodies will need to develop new testing methodologies and compliance frameworks specifically tailored to these advanced antenna systems.
Looking forward, international harmonization of spectrum regulations will be crucial for the global adoption of metasurface antenna technologies. Divergent regional approaches could fragment the market and increase development costs. Industry stakeholders are increasingly advocating for coordinated regulatory approaches that balance innovation enablement with necessary protections against harmful interference.
Metasurface antennas present unique regulatory challenges due to their ability to dynamically reconfigure radiation patterns and operate across multiple frequency bands simultaneously. Traditional spectrum allocation frameworks, which typically assign fixed frequency bands to specific applications, may not adequately address the fluid operational characteristics of metasurface technologies. This misalignment could potentially limit the full exploitation of metasurface capabilities in commercial telecommunications applications.
Recent regulatory developments show promising trends toward more flexible spectrum management approaches. For instance, the concept of "spectrum sharing" has gained traction, allowing multiple users to access the same frequency bands under specific conditions. This approach could particularly benefit metasurface antenna implementations, which excel at spatial filtering and interference mitigation. Additionally, several countries have begun establishing "innovation zones" where experimental wireless technologies can operate under relaxed regulatory constraints for testing purposes.
The economic implications of spectrum regulation on metasurface antenna adoption are substantial. Current licensing costs for premium spectrum bands represent significant investment barriers for new market entrants. A more accommodating regulatory framework could potentially accelerate market penetration of metasurface-based solutions, particularly in underserved areas where traditional infrastructure deployment remains economically challenging.
From a technical compliance perspective, metasurface antennas must meet existing electromagnetic emission standards and safety regulations. Their unique operational characteristics, including dynamic beam steering and frequency agility, present novel challenges for certification processes. Regulatory bodies will need to develop new testing methodologies and compliance frameworks specifically tailored to these advanced antenna systems.
Looking forward, international harmonization of spectrum regulations will be crucial for the global adoption of metasurface antenna technologies. Divergent regional approaches could fragment the market and increase development costs. Industry stakeholders are increasingly advocating for coordinated regulatory approaches that balance innovation enablement with necessary protections against harmful interference.
Manufacturing Scalability Considerations
The scalability of manufacturing processes represents a critical factor in the commercial viability of metasurface antennas for telecommunications applications. Current fabrication methods predominantly rely on cleanroom-based techniques such as electron beam lithography and photolithography, which offer exceptional precision but present significant challenges for mass production. These processes typically involve high equipment costs, lengthy production cycles, and limited throughput capabilities, creating substantial barriers to widespread adoption.
Traditional semiconductor manufacturing infrastructure provides some pathways for scaling metasurface production, particularly for designs operating at higher frequencies where feature sizes align with existing fabrication capabilities. However, the complex three-dimensional structures and precise material requirements of advanced metasurface designs often exceed the capabilities of standard manufacturing processes, necessitating specialized approaches.
Emerging manufacturing technologies show promising potential for addressing these scalability challenges. Roll-to-roll nanoimprint lithography enables continuous production of metasurfaces on flexible substrates, potentially reducing unit costs by orders of magnitude compared to batch processes. Similarly, direct laser writing techniques offer versatility for rapid prototyping and small-batch production, though throughput limitations persist for large-scale manufacturing.
Material considerations further complicate manufacturing scalability. Many high-performance metasurface designs incorporate exotic materials or precise multi-layer structures that require specialized deposition techniques and tight quality control. The telecommunications industry's stringent reliability requirements necessitate consistent performance across thousands or millions of units, demanding manufacturing processes with exceptional repeatability and yield rates.
Cost modeling analyses indicate that current metasurface antenna manufacturing approaches result in prohibitively high unit costs for mass-market telecommunications applications. Industry estimates suggest that a 10-100x reduction in production costs would be necessary to enable widespread deployment in consumer devices. This cost gap underscores the need for fundamental innovations in manufacturing technology rather than incremental improvements to existing processes.
Strategic partnerships between academic institutions, specialized fabrication facilities, and telecommunications equipment manufacturers have emerged as a potential pathway to address these manufacturing challenges. These collaborations aim to develop specialized production techniques that balance the precision requirements of metasurface designs with the throughput demands of commercial telecommunications applications.
Traditional semiconductor manufacturing infrastructure provides some pathways for scaling metasurface production, particularly for designs operating at higher frequencies where feature sizes align with existing fabrication capabilities. However, the complex three-dimensional structures and precise material requirements of advanced metasurface designs often exceed the capabilities of standard manufacturing processes, necessitating specialized approaches.
Emerging manufacturing technologies show promising potential for addressing these scalability challenges. Roll-to-roll nanoimprint lithography enables continuous production of metasurfaces on flexible substrates, potentially reducing unit costs by orders of magnitude compared to batch processes. Similarly, direct laser writing techniques offer versatility for rapid prototyping and small-batch production, though throughput limitations persist for large-scale manufacturing.
Material considerations further complicate manufacturing scalability. Many high-performance metasurface designs incorporate exotic materials or precise multi-layer structures that require specialized deposition techniques and tight quality control. The telecommunications industry's stringent reliability requirements necessitate consistent performance across thousands or millions of units, demanding manufacturing processes with exceptional repeatability and yield rates.
Cost modeling analyses indicate that current metasurface antenna manufacturing approaches result in prohibitively high unit costs for mass-market telecommunications applications. Industry estimates suggest that a 10-100x reduction in production costs would be necessary to enable widespread deployment in consumer devices. This cost gap underscores the need for fundamental innovations in manufacturing technology rather than incremental improvements to existing processes.
Strategic partnerships between academic institutions, specialized fabrication facilities, and telecommunications equipment manufacturers have emerged as a potential pathway to address these manufacturing challenges. These collaborations aim to develop specialized production techniques that balance the precision requirements of metasurface designs with the throughput demands of commercial telecommunications applications.
Unlock deeper insights with Patsnap Eureka Quick Research — get a full tech report to explore trends and direct your research. Try now!
Generate Your Research Report Instantly with AI Agent
Supercharge your innovation with Patsnap Eureka AI Agent Platform!