Exploring Variable Geometry in Metasurface Antenna Arrays
SEP 25, 202510 MIN READ
Generate Your Research Report Instantly with AI Agent
PatSnap Eureka helps you evaluate technical feasibility & market potential.
Metasurface Antenna Evolution and Research Objectives
Metasurface antennas represent a revolutionary advancement in electromagnetic wave manipulation, evolving from traditional antenna designs to highly sophisticated structures capable of unprecedented control over electromagnetic wavefronts. The development trajectory began with conventional antennas in the early 20th century, progressing through phased arrays and metamaterials, before culminating in today's metasurface technology. This evolution has been driven by increasing demands for miniaturization, bandwidth efficiency, and multifunctionality in modern communication systems.
The fundamental breakthrough enabling metasurface antennas came with the theoretical understanding of Huygens' principle at the nanoscale, allowing engineers to design surfaces that can precisely control phase, amplitude, and polarization of electromagnetic waves. Early metasurfaces consisted of static elements with fixed geometrical parameters, limiting their application to single, predetermined functions.
Recent advancements have focused on introducing tunability and reconfigurability, with variable geometry emerging as a particularly promising approach. Variable geometry in metasurface antenna arrays refers to the dynamic modification of the structural parameters of meta-atoms or their spatial arrangement to achieve adaptive functionality. This represents a significant departure from conventional fixed-geometry designs and opens new possibilities for adaptive beamforming, frequency agility, and multi-band operation.
The primary research objectives in this field center on developing metasurface antenna arrays with dynamically variable geometry that can respond to changing operational requirements in real-time. Specific goals include achieving wide-angle beam steering (>±60°) with minimal pattern degradation, enabling continuous frequency tuning across broad bandwidths (>30% fractional bandwidth), and maintaining high radiation efficiency (>80%) throughout the reconfiguration process.
Additionally, researchers aim to develop low-power actuation mechanisms for geometry variation, with power consumption targets below 100mW per reconfigurable element. Integration challenges with existing RF systems and miniaturization to support implementation in space-constrained applications like smartphones and IoT devices represent further critical objectives.
From a theoretical perspective, the field seeks to establish comprehensive analytical frameworks that can accurately predict the electromagnetic behavior of variable-geometry metasurfaces, enabling more efficient design processes and optimization strategies. This includes developing multiphysics models that account for electromagnetic, mechanical, and thermal interactions within these complex systems.
The ultimate vision is to create intelligent metasurface antenna arrays with self-optimizing capabilities, able to autonomously adapt their geometry based on environmental conditions and communication requirements, potentially revolutionizing wireless communication, sensing, and imaging technologies across multiple industries.
The fundamental breakthrough enabling metasurface antennas came with the theoretical understanding of Huygens' principle at the nanoscale, allowing engineers to design surfaces that can precisely control phase, amplitude, and polarization of electromagnetic waves. Early metasurfaces consisted of static elements with fixed geometrical parameters, limiting their application to single, predetermined functions.
Recent advancements have focused on introducing tunability and reconfigurability, with variable geometry emerging as a particularly promising approach. Variable geometry in metasurface antenna arrays refers to the dynamic modification of the structural parameters of meta-atoms or their spatial arrangement to achieve adaptive functionality. This represents a significant departure from conventional fixed-geometry designs and opens new possibilities for adaptive beamforming, frequency agility, and multi-band operation.
The primary research objectives in this field center on developing metasurface antenna arrays with dynamically variable geometry that can respond to changing operational requirements in real-time. Specific goals include achieving wide-angle beam steering (>±60°) with minimal pattern degradation, enabling continuous frequency tuning across broad bandwidths (>30% fractional bandwidth), and maintaining high radiation efficiency (>80%) throughout the reconfiguration process.
Additionally, researchers aim to develop low-power actuation mechanisms for geometry variation, with power consumption targets below 100mW per reconfigurable element. Integration challenges with existing RF systems and miniaturization to support implementation in space-constrained applications like smartphones and IoT devices represent further critical objectives.
From a theoretical perspective, the field seeks to establish comprehensive analytical frameworks that can accurately predict the electromagnetic behavior of variable-geometry metasurfaces, enabling more efficient design processes and optimization strategies. This includes developing multiphysics models that account for electromagnetic, mechanical, and thermal interactions within these complex systems.
The ultimate vision is to create intelligent metasurface antenna arrays with self-optimizing capabilities, able to autonomously adapt their geometry based on environmental conditions and communication requirements, potentially revolutionizing wireless communication, sensing, and imaging technologies across multiple industries.
Market Applications and Demand Analysis for Variable Geometry Arrays
The variable geometry metasurface antenna arrays market is experiencing significant growth driven by the increasing demand for advanced communication systems across multiple sectors. The global market for reconfigurable intelligent surfaces, including variable geometry arrays, is projected to reach $1.2 billion by 2028, with a compound annual growth rate of 23.5% from 2023. This growth is primarily fueled by the rapid expansion of 5G and upcoming 6G networks, which require more sophisticated antenna solutions capable of dynamic beam steering and adaptive coverage.
The defense and aerospace sectors represent the largest market segment, accounting for approximately 38% of the total market share. Military applications demand highly adaptable antenna systems that can maintain connectivity in challenging environments while minimizing detection. Variable geometry arrays offer significant advantages in electronic warfare, radar systems, and secure communications, providing enhanced directivity and reduced radar cross-section.
Telecommunications represents the second-largest market segment with 31% market share. Network operators are increasingly investing in smart antenna technologies to optimize coverage in dense urban environments and reduce infrastructure costs. The ability of variable geometry arrays to dynamically reconfigure their radiation patterns allows for more efficient spectrum utilization and improved network capacity, addressing key challenges in modern cellular networks.
The automotive industry is emerging as a rapidly growing market for this technology, particularly with the advancement of autonomous vehicles. These systems require reliable, high-bandwidth communications that can adapt to changing environments and vehicle orientations. Variable geometry arrays can provide consistent connectivity regardless of vehicle position or surrounding obstacles, making them ideal for vehicle-to-everything (V2X) communication systems.
Consumer electronics manufacturers are also showing increased interest in compact, reconfigurable antenna solutions for next-generation devices. The miniaturization capabilities of metasurface technology make it particularly suitable for integration into smartphones, wearables, and IoT devices where space is limited but connectivity requirements are demanding.
Geographically, North America leads the market with 42% share, followed by Asia-Pacific at 31% and Europe at 22%. China and South Korea are making substantial investments in this technology, particularly for 5G and 6G infrastructure development. The market is characterized by a growing number of research partnerships between academic institutions and industry players, indicating strong innovation potential and future growth opportunities.
Customer requirements across these markets consistently emphasize reconfigurability, energy efficiency, and integration capabilities. End-users are particularly interested in solutions that can be remotely controlled and updated, offering future-proof performance as communication standards evolve.
The defense and aerospace sectors represent the largest market segment, accounting for approximately 38% of the total market share. Military applications demand highly adaptable antenna systems that can maintain connectivity in challenging environments while minimizing detection. Variable geometry arrays offer significant advantages in electronic warfare, radar systems, and secure communications, providing enhanced directivity and reduced radar cross-section.
Telecommunications represents the second-largest market segment with 31% market share. Network operators are increasingly investing in smart antenna technologies to optimize coverage in dense urban environments and reduce infrastructure costs. The ability of variable geometry arrays to dynamically reconfigure their radiation patterns allows for more efficient spectrum utilization and improved network capacity, addressing key challenges in modern cellular networks.
The automotive industry is emerging as a rapidly growing market for this technology, particularly with the advancement of autonomous vehicles. These systems require reliable, high-bandwidth communications that can adapt to changing environments and vehicle orientations. Variable geometry arrays can provide consistent connectivity regardless of vehicle position or surrounding obstacles, making them ideal for vehicle-to-everything (V2X) communication systems.
Consumer electronics manufacturers are also showing increased interest in compact, reconfigurable antenna solutions for next-generation devices. The miniaturization capabilities of metasurface technology make it particularly suitable for integration into smartphones, wearables, and IoT devices where space is limited but connectivity requirements are demanding.
Geographically, North America leads the market with 42% share, followed by Asia-Pacific at 31% and Europe at 22%. China and South Korea are making substantial investments in this technology, particularly for 5G and 6G infrastructure development. The market is characterized by a growing number of research partnerships between academic institutions and industry players, indicating strong innovation potential and future growth opportunities.
Customer requirements across these markets consistently emphasize reconfigurability, energy efficiency, and integration capabilities. End-users are particularly interested in solutions that can be remotely controlled and updated, offering future-proof performance as communication standards evolve.
Technical Challenges in Metasurface Antenna Implementation
Despite the promising potential of metasurface antennas, their practical implementation faces several significant technical challenges. The miniaturization of unit cells to sub-wavelength dimensions creates fabrication difficulties, particularly when working at higher frequencies where manufacturing tolerances become increasingly critical. Current fabrication techniques struggle to consistently produce the precise geometric features required for optimal performance, resulting in variations that can significantly impact radiation patterns and efficiency.
Material selection presents another substantial challenge. The ideal materials for metasurface antennas must exhibit specific electromagnetic properties while remaining compatible with existing manufacturing processes. Finding materials that maintain consistent properties across varying environmental conditions (temperature, humidity) while offering the necessary electromagnetic characteristics remains difficult. Additionally, many high-performance materials are expensive or difficult to process at scale.
The design complexity of variable geometry metasurface antenna arrays introduces computational challenges. Modeling the electromagnetic behavior of these structures requires sophisticated simulation tools and significant computational resources. The multi-physics nature of the problem—combining electromagnetic, thermal, and mechanical considerations—further complicates the design process. Current simulation tools often struggle to accurately predict real-world performance, creating a gap between theoretical designs and practical implementations.
Integration challenges arise when incorporating metasurface antennas into existing systems. Interface issues between the metasurface and conventional RF components can create impedance mismatches and signal degradation. The compact nature of these antennas also creates thermal management concerns, as heat dissipation becomes more difficult in densely packed arrays.
Tunable or reconfigurable metasurface antennas face additional challenges related to actuation mechanisms. Implementing reliable, precise, and energy-efficient methods to dynamically alter the geometry or electromagnetic properties of metasurface elements remains technically demanding. Current approaches using MEMS, liquid crystals, or phase-change materials each have limitations in switching speed, power consumption, or reliability.
Testing and characterization of metasurface antennas present unique difficulties. Standard antenna measurement techniques may not adequately capture the complex near-field interactions that are critical to metasurface performance. Developing specialized measurement protocols and equipment for accurate characterization adds another layer of complexity to the implementation process.
Finally, scalability and cost-effectiveness remain significant hurdles. While laboratory demonstrations have shown impressive results, transitioning these designs to mass production while maintaining performance and keeping costs competitive requires substantial engineering effort and may necessitate new manufacturing approaches.
Material selection presents another substantial challenge. The ideal materials for metasurface antennas must exhibit specific electromagnetic properties while remaining compatible with existing manufacturing processes. Finding materials that maintain consistent properties across varying environmental conditions (temperature, humidity) while offering the necessary electromagnetic characteristics remains difficult. Additionally, many high-performance materials are expensive or difficult to process at scale.
The design complexity of variable geometry metasurface antenna arrays introduces computational challenges. Modeling the electromagnetic behavior of these structures requires sophisticated simulation tools and significant computational resources. The multi-physics nature of the problem—combining electromagnetic, thermal, and mechanical considerations—further complicates the design process. Current simulation tools often struggle to accurately predict real-world performance, creating a gap between theoretical designs and practical implementations.
Integration challenges arise when incorporating metasurface antennas into existing systems. Interface issues between the metasurface and conventional RF components can create impedance mismatches and signal degradation. The compact nature of these antennas also creates thermal management concerns, as heat dissipation becomes more difficult in densely packed arrays.
Tunable or reconfigurable metasurface antennas face additional challenges related to actuation mechanisms. Implementing reliable, precise, and energy-efficient methods to dynamically alter the geometry or electromagnetic properties of metasurface elements remains technically demanding. Current approaches using MEMS, liquid crystals, or phase-change materials each have limitations in switching speed, power consumption, or reliability.
Testing and characterization of metasurface antennas present unique difficulties. Standard antenna measurement techniques may not adequately capture the complex near-field interactions that are critical to metasurface performance. Developing specialized measurement protocols and equipment for accurate characterization adds another layer of complexity to the implementation process.
Finally, scalability and cost-effectiveness remain significant hurdles. While laboratory demonstrations have shown impressive results, transitioning these designs to mass production while maintaining performance and keeping costs competitive requires substantial engineering effort and may necessitate new manufacturing approaches.
Current Variable Geometry Implementation Approaches
01 Reconfigurable metasurface antenna arrays
Metasurface antenna arrays that can dynamically change their geometry to adapt to different operational requirements. These systems incorporate tunable elements that allow for real-time adjustment of radiation patterns, beam direction, and frequency response. The reconfigurability is achieved through various mechanisms such as mechanical actuation, electronic switching, or phase-change materials that modify the electromagnetic properties of the metasurface elements.- Reconfigurable metasurface antenna arrays: Metasurface antenna arrays can be designed with reconfigurable elements that allow for dynamic adjustment of their geometry. These systems incorporate active components such as MEMS switches, varactors, or PIN diodes to modify the electromagnetic properties of the metasurface in real-time. By changing the geometry configuration, these antennas can achieve beam steering, frequency tuning, and polarization control without mechanical movement, making them suitable for adaptive communication systems and radar applications.
- Variable geometry metasurfaces for beam forming: Variable geometry in metasurface antenna arrays enables sophisticated beam forming capabilities. By adjusting the spatial arrangement, orientation, or shape of the metasurface elements, the radiation pattern can be precisely controlled. This approach allows for directed energy transmission, multiple beam generation, and adaptive coverage patterns. The variable geometry can be implemented through mechanical reconfiguration, electrical tuning, or hybrid approaches that optimize performance for specific communication scenarios and environmental conditions.
- Tunable metasurface elements for frequency agility: Metasurface antenna arrays with variable geometry incorporate tunable elements that enable frequency agility. By modifying the physical dimensions or electromagnetic properties of individual resonators, the operating frequency range can be dynamically adjusted. This capability allows a single antenna system to operate across multiple frequency bands, adapt to changing spectrum availability, and mitigate interference. The tuning mechanisms may include variable capacitors, switchable components, or materials with adjustable electromagnetic properties.
- Metamaterial-based variable geometry for enhanced performance: Advanced metamaterial structures enable variable geometry designs that significantly enhance antenna performance metrics. These engineered materials with unusual electromagnetic properties allow for miniaturization while maintaining high gain and efficiency. By incorporating metamaterial elements with adjustable properties, the antenna arrays can achieve wider bandwidth, improved impedance matching, and reduced mutual coupling between elements. This approach enables compact form factors with performance characteristics that exceed conventional antenna designs.
- Fabrication and integration techniques for variable geometry metasurfaces: Advanced fabrication and integration techniques enable practical implementation of metasurface antenna arrays with variable geometry. These include microfabrication processes, 3D printing, MEMS technology, and flexible substrate integration. The manufacturing approaches allow for precise control of geometric parameters at various scales, from nanometers to millimeters. Integration strategies address challenges of connecting control circuitry with the variable elements while maintaining RF performance, resulting in compact, reliable systems suitable for deployment in various applications from satellite communications to wearable devices.
02 Variable geometry metasurfaces for beam steering
Metasurface antenna arrays with variable geometry designed specifically for beam steering applications. By dynamically altering the spatial arrangement or electromagnetic properties of the metasurface elements, these systems can direct the radiated beam in different directions without physically moving the antenna. This technology enables advanced radar systems, satellite communications, and wireless networks with enhanced directional capabilities and coverage optimization.Expand Specific Solutions03 Tunable metasurface elements for frequency agility
Metasurface antenna arrays incorporating tunable elements that enable operation across multiple frequency bands. The variable geometry of these elements allows for dynamic adjustment of resonant frequencies and bandwidth characteristics. This frequency agility is achieved through techniques such as varactor diodes, MEMS switches, or other tunable components integrated into the metasurface structure, enabling multi-band operation from a single antenna array.Expand Specific Solutions04 Metamaterial-based adaptive antenna arrays
Advanced antenna arrays that utilize metamaterial principles with variable geometry to create adaptive radiation characteristics. These systems combine the unique electromagnetic properties of metamaterials with dynamic reconfigurability to achieve performance characteristics not possible with conventional antennas. Applications include enhanced signal-to-noise ratio in challenging environments, reduced interference, and improved spectral efficiency for communication systems.Expand Specific Solutions05 Fabrication and integration techniques for variable geometry metasurfaces
Manufacturing methods and integration approaches for creating metasurface antenna arrays with variable geometry. These techniques address challenges in fabricating complex metasurface structures that can change their configuration while maintaining performance. Approaches include microfabrication processes, 3D printing of electromagnetic structures, integration with control circuitry, and packaging solutions that enable practical deployment in various applications including mobile devices, aerospace systems, and IoT networks.Expand Specific Solutions
Industry Leaders and Research Institutions in Metasurface Development
The variable geometry metasurface antenna array field is currently in an early growth phase, characterized by significant academic research alongside emerging commercial applications. The market is expanding rapidly with projections to reach substantial scale as 5G/6G communications, radar systems, and satellite communications drive demand. Leading academic institutions including Xidian University, Duke University, and California Institute of Technology are advancing fundamental research, while commercial players like Samsung Electronics, Kymeta Corp., and Huawei Technologies are developing practical applications. Government entities such as the Naval Research Laboratory and European Space Agency provide additional research support. The technology is approaching commercial maturity with several companies transitioning from prototype to production phases, though challenges in manufacturing scalability and cost-effectiveness remain.
Kymeta Corp.
Technical Solution: Kymeta's variable geometry metasurface antenna technology employs electronically reconfigurable metamaterial elements to create dynamic beam steering capabilities without mechanical parts. Their proprietary holographic beamforming approach uses liquid crystal-based tunable elements integrated into a planar array structure, allowing for real-time adjustment of the electromagnetic properties of each unit cell. This enables the antenna to dynamically modify its radiation pattern by electronically controlling the phase and amplitude of the reflected or transmitted waves. Kymeta's u8 terminal specifically incorporates this technology to establish and maintain satellite connections with low earth orbit (LEO) and geostationary (GEO) satellites, achieving scanning angles of ±70° with high gain performance across Ku-band frequencies[1][2]. The system utilizes sophisticated algorithms to optimize the metasurface configuration based on signal quality metrics and desired beam characteristics.
Strengths: Eliminates moving parts for increased reliability and reduced maintenance; compact form factor suitable for mobile applications; software-defined operation allows for rapid adaptation to changing communication requirements. Weaknesses: Higher power consumption compared to passive arrays; complexity in manufacturing the tunable elements at scale; performance limitations in extreme environmental conditions.
Naval Research Laboratory
Technical Solution: The Naval Research Laboratory (NRL) has developed a sophisticated variable geometry metasurface antenna array system that leverages phase-change materials (PCMs) for dynamic reconfiguration. Their approach incorporates vanadium dioxide (VO2) and germanium-antimony-tellurium (GST) materials that undergo significant changes in electromagnetic properties when subjected to thermal or electrical stimuli. This enables the creation of metasurface elements with switchable resonance characteristics without the need for complex biasing networks. NRL's implementation features a multilayer architecture where PCM-based resonators are strategically distributed across the metasurface to achieve precise control over the amplitude and phase response at each unit cell. The system demonstrates beam steering capabilities with angular coverage of ±65° while maintaining high radiation efficiency. A notable aspect of NRL's technology is its ability to operate effectively in harsh environments, including high-radiation scenarios and extreme temperature conditions, making it particularly suitable for military applications[7][8]. Their design also incorporates advanced thermal management solutions to address the heat dissipation challenges associated with PCM-based reconfiguration, ensuring stable and reliable operation during extended use.
Strengths: Exceptional resilience to harsh environmental conditions; reduced complexity in control circuitry compared to semiconductor-based solutions; potential for very low power consumption in latching configurations. Weaknesses: Slower switching speeds compared to electronic reconfiguration methods; challenges in achieving precise intermediate states in some PCM implementations; thermal management requirements can increase system complexity.
Key Patents and Breakthroughs in Metasurface Array Design
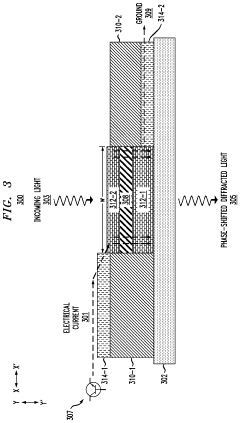
Variable metasurface antenna structures
PatentWO2020244743A1
Innovation
- A metasurface antenna with a patterned impedance surface and an engageable structure that transitions between states, altering the electric length of the transverse transmission line to modify the beam pattern without changing the impedance surface, allowing for controlled beam scanning and shaping with a limited number of control points.
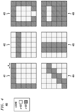
Reconfigurable metasurface with tunable antennas formed from arrays of pixels of an optically tunable material
PatentActiveUS20210048693A1
Innovation
- The development of reconfigurable metasurfaces using arrays of pixels made from optically tunable materials, such as phase-change materials, where a control circuit adjusts the reflectivity of pixels by modifying their states through current supply, allowing for dynamic reconfiguration of antenna shapes, including rotation, to achieve desired interference effects.
Fabrication Techniques and Material Science Considerations
The fabrication of variable geometry metasurface antenna arrays presents unique challenges that require advanced manufacturing techniques and careful material selection. Traditional photolithography methods, while precise, often struggle with the complex three-dimensional structures required for variable geometry implementations. Recent advancements in direct laser writing and two-photon polymerization have emerged as promising alternatives, enabling the creation of intricate metasurface structures with sub-wavelength precision at optical frequencies.
Electron beam lithography (EBL) remains essential for creating metasurfaces operating at higher frequencies, offering nanometer-scale resolution crucial for terahertz and optical applications. However, its serial nature limits throughput for large-area production. Nanoimprint lithography presents a scalable alternative, allowing for cost-effective replication of metasurface patterns while maintaining nanoscale precision.
Material selection significantly impacts metasurface performance characteristics. Noble metals like gold and silver offer excellent plasmonic properties but present oxidation and adhesion challenges. Alternative plasmonic materials such as titanium nitride and transparent conducting oxides (TCOs) demonstrate improved thermal stability and compatibility with CMOS fabrication processes, making them attractive for integrated applications.
Dielectric metasurfaces utilizing high-index materials like silicon, germanium, and titanium dioxide have gained prominence due to their lower losses compared to metallic counterparts. These materials enable higher efficiency resonant structures through Mie resonances rather than plasmonic effects. Phase-change materials like germanium-antimony-tellurium (GST) compounds offer tunable optical properties through reversible structural transitions, enabling dynamic reconfiguration of metasurface properties.
Substrate selection presents another critical consideration, with flexible substrates like polyimide enabling conformal applications but introducing challenges in maintaining geometric precision. Recent research has explored heterogeneous integration techniques that combine different material systems to leverage their complementary properties, such as integrating III-V semiconductors with silicon platforms.
Additive manufacturing techniques, particularly 3D printing with nanoscale resolution, are revolutionizing metasurface fabrication by enabling truly three-dimensional variable geometries previously unattainable. These approaches allow for gradient index structures and complex spatial arrangements that can significantly enhance the functionality of metasurface antenna arrays.
Electron beam lithography (EBL) remains essential for creating metasurfaces operating at higher frequencies, offering nanometer-scale resolution crucial for terahertz and optical applications. However, its serial nature limits throughput for large-area production. Nanoimprint lithography presents a scalable alternative, allowing for cost-effective replication of metasurface patterns while maintaining nanoscale precision.
Material selection significantly impacts metasurface performance characteristics. Noble metals like gold and silver offer excellent plasmonic properties but present oxidation and adhesion challenges. Alternative plasmonic materials such as titanium nitride and transparent conducting oxides (TCOs) demonstrate improved thermal stability and compatibility with CMOS fabrication processes, making them attractive for integrated applications.
Dielectric metasurfaces utilizing high-index materials like silicon, germanium, and titanium dioxide have gained prominence due to their lower losses compared to metallic counterparts. These materials enable higher efficiency resonant structures through Mie resonances rather than plasmonic effects. Phase-change materials like germanium-antimony-tellurium (GST) compounds offer tunable optical properties through reversible structural transitions, enabling dynamic reconfiguration of metasurface properties.
Substrate selection presents another critical consideration, with flexible substrates like polyimide enabling conformal applications but introducing challenges in maintaining geometric precision. Recent research has explored heterogeneous integration techniques that combine different material systems to leverage their complementary properties, such as integrating III-V semiconductors with silicon platforms.
Additive manufacturing techniques, particularly 3D printing with nanoscale resolution, are revolutionizing metasurface fabrication by enabling truly three-dimensional variable geometries previously unattainable. These approaches allow for gradient index structures and complex spatial arrangements that can significantly enhance the functionality of metasurface antenna arrays.
Performance Metrics and Testing Methodologies
Evaluating the performance of variable geometry metasurface antenna arrays requires comprehensive metrics and standardized testing methodologies to ensure reliable comparison across different designs and configurations. The primary performance indicators include radiation efficiency, gain, directivity, and bandwidth, which must be measured under controlled conditions to yield meaningful results.
Radiation pattern characterization represents a fundamental testing methodology, involving the measurement of far-field patterns at various geometric configurations. This process necessitates specialized anechoic chambers equipped with precision positioning systems capable of adjusting the metasurface geometry during testing. Advanced near-field scanning techniques have emerged as valuable tools for characterizing the electromagnetic behavior of reconfigurable metasurface antennas, offering insights into field distributions across different geometric states.
Impedance matching metrics, including return loss and voltage standing wave ratio (VSWR), provide critical information about the antenna's efficiency across its operational bandwidth. These parameters must be evaluated across the full range of geometric configurations to ensure consistent performance throughout the reconfiguration process. Time-domain measurements using vector network analyzers offer additional insights into transient responses during geometric transitions.
Beam steering capabilities represent a key performance metric specific to variable geometry metasurface arrays. Testing methodologies must quantify steering range, beam width, and side lobe levels across different geometric configurations. Advanced beam pattern measurement systems utilizing multiple receivers positioned at strategic angles can capture the dynamic beam characteristics during reconfiguration events.
Power handling capacity and thermal performance constitute essential metrics for practical applications. Standardized testing procedures involve subjecting the antenna array to incrementally increasing power levels while monitoring temperature distributions and mechanical integrity across different geometric states. Thermal imaging cameras and embedded temperature sensors provide valuable data for thermal performance assessment.
Reconfiguration speed and reliability metrics address the dynamic aspects of variable geometry systems. Testing methodologies include high-speed cameras synchronized with network analyzers to capture electromagnetic performance during geometric transitions. Reliability testing involves automated cycling through geometric configurations while monitoring performance parameters, with accelerated life testing protocols providing insights into long-term durability under operational conditions.
Computational validation methodologies complement physical testing, with finite element analysis and finite-difference time-domain simulations serving as valuable tools for performance prediction and optimization. The correlation between simulated and measured results provides confidence in both the computational models and the physical testing methodologies, establishing a robust framework for performance evaluation of variable geometry metasurface antenna arrays.
Radiation pattern characterization represents a fundamental testing methodology, involving the measurement of far-field patterns at various geometric configurations. This process necessitates specialized anechoic chambers equipped with precision positioning systems capable of adjusting the metasurface geometry during testing. Advanced near-field scanning techniques have emerged as valuable tools for characterizing the electromagnetic behavior of reconfigurable metasurface antennas, offering insights into field distributions across different geometric states.
Impedance matching metrics, including return loss and voltage standing wave ratio (VSWR), provide critical information about the antenna's efficiency across its operational bandwidth. These parameters must be evaluated across the full range of geometric configurations to ensure consistent performance throughout the reconfiguration process. Time-domain measurements using vector network analyzers offer additional insights into transient responses during geometric transitions.
Beam steering capabilities represent a key performance metric specific to variable geometry metasurface arrays. Testing methodologies must quantify steering range, beam width, and side lobe levels across different geometric configurations. Advanced beam pattern measurement systems utilizing multiple receivers positioned at strategic angles can capture the dynamic beam characteristics during reconfiguration events.
Power handling capacity and thermal performance constitute essential metrics for practical applications. Standardized testing procedures involve subjecting the antenna array to incrementally increasing power levels while monitoring temperature distributions and mechanical integrity across different geometric states. Thermal imaging cameras and embedded temperature sensors provide valuable data for thermal performance assessment.
Reconfiguration speed and reliability metrics address the dynamic aspects of variable geometry systems. Testing methodologies include high-speed cameras synchronized with network analyzers to capture electromagnetic performance during geometric transitions. Reliability testing involves automated cycling through geometric configurations while monitoring performance parameters, with accelerated life testing protocols providing insights into long-term durability under operational conditions.
Computational validation methodologies complement physical testing, with finite element analysis and finite-difference time-domain simulations serving as valuable tools for performance prediction and optimization. The correlation between simulated and measured results provides confidence in both the computational models and the physical testing methodologies, establishing a robust framework for performance evaluation of variable geometry metasurface antenna arrays.
Unlock deeper insights with PatSnap Eureka Quick Research — get a full tech report to explore trends and direct your research. Try now!
Generate Your Research Report Instantly with AI Agent
Supercharge your innovation with PatSnap Eureka AI Agent Platform!







