Metasurface Antennas for Enhanced Satellite Communication Systems
SEP 25, 202510 MIN READ
Generate Your Research Report Instantly with AI Agent
Patsnap Eureka helps you evaluate technical feasibility & market potential.
Metasurface Antenna Technology Background and Objectives
Metasurface antennas represent a revolutionary advancement in electromagnetic wave manipulation technology, emerging from the broader field of metamaterials research that began in the late 1990s. These engineered surfaces consist of subwavelength elements arranged in specific patterns to control electromagnetic wavefronts with unprecedented precision. The evolution of this technology has accelerated significantly over the past decade, transitioning from theoretical concepts to practical implementations with remarkable capabilities.
The development trajectory of metasurface antennas has been characterized by progressive improvements in design methodologies, fabrication techniques, and performance metrics. Early research focused primarily on proof-of-concept demonstrations, while recent advancements have enabled practical applications with superior beam-forming, frequency agility, and polarization control capabilities compared to conventional antenna technologies.
Satellite communication systems represent a particularly promising application domain for metasurface antennas due to their inherent advantages in size, weight, power consumption, and performance. Traditional satellite communication systems rely on mechanically steered parabolic reflectors or electronically scanned phased arrays, both of which present significant limitations in terms of form factor, complexity, and cost-effectiveness for next-generation satellite networks.
The primary technical objectives for metasurface antennas in satellite communications include achieving high gain (>30 dBi), wide bandwidth operation (supporting multiple frequency bands from L to Ka), electronic beam steering capabilities (±60° with minimal scan loss), low profile form factors (<λ/10 thickness), and resilience to environmental conditions in space. Additionally, reducing manufacturing costs and complexity remains a critical goal for enabling widespread commercial adoption.
Current research trends indicate a convergence toward reconfigurable metasurface designs that can dynamically adapt their electromagnetic properties in response to changing communication requirements. This adaptability is essential for addressing the evolving needs of satellite constellations, particularly in low Earth orbit (LEO) deployments where rapid beam steering and frequency agility are paramount.
The integration of advanced materials science, computational electromagnetics, and digital control systems has been instrumental in driving metasurface antenna innovation. Recent breakthroughs in phase-change materials, liquid crystals, and MEMS technologies have expanded the design space for reconfigurable metasurfaces, enabling more sophisticated functionality while maintaining reasonable fabrication complexity.
Looking forward, the technology roadmap for metasurface antennas in satellite communications aims to achieve fully integrated, software-defined antenna systems capable of supporting multi-band, multi-beam operations with minimal power consumption and maximum reliability. These objectives align with the broader industry trend toward more flexible, scalable, and efficient satellite communication infrastructure to support global connectivity initiatives.
The development trajectory of metasurface antennas has been characterized by progressive improvements in design methodologies, fabrication techniques, and performance metrics. Early research focused primarily on proof-of-concept demonstrations, while recent advancements have enabled practical applications with superior beam-forming, frequency agility, and polarization control capabilities compared to conventional antenna technologies.
Satellite communication systems represent a particularly promising application domain for metasurface antennas due to their inherent advantages in size, weight, power consumption, and performance. Traditional satellite communication systems rely on mechanically steered parabolic reflectors or electronically scanned phased arrays, both of which present significant limitations in terms of form factor, complexity, and cost-effectiveness for next-generation satellite networks.
The primary technical objectives for metasurface antennas in satellite communications include achieving high gain (>30 dBi), wide bandwidth operation (supporting multiple frequency bands from L to Ka), electronic beam steering capabilities (±60° with minimal scan loss), low profile form factors (<λ/10 thickness), and resilience to environmental conditions in space. Additionally, reducing manufacturing costs and complexity remains a critical goal for enabling widespread commercial adoption.
Current research trends indicate a convergence toward reconfigurable metasurface designs that can dynamically adapt their electromagnetic properties in response to changing communication requirements. This adaptability is essential for addressing the evolving needs of satellite constellations, particularly in low Earth orbit (LEO) deployments where rapid beam steering and frequency agility are paramount.
The integration of advanced materials science, computational electromagnetics, and digital control systems has been instrumental in driving metasurface antenna innovation. Recent breakthroughs in phase-change materials, liquid crystals, and MEMS technologies have expanded the design space for reconfigurable metasurfaces, enabling more sophisticated functionality while maintaining reasonable fabrication complexity.
Looking forward, the technology roadmap for metasurface antennas in satellite communications aims to achieve fully integrated, software-defined antenna systems capable of supporting multi-band, multi-beam operations with minimal power consumption and maximum reliability. These objectives align with the broader industry trend toward more flexible, scalable, and efficient satellite communication infrastructure to support global connectivity initiatives.
Satellite Communication Market Demand Analysis
The satellite communication market is experiencing unprecedented growth, driven by increasing demand for global connectivity, data transmission, and emerging applications. Current market valuations place the satellite communication sector at approximately 25 billion USD in 2023, with projections indicating growth to reach 50 billion USD by 2030, representing a compound annual growth rate (CAGR) of 9.8%. This robust expansion reflects the critical role satellite communications play in modern telecommunications infrastructure.
Traditional satellite communication systems face significant limitations in bandwidth, latency, and power efficiency. End-users across various sectors demand higher data rates, with current expectations ranging from 100 Mbps for consumer applications to several Gbps for enterprise solutions. This represents a tenfold increase in bandwidth requirements compared to systems deployed just five years ago. Additionally, latency requirements have become more stringent, with users expecting performance below 50 milliseconds for interactive applications.
The commercial sector dominates market demand, accounting for approximately 60% of the total market share. Key commercial applications include broadband internet services, maritime communications, in-flight connectivity, and broadcasting. The remaining market share is divided between government (25%) and military (15%) applications, where secure and reliable communications are paramount regardless of geographical constraints.
Geographically, North America leads the market with 35% share, followed by Europe (28%), Asia-Pacific (25%), and the rest of the world (12%). However, the fastest growth is occurring in emerging markets across Asia-Pacific and Africa, where terrestrial infrastructure limitations create significant opportunities for satellite-based solutions.
The emergence of new space companies and constellation deployments has dramatically altered market dynamics. Low Earth Orbit (LEO) constellations are projected to capture 40% of the satellite communication market by 2028, challenging traditional Geostationary Earth Orbit (GEO) dominance. This shift is driven by demands for lower latency and higher throughput services.
Advanced antenna technologies, particularly metasurface antennas, are positioned to address critical market needs. Industry surveys indicate that 78% of satellite operators identify antenna performance as a primary limitation in current systems. Metasurface antennas offer potential solutions to key market requirements including size reduction (70% smaller footprint compared to conventional antennas), beam steering capabilities (enabling dynamic coverage optimization), and cost reduction (potentially 40-50% lower manufacturing costs at scale).
The Internet of Things (IoT) represents a rapidly expanding market segment, with an estimated 30 billion connected devices requiring satellite connectivity by 2025, particularly in remote areas. This application alone is expected to generate 5 billion USD in satellite communication revenue by 2027, creating significant demand for efficient, compact antenna solutions.
Traditional satellite communication systems face significant limitations in bandwidth, latency, and power efficiency. End-users across various sectors demand higher data rates, with current expectations ranging from 100 Mbps for consumer applications to several Gbps for enterprise solutions. This represents a tenfold increase in bandwidth requirements compared to systems deployed just five years ago. Additionally, latency requirements have become more stringent, with users expecting performance below 50 milliseconds for interactive applications.
The commercial sector dominates market demand, accounting for approximately 60% of the total market share. Key commercial applications include broadband internet services, maritime communications, in-flight connectivity, and broadcasting. The remaining market share is divided between government (25%) and military (15%) applications, where secure and reliable communications are paramount regardless of geographical constraints.
Geographically, North America leads the market with 35% share, followed by Europe (28%), Asia-Pacific (25%), and the rest of the world (12%). However, the fastest growth is occurring in emerging markets across Asia-Pacific and Africa, where terrestrial infrastructure limitations create significant opportunities for satellite-based solutions.
The emergence of new space companies and constellation deployments has dramatically altered market dynamics. Low Earth Orbit (LEO) constellations are projected to capture 40% of the satellite communication market by 2028, challenging traditional Geostationary Earth Orbit (GEO) dominance. This shift is driven by demands for lower latency and higher throughput services.
Advanced antenna technologies, particularly metasurface antennas, are positioned to address critical market needs. Industry surveys indicate that 78% of satellite operators identify antenna performance as a primary limitation in current systems. Metasurface antennas offer potential solutions to key market requirements including size reduction (70% smaller footprint compared to conventional antennas), beam steering capabilities (enabling dynamic coverage optimization), and cost reduction (potentially 40-50% lower manufacturing costs at scale).
The Internet of Things (IoT) represents a rapidly expanding market segment, with an estimated 30 billion connected devices requiring satellite connectivity by 2025, particularly in remote areas. This application alone is expected to generate 5 billion USD in satellite communication revenue by 2027, creating significant demand for efficient, compact antenna solutions.
Global Metasurface Antenna Development Status and Challenges
Metasurface antennas represent a revolutionary advancement in satellite communication technology, offering unprecedented capabilities in beam steering, frequency selectivity, and polarization control. Currently, the global development of metasurface antennas faces several significant challenges despite remarkable progress in research laboratories across North America, Europe, and Asia.
The primary technical hurdle remains the scalable manufacturing of metasurfaces with consistent electromagnetic properties across large areas. While laboratory prototypes demonstrate excellent performance, transitioning to industrial-scale production introduces variability that affects antenna performance. This manufacturing inconsistency particularly impacts phase coherence across the metasurface, which is critical for maintaining beam integrity in satellite communications.
Material limitations constitute another major challenge. Current metasurface designs often rely on noble metals or specialized composites that introduce cost barriers for widespread deployment. Additionally, these materials may exhibit performance degradation under the harsh conditions of space, including extreme temperature fluctuations, radiation exposure, and vacuum environments.
Power handling capabilities represent a significant constraint for transmitting metasurface antennas. The microscale resonant structures that enable the unique electromagnetic properties of metasurfaces can experience localized heating under high power conditions, potentially leading to performance degradation or failure. This limitation is particularly problematic for high-throughput satellite communication systems requiring substantial transmit power.
Bandwidth restrictions continue to challenge developers, as many metasurface designs exhibit optimal performance over relatively narrow frequency ranges. This characteristic conflicts with the growing demand for wideband satellite communication systems capable of supporting high data rates and multiple simultaneous services.
Reconfigurability mechanisms present both opportunities and challenges. While electronically tunable metasurfaces offer dynamic beam control, integrating control circuitry with metasurface elements introduces complexity, increases power consumption, and may reduce reliability—all critical concerns for space-based systems with limited maintenance opportunities.
Geographically, metasurface antenna development shows distinct regional characteristics. North American research institutions and companies focus primarily on defense applications and high-performance commercial systems. European efforts emphasize space-qualified designs with environmental sustainability considerations. Asian development, particularly in China and South Korea, demonstrates strength in manufacturing scalability and integration with existing telecommunication infrastructure.
International collaboration remains limited by intellectual property concerns and export control regulations, creating isolated development ecosystems that may impede overall technological advancement. This fragmentation has resulted in parallel development paths with varying technical approaches to similar challenges.
The primary technical hurdle remains the scalable manufacturing of metasurfaces with consistent electromagnetic properties across large areas. While laboratory prototypes demonstrate excellent performance, transitioning to industrial-scale production introduces variability that affects antenna performance. This manufacturing inconsistency particularly impacts phase coherence across the metasurface, which is critical for maintaining beam integrity in satellite communications.
Material limitations constitute another major challenge. Current metasurface designs often rely on noble metals or specialized composites that introduce cost barriers for widespread deployment. Additionally, these materials may exhibit performance degradation under the harsh conditions of space, including extreme temperature fluctuations, radiation exposure, and vacuum environments.
Power handling capabilities represent a significant constraint for transmitting metasurface antennas. The microscale resonant structures that enable the unique electromagnetic properties of metasurfaces can experience localized heating under high power conditions, potentially leading to performance degradation or failure. This limitation is particularly problematic for high-throughput satellite communication systems requiring substantial transmit power.
Bandwidth restrictions continue to challenge developers, as many metasurface designs exhibit optimal performance over relatively narrow frequency ranges. This characteristic conflicts with the growing demand for wideband satellite communication systems capable of supporting high data rates and multiple simultaneous services.
Reconfigurability mechanisms present both opportunities and challenges. While electronically tunable metasurfaces offer dynamic beam control, integrating control circuitry with metasurface elements introduces complexity, increases power consumption, and may reduce reliability—all critical concerns for space-based systems with limited maintenance opportunities.
Geographically, metasurface antenna development shows distinct regional characteristics. North American research institutions and companies focus primarily on defense applications and high-performance commercial systems. European efforts emphasize space-qualified designs with environmental sustainability considerations. Asian development, particularly in China and South Korea, demonstrates strength in manufacturing scalability and integration with existing telecommunication infrastructure.
International collaboration remains limited by intellectual property concerns and export control regulations, creating isolated development ecosystems that may impede overall technological advancement. This fragmentation has resulted in parallel development paths with varying technical approaches to similar challenges.
Current Metasurface Solutions for Satellite Communications
01 Metasurface design for beam steering and focusing
Metasurface antennas can be designed with specific phase distributions to enable dynamic beam steering and focusing capabilities. These designs manipulate electromagnetic waves through engineered surface patterns that control wave propagation, reflection, and refraction. By precisely controlling the phase and amplitude of incident waves, metasurfaces can direct communication signals toward intended receivers, enhancing signal strength and reducing interference in wireless communication systems.- Metasurface design for beam steering and focusing: Metasurface antennas can be designed with specific phase distributions to enable dynamic beam steering and focusing capabilities. These designs manipulate electromagnetic waves through engineered surface patterns that control wave propagation, reflection, and refraction. By precisely controlling the phase and amplitude of incident waves, metasurfaces can direct communication signals toward intended receivers, enhancing signal strength and reducing interference in wireless communication systems.
- Reconfigurable metasurface antennas for adaptive communications: Reconfigurable metasurface antennas incorporate active elements that can dynamically modify their electromagnetic properties in response to changing communication requirements. These systems use tunable components such as varactors, PIN diodes, or MEMS switches to adjust resonance frequencies, radiation patterns, and polarization states in real-time. This adaptability enables optimization of communication links under varying environmental conditions and user demands, improving system resilience and spectral efficiency.
- MIMO and beamforming integration with metasurfaces: Metasurface antennas can be integrated with Multiple-Input Multiple-Output (MIMO) systems and beamforming techniques to significantly enhance communication capacity and coverage. These integrated systems leverage the spatial multiplexing capabilities of MIMO while using metasurfaces to create precisely controlled radiation patterns. The combination enables higher data rates, improved signal-to-noise ratios, and more efficient spectrum utilization in next-generation wireless networks, particularly for 5G and beyond applications.
- Metasurface-based wavefront manipulation for signal enhancement: Metasurfaces can manipulate electromagnetic wavefronts to enhance signal propagation characteristics in challenging environments. By engineering the phase, amplitude, and polarization responses of metasurface elements, these antennas can overcome multipath fading, penetrate obstacles, and extend communication range. Advanced wavefront manipulation techniques include anomalous reflection/refraction, surface wave conversion, and holographic principles that collectively improve signal quality and reliability in complex propagation scenarios.
- Fabrication and integration technologies for metasurface antennas: Novel fabrication and integration approaches enable practical implementation of metasurface antennas in communication systems. These include advanced manufacturing techniques such as nanoimprint lithography, 3D printing, and semiconductor processing that allow precise creation of subwavelength structures. Integration solutions address challenges of connecting metasurfaces with conventional RF components, power delivery systems, and control circuitry. These technologies focus on miniaturization, cost reduction, and compatibility with existing communication infrastructure to facilitate widespread adoption.
02 Reconfigurable metasurface antennas for adaptive communications
Reconfigurable metasurface antennas incorporate active elements that can dynamically modify their electromagnetic properties in response to changing communication requirements. These systems use tunable components such as varactors, PIN diodes, or MEMS switches to adjust resonance frequencies, radiation patterns, and polarization states in real-time. This adaptability enables optimization of communication links under varying environmental conditions and user demands, improving overall system performance and reliability.Expand Specific Solutions03 MIMO and beamforming applications with metasurfaces
Metasurface antennas can significantly enhance Multiple-Input Multiple-Output (MIMO) systems and beamforming techniques for advanced wireless communications. By integrating metasurfaces with MIMO architectures, communication systems can achieve higher spectral efficiency, increased channel capacity, and improved signal-to-noise ratios. These metasurface-enabled MIMO systems support spatial multiplexing and diversity techniques that are crucial for next-generation communication networks, including 5G and beyond.Expand Specific Solutions04 Metasurface integration with millimeter-wave and THz communications
Metasurfaces are particularly valuable for millimeter-wave (mmWave) and terahertz (THz) communication systems, where conventional antenna solutions face significant challenges. At these high frequencies, metasurfaces can overcome propagation losses and blockage issues through intelligent wave manipulation. Their compact form factor and ability to implement complex electromagnetic functions make them ideal for high-bandwidth, short-range communications in next-generation wireless networks, enabling multi-gigabit data rates in compact devices.Expand Specific Solutions05 Fabrication and material innovations for metasurface antennas
Advanced fabrication techniques and novel materials are enabling more efficient and capable metasurface antennas for communication applications. These innovations include nanofabrication methods, metamaterial composites, and 2D materials like graphene that provide unprecedented control over electromagnetic properties. New manufacturing approaches allow for cost-effective production of complex metasurface structures with precise geometric features at various scales, facilitating their commercial adoption in communication devices and infrastructure.Expand Specific Solutions
Key Industry Players in Metasurface Antenna Development
Metasurface antennas for satellite communications are evolving rapidly in a growing market poised for significant expansion. The industry is transitioning from early development to commercialization phase, with the global market expected to reach substantial growth as satellite connectivity demands increase. Technology maturity varies across players: Kymeta Corp. leads with commercial metamaterial-based antennas, while Huawei, Airbus, and Energous are making significant R&D investments. Academic institutions (University of Siena, CNRS, ESPCI Paris, Sorbonne) are driving fundamental research, while Chinese entities (UESTC, Southeast University, Xidian) are rapidly advancing practical applications. The competitive landscape features collaboration between established aerospace companies, telecommunications giants, and specialized startups, with increasing integration between satellite operators and antenna manufacturers to create comprehensive communication solutions.
Kymeta Corp.
Technical Solution: Kymeta has developed a revolutionary metasurface antenna technology specifically for satellite communications called mTenna. Their approach utilizes electronically scanned metamaterial-based antennas that replace traditional mechanical satellite dishes with flat, lightweight panels. The core technology employs liquid crystal-based tunable metamaterials that can dynamically alter their electromagnetic properties to electronically steer the antenna beam without moving parts. Kymeta's metasurface antennas use holographic beamforming principles where the antenna surface contains thousands of individually tunable elements that collectively generate and direct the communication beam. This technology enables seamless satellite tracking and connectivity even on moving platforms like vehicles, ships, and aircraft. Their latest KyWay terminals incorporate these metasurface antennas with software-defined capabilities that can adapt to different satellite constellations and communication protocols, making them highly versatile for various applications including defense, maritime, and enterprise communications.
Strengths: Eliminates mechanical moving parts, significantly reducing maintenance requirements and failure points; ultra-thin form factor allows for easy integration into various platforms; software-defined operation enables multi-constellation compatibility. Weaknesses: Higher power consumption compared to some conventional systems; performance in extreme weather conditions can be challenging; relatively higher cost compared to traditional parabolic antennas.
Huawei Technologies Co., Ltd.
Technical Solution: Huawei has developed advanced metasurface antenna technology for satellite communications that integrates with their 5G infrastructure. Their approach utilizes Reconfigurable Intelligent Surface (RIS) technology, a specialized form of metasurfaces that can dynamically modify electromagnetic wave propagation. Huawei's metasurface antennas employ thousands of sub-wavelength unit cells with embedded electronic control elements that can be individually programmed to manipulate phase, amplitude, and polarization of incident waves. This enables precise beamforming and beam steering capabilities without traditional mechanical components. Their satellite communication metasurfaces incorporate artificial intelligence algorithms that continuously optimize the antenna configuration based on signal quality and environmental conditions. Huawei has also pioneered hybrid metasurface designs that combine passive and active elements to achieve higher efficiency while maintaining reasonable power consumption profiles. These antennas support multiple frequency bands simultaneously and can be integrated into their distributed network architecture to create seamless connectivity between terrestrial and satellite communication systems.
Strengths: Exceptional integration capabilities with existing 5G infrastructure; advanced AI-driven optimization algorithms improve performance in varying conditions; multi-band operation increases versatility. Weaknesses: Relatively high manufacturing complexity increases production costs; requires sophisticated control systems that add to power requirements; potential security concerns in some markets may limit deployment.
Critical Patents and Research in Metasurface Antenna Design
Active metasurface architectures
PatentWO2024127193A1
Innovation
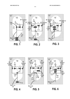
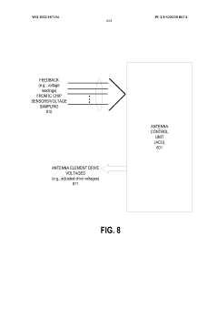
- Incorporating low noise amplifiers (LNAs) and power amplifiers (PAs) into the metasurface to amplify signals closer to the radiating elements, distributing power and heat more evenly, and replacing central amplifiers with distributed arrays for reduced size and cost.
Metasurface antenna with integrated varactor circuits
PatentWO2022187154A1
Innovation
- Integration of varactor diodes on IC chips within metasurface antennas, coupled with transistors to provide tuning voltage, allows for independent control of antenna elements, eliminating the need for external transistors and enabling active metasurface antennas without centralized down-converters or power amplifiers.
Frequency Spectrum Allocation and Regulatory Considerations
The regulatory landscape for frequency spectrum allocation plays a critical role in the deployment of metasurface antenna technologies for satellite communication systems. Currently, satellite communications operate across multiple frequency bands, including L-band (1-2 GHz), S-band (2-4 GHz), C-band (4-8 GHz), X-band (8-12 GHz), Ku-band (12-18 GHz), Ka-band (26-40 GHz), and increasingly Q/V-bands (40-75 GHz). Each band is governed by strict international and national regulations administered by the International Telecommunication Union (ITU) and respective national regulatory bodies.
Metasurface antennas present unique regulatory challenges due to their advanced beamforming capabilities and frequency manipulation characteristics. Their ability to operate across multiple frequency bands simultaneously requires careful consideration of cross-band interference potential. The ITU's Radio Regulations Board has begun examining specific provisions for metamaterial-based communication technologies, with preliminary guidelines expected in the next World Radiocommunication Conference.
For satellite operators implementing metasurface antenna technologies, compliance with power flux-density (PFD) limits becomes more complex due to the dynamic beam steering capabilities of these systems. Current regulations were primarily designed for conventional antenna systems with predictable radiation patterns, whereas metasurface antennas can rapidly reconfigure their radiation characteristics, potentially creating regulatory compliance challenges.
The migration toward higher frequency bands (Ka, Q, and V) for satellite communications aligns well with metasurface antenna capabilities, as these technologies excel at millimeter-wave frequencies. However, these higher bands face more stringent regulatory requirements regarding interference mitigation and sharing protocols with terrestrial services. Metasurface implementations must demonstrate robust interference protection mechanisms to satisfy regulatory requirements.
Licensing frameworks are also evolving to accommodate these advanced antenna technologies. Several national regulatory authorities, including the FCC in the United States and OFCOM in the United Kingdom, have initiated specialized licensing procedures for satellite systems employing electronically steered antenna arrays, which would encompass metasurface technologies. These frameworks typically require detailed technical specifications regarding beam patterns, sidelobe suppression capabilities, and interference mitigation strategies.
International coordination efforts through organizations like the CEPT in Europe and the Asia-Pacific Telecommunity are working to harmonize spectrum allocation policies for next-generation satellite technologies. These efforts aim to create technology-neutral regulatory frameworks that can accommodate innovative antenna technologies while ensuring efficient spectrum utilization and minimizing harmful interference across borders.
Metasurface antennas present unique regulatory challenges due to their advanced beamforming capabilities and frequency manipulation characteristics. Their ability to operate across multiple frequency bands simultaneously requires careful consideration of cross-band interference potential. The ITU's Radio Regulations Board has begun examining specific provisions for metamaterial-based communication technologies, with preliminary guidelines expected in the next World Radiocommunication Conference.
For satellite operators implementing metasurface antenna technologies, compliance with power flux-density (PFD) limits becomes more complex due to the dynamic beam steering capabilities of these systems. Current regulations were primarily designed for conventional antenna systems with predictable radiation patterns, whereas metasurface antennas can rapidly reconfigure their radiation characteristics, potentially creating regulatory compliance challenges.
The migration toward higher frequency bands (Ka, Q, and V) for satellite communications aligns well with metasurface antenna capabilities, as these technologies excel at millimeter-wave frequencies. However, these higher bands face more stringent regulatory requirements regarding interference mitigation and sharing protocols with terrestrial services. Metasurface implementations must demonstrate robust interference protection mechanisms to satisfy regulatory requirements.
Licensing frameworks are also evolving to accommodate these advanced antenna technologies. Several national regulatory authorities, including the FCC in the United States and OFCOM in the United Kingdom, have initiated specialized licensing procedures for satellite systems employing electronically steered antenna arrays, which would encompass metasurface technologies. These frameworks typically require detailed technical specifications regarding beam patterns, sidelobe suppression capabilities, and interference mitigation strategies.
International coordination efforts through organizations like the CEPT in Europe and the Asia-Pacific Telecommunity are working to harmonize spectrum allocation policies for next-generation satellite technologies. These efforts aim to create technology-neutral regulatory frameworks that can accommodate innovative antenna technologies while ensuring efficient spectrum utilization and minimizing harmful interference across borders.
Space Environment Impact on Metasurface Antenna Performance
The space environment presents unique challenges for metasurface antennas deployed in satellite communication systems. Radiation exposure, including high-energy particles and electromagnetic radiation from solar flares and cosmic rays, can significantly alter the electromagnetic properties of metasurface materials over time. These radiation effects may lead to degradation in phase control precision and resonance characteristics, ultimately compromising the antenna's beam-forming capabilities and communication reliability.
Temperature fluctuations in space represent another critical factor affecting metasurface performance. Satellites in low Earth orbit (LEO) experience extreme temperature variations ranging from -150°C to +150°C during orbital cycles. Such thermal cycling induces mechanical stress in metasurface structures, potentially causing deformation, misalignment of unit cells, and changes in material properties that affect electromagnetic response characteristics.
Vacuum conditions in space eliminate atmospheric damping effects present in terrestrial environments, which can alter the resonant behavior of metasurface elements. Additionally, atomic oxygen erosion in LEO environments can progressively degrade exposed metasurface materials, particularly affecting polymer-based substrates and certain metallic nanostructures commonly used in advanced metasurface designs.
Space debris and micrometeoroid impacts pose physical threats to metasurface integrity. Even microscopic impacts can damage critical areas of the metasurface pattern, disrupting the precise phase relationships necessary for proper beam formation and steering. This necessitates robust protective measures or redundant design approaches to maintain operational capability despite localized damage.
Charged particle accumulation on satellite surfaces creates electrostatic discharge risks that can damage sensitive metasurface control electronics. Furthermore, plasma interactions in the ionosphere can affect impedance matching and radiation patterns, particularly for metasurfaces operating at lower microwave frequencies.
Recent research indicates that radiation-hardened materials such as silicon carbide and gallium nitride show promising resilience for space-based metasurface applications. Adaptive calibration systems that periodically measure and compensate for environmental degradation are emerging as essential components for maintaining long-term performance stability. Space qualification testing protocols specifically designed for metasurface antennas are being developed, incorporating accelerated life testing under combined space stressors to predict in-orbit performance more accurately.
Understanding these environmental impacts is crucial for designing metasurface antennas with appropriate mitigation strategies, including radiation-hardened materials, thermal management systems, protective coatings, and fault-tolerant architectures that can maintain communication performance throughout the satellite's operational lifetime.
Temperature fluctuations in space represent another critical factor affecting metasurface performance. Satellites in low Earth orbit (LEO) experience extreme temperature variations ranging from -150°C to +150°C during orbital cycles. Such thermal cycling induces mechanical stress in metasurface structures, potentially causing deformation, misalignment of unit cells, and changes in material properties that affect electromagnetic response characteristics.
Vacuum conditions in space eliminate atmospheric damping effects present in terrestrial environments, which can alter the resonant behavior of metasurface elements. Additionally, atomic oxygen erosion in LEO environments can progressively degrade exposed metasurface materials, particularly affecting polymer-based substrates and certain metallic nanostructures commonly used in advanced metasurface designs.
Space debris and micrometeoroid impacts pose physical threats to metasurface integrity. Even microscopic impacts can damage critical areas of the metasurface pattern, disrupting the precise phase relationships necessary for proper beam formation and steering. This necessitates robust protective measures or redundant design approaches to maintain operational capability despite localized damage.
Charged particle accumulation on satellite surfaces creates electrostatic discharge risks that can damage sensitive metasurface control electronics. Furthermore, plasma interactions in the ionosphere can affect impedance matching and radiation patterns, particularly for metasurfaces operating at lower microwave frequencies.
Recent research indicates that radiation-hardened materials such as silicon carbide and gallium nitride show promising resilience for space-based metasurface applications. Adaptive calibration systems that periodically measure and compensate for environmental degradation are emerging as essential components for maintaining long-term performance stability. Space qualification testing protocols specifically designed for metasurface antennas are being developed, incorporating accelerated life testing under combined space stressors to predict in-orbit performance more accurately.
Understanding these environmental impacts is crucial for designing metasurface antennas with appropriate mitigation strategies, including radiation-hardened materials, thermal management systems, protective coatings, and fault-tolerant architectures that can maintain communication performance throughout the satellite's operational lifetime.
Unlock deeper insights with Patsnap Eureka Quick Research — get a full tech report to explore trends and direct your research. Try now!
Generate Your Research Report Instantly with AI Agent
Supercharge your innovation with Patsnap Eureka AI Agent Platform!