Comparison of Quantum Interconnects and Photonic Interconnects
SEP 29, 202510 MIN READ
Generate Your Research Report Instantly with AI Agent
Patsnap Eureka helps you evaluate technical feasibility & market potential.
Quantum and Photonic Interconnect Evolution and Objectives
The evolution of interconnect technologies has been a critical factor in advancing computing capabilities over the past decades. Traditional electronic interconnects have reached physical limitations in terms of bandwidth, energy efficiency, and latency, prompting exploration of alternative technologies. Quantum and photonic interconnects represent two promising frontiers that could revolutionize data transmission in computing systems.
Quantum interconnects leverage quantum mechanical principles such as entanglement and superposition to transmit information. The field emerged in the early 2000s with theoretical proposals, followed by experimental demonstrations of quantum state transfer between distant qubits. By 2010, researchers had achieved quantum teleportation over several kilometers, marking a significant milestone in quantum networking capabilities.
Photonic interconnects, meanwhile, have evolved from simple optical fibers to sophisticated integrated photonic circuits. The 1970s saw the development of the first optical fibers for telecommunications, while the 1990s brought wavelength division multiplexing, dramatically increasing transmission capacity. Since 2010, silicon photonics has enabled the integration of optical components directly onto semiconductor chips, facilitating higher bandwidth densities and reduced power consumption.
The convergence of these technologies presents intriguing possibilities. Quantum-photonic hybrid systems, where photons serve as carriers for quantum information, have gained traction since 2015. These systems aim to combine the information processing advantages of quantum mechanics with the transmission benefits of photonics.
The primary technical objectives for quantum interconnects include increasing coherence times, improving fidelity of quantum state transfer, and developing scalable quantum repeater networks to overcome distance limitations. For quantum networks to become practical, coherence times must extend from current microseconds to seconds or minutes, while maintaining high fidelity over complex network topologies.
For photonic interconnects, objectives focus on reducing propagation losses, increasing integration density, improving modulation speeds beyond 100 GHz, and enhancing energy efficiency to sub-femtojoule per bit levels. Additionally, researchers aim to develop novel materials and structures for more efficient light generation, modulation, and detection on chip.
Both technologies share common goals of achieving room-temperature operation, compatibility with existing infrastructure, and cost-effective manufacturing processes. The ultimate objective is to create interconnect technologies that can support exascale computing and beyond, with unprecedented bandwidth, minimal latency, and dramatically reduced energy consumption compared to electronic alternatives.
Quantum interconnects leverage quantum mechanical principles such as entanglement and superposition to transmit information. The field emerged in the early 2000s with theoretical proposals, followed by experimental demonstrations of quantum state transfer between distant qubits. By 2010, researchers had achieved quantum teleportation over several kilometers, marking a significant milestone in quantum networking capabilities.
Photonic interconnects, meanwhile, have evolved from simple optical fibers to sophisticated integrated photonic circuits. The 1970s saw the development of the first optical fibers for telecommunications, while the 1990s brought wavelength division multiplexing, dramatically increasing transmission capacity. Since 2010, silicon photonics has enabled the integration of optical components directly onto semiconductor chips, facilitating higher bandwidth densities and reduced power consumption.
The convergence of these technologies presents intriguing possibilities. Quantum-photonic hybrid systems, where photons serve as carriers for quantum information, have gained traction since 2015. These systems aim to combine the information processing advantages of quantum mechanics with the transmission benefits of photonics.
The primary technical objectives for quantum interconnects include increasing coherence times, improving fidelity of quantum state transfer, and developing scalable quantum repeater networks to overcome distance limitations. For quantum networks to become practical, coherence times must extend from current microseconds to seconds or minutes, while maintaining high fidelity over complex network topologies.
For photonic interconnects, objectives focus on reducing propagation losses, increasing integration density, improving modulation speeds beyond 100 GHz, and enhancing energy efficiency to sub-femtojoule per bit levels. Additionally, researchers aim to develop novel materials and structures for more efficient light generation, modulation, and detection on chip.
Both technologies share common goals of achieving room-temperature operation, compatibility with existing infrastructure, and cost-effective manufacturing processes. The ultimate objective is to create interconnect technologies that can support exascale computing and beyond, with unprecedented bandwidth, minimal latency, and dramatically reduced energy consumption compared to electronic alternatives.
Market Demand Analysis for Advanced Interconnect Technologies
The global market for advanced interconnect technologies is experiencing unprecedented growth, driven by the increasing demands for higher data processing speeds, lower latency, and improved energy efficiency across multiple industries. Current market projections indicate that the advanced interconnect sector will reach significant expansion by 2030, with quantum and photonic interconnects representing the fastest-growing segments within this domain.
Data centers and cloud computing infrastructure represent the primary market drivers for both quantum and photonic interconnect technologies. With global data creation projected to exceed 180 zettabytes by 2025, traditional electronic interconnects are approaching their physical limitations in terms of bandwidth and power consumption. This critical bottleneck has created substantial market demand for alternative interconnect solutions that can support exponential growth in data processing requirements.
Telecommunications represents another significant market segment, particularly with the ongoing deployment of 5G networks and development of 6G technologies. Network operators require interconnect solutions capable of handling massive increases in data traffic while maintaining strict latency requirements. Photonic interconnects have gained substantial traction in this sector, while quantum interconnects are positioned as potential enablers for future secure communication networks.
The high-performance computing (HPC) and artificial intelligence sectors demonstrate particularly strong demand signals for advanced interconnect technologies. As AI model complexity continues to increase, the interconnect bandwidth between processing units has become a critical performance limitation. Both quantum and photonic interconnects offer potential solutions to this challenge, with market adoption accelerating as these technologies mature.
Financial services, healthcare, and defense sectors represent specialized markets with unique requirements for secure, high-speed data transmission. Quantum interconnects, with their inherent security advantages through quantum key distribution, are experiencing growing interest from these sectors despite their early stage of development.
Regional market analysis reveals varying adoption patterns. North America leads in research and early commercial deployment of both technologies, while Asia-Pacific demonstrates the fastest growth rate, particularly in photonic interconnect manufacturing capacity. Europe maintains strong positions in quantum research with growing commercial applications.
Market barriers include high implementation costs, integration challenges with existing infrastructure, and technical maturity concerns. However, the compelling performance advantages of these technologies continue to drive strong market interest despite these obstacles. Industry surveys indicate that over 70% of enterprise technology decision-makers consider advanced interconnect technologies as critical to their future infrastructure planning.
Data centers and cloud computing infrastructure represent the primary market drivers for both quantum and photonic interconnect technologies. With global data creation projected to exceed 180 zettabytes by 2025, traditional electronic interconnects are approaching their physical limitations in terms of bandwidth and power consumption. This critical bottleneck has created substantial market demand for alternative interconnect solutions that can support exponential growth in data processing requirements.
Telecommunications represents another significant market segment, particularly with the ongoing deployment of 5G networks and development of 6G technologies. Network operators require interconnect solutions capable of handling massive increases in data traffic while maintaining strict latency requirements. Photonic interconnects have gained substantial traction in this sector, while quantum interconnects are positioned as potential enablers for future secure communication networks.
The high-performance computing (HPC) and artificial intelligence sectors demonstrate particularly strong demand signals for advanced interconnect technologies. As AI model complexity continues to increase, the interconnect bandwidth between processing units has become a critical performance limitation. Both quantum and photonic interconnects offer potential solutions to this challenge, with market adoption accelerating as these technologies mature.
Financial services, healthcare, and defense sectors represent specialized markets with unique requirements for secure, high-speed data transmission. Quantum interconnects, with their inherent security advantages through quantum key distribution, are experiencing growing interest from these sectors despite their early stage of development.
Regional market analysis reveals varying adoption patterns. North America leads in research and early commercial deployment of both technologies, while Asia-Pacific demonstrates the fastest growth rate, particularly in photonic interconnect manufacturing capacity. Europe maintains strong positions in quantum research with growing commercial applications.
Market barriers include high implementation costs, integration challenges with existing infrastructure, and technical maturity concerns. However, the compelling performance advantages of these technologies continue to drive strong market interest despite these obstacles. Industry surveys indicate that over 70% of enterprise technology decision-makers consider advanced interconnect technologies as critical to their future infrastructure planning.
Current State and Technical Barriers in Quantum-Photonic Interconnects
The quantum-photonic interconnect landscape currently presents a complex interplay of promising advancements and significant technical challenges. Quantum interconnects, designed to transfer quantum states between quantum processing units, have demonstrated remarkable progress in laboratory settings but face substantial barriers to practical implementation. Current quantum interconnect technologies primarily utilize photonic channels, superconducting transmission lines, and direct coupling mechanisms, with photonic channels showing the most promise for long-distance quantum information transfer.
The state-of-the-art in quantum interconnects has achieved entanglement distribution over distances exceeding 1,200 kilometers using satellite-based systems, while fiber-based quantum networks have demonstrated reliable quantum state transfer over tens of kilometers. However, these achievements remain primarily experimental, with significant limitations in fidelity, bandwidth, and scalability.
Photonic interconnects, meanwhile, have reached a more mature development stage in classical computing applications, with commercial deployment in data centers and high-performance computing systems. Current photonic interconnect solutions deliver data rates exceeding 400 Gbps with power efficiency advantages over electronic alternatives. Silicon photonics platforms have enabled integration densities approaching thousands of components per chip, though still lagging behind electronic integration scales.
The primary technical barriers in quantum-photonic interconnects span multiple domains. Quantum decoherence presents perhaps the most fundamental challenge, as quantum states are extremely fragile and susceptible to environmental interactions. Current quantum memory technologies exhibit coherence times ranging from microseconds to seconds, severely limiting practical interconnect distances without quantum repeaters.
Interface compatibility between different quantum systems represents another significant hurdle. The efficient conversion between stationary qubits (in processors) and flying qubits (for transmission) remains technically demanding, with current conversion efficiencies typically below 50% and often accompanied by significant noise introduction.
Geographical distribution of research efforts shows concentration in North America, Europe, and East Asia, with the United States, China, and the European Union leading major quantum network initiatives. The field exhibits a notable dichotomy between academic research focusing on fundamental quantum interconnect challenges and industry efforts primarily advancing classical photonic interconnect technologies.
Manufacturing scalability constitutes another critical barrier, as quantum interconnect components currently require specialized fabrication processes with low yields and high costs. The integration of quantum and photonic technologies demands nanometer-precision manufacturing capabilities that exceed current industrial standards for mass production.
AI-powered quantum error correction and control systems have emerged as promising approaches to overcome some of these limitations, though they remain in early research stages with limited experimental validation in complex interconnect scenarios.
The state-of-the-art in quantum interconnects has achieved entanglement distribution over distances exceeding 1,200 kilometers using satellite-based systems, while fiber-based quantum networks have demonstrated reliable quantum state transfer over tens of kilometers. However, these achievements remain primarily experimental, with significant limitations in fidelity, bandwidth, and scalability.
Photonic interconnects, meanwhile, have reached a more mature development stage in classical computing applications, with commercial deployment in data centers and high-performance computing systems. Current photonic interconnect solutions deliver data rates exceeding 400 Gbps with power efficiency advantages over electronic alternatives. Silicon photonics platforms have enabled integration densities approaching thousands of components per chip, though still lagging behind electronic integration scales.
The primary technical barriers in quantum-photonic interconnects span multiple domains. Quantum decoherence presents perhaps the most fundamental challenge, as quantum states are extremely fragile and susceptible to environmental interactions. Current quantum memory technologies exhibit coherence times ranging from microseconds to seconds, severely limiting practical interconnect distances without quantum repeaters.
Interface compatibility between different quantum systems represents another significant hurdle. The efficient conversion between stationary qubits (in processors) and flying qubits (for transmission) remains technically demanding, with current conversion efficiencies typically below 50% and often accompanied by significant noise introduction.
Geographical distribution of research efforts shows concentration in North America, Europe, and East Asia, with the United States, China, and the European Union leading major quantum network initiatives. The field exhibits a notable dichotomy between academic research focusing on fundamental quantum interconnect challenges and industry efforts primarily advancing classical photonic interconnect technologies.
Manufacturing scalability constitutes another critical barrier, as quantum interconnect components currently require specialized fabrication processes with low yields and high costs. The integration of quantum and photonic technologies demands nanometer-precision manufacturing capabilities that exceed current industrial standards for mass production.
AI-powered quantum error correction and control systems have emerged as promising approaches to overcome some of these limitations, though they remain in early research stages with limited experimental validation in complex interconnect scenarios.
Contemporary Interconnect Solutions Comparison
01 Quantum interconnect architectures
Quantum interconnects enable the transfer of quantum information between quantum processing units. These architectures include superconducting quantum circuits, trapped ions, and quantum dots that can be linked together to form quantum networks. The interconnects maintain quantum coherence while transferring quantum states, which is crucial for quantum computing applications. Advanced designs incorporate error correction mechanisms and quantum repeaters to extend the range of quantum communication.- Quantum interconnect architectures: Quantum interconnects enable the transfer of quantum information between quantum processing units. These architectures utilize quantum entanglement and superposition principles to create secure communication channels. They typically incorporate quantum repeaters to overcome distance limitations and maintain quantum coherence across networks. These systems are fundamental for building scalable quantum computing networks and distributed quantum processing systems.
- Photonic integrated circuits for optical interconnects: Photonic integrated circuits (PICs) provide high-bandwidth, energy-efficient interconnects for data transmission. These circuits integrate multiple optical components on a single chip, including waveguides, modulators, and photodetectors. They enable wavelength division multiplexing for parallel data transmission and can be fabricated using silicon photonics technology. PICs offer advantages in terms of reduced latency, increased bandwidth, and improved power efficiency compared to traditional electronic interconnects.
- Hybrid quantum-photonic interconnect systems: Hybrid systems combine quantum processing capabilities with photonic transmission technologies. These interconnects translate quantum states into optical signals for long-distance transmission while preserving quantum information. The integration allows quantum processors to communicate through established optical network infrastructure. Such hybrid approaches address the challenges of quantum decoherence while leveraging the advantages of photonic transmission for creating scalable quantum networks.
- On-chip optical interconnect technologies: On-chip optical interconnects replace traditional electronic connections between components on integrated circuits. These technologies utilize silicon photonics to create waveguides, micro-ring resonators, and optical modulators directly on semiconductor substrates. They address bandwidth bottlenecks in high-performance computing systems and data centers by enabling higher data transfer rates with lower power consumption. On-chip optical interconnects are crucial for next-generation computing architectures requiring massive parallel data movement.
- Quantum-secure communication protocols for interconnects: Quantum-secure communication protocols leverage quantum properties to create theoretically unhackable interconnect systems. These protocols utilize quantum key distribution (QKD) and post-quantum cryptography to secure data transmission between nodes. They protect against both classical and quantum computing attacks by detecting eavesdropping attempts through quantum measurement principles. Such secure interconnects are essential for sensitive applications in finance, government, and critical infrastructure protection.
02 Photonic integrated circuits for quantum applications
Photonic integrated circuits provide a platform for manipulating light at the quantum level, enabling quantum information processing using photons. These circuits integrate multiple optical components such as waveguides, beam splitters, and phase shifters on a single chip. They support the generation, manipulation, and detection of single photons and entangled photon pairs, which are essential resources for quantum communication and computing. The integration of quantum light sources and detectors on photonic chips enhances scalability and performance.Expand Specific Solutions03 Hybrid quantum-photonic interfaces
Hybrid interfaces bridge quantum systems with photonic networks, allowing for the conversion between stationary qubits and flying qubits. These interfaces enable the transfer of quantum information between different physical implementations of quantum bits, such as from superconducting qubits to optical photons. The technology incorporates electro-optical modulators, frequency converters, and quantum transducers to facilitate efficient quantum state transfer across different platforms. These hybrid systems are crucial for building heterogeneous quantum networks.Expand Specific Solutions04 Optical interconnect technologies for high-speed data transmission
Optical interconnect technologies enable high-bandwidth, low-latency data transmission using light signals instead of electrical signals. These systems incorporate silicon photonics, vertical-cavity surface-emitting lasers (VCSELs), and optical waveguides to transmit data at high speeds with minimal energy consumption. Advanced designs include wavelength division multiplexing to increase bandwidth and optical switching for dynamic routing. These technologies are essential for high-performance computing systems and data centers where traditional electrical interconnects face bandwidth and power limitations.Expand Specific Solutions05 Integrated photonic-electronic systems
Integrated photonic-electronic systems combine the advantages of electronic circuits with photonic components on a single platform. These systems feature co-packaged optics, where optical transceivers are placed in close proximity to electronic processors to reduce latency and power consumption. The integration includes optical modulators, photodetectors, and electronic driver circuits that work together to convert between electrical and optical signals efficiently. Advanced packaging techniques such as 3D integration and silicon interposers enable higher density integration of photonic and electronic components.Expand Specific Solutions
Leading Organizations in Quantum and Photonic Interconnect Development
The quantum and photonic interconnect market is currently in a transitional growth phase, with an estimated market size approaching $1 billion and expected to expand significantly as quantum computing matures. Technologically, photonic interconnects are more mature, with companies like Hewlett Packard Enterprise, Huawei, and NTT leading commercial deployments in data centers. Quantum interconnects remain largely experimental, with PsiQuantum, ORCA Computing, and Quantum Source Labs pioneering development but still facing significant technical challenges in qubit coherence and scalability. Google and research institutions like Tsinghua University and Caltech are advancing both technologies through fundamental research. The competitive landscape shows traditional tech giants investing in photonics while specialized startups focus on quantum innovations, with increasing cross-pollination between these fields as quantum networks emerge.
Huawei Technologies Co., Ltd.
Technical Solution: Huawei has developed a hybrid quantum-photonic interconnect architecture that combines traditional optical communication technologies with quantum-secured data transmission. Their approach integrates quantum key distribution (QKD) into conventional fiber optic networks, enabling quantum-safe communications over existing infrastructure. Huawei's photonic interconnect solutions leverage dense wavelength division multiplexing (DWDM) technology that can simultaneously transmit classical and quantum signals on different wavelengths through the same fiber. For quantum interconnects, Huawei is researching superconducting quantum circuits with microwave interconnects for short-distance, high-fidelity qubit coupling, while developing optical interfaces for long-distance quantum information transfer. Their quantum-photonic integration platform incorporates silicon photonics technology for scalable, chip-based quantum communication systems that can operate at telecom wavelengths[3][4].
Strengths: Strong integration with existing telecom infrastructure; practical implementation of quantum-secured communications in commercial networks; advanced silicon photonics manufacturing capabilities. Weaknesses: Limited demonstration of true quantum entanglement distribution over their network; primarily focused on quantum cryptography rather than full quantum information processing.
PsiQuantum Corp.
Technical Solution: PsiQuantum has developed a photonic quantum computing architecture that inherently leverages photonic interconnects as the foundation of their quantum processing approach. Their technology uses single photons as qubits, which naturally serve as both computational elements and information carriers. PsiQuantum's interconnect strategy employs integrated silicon photonics to create complex optical circuits where quantum information is processed and transmitted using the same photonic infrastructure. Their approach includes on-chip waveguides, beam splitters, phase shifters, and detectors fabricated using modified semiconductor manufacturing processes. This integration enables scalable quantum processing with built-in networking capabilities. PsiQuantum has partnered with GlobalFoundries to manufacture their photonic quantum chips using 300mm semiconductor fabrication techniques, allowing for the integration of millions of photonic components on a single chip. Their interconnect technology supports both local qubit interactions and potential distributed quantum computing across multiple photonic chips[5][6].
Strengths: Inherent compatibility between computing and communication elements; room-temperature operation capability; leverages established semiconductor manufacturing techniques for scalability. Weaknesses: Photon loss remains a significant challenge; requires large numbers of components for fault-tolerance; probabilistic nature of some photonic quantum gates affects computational efficiency.
Critical Technologies in Quantum-Photonic Integration
Superconducting quantum architectures
PatentActiveUS12393856B2
Innovation
- Implementing modular architectures for superconducting quantum processing elements using photonic interconnects, allowing qubits to be interconnected via microwave-optical transducers and optical networks, enabling communications between nonadjacent qubits across multiple chips in two- and three-dimensional configurations.
Photonic interconnect system
PatentInactiveUS7657137B2
Innovation
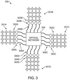
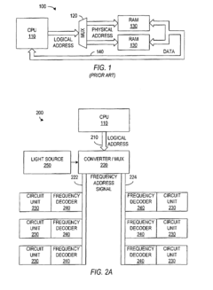
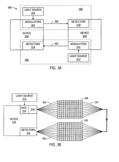
- An optical interconnect system using photonic bandgap crystals, waveguides, and optical signals to reduce the number of interconnect lines by encoding information into frequency channels, allowing each circuit unit to operate on the transmitted information without specific knowledge of physical locations, using modulators, detectors, and wavelength-specific directional couplers at point defects in the crystals.
Standardization Efforts in Quantum Communication Protocols
Standardization efforts in quantum communication protocols have become increasingly critical as quantum technologies transition from laboratory experiments to practical applications. The IEEE Quantum Computing Standards Working Group and the International Telecommunication Union (ITU) have established dedicated focus groups to develop standards for quantum communication protocols, addressing the unique requirements of quantum interconnects compared to conventional photonic interconnects.
The European Telecommunications Standards Institute (ETSI) has made significant progress through its Quantum-Safe Cryptography working group, which focuses on standardizing quantum key distribution (QKD) protocols. These standards aim to ensure interoperability between quantum devices from different manufacturers, a challenge not present in traditional photonic interconnect systems which already benefit from mature standardization.
In contrast to photonic interconnects, quantum communication protocols must address unique phenomena such as quantum entanglement, superposition, and the no-cloning theorem. The Internet Engineering Task Force (IETF) has initiated working groups to develop quantum-resistant network protocols that can operate alongside existing internet infrastructure, creating a bridge between quantum and classical communication systems.
The Quantum Internet Research Group (QIRG) is specifically focused on standardizing protocols for quantum networks, including addressing, routing, and error correction mechanisms tailored to quantum information. These efforts must account for the fundamental differences between quantum interconnects, which are subject to decoherence and measurement-induced collapse, and photonic interconnects, which primarily contend with signal attenuation and dispersion.
Industry consortia such as the Quantum Economic Development Consortium (QED-C) are collaborating with national metrology institutes to establish calibration standards for quantum communication hardware. This includes standardized methods for measuring quantum bit error rates, entanglement fidelity, and secure key rates—metrics that have no direct analogues in conventional photonic interconnect performance evaluation.
The National Institute of Standards and Technology (NIST) has been instrumental in developing post-quantum cryptographic standards that will secure communications in a quantum computing era. These standards complement quantum communication protocols by providing security layers that can protect quantum network control information transmitted over classical channels.
International collaboration through organizations like the International Organization for Standardization (ISO) is essential for global adoption of quantum communication standards. Current efforts focus on creating a layered protocol architecture for quantum networks that can interface with existing OSI and TCP/IP models, facilitating gradual integration of quantum interconnects with established photonic interconnect infrastructure.
The European Telecommunications Standards Institute (ETSI) has made significant progress through its Quantum-Safe Cryptography working group, which focuses on standardizing quantum key distribution (QKD) protocols. These standards aim to ensure interoperability between quantum devices from different manufacturers, a challenge not present in traditional photonic interconnect systems which already benefit from mature standardization.
In contrast to photonic interconnects, quantum communication protocols must address unique phenomena such as quantum entanglement, superposition, and the no-cloning theorem. The Internet Engineering Task Force (IETF) has initiated working groups to develop quantum-resistant network protocols that can operate alongside existing internet infrastructure, creating a bridge between quantum and classical communication systems.
The Quantum Internet Research Group (QIRG) is specifically focused on standardizing protocols for quantum networks, including addressing, routing, and error correction mechanisms tailored to quantum information. These efforts must account for the fundamental differences between quantum interconnects, which are subject to decoherence and measurement-induced collapse, and photonic interconnects, which primarily contend with signal attenuation and dispersion.
Industry consortia such as the Quantum Economic Development Consortium (QED-C) are collaborating with national metrology institutes to establish calibration standards for quantum communication hardware. This includes standardized methods for measuring quantum bit error rates, entanglement fidelity, and secure key rates—metrics that have no direct analogues in conventional photonic interconnect performance evaluation.
The National Institute of Standards and Technology (NIST) has been instrumental in developing post-quantum cryptographic standards that will secure communications in a quantum computing era. These standards complement quantum communication protocols by providing security layers that can protect quantum network control information transmitted over classical channels.
International collaboration through organizations like the International Organization for Standardization (ISO) is essential for global adoption of quantum communication standards. Current efforts focus on creating a layered protocol architecture for quantum networks that can interface with existing OSI and TCP/IP models, facilitating gradual integration of quantum interconnects with established photonic interconnect infrastructure.
Energy Efficiency Analysis of Competing Interconnect Technologies
Energy efficiency has emerged as a critical factor in the evaluation of interconnect technologies, particularly when comparing quantum and photonic approaches. Quantum interconnects, leveraging quantum entanglement and superposition principles, demonstrate theoretical advantages in information density transmission with minimal energy requirements. The energy cost per qubit transmission can be orders of magnitude lower than classical bit transmission when accounting for the information capacity of quantum states.
Photonic interconnects, meanwhile, have established a strong position in energy efficiency metrics within classical computing paradigms. Current photonic technologies operate at approximately 1-10 pJ/bit, representing significant improvements over traditional electronic interconnects. The absence of resistive heating and reduced signal degradation contribute substantially to this efficiency profile.
Comparative analysis reveals that quantum interconnects potentially offer superior theoretical energy efficiency but face substantial practical challenges in implementation. Quantum systems currently require extensive cooling infrastructure, with many quantum processors operating at near-absolute zero temperatures. The energy overhead for maintaining these conditions significantly impacts the total energy efficiency calculation, often negating the theoretical advantages in practical deployments.
Photonic systems demonstrate more immediate practical efficiency benefits, particularly in data center environments where interconnect energy consumption represents 15-30% of total power usage. Recent advancements in silicon photonics have further reduced energy requirements to sub-picojoule levels per bit transmitted, with integrated laser sources showing particular promise.
The energy scaling properties of these technologies differ substantially. Quantum interconnects exhibit potentially favorable scaling characteristics as transmission distances increase, maintaining coherence with relatively constant energy costs. Photonic systems, while efficient, still experience some distance-dependent energy penalties, though these are significantly lower than electronic alternatives.
System-level energy considerations reveal that quantum interconnects currently impose substantial peripheral energy costs beyond the core transmission mechanisms. Conversely, photonic technologies have achieved greater integration with existing computing infrastructure, reducing overall system energy requirements through optimized interfaces and protocols.
Future projections suggest that room-temperature quantum technologies could dramatically alter this comparison, potentially eliminating the cooling overhead that currently limits quantum interconnect energy efficiency. Similarly, advances in photonic material science and manufacturing techniques continue to drive improvements in light generation, modulation, and detection efficiencies.
Photonic interconnects, meanwhile, have established a strong position in energy efficiency metrics within classical computing paradigms. Current photonic technologies operate at approximately 1-10 pJ/bit, representing significant improvements over traditional electronic interconnects. The absence of resistive heating and reduced signal degradation contribute substantially to this efficiency profile.
Comparative analysis reveals that quantum interconnects potentially offer superior theoretical energy efficiency but face substantial practical challenges in implementation. Quantum systems currently require extensive cooling infrastructure, with many quantum processors operating at near-absolute zero temperatures. The energy overhead for maintaining these conditions significantly impacts the total energy efficiency calculation, often negating the theoretical advantages in practical deployments.
Photonic systems demonstrate more immediate practical efficiency benefits, particularly in data center environments where interconnect energy consumption represents 15-30% of total power usage. Recent advancements in silicon photonics have further reduced energy requirements to sub-picojoule levels per bit transmitted, with integrated laser sources showing particular promise.
The energy scaling properties of these technologies differ substantially. Quantum interconnects exhibit potentially favorable scaling characteristics as transmission distances increase, maintaining coherence with relatively constant energy costs. Photonic systems, while efficient, still experience some distance-dependent energy penalties, though these are significantly lower than electronic alternatives.
System-level energy considerations reveal that quantum interconnects currently impose substantial peripheral energy costs beyond the core transmission mechanisms. Conversely, photonic technologies have achieved greater integration with existing computing infrastructure, reducing overall system energy requirements through optimized interfaces and protocols.
Future projections suggest that room-temperature quantum technologies could dramatically alter this comparison, potentially eliminating the cooling overhead that currently limits quantum interconnect energy efficiency. Similarly, advances in photonic material science and manufacturing techniques continue to drive improvements in light generation, modulation, and detection efficiencies.
Unlock deeper insights with Patsnap Eureka Quick Research — get a full tech report to explore trends and direct your research. Try now!
Generate Your Research Report Instantly with AI Agent
Supercharge your innovation with Patsnap Eureka AI Agent Platform!







