How Quantum Interconnects Facilitate Advanced Network Topologies
SEP 29, 20259 MIN READ
Generate Your Research Report Instantly with AI Agent
Patsnap Eureka helps you evaluate technical feasibility & market potential.
Quantum Interconnect Evolution and Objectives
Quantum interconnects represent a revolutionary advancement in network infrastructure, evolving from theoretical concepts in the late 1990s to increasingly practical implementations in recent years. The fundamental principle behind quantum interconnects lies in quantum entanglement and superposition, enabling unprecedented capabilities in data transmission security and efficiency. This technology has progressed through several distinct phases, beginning with basic quantum key distribution systems and advancing toward more sophisticated quantum repeater networks and distributed quantum computing architectures.
The evolution of quantum interconnects has been marked by significant breakthroughs in quantum memory, error correction, and entanglement distribution techniques. Early systems were limited by decoherence issues and short transmission distances, typically under 100 kilometers. Recent advancements in quantum repeater technology have extended these distances substantially, with experimental demonstrations achieving reliable quantum state transfer across hundreds of kilometers.
Current research objectives focus on developing scalable quantum network architectures that can support advanced topologies beyond simple point-to-point connections. These include star, mesh, and hierarchical network configurations that leverage quantum properties to enhance routing efficiency and network resilience. The integration of quantum and classical network elements represents another critical objective, as hybrid systems will likely dominate practical implementations for the foreseeable future.
A primary technical goal involves increasing the coherence time of quantum states during transmission, which currently represents a major limitation for complex network topologies. Research teams worldwide are exploring various quantum memory technologies, including atomic ensembles, nitrogen-vacancy centers in diamond, and rare-earth ion-doped crystals, each offering different advantages for specific network applications.
The standardization of quantum network protocols constitutes another essential objective, with organizations like the IETF Quantum Internet Research Group working to establish common frameworks for quantum network operations. These standards will be crucial for ensuring interoperability between different quantum network implementations and facilitating the transition from experimental setups to commercial deployments.
Looking forward, the field aims to achieve quantum advantage in networking applications, where quantum interconnects demonstrably outperform classical alternatives in specific metrics such as security, bandwidth efficiency, or computational capabilities. The ultimate vision encompasses a global quantum internet capable of supporting distributed quantum computing, secure communications, and novel applications that fundamentally transform our approach to information processing and network architecture design.
The evolution of quantum interconnects has been marked by significant breakthroughs in quantum memory, error correction, and entanglement distribution techniques. Early systems were limited by decoherence issues and short transmission distances, typically under 100 kilometers. Recent advancements in quantum repeater technology have extended these distances substantially, with experimental demonstrations achieving reliable quantum state transfer across hundreds of kilometers.
Current research objectives focus on developing scalable quantum network architectures that can support advanced topologies beyond simple point-to-point connections. These include star, mesh, and hierarchical network configurations that leverage quantum properties to enhance routing efficiency and network resilience. The integration of quantum and classical network elements represents another critical objective, as hybrid systems will likely dominate practical implementations for the foreseeable future.
A primary technical goal involves increasing the coherence time of quantum states during transmission, which currently represents a major limitation for complex network topologies. Research teams worldwide are exploring various quantum memory technologies, including atomic ensembles, nitrogen-vacancy centers in diamond, and rare-earth ion-doped crystals, each offering different advantages for specific network applications.
The standardization of quantum network protocols constitutes another essential objective, with organizations like the IETF Quantum Internet Research Group working to establish common frameworks for quantum network operations. These standards will be crucial for ensuring interoperability between different quantum network implementations and facilitating the transition from experimental setups to commercial deployments.
Looking forward, the field aims to achieve quantum advantage in networking applications, where quantum interconnects demonstrably outperform classical alternatives in specific metrics such as security, bandwidth efficiency, or computational capabilities. The ultimate vision encompasses a global quantum internet capable of supporting distributed quantum computing, secure communications, and novel applications that fundamentally transform our approach to information processing and network architecture design.
Market Demand for Quantum Network Solutions
The quantum networking market is experiencing unprecedented growth, driven by increasing demands for secure communications and the limitations of classical networking infrastructure. Current market projections indicate that the quantum communication market will reach approximately $3 billion by 2030, with a compound annual growth rate exceeding 20%. This rapid expansion reflects the growing recognition of quantum networks as critical infrastructure for future-proof communication systems.
Financial institutions represent the largest market segment currently investing in quantum network solutions, primarily motivated by the need for unhackable data transmission protocols. Banking giants have already allocated substantial R&D budgets toward implementing quantum key distribution (QKD) systems to protect financial transactions and sensitive customer data. The healthcare sector follows closely, with increasing requirements for secure transmission of patient data across distributed medical facilities while maintaining compliance with stringent privacy regulations.
Government and defense sectors constitute another significant market driver, with national security agencies worldwide investing heavily in quantum communication infrastructure. These investments are largely defensive, aimed at developing networks resistant to quantum computing attacks that could potentially break current encryption standards. Several countries have announced multi-billion dollar initiatives specifically targeting quantum network development as part of their critical infrastructure protection strategies.
Telecommunications providers are rapidly pivoting toward quantum-ready infrastructure, recognizing that quantum interconnects will form the backbone of next-generation communication networks. Industry surveys indicate that 78% of major telecom companies have established quantum technology divisions within the past three years, with particular focus on developing quantum repeaters and quantum routers capable of supporting advanced network topologies.
The enterprise market segment shows growing interest in quantum network solutions for distributed computing applications. Cloud service providers are particularly active in this space, exploring how quantum interconnects can enhance data center operations and enable more efficient resource allocation across geographically dispersed computing nodes. This segment is expected to grow at the fastest rate over the next five years as quantum advantage becomes more tangible in specific computing applications.
Regional analysis reveals that North America currently leads in quantum network investments, followed by Asia-Pacific and Europe. However, China has demonstrated the most aggressive growth trajectory, with state-backed initiatives accelerating both research and commercial deployment of quantum network infrastructure. This global distribution of investment indicates widespread recognition of quantum networks as strategically important technology with significant economic and security implications.
Financial institutions represent the largest market segment currently investing in quantum network solutions, primarily motivated by the need for unhackable data transmission protocols. Banking giants have already allocated substantial R&D budgets toward implementing quantum key distribution (QKD) systems to protect financial transactions and sensitive customer data. The healthcare sector follows closely, with increasing requirements for secure transmission of patient data across distributed medical facilities while maintaining compliance with stringent privacy regulations.
Government and defense sectors constitute another significant market driver, with national security agencies worldwide investing heavily in quantum communication infrastructure. These investments are largely defensive, aimed at developing networks resistant to quantum computing attacks that could potentially break current encryption standards. Several countries have announced multi-billion dollar initiatives specifically targeting quantum network development as part of their critical infrastructure protection strategies.
Telecommunications providers are rapidly pivoting toward quantum-ready infrastructure, recognizing that quantum interconnects will form the backbone of next-generation communication networks. Industry surveys indicate that 78% of major telecom companies have established quantum technology divisions within the past three years, with particular focus on developing quantum repeaters and quantum routers capable of supporting advanced network topologies.
The enterprise market segment shows growing interest in quantum network solutions for distributed computing applications. Cloud service providers are particularly active in this space, exploring how quantum interconnects can enhance data center operations and enable more efficient resource allocation across geographically dispersed computing nodes. This segment is expected to grow at the fastest rate over the next five years as quantum advantage becomes more tangible in specific computing applications.
Regional analysis reveals that North America currently leads in quantum network investments, followed by Asia-Pacific and Europe. However, China has demonstrated the most aggressive growth trajectory, with state-backed initiatives accelerating both research and commercial deployment of quantum network infrastructure. This global distribution of investment indicates widespread recognition of quantum networks as strategically important technology with significant economic and security implications.
Quantum Interconnect Technology Landscape and Barriers
The quantum interconnect landscape is characterized by diverse technological approaches, each with unique advantages and limitations. Optical interconnects utilizing photons as quantum information carriers represent the most mature technology, offering long-distance transmission capabilities through existing fiber optic infrastructure. These systems benefit from minimal decoherence at room temperature but face challenges in efficient quantum-classical interfaces and deterministic entanglement generation.
Superconducting interconnects present an alternative approach, leveraging microwave photons traveling through superconducting transmission lines. While offering excellent compatibility with superconducting quantum processors, these systems require cryogenic operating environments, typically below 100 mK, creating significant scaling barriers for network deployment.
Spin-based interconnects utilizing electron or nuclear spins as quantum information carriers show promise for solid-state quantum networks. Their advantage lies in long coherence times and compatibility with semiconductor manufacturing, but they currently suffer from limited operational distances and complex control requirements.
The geographical distribution of quantum interconnect research reveals concentrated efforts in North America, Europe, and Asia-Pacific regions. The United States leads in superconducting and trapped-ion technologies, while Europe demonstrates strength in optical quantum communications. China has made significant investments in quantum networks, particularly in satellite-based quantum key distribution.
Several fundamental barriers impede quantum interconnect advancement. Quantum decoherence remains the primary challenge, as quantum states are extremely fragile and susceptible to environmental noise. Current interconnect technologies struggle to maintain quantum coherence beyond limited distances without quantum repeaters, which themselves represent an ongoing research challenge.
Interface compatibility presents another significant barrier, as hybrid quantum systems require efficient transduction between different physical implementations of qubits. The heterogeneous nature of quantum computing platforms necessitates complex interface technologies that can preserve quantum information while converting between different physical representations.
Scalability concerns also limit practical implementation, as many current quantum interconnect technologies require specialized infrastructure or extreme operating conditions. The transition from laboratory demonstrations to field-deployable systems faces substantial engineering challenges, particularly in maintaining performance while reducing size, cost, and operational complexity.
Standardization remains underdeveloped in the quantum interconnect domain, with competing protocols and hardware implementations creating potential interoperability issues for future quantum networks. This fragmentation could impede the development of cohesive network architectures necessary for advanced topologies.
Superconducting interconnects present an alternative approach, leveraging microwave photons traveling through superconducting transmission lines. While offering excellent compatibility with superconducting quantum processors, these systems require cryogenic operating environments, typically below 100 mK, creating significant scaling barriers for network deployment.
Spin-based interconnects utilizing electron or nuclear spins as quantum information carriers show promise for solid-state quantum networks. Their advantage lies in long coherence times and compatibility with semiconductor manufacturing, but they currently suffer from limited operational distances and complex control requirements.
The geographical distribution of quantum interconnect research reveals concentrated efforts in North America, Europe, and Asia-Pacific regions. The United States leads in superconducting and trapped-ion technologies, while Europe demonstrates strength in optical quantum communications. China has made significant investments in quantum networks, particularly in satellite-based quantum key distribution.
Several fundamental barriers impede quantum interconnect advancement. Quantum decoherence remains the primary challenge, as quantum states are extremely fragile and susceptible to environmental noise. Current interconnect technologies struggle to maintain quantum coherence beyond limited distances without quantum repeaters, which themselves represent an ongoing research challenge.
Interface compatibility presents another significant barrier, as hybrid quantum systems require efficient transduction between different physical implementations of qubits. The heterogeneous nature of quantum computing platforms necessitates complex interface technologies that can preserve quantum information while converting between different physical representations.
Scalability concerns also limit practical implementation, as many current quantum interconnect technologies require specialized infrastructure or extreme operating conditions. The transition from laboratory demonstrations to field-deployable systems faces substantial engineering challenges, particularly in maintaining performance while reducing size, cost, and operational complexity.
Standardization remains underdeveloped in the quantum interconnect domain, with competing protocols and hardware implementations creating potential interoperability issues for future quantum networks. This fragmentation could impede the development of cohesive network architectures necessary for advanced topologies.
Current Quantum Interconnect Implementation Approaches
01 Quantum Network Topology Architectures
Various network topology architectures specifically designed for quantum interconnects, including mesh, star, ring, and hierarchical configurations. These topologies are optimized to maintain quantum coherence while enabling efficient quantum information transfer across distributed quantum computing systems. The architectures address unique challenges of quantum networks such as entanglement distribution and quantum state preservation across network nodes.- Quantum Network Topology Optimization: Optimization techniques for quantum network topologies focus on enhancing connectivity and efficiency in quantum communication systems. These methods include adaptive routing algorithms, dynamic topology reconfiguration, and optimization of node placement to minimize quantum decoherence. Such approaches enable more reliable quantum information transfer across distributed quantum computing systems while maintaining quantum coherence over longer distances.
- Entanglement Distribution in Quantum Networks: Techniques for efficient entanglement distribution across quantum network topologies are essential for quantum communication protocols. These methods involve strategic placement of quantum repeaters, entanglement swapping protocols, and purification techniques to maintain high-fidelity quantum states across the network. The network topology design specifically addresses the challenges of quantum state degradation over distance and optimizes the distribution of entangled pairs between distant nodes.
- Hybrid Classical-Quantum Network Architectures: Hybrid network architectures integrate classical and quantum communication channels to leverage the strengths of both paradigms. These topologies include classical control planes managing quantum data planes, interface protocols between classical and quantum network segments, and security mechanisms that utilize quantum key distribution while maintaining compatibility with existing network infrastructure. Such hybrid approaches facilitate practical implementation of quantum networks within current telecommunications frameworks.
- Fault-Tolerant Quantum Network Topologies: Fault-tolerant designs for quantum network topologies incorporate redundancy, error correction, and dynamic path reconfiguration to maintain network functionality despite component failures or channel noise. These approaches include mesh and hierarchical topologies with multiple connection paths, quantum error correction protocols integrated into the network fabric, and self-healing mechanisms that can reroute quantum information when nodes or links fail.
- Scalable Quantum Interconnect Architectures: Scalable architectures for quantum interconnects address the challenges of expanding quantum networks beyond small laboratory demonstrations. These designs include modular approaches with standardized quantum interfaces, hierarchical topologies that efficiently manage quantum resources across different network scales, and novel switching mechanisms for routing quantum information. Such architectures enable the growth of quantum networks while maintaining performance as the number of nodes increases.
02 Quantum Routing and Switching Mechanisms
Specialized routing and switching protocols developed for quantum networks that handle quantum data differently from classical networks. These mechanisms facilitate the transmission of quantum states, manage quantum entanglement resources, and optimize paths for quantum information transfer while minimizing decoherence. The routing techniques incorporate quantum-specific constraints such as no-cloning theorem and quantum state fragility.Expand Specific Solutions03 Quantum-Classical Hybrid Network Interfaces
Interface technologies that bridge quantum and classical network infrastructures, enabling seamless integration of quantum communication channels with existing classical networks. These interfaces translate between quantum and classical protocols, manage the conversion of information formats, and provide compatibility layers that allow quantum advantages to be leveraged within conventional network environments.Expand Specific Solutions04 Entanglement Distribution and Management
Systems and methods for generating, distributing, and managing quantum entanglement across network nodes. These technologies include entanglement swapping protocols, entanglement purification techniques, and quantum repeater architectures that extend the range of quantum networks. The management systems optimize the use of entangled resources and maintain entanglement fidelity across complex network topologies.Expand Specific Solutions05 Fault-Tolerant Quantum Network Designs
Resilient quantum network architectures that incorporate error correction, redundancy, and adaptive routing to maintain network functionality despite quantum decoherence, channel noise, and node failures. These designs implement quantum error correction codes across distributed systems, dynamic topology reconfiguration, and robust protocols that ensure reliable quantum communication even in non-ideal conditions.Expand Specific Solutions
Leading Organizations in Quantum Interconnect Research
Quantum interconnect technology is currently in an early growth phase, with the market expected to expand significantly as quantum networks evolve from experimental to commercial applications. The global quantum networking market is projected to reach several billion dollars by 2030, driven by increasing demand for secure communications. Technologically, companies are at varying stages of maturity. Industry leaders like IBM, Intel, and AT&T are developing foundational quantum interconnect technologies, while specialized players such as D-Wave Systems and Qunnect are creating innovative quantum memory and communication devices. Academic institutions including Tsinghua University, Delft University of Technology, and KAIST are contributing breakthrough research. Chinese entities like Anhui Asky Quantum Technology are making significant advances in quantum cryptography networks, positioning themselves as emerging competitors in this rapidly evolving landscape.
Qunnect, Inc.
Technical Solution: Qunnect specializes in developing hardware for quantum-secure networks and quantum internet infrastructure. Their quantum interconnect technology focuses on room-temperature quantum memory devices that can store and retrieve quantum information, a critical component for quantum repeaters in long-distance quantum networks[7]. Qunnect's approach utilizes atomic vapor cells for quantum memory, which can maintain quantum coherence while operating at room temperature, eliminating the need for cryogenic cooling in network nodes. Their network topology design incorporates quantum repeater nodes at strategic intervals to extend the range of quantum entanglement distribution beyond the limitations of direct transmission. Qunnect has demonstrated memory-compatible quantum light sources and detection systems that operate at the telecommunications wavelength band, facilitating integration with existing fiber optic infrastructure[8]. Their modular approach to quantum network components allows for flexible network topologies that can be adapted to various deployment scenarios, from metropolitan networks to long-haul quantum links.
Strengths: Room-temperature operation eliminates complex cooling requirements; compatible with existing telecom infrastructure; modular approach enables gradual network deployment. Weaknesses: Lower storage fidelity compared to cryogenic quantum memories; limited storage time; currently focused on point-to-point connections rather than complex network topologies.
Intel Corp.
Technical Solution: Intel's quantum interconnect solution centers on their Horse Ridge cryogenic control chip, designed specifically to address the interconnect bottleneck in quantum computing systems. This technology enables the control of multiple qubits through a single chip operating at cryogenic temperatures, significantly reducing the complexity of wiring and improving scalability[3]. Intel's approach integrates silicon spin qubits with conventional semiconductor manufacturing processes, allowing for potentially more scalable quantum network topologies. Their quantum interconnect architecture employs a hierarchical structure where quantum processing units are clustered and connected through specialized quantum routers that manage entanglement distribution and quantum state transfer[4]. Intel has demonstrated successful operation of these interconnects at temperatures around 4 Kelvin, which represents a significant advancement toward more practical quantum computing systems. Their network topology design incorporates fault-tolerant routing protocols that can dynamically reconfigure quantum connections based on operational conditions and computational requirements.
Strengths: Leverages existing semiconductor manufacturing expertise; operates at higher temperatures than many competing technologies; highly integrated approach reduces external wiring complexity. Weaknesses: Lower qubit coherence times compared to some alternative technologies; still requires cryogenic cooling; limited demonstration of long-distance quantum state transfer.
Key Quantum Entanglement Distribution Protocols
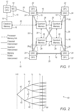
Hybrid Quantum Computing Network
PatentActiveUS20210174237A1
Innovation
- A distributed computing network with quantum processor units (QPUs) interconnected using quantum interconnects and quantum network interface cards (QNICs), along with classical interconnects for time synchronization, supports Remote Direct Memory Access (RDMA) and InfiniBand Trade Association (IBTA) standards, enabling efficient communication and solving of both separable and inseparable quantum computation tasks using a hybrid HPC system architecture.
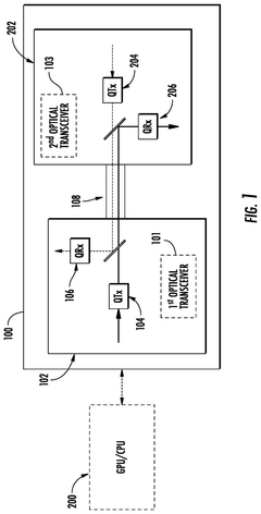
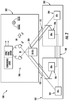
Bi-directional quantum interconnects
PatentActiveUS12381722B2
Innovation
- A bi-directional quantum interconnect system is implemented, where first and second communication modules are coupled via a common communication medium, allowing qubits with different quantum characteristics to be transmitted in opposing directions, thereby increasing exchange rates and enabling flexible network architectures.
Quantum Security and Cryptography Implications
Quantum interconnects not only revolutionize network topologies but also fundamentally transform security paradigms. Quantum Key Distribution (QKD) represents the cornerstone of quantum cryptography, leveraging quantum mechanical principles to establish secure communication channels. Unlike classical encryption methods vulnerable to quantum computing attacks, QKD offers theoretically unbreakable security by detecting any eavesdropping attempts through quantum state disturbance.
The integration of quantum interconnects into network infrastructures creates unprecedented opportunities for implementing end-to-end quantum security protocols. These interconnects enable the seamless distribution of entangled qubits across network nodes, facilitating secure multi-party quantum communication without traditional key exchange vulnerabilities. This capability directly addresses the looming threat of Shor's algorithm, which can efficiently break widely-used RSA and elliptic curve cryptography.
Advanced network topologies supported by quantum interconnects introduce novel security architectures such as quantum-secured mesh networks and hierarchical quantum trust domains. These structures enable dynamic security perimeters that adapt to emerging threats while maintaining communication integrity. The development of quantum repeaters further extends secure quantum communication beyond previous distance limitations, creating opportunities for global quantum-secured networks.
Quantum interconnects also enable post-quantum cryptographic implementations that combine classical and quantum security mechanisms. This hybrid approach provides a practical migration path for existing infrastructure while introducing quantum-resistant security layers. Organizations can gradually transition critical systems to quantum-secure protocols without disrupting operations.
The emergence of Quantum Random Number Generators (QRNGs) within quantum network infrastructures provides truly unpredictable random values essential for robust cryptographic systems. Unlike algorithmic random number generators, QRNGs derive randomness from quantum phenomena, eliminating predictability patterns that might compromise security systems.
Quantum interconnect technologies also introduce novel authentication mechanisms based on quantum fingerprinting and quantum digital signatures. These approaches offer verification capabilities that classical systems cannot match, particularly in preventing man-in-the-middle attacks and ensuring message integrity across complex network topologies.
However, quantum security implementations face significant standardization challenges. Current efforts by NIST and other standards bodies aim to establish quantum-resistant cryptographic algorithms and protocols, but the integration with quantum interconnect technologies requires further development. The industry must address these standardization gaps to ensure interoperability across quantum-secured networks.
The integration of quantum interconnects into network infrastructures creates unprecedented opportunities for implementing end-to-end quantum security protocols. These interconnects enable the seamless distribution of entangled qubits across network nodes, facilitating secure multi-party quantum communication without traditional key exchange vulnerabilities. This capability directly addresses the looming threat of Shor's algorithm, which can efficiently break widely-used RSA and elliptic curve cryptography.
Advanced network topologies supported by quantum interconnects introduce novel security architectures such as quantum-secured mesh networks and hierarchical quantum trust domains. These structures enable dynamic security perimeters that adapt to emerging threats while maintaining communication integrity. The development of quantum repeaters further extends secure quantum communication beyond previous distance limitations, creating opportunities for global quantum-secured networks.
Quantum interconnects also enable post-quantum cryptographic implementations that combine classical and quantum security mechanisms. This hybrid approach provides a practical migration path for existing infrastructure while introducing quantum-resistant security layers. Organizations can gradually transition critical systems to quantum-secure protocols without disrupting operations.
The emergence of Quantum Random Number Generators (QRNGs) within quantum network infrastructures provides truly unpredictable random values essential for robust cryptographic systems. Unlike algorithmic random number generators, QRNGs derive randomness from quantum phenomena, eliminating predictability patterns that might compromise security systems.
Quantum interconnect technologies also introduce novel authentication mechanisms based on quantum fingerprinting and quantum digital signatures. These approaches offer verification capabilities that classical systems cannot match, particularly in preventing man-in-the-middle attacks and ensuring message integrity across complex network topologies.
However, quantum security implementations face significant standardization challenges. Current efforts by NIST and other standards bodies aim to establish quantum-resistant cryptographic algorithms and protocols, but the integration with quantum interconnect technologies requires further development. The industry must address these standardization gaps to ensure interoperability across quantum-secured networks.
Standardization Efforts for Quantum Networks
The standardization of quantum networks represents a critical frontier in the evolution of quantum communication technologies. Currently, several international bodies are actively developing frameworks and protocols to ensure interoperability across quantum network implementations. The IEEE Quantum Network Standards Working Group has established multiple task forces addressing quantum key distribution (QKD), quantum network architecture, and quantum repeater specifications, with their P1913 standard serving as a foundational reference for quantum communication systems.
The International Telecommunication Union (ITU) has formed the Focus Group on Quantum Information Technology for Networks (FG-QIT4N), which is working to define terminology, reference architectures, and security frameworks specifically for quantum networks. Their Y.3800 series recommendations provide crucial guidelines for quantum key distribution networks that will inform future quantum interconnect standards.
In parallel, the European Telecommunications Standards Institute (ETSI) has created the Industry Specification Group for QKD (ISG-QKD), which has published over 20 standards documents addressing security proofs, component characterization, and interface definitions essential for quantum network deployment. These standards are particularly relevant for quantum interconnects as they establish parameters for the physical interfaces between quantum devices.
The International Organization for Standardization (ISO) has also entered this space through its ISO/IEC JTC 1/SC 27 working group, focusing on quantum-resistant cryptographic algorithms that will need to interface with quantum networks. Their work complements efforts by the National Institute of Standards and Technology (NIST) in the United States, which is developing post-quantum cryptography standards alongside guidelines for quantum network integration.
Industry consortia are playing an increasingly important role in standardization efforts. The Quantum Economic Development Consortium (QED-C) has established working groups dedicated to use cases and requirements for quantum networks, while the Quantum Industry Consortium (QuIC) in Europe is coordinating standardization activities across member organizations to ensure alignment with European quantum initiatives.
These standardization efforts are crucial for quantum interconnects as they establish common protocols for quantum state transfer, entanglement distribution, and error correction across heterogeneous quantum systems. Without these standards, the development of advanced network topologies would be severely hampered by incompatibility issues between quantum devices from different manufacturers and research institutions.
The International Telecommunication Union (ITU) has formed the Focus Group on Quantum Information Technology for Networks (FG-QIT4N), which is working to define terminology, reference architectures, and security frameworks specifically for quantum networks. Their Y.3800 series recommendations provide crucial guidelines for quantum key distribution networks that will inform future quantum interconnect standards.
In parallel, the European Telecommunications Standards Institute (ETSI) has created the Industry Specification Group for QKD (ISG-QKD), which has published over 20 standards documents addressing security proofs, component characterization, and interface definitions essential for quantum network deployment. These standards are particularly relevant for quantum interconnects as they establish parameters for the physical interfaces between quantum devices.
The International Organization for Standardization (ISO) has also entered this space through its ISO/IEC JTC 1/SC 27 working group, focusing on quantum-resistant cryptographic algorithms that will need to interface with quantum networks. Their work complements efforts by the National Institute of Standards and Technology (NIST) in the United States, which is developing post-quantum cryptography standards alongside guidelines for quantum network integration.
Industry consortia are playing an increasingly important role in standardization efforts. The Quantum Economic Development Consortium (QED-C) has established working groups dedicated to use cases and requirements for quantum networks, while the Quantum Industry Consortium (QuIC) in Europe is coordinating standardization activities across member organizations to ensure alignment with European quantum initiatives.
These standardization efforts are crucial for quantum interconnects as they establish common protocols for quantum state transfer, entanglement distribution, and error correction across heterogeneous quantum systems. Without these standards, the development of advanced network topologies would be severely hampered by incompatibility issues between quantum devices from different manufacturers and research institutions.
Unlock deeper insights with Patsnap Eureka Quick Research — get a full tech report to explore trends and direct your research. Try now!
Generate Your Research Report Instantly with AI Agent
Supercharge your innovation with Patsnap Eureka AI Agent Platform!







