The Synergy of Quantum Interconnects and Virtual Reality Platforms
SEP 29, 20259 MIN READ
Generate Your Research Report Instantly with AI Agent
Patsnap Eureka helps you evaluate technical feasibility & market potential.
Quantum-VR Integration Background and Objectives
The convergence of quantum computing and virtual reality represents one of the most promising technological frontiers of the 21st century. Quantum interconnects—the communication channels that link quantum processing units—have evolved significantly since their theoretical conception in the early 2000s. Initially limited by decoherence challenges and transmission losses, recent breakthroughs in quantum repeaters and entanglement distribution have dramatically extended their operational capabilities, enabling more robust quantum networks.
Virtual reality platforms have simultaneously undergone their own revolution, progressing from rudimentary stereoscopic displays to sophisticated immersive environments with advanced haptic feedback systems. The trajectory of VR development has consistently aimed toward greater realism and computational efficiency, with rendering techniques and user interface paradigms evolving to create increasingly convincing digital experiences.
The integration of these two technologies presents unprecedented opportunities for computational advancement. Quantum interconnects offer the potential to overcome classical bandwidth limitations that currently constrain VR experiences, while VR platforms provide an intuitive interface for visualizing and manipulating complex quantum phenomena that are otherwise abstract and counterintuitive.
The primary objective of this technological synergy is to establish a bidirectional relationship where quantum systems enhance VR capabilities through superior computational power, while VR environments facilitate quantum algorithm development and quantum system control through intuitive visualization frameworks. This symbiotic relationship aims to transcend current computational paradigms and create entirely new application domains.
Secondary objectives include developing quantum-enhanced rendering algorithms that leverage quantum parallelism for real-time physics simulations in VR environments, creating quantum-secure communication protocols for multi-user VR experiences, and establishing standards for quantum-classical interfaces that optimize information transfer between quantum processors and classical VR systems.
The long-term technological vision encompasses fully distributed quantum-VR networks where users can interact with quantum simulations in collaborative virtual spaces, enabling unprecedented educational, scientific, and entertainment applications. This vision aligns with broader trends toward quantum internet development and increasingly immersive digital experiences.
Understanding the historical context and setting clear objectives for quantum-VR integration provides essential groundwork for evaluating current technological capabilities, identifying key challenges, and formulating strategic research directions that will define this emerging field's development trajectory.
Virtual reality platforms have simultaneously undergone their own revolution, progressing from rudimentary stereoscopic displays to sophisticated immersive environments with advanced haptic feedback systems. The trajectory of VR development has consistently aimed toward greater realism and computational efficiency, with rendering techniques and user interface paradigms evolving to create increasingly convincing digital experiences.
The integration of these two technologies presents unprecedented opportunities for computational advancement. Quantum interconnects offer the potential to overcome classical bandwidth limitations that currently constrain VR experiences, while VR platforms provide an intuitive interface for visualizing and manipulating complex quantum phenomena that are otherwise abstract and counterintuitive.
The primary objective of this technological synergy is to establish a bidirectional relationship where quantum systems enhance VR capabilities through superior computational power, while VR environments facilitate quantum algorithm development and quantum system control through intuitive visualization frameworks. This symbiotic relationship aims to transcend current computational paradigms and create entirely new application domains.
Secondary objectives include developing quantum-enhanced rendering algorithms that leverage quantum parallelism for real-time physics simulations in VR environments, creating quantum-secure communication protocols for multi-user VR experiences, and establishing standards for quantum-classical interfaces that optimize information transfer between quantum processors and classical VR systems.
The long-term technological vision encompasses fully distributed quantum-VR networks where users can interact with quantum simulations in collaborative virtual spaces, enabling unprecedented educational, scientific, and entertainment applications. This vision aligns with broader trends toward quantum internet development and increasingly immersive digital experiences.
Understanding the historical context and setting clear objectives for quantum-VR integration provides essential groundwork for evaluating current technological capabilities, identifying key challenges, and formulating strategic research directions that will define this emerging field's development trajectory.
Market Analysis for Quantum-Enhanced VR Applications
The quantum-enhanced virtual reality market is experiencing unprecedented growth, driven by the convergence of quantum computing technologies and immersive virtual environments. Current market projections indicate that the global quantum computing market will reach $1.7 billion by 2026, while the VR market is expected to grow to $62.1 billion in the same timeframe. The intersection of these technologies creates a specialized niche with significant growth potential.
Consumer demand for more immersive and responsive VR experiences is creating market pull for quantum-enhanced solutions. Traditional VR platforms suffer from latency issues, limited processing power, and restricted simulation capabilities. Quantum interconnects offer potential solutions to these limitations, particularly in rendering complex environments and supporting multi-user interactions with minimal latency.
Enterprise adoption represents the most immediate market opportunity. Industries including healthcare, aerospace, automotive design, and pharmaceutical research are actively exploring quantum-enhanced VR for complex simulations and data visualization. The healthcare segment alone is projected to adopt quantum-VR solutions at a compound annual growth rate of 27.3% through 2028, primarily for surgical training and medical imaging applications.
Geographic distribution of market demand shows concentration in North America (42%), Asia-Pacific (31%), and Europe (22%), with emerging markets accounting for the remaining 5%. This distribution closely follows quantum computing infrastructure development patterns, suggesting that market growth will initially be constrained by access to quantum resources.
Investment trends reveal increasing venture capital interest, with $1.2 billion invested in quantum-VR startups over the past three years. Major technology corporations including Google, Microsoft, IBM, and Meta have established dedicated quantum-VR research divisions, signaling strong corporate confidence in market viability.
Consumer pricing sensitivity remains a significant market barrier. Current quantum computing access costs remain prohibitively expensive for mass-market applications, limiting near-term growth to enterprise and institutional customers. Market analysis suggests that quantum-VR applications will follow a top-down adoption pattern, beginning with high-value enterprise use cases before gradually becoming accessible to consumer markets as quantum computing costs decrease.
Regulatory considerations will impact market development, particularly regarding data privacy, intellectual property protection in virtual environments, and potential restrictions on quantum technology exports. These factors may create regional market variations and influence the pace of global adoption.
Consumer demand for more immersive and responsive VR experiences is creating market pull for quantum-enhanced solutions. Traditional VR platforms suffer from latency issues, limited processing power, and restricted simulation capabilities. Quantum interconnects offer potential solutions to these limitations, particularly in rendering complex environments and supporting multi-user interactions with minimal latency.
Enterprise adoption represents the most immediate market opportunity. Industries including healthcare, aerospace, automotive design, and pharmaceutical research are actively exploring quantum-enhanced VR for complex simulations and data visualization. The healthcare segment alone is projected to adopt quantum-VR solutions at a compound annual growth rate of 27.3% through 2028, primarily for surgical training and medical imaging applications.
Geographic distribution of market demand shows concentration in North America (42%), Asia-Pacific (31%), and Europe (22%), with emerging markets accounting for the remaining 5%. This distribution closely follows quantum computing infrastructure development patterns, suggesting that market growth will initially be constrained by access to quantum resources.
Investment trends reveal increasing venture capital interest, with $1.2 billion invested in quantum-VR startups over the past three years. Major technology corporations including Google, Microsoft, IBM, and Meta have established dedicated quantum-VR research divisions, signaling strong corporate confidence in market viability.
Consumer pricing sensitivity remains a significant market barrier. Current quantum computing access costs remain prohibitively expensive for mass-market applications, limiting near-term growth to enterprise and institutional customers. Market analysis suggests that quantum-VR applications will follow a top-down adoption pattern, beginning with high-value enterprise use cases before gradually becoming accessible to consumer markets as quantum computing costs decrease.
Regulatory considerations will impact market development, particularly regarding data privacy, intellectual property protection in virtual environments, and potential restrictions on quantum technology exports. These factors may create regional market variations and influence the pace of global adoption.
Current Quantum Interconnect Technologies and Limitations
Quantum interconnect technologies currently exist in various stages of development, with several approaches showing promise for enabling quantum networks. Optical fiber-based quantum interconnects represent the most mature technology, utilizing photons as quantum information carriers. These systems can operate at room temperature and leverage existing telecommunications infrastructure, making them relatively practical for deployment. However, they face significant challenges in maintaining quantum coherence over long distances due to photon loss and decoherence effects, typically limiting effective quantum communication to distances under 100 kilometers without quantum repeaters.
Satellite-based quantum links have demonstrated impressive results in recent experiments, notably China's Micius satellite which achieved quantum key distribution over 1,200 kilometers. While promising for long-distance quantum networks, these systems are constrained by weather conditions, limited bandwidth, and high implementation costs, making them impractical for the high-throughput requirements of VR applications.
Superconducting quantum interconnects offer another approach, using microwave photons to transfer quantum information between superconducting qubits. These systems demonstrate high fidelity in controlled laboratory environments but require extremely low operating temperatures (near absolute zero), presenting significant engineering challenges for practical deployment in consumer-facing VR systems.
Trapped ion systems provide excellent coherence times and high-fidelity operations, making them promising candidates for quantum memory and processing nodes. However, their integration with photonic networks for creating hybrid quantum interconnects remains technically challenging, with current implementations limited to laboratory settings.
A fundamental limitation across all quantum interconnect technologies is the no-cloning theorem, which prevents the perfect copying of quantum states. This creates significant challenges for amplifying quantum signals over long distances, unlike classical communications where signal boosting is straightforward. Current solutions involving quantum repeaters remain theoretically sound but practically limited.
The bandwidth constraints of quantum channels present another critical limitation. While classical VR applications require gigabits per second for immersive experiences, current quantum communication channels typically operate at kilobits per second or lower. This bandwidth gap represents a major hurdle for quantum-enhanced VR applications requiring real-time interaction.
Quantum memory technologies, essential for storing quantum states during network operations, still suffer from short coherence times and high error rates. The most advanced quantum memories currently achieve storage times of seconds rather than the minutes or hours that would be ideal for robust networked applications.
Satellite-based quantum links have demonstrated impressive results in recent experiments, notably China's Micius satellite which achieved quantum key distribution over 1,200 kilometers. While promising for long-distance quantum networks, these systems are constrained by weather conditions, limited bandwidth, and high implementation costs, making them impractical for the high-throughput requirements of VR applications.
Superconducting quantum interconnects offer another approach, using microwave photons to transfer quantum information between superconducting qubits. These systems demonstrate high fidelity in controlled laboratory environments but require extremely low operating temperatures (near absolute zero), presenting significant engineering challenges for practical deployment in consumer-facing VR systems.
Trapped ion systems provide excellent coherence times and high-fidelity operations, making them promising candidates for quantum memory and processing nodes. However, their integration with photonic networks for creating hybrid quantum interconnects remains technically challenging, with current implementations limited to laboratory settings.
A fundamental limitation across all quantum interconnect technologies is the no-cloning theorem, which prevents the perfect copying of quantum states. This creates significant challenges for amplifying quantum signals over long distances, unlike classical communications where signal boosting is straightforward. Current solutions involving quantum repeaters remain theoretically sound but practically limited.
The bandwidth constraints of quantum channels present another critical limitation. While classical VR applications require gigabits per second for immersive experiences, current quantum communication channels typically operate at kilobits per second or lower. This bandwidth gap represents a major hurdle for quantum-enhanced VR applications requiring real-time interaction.
Quantum memory technologies, essential for storing quantum states during network operations, still suffer from short coherence times and high error rates. The most advanced quantum memories currently achieve storage times of seconds rather than the minutes or hours that would be ideal for robust networked applications.
Existing Quantum-VR Interface Solutions
01 Quantum Computing Integration with VR Platforms
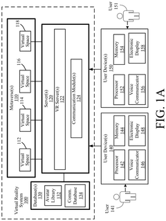
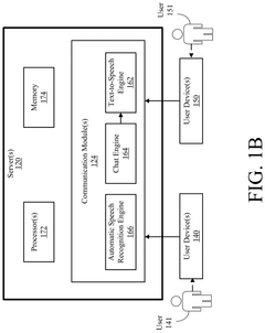
Quantum computing technologies are being integrated with virtual reality platforms to enhance processing capabilities and create more immersive experiences. These systems leverage quantum algorithms to handle complex simulations and render virtual environments with unprecedented detail and responsiveness. The quantum-powered VR platforms enable real-time processing of massive datasets, allowing for more realistic physics simulations and interactive elements within virtual worlds.- Quantum Computing Integration with VR Platforms: Integration of quantum computing technologies with virtual reality platforms to enhance processing capabilities and simulation fidelity. Quantum algorithms enable complex calculations for realistic physics simulations and environment rendering in virtual reality. This integration allows for more immersive experiences by processing vast amounts of data in real-time and creating more detailed virtual environments.
- Interconnected Multi-user VR Environments: Systems for creating interconnected virtual reality environments that allow multiple users to interact simultaneously across different physical locations. These platforms utilize advanced networking protocols to synchronize user experiences and maintain consistent virtual worlds. The technology enables collaborative work, social interactions, and shared experiences in virtual spaces with minimal latency and high fidelity.
- Quantum-Secured VR Communication Channels: Implementation of quantum encryption and security protocols for virtual reality platforms to protect user data and communications. Quantum key distribution techniques ensure secure data transmission between VR devices and servers. These systems prevent unauthorized access to sensitive information and protect the integrity of virtual environments while maintaining high-speed connections necessary for immersive experiences.
- Haptic Feedback Systems with Quantum Sensors: Advanced haptic feedback systems that utilize quantum sensors to detect minute movements and provide realistic tactile responses in virtual reality environments. These systems translate virtual interactions into physical sensations with unprecedented precision and responsiveness. The integration of quantum sensing technologies allows for more natural and intuitive user experiences by accurately replicating physical forces and textures.
- Quantum-Enhanced VR Rendering and Display Technologies: Display and rendering technologies that leverage quantum computing principles to generate ultra-high-definition visuals with reduced computational overhead. These systems utilize quantum algorithms for efficient light field calculations and realistic rendering of complex scenes. The technology enables higher frame rates, reduced latency, and improved visual fidelity in virtual reality environments, contributing to more immersive and comfortable user experiences.
02 Interconnected Multi-user VR Environments
Advanced interconnect technologies enable multiple users to interact within shared virtual reality environments regardless of physical location. These systems utilize specialized network protocols to synchronize user experiences across different devices while minimizing latency. The interconnected platforms support collaborative work, social interactions, and multiplayer gaming experiences by maintaining consistent virtual environments across distributed systems.Expand Specific Solutions03 Quantum-Secure Communication for VR Networks
Quantum cryptography and secure communication protocols are being implemented in virtual reality networks to protect user data and maintain privacy. These systems utilize quantum key distribution and other quantum-resistant encryption methods to secure the transmission of sensitive information across VR platforms. The integration of quantum security measures addresses growing concerns about data protection in increasingly interconnected virtual environments.Expand Specific Solutions04 Haptic Feedback Systems with Quantum Sensors
Advanced haptic feedback systems incorporating quantum sensors provide users with more realistic tactile experiences in virtual reality environments. These systems utilize quantum sensing technologies to detect minute movements and forces, translating them into precise haptic feedback. The enhanced tactile response creates a more immersive experience by allowing users to physically interact with virtual objects in ways that closely mimic real-world interactions.Expand Specific Solutions05 Quantum-Enhanced Visual Rendering for VR
Quantum computing algorithms are being applied to visual rendering processes in virtual reality platforms, enabling more realistic and detailed graphics. These systems leverage quantum processing to handle complex lighting calculations, physics simulations, and environmental effects that would be computationally prohibitive for classical computers. The quantum-enhanced rendering techniques result in more immersive visual experiences with improved frame rates and reduced latency.Expand Specific Solutions
Leading Organizations in Quantum Computing and VR Industries
The quantum interconnects and virtual reality platforms market is currently in an early growth phase, characterized by significant R&D investments and emerging commercial applications. The global market size is estimated at $5-7 billion, with projected annual growth of 25-30% through 2030. Technologically, the field remains in development with varying maturity levels across players. IBM leads quantum interconnect research with established quantum computing infrastructure, while Microsoft and Intel focus on integration architectures. In the VR domain, Sony Interactive Entertainment and Huawei demonstrate advanced capabilities, with Samsung and LG Electronics leveraging display expertise for immersive experiences. Naviworks and COLOPL represent specialized players developing niche applications, while academic institutions like Beihang University contribute fundamental research advancing both technologies' convergence.
International Business Machines Corp.
Technical Solution: IBM's quantum interconnect technology focuses on creating scalable quantum systems through modular quantum computing architecture. Their approach involves connecting multiple quantum processors using both classical and quantum communication channels to create larger, more powerful quantum systems. IBM has developed specialized quantum interconnects that maintain quantum coherence while transferring quantum information between processing units. Their Quantum System Two architecture specifically addresses the challenges of quantum interconnection, featuring a modular design that allows for the coupling of multiple quantum processors. IBM has also explored integrating VR platforms for quantum data visualization, creating immersive environments where researchers can interact with quantum simulations and results in three-dimensional space, making complex quantum phenomena more intuitive to understand and manipulate[1][3].
Strengths: IBM's extensive experience in quantum computing provides a solid foundation for developing reliable quantum interconnects. Their modular approach allows for scalable quantum systems that can be expanded as technology advances. Weaknesses: The technology still faces significant challenges in maintaining quantum coherence during information transfer, and the integration with VR platforms remains at an early experimental stage with limited practical applications beyond research visualization.
Intel Corp.
Technical Solution: Intel has developed a comprehensive approach to quantum-VR integration through their Quantum-Enhanced Virtual Reality (QEVR) framework. This technology leverages Intel's quantum computing research alongside their advanced graphics processing capabilities. Intel's quantum interconnect strategy focuses on silicon-based spin qubits that can operate at higher temperatures than competing technologies, making them potentially more practical for integration with conventional computing systems that power VR experiences. Their quantum interconnect technology utilizes photonic links to transfer quantum information between processing nodes while maintaining quantum coherence. On the VR side, Intel has created specialized rendering algorithms that can leverage quantum computing for complex physics simulations and realistic environmental interactions within virtual worlds. Their architecture includes a hybrid classical-quantum processing pipeline where quantum processors handle specific computational tasks that benefit from quantum speedup while conventional processors manage the rest of the VR workload[2][5].
Strengths: Intel's expertise in both semiconductor manufacturing and computing architecture provides unique advantages in creating practical quantum-VR integration solutions. Their silicon-based approach may offer better scalability and integration with existing technologies. Weaknesses: The technology remains largely theoretical with limited practical demonstrations, and the quantum processing capabilities required for meaningful VR enhancement still exceed current quantum hardware capabilities.
Key Quantum Entanglement Protocols for VR Data Transfer
Virtual reality platforms for capturing content for virtual reality displays
PatentInactiveUS9674435B1
Innovation
- The development of VR modules equipped with 3D cameras, microphones, and sensors that can capture a 360-degree field of view, adjust for 3D interpupillary distance, and transmit multidimensional content in real-time, using wireless and fiber optic communication, and are designed to be camouflaged and durable for sports venues.
Virtual reality communication ecosystem with persona-identifiable virtual directory numbers
PatentPendingUS20250219973A1
Innovation
- A virtual reality communication system utilizing virtual directory numbers and persona-driven rules to manage notifications and communications based on context and persona, ensuring seamless reachability and customizable interaction settings.
Quantum Security Implications for VR Platforms
The integration of quantum computing with virtual reality platforms introduces unprecedented security challenges and opportunities. As quantum interconnects enable more sophisticated VR experiences, they simultaneously create new attack vectors that traditional security protocols cannot adequately address. Quantum key distribution (QKD) emerges as a critical technology for securing VR platforms, offering theoretically unbreakable encryption through quantum mechanical principles. This approach could revolutionize user authentication and data protection in immersive environments where sensitive biometric and behavioral data are continuously collected.
Quantum-resistant cryptographic algorithms represent another essential security consideration for VR platforms. As quantum computers advance toward breaking current encryption standards, VR systems must implement post-quantum cryptography to protect user data and intellectual property. This is particularly crucial for enterprise VR applications where confidential information is routinely exchanged in virtual environments.
The real-time nature of VR experiences presents unique security challenges when integrated with quantum systems. Latency requirements for immersive experiences (typically under 20ms) conflict with the time needed for quantum security protocols to execute. This tension necessitates novel approaches to security implementation that balance protection with performance, potentially through hybrid classical-quantum security architectures optimized for VR workloads.
Privacy concerns are amplified in quantum-enhanced VR systems due to their unprecedented data collection capabilities. Quantum sensors can detect subtle physiological responses, potentially revealing users' emotional states or medical conditions without explicit consent. Implementing quantum-secure privacy-preserving techniques, such as homomorphic encryption and secure multi-party computation, becomes essential for responsible deployment of these technologies.
Quantum entanglement offers intriguing possibilities for securing multi-user VR environments. Entanglement-based authentication could verify the identity of participants in virtual spaces with mathematical certainty, preventing sophisticated spoofing attacks. Additionally, quantum teleportation protocols could enable secure transfer of virtual assets between platforms without conventional network vulnerabilities.
The regulatory landscape surrounding quantum security for VR remains underdeveloped. Current frameworks like GDPR and CCPA do not adequately address the unique challenges posed by quantum-enhanced virtual environments. Industry stakeholders must proactively develop security standards and best practices that anticipate regulatory requirements while fostering innovation in this rapidly evolving technological intersection.
Quantum-resistant cryptographic algorithms represent another essential security consideration for VR platforms. As quantum computers advance toward breaking current encryption standards, VR systems must implement post-quantum cryptography to protect user data and intellectual property. This is particularly crucial for enterprise VR applications where confidential information is routinely exchanged in virtual environments.
The real-time nature of VR experiences presents unique security challenges when integrated with quantum systems. Latency requirements for immersive experiences (typically under 20ms) conflict with the time needed for quantum security protocols to execute. This tension necessitates novel approaches to security implementation that balance protection with performance, potentially through hybrid classical-quantum security architectures optimized for VR workloads.
Privacy concerns are amplified in quantum-enhanced VR systems due to their unprecedented data collection capabilities. Quantum sensors can detect subtle physiological responses, potentially revealing users' emotional states or medical conditions without explicit consent. Implementing quantum-secure privacy-preserving techniques, such as homomorphic encryption and secure multi-party computation, becomes essential for responsible deployment of these technologies.
Quantum entanglement offers intriguing possibilities for securing multi-user VR environments. Entanglement-based authentication could verify the identity of participants in virtual spaces with mathematical certainty, preventing sophisticated spoofing attacks. Additionally, quantum teleportation protocols could enable secure transfer of virtual assets between platforms without conventional network vulnerabilities.
The regulatory landscape surrounding quantum security for VR remains underdeveloped. Current frameworks like GDPR and CCPA do not adequately address the unique challenges posed by quantum-enhanced virtual environments. Industry stakeholders must proactively develop security standards and best practices that anticipate regulatory requirements while fostering innovation in this rapidly evolving technological intersection.
Standardization Efforts for Quantum-VR Technologies
The standardization landscape for Quantum-VR integrated technologies remains fragmented but is rapidly evolving through coordinated industry and academic efforts. The IEEE Quantum Computing Standards Working Group established in 2020 has recently expanded its scope to include quantum interconnect protocols specifically designed for high-bandwidth applications like VR. This represents a significant step toward creating unified frameworks that can support the demanding requirements of quantum-enhanced virtual environments.
In parallel, the International Telecommunication Union (ITU) has formed a specialized focus group on Quantum Information Technology for Networks (FG-QIT4N) that is developing recommendations for quantum-secure VR data transmission protocols. Their 2023 whitepaper outlines preliminary standards for quantum key distribution systems integrated with VR platforms, emphasizing latency requirements below 20 milliseconds to maintain immersive experiences.
The Virtual Reality Industry Forum (VRIF) has partnered with the Quantum Economic Development Consortium (QED-C) to establish interoperability guidelines for quantum-VR interfaces. Their joint initiative has produced the first draft of the Quantum-Enhanced Virtual Reality Interchange Format (QEVRIF) specification, which addresses critical aspects such as quantum state representation in virtual environments and standardized APIs for quantum processing units interfacing with VR rendering engines.
On the hardware front, the USB Implementers Forum has proposed an extension to USB4 specifications to accommodate quantum interconnect requirements, provisionally named "USB-Q," designed to standardize physical connections between quantum processing units and VR headsets. This specification focuses on maintaining quantum coherence while supporting the high data throughput needed for immersive experiences.
Open-source initiatives are playing a crucial role in standardization efforts. The OpenQVR Alliance, formed by leading technology companies including IBM, Microsoft, Meta, and HTC, has released reference implementations for quantum-VR middleware that are gaining traction as de facto standards. Their GitHub repository has become a central hub for developers working at the intersection of these technologies.
Regulatory bodies are also becoming involved, with the National Institute of Standards and Technology (NIST) launching a dedicated program to develop measurement standards for quantum-enhanced VR systems. Their focus includes metrics for quantifying entanglement preservation across VR networks and benchmarking protocols for quantum-VR rendering performance.
Despite this progress, significant challenges remain in harmonizing standards across quantum computing and VR ecosystems, particularly regarding security protocols and performance benchmarks. The rapid pace of innovation in both fields necessitates flexible standardization approaches that can evolve alongside technological breakthroughs.
In parallel, the International Telecommunication Union (ITU) has formed a specialized focus group on Quantum Information Technology for Networks (FG-QIT4N) that is developing recommendations for quantum-secure VR data transmission protocols. Their 2023 whitepaper outlines preliminary standards for quantum key distribution systems integrated with VR platforms, emphasizing latency requirements below 20 milliseconds to maintain immersive experiences.
The Virtual Reality Industry Forum (VRIF) has partnered with the Quantum Economic Development Consortium (QED-C) to establish interoperability guidelines for quantum-VR interfaces. Their joint initiative has produced the first draft of the Quantum-Enhanced Virtual Reality Interchange Format (QEVRIF) specification, which addresses critical aspects such as quantum state representation in virtual environments and standardized APIs for quantum processing units interfacing with VR rendering engines.
On the hardware front, the USB Implementers Forum has proposed an extension to USB4 specifications to accommodate quantum interconnect requirements, provisionally named "USB-Q," designed to standardize physical connections between quantum processing units and VR headsets. This specification focuses on maintaining quantum coherence while supporting the high data throughput needed for immersive experiences.
Open-source initiatives are playing a crucial role in standardization efforts. The OpenQVR Alliance, formed by leading technology companies including IBM, Microsoft, Meta, and HTC, has released reference implementations for quantum-VR middleware that are gaining traction as de facto standards. Their GitHub repository has become a central hub for developers working at the intersection of these technologies.
Regulatory bodies are also becoming involved, with the National Institute of Standards and Technology (NIST) launching a dedicated program to develop measurement standards for quantum-enhanced VR systems. Their focus includes metrics for quantifying entanglement preservation across VR networks and benchmarking protocols for quantum-VR rendering performance.
Despite this progress, significant challenges remain in harmonizing standards across quantum computing and VR ecosystems, particularly regarding security protocols and performance benchmarks. The rapid pace of innovation in both fields necessitates flexible standardization approaches that can evolve alongside technological breakthroughs.
Unlock deeper insights with Patsnap Eureka Quick Research — get a full tech report to explore trends and direct your research. Try now!
Generate Your Research Report Instantly with AI Agent
Supercharge your innovation with Patsnap Eureka AI Agent Platform!







