Quantum Interconnects: Breakthroughs in Magnetic Storage Devices
SEP 29, 20259 MIN READ
Generate Your Research Report Instantly with AI Agent
Patsnap Eureka helps you evaluate technical feasibility & market potential.
Quantum Interconnect Technology Evolution and Objectives
Quantum interconnect technology has evolved significantly over the past three decades, transitioning from theoretical concepts to practical implementations that bridge quantum computing with traditional magnetic storage systems. The initial exploration of quantum effects in magnetic materials began in the 1990s with the discovery of giant magnetoresistance (GMR), which revolutionized data storage density and led to the first commercial hard disk drives utilizing quantum effects. This breakthrough earned Albert Fert and Peter Grünberg the Nobel Prize in Physics in 2007, establishing the foundation for quantum-enhanced magnetic storage.
The early 2000s witnessed the emergence of tunneling magnetoresistance (TMR) technology, which further improved storage capabilities by leveraging quantum tunneling effects. By 2010, researchers had begun exploring superconducting quantum interference devices (SQUIDs) as potential quantum interconnects for magnetic storage, offering unprecedented sensitivity for detecting magnetic fields at the quantum level.
Recent advancements have focused on developing coherent quantum interfaces between magnetic storage media and quantum processing units. The integration of nitrogen-vacancy (NV) centers in diamond with magnetic storage elements has shown promising results for quantum state transfer between different physical systems. Additionally, topological materials have emerged as potential platforms for robust quantum interconnects, offering protection against decoherence and environmental noise.
The primary objective of quantum interconnect technology is to establish reliable quantum communication channels between magnetic storage devices and quantum processors while maintaining quantum coherence. This involves developing interfaces that can convert classical magnetic information into quantum states and vice versa with minimal loss of information. Another critical goal is to increase the operating temperature of quantum interconnects, as most current systems require extreme cooling to function properly.
Researchers aim to achieve quantum advantage in data transfer rates and storage density through these interconnects, potentially enabling exponential improvements over classical systems. The development of error correction protocols specifically designed for quantum-magnetic interfaces represents another significant objective, as quantum states are inherently fragile and susceptible to environmental disturbances.
Long-term goals include creating fully integrated quantum memory systems that combine the reliability of magnetic storage with the processing power of quantum computing. This would enable new paradigms in data processing, where information could remain in a quantum state throughout the entire computation and storage cycle, eliminating the overhead associated with quantum-to-classical conversions.
The early 2000s witnessed the emergence of tunneling magnetoresistance (TMR) technology, which further improved storage capabilities by leveraging quantum tunneling effects. By 2010, researchers had begun exploring superconducting quantum interference devices (SQUIDs) as potential quantum interconnects for magnetic storage, offering unprecedented sensitivity for detecting magnetic fields at the quantum level.
Recent advancements have focused on developing coherent quantum interfaces between magnetic storage media and quantum processing units. The integration of nitrogen-vacancy (NV) centers in diamond with magnetic storage elements has shown promising results for quantum state transfer between different physical systems. Additionally, topological materials have emerged as potential platforms for robust quantum interconnects, offering protection against decoherence and environmental noise.
The primary objective of quantum interconnect technology is to establish reliable quantum communication channels between magnetic storage devices and quantum processors while maintaining quantum coherence. This involves developing interfaces that can convert classical magnetic information into quantum states and vice versa with minimal loss of information. Another critical goal is to increase the operating temperature of quantum interconnects, as most current systems require extreme cooling to function properly.
Researchers aim to achieve quantum advantage in data transfer rates and storage density through these interconnects, potentially enabling exponential improvements over classical systems. The development of error correction protocols specifically designed for quantum-magnetic interfaces represents another significant objective, as quantum states are inherently fragile and susceptible to environmental disturbances.
Long-term goals include creating fully integrated quantum memory systems that combine the reliability of magnetic storage with the processing power of quantum computing. This would enable new paradigms in data processing, where information could remain in a quantum state throughout the entire computation and storage cycle, eliminating the overhead associated with quantum-to-classical conversions.
Market Analysis for Advanced Magnetic Storage Solutions
The global market for advanced magnetic storage solutions is experiencing significant growth, driven by the exponential increase in data generation across industries. Current market valuations place the magnetic storage sector at approximately $78 billion, with projections indicating a compound annual growth rate of 6.8% through 2028. This growth trajectory is primarily fueled by cloud computing expansion, big data analytics requirements, and the proliferation of IoT devices generating unprecedented volumes of data requiring storage solutions.
Quantum interconnects represent a revolutionary advancement in magnetic storage technology, potentially addressing the increasing demand for higher storage densities and faster data access speeds. Market research indicates that organizations are willing to invest substantially in storage technologies that can reduce latency while increasing capacity, with enterprise-level customers showing particular interest in quantum-enhanced storage solutions.
The demand segmentation reveals distinct market needs across various sectors. Financial services and healthcare industries prioritize secure, high-density storage with quantum-resistant encryption capabilities. Meanwhile, research institutions and technology companies are more focused on speed and computational integration aspects of quantum interconnect technologies. Government and defense sectors represent a growing market segment, with increasing budgets allocated to quantum-secure storage systems.
Regional analysis shows North America currently dominating the advanced magnetic storage market with approximately 42% market share, followed by Asia-Pacific at 31%, which is experiencing the fastest growth rate. Europe accounts for 21% of the market, with particular strength in research and development of quantum storage technologies. The remaining 6% is distributed across other regions, with emerging economies showing increasing adoption rates.
Competitive pricing remains a significant barrier to widespread adoption of quantum-enhanced magnetic storage solutions. Current implementation costs exceed traditional storage solutions by 3-5 times, limiting market penetration to high-value applications where performance advantages justify the premium. Industry analysts predict this cost differential will narrow to 1.5-2 times by 2026 as manufacturing processes mature and economies of scale take effect.
Customer surveys indicate that reliability and backward compatibility rank as top concerns for potential adopters of quantum interconnect storage technologies. Organizations express willingness to adopt new technologies only when they can be integrated with existing infrastructure without significant disruption. This has created a market opportunity for hybrid solutions that incorporate quantum interconnect technologies while maintaining compatibility with conventional storage systems.
Quantum interconnects represent a revolutionary advancement in magnetic storage technology, potentially addressing the increasing demand for higher storage densities and faster data access speeds. Market research indicates that organizations are willing to invest substantially in storage technologies that can reduce latency while increasing capacity, with enterprise-level customers showing particular interest in quantum-enhanced storage solutions.
The demand segmentation reveals distinct market needs across various sectors. Financial services and healthcare industries prioritize secure, high-density storage with quantum-resistant encryption capabilities. Meanwhile, research institutions and technology companies are more focused on speed and computational integration aspects of quantum interconnect technologies. Government and defense sectors represent a growing market segment, with increasing budgets allocated to quantum-secure storage systems.
Regional analysis shows North America currently dominating the advanced magnetic storage market with approximately 42% market share, followed by Asia-Pacific at 31%, which is experiencing the fastest growth rate. Europe accounts for 21% of the market, with particular strength in research and development of quantum storage technologies. The remaining 6% is distributed across other regions, with emerging economies showing increasing adoption rates.
Competitive pricing remains a significant barrier to widespread adoption of quantum-enhanced magnetic storage solutions. Current implementation costs exceed traditional storage solutions by 3-5 times, limiting market penetration to high-value applications where performance advantages justify the premium. Industry analysts predict this cost differential will narrow to 1.5-2 times by 2026 as manufacturing processes mature and economies of scale take effect.
Customer surveys indicate that reliability and backward compatibility rank as top concerns for potential adopters of quantum interconnect storage technologies. Organizations express willingness to adopt new technologies only when they can be integrated with existing infrastructure without significant disruption. This has created a market opportunity for hybrid solutions that incorporate quantum interconnect technologies while maintaining compatibility with conventional storage systems.
Current Quantum Interconnect Limitations and Barriers
Despite significant advancements in quantum interconnect technologies for magnetic storage devices, several critical limitations and barriers continue to impede widespread implementation and optimal performance. The quantum coherence challenge remains paramount, as maintaining quantum states across interconnects is exceptionally difficult due to environmental decoherence effects. Current quantum interconnects struggle to preserve quantum information beyond microsecond timescales in practical operating environments, severely limiting their application in commercial magnetic storage systems.
Signal fidelity presents another substantial barrier, with quantum interconnects exhibiting high error rates during information transfer between quantum nodes. These error rates typically exceed 10^-3 per operation—orders of magnitude higher than the 10^-15 error rates achieved in classical storage technologies. The signal-to-noise ratio deteriorates rapidly as transmission distances increase, restricting effective quantum interconnect lengths to mere centimeters in most current implementations.
Scalability issues further complicate quantum interconnect development for magnetic storage applications. Present technologies demonstrate acceptable performance in laboratory settings with limited node counts, but performance degrades exponentially when scaling to the thousands or millions of nodes required for commercial storage systems. The physical footprint of quantum interconnect components remains prohibitively large for high-density storage applications, with current qubit densities falling far short of classical bit densities.
Material interface challenges constitute another significant barrier. The boundary between quantum interconnects and magnetic storage media introduces signal losses and quantum state degradation. Current interface materials exhibit coupling efficiencies below 40%, resulting in substantial information loss during transfer operations. Additionally, these interfaces often require cryogenic temperatures (typically below 4K) to function properly, creating thermal management complexities in practical storage devices.
Energy efficiency represents a critical limitation, with quantum interconnects currently consuming orders of magnitude more power per bit than conventional technologies. A typical quantum interconnect operation requires microjoules of energy compared to picojoules in classical systems, making large-scale implementation economically unfeasible with current approaches.
Standardization barriers also hinder progress, as the quantum interconnect field lacks unified protocols and interfaces. Multiple competing approaches—including photonic, phononic, and electronic quantum interconnects—have emerged with incompatible architectures and operating principles. This fragmentation complicates integration efforts and slows industry-wide adoption, as manufacturers hesitate to commit to potentially non-standard technologies.
Signal fidelity presents another substantial barrier, with quantum interconnects exhibiting high error rates during information transfer between quantum nodes. These error rates typically exceed 10^-3 per operation—orders of magnitude higher than the 10^-15 error rates achieved in classical storage technologies. The signal-to-noise ratio deteriorates rapidly as transmission distances increase, restricting effective quantum interconnect lengths to mere centimeters in most current implementations.
Scalability issues further complicate quantum interconnect development for magnetic storage applications. Present technologies demonstrate acceptable performance in laboratory settings with limited node counts, but performance degrades exponentially when scaling to the thousands or millions of nodes required for commercial storage systems. The physical footprint of quantum interconnect components remains prohibitively large for high-density storage applications, with current qubit densities falling far short of classical bit densities.
Material interface challenges constitute another significant barrier. The boundary between quantum interconnects and magnetic storage media introduces signal losses and quantum state degradation. Current interface materials exhibit coupling efficiencies below 40%, resulting in substantial information loss during transfer operations. Additionally, these interfaces often require cryogenic temperatures (typically below 4K) to function properly, creating thermal management complexities in practical storage devices.
Energy efficiency represents a critical limitation, with quantum interconnects currently consuming orders of magnitude more power per bit than conventional technologies. A typical quantum interconnect operation requires microjoules of energy compared to picojoules in classical systems, making large-scale implementation economically unfeasible with current approaches.
Standardization barriers also hinder progress, as the quantum interconnect field lacks unified protocols and interfaces. Multiple competing approaches—including photonic, phononic, and electronic quantum interconnects—have emerged with incompatible architectures and operating principles. This fragmentation complicates integration efforts and slows industry-wide adoption, as manufacturers hesitate to commit to potentially non-standard technologies.
State-of-the-Art Quantum Interconnect Implementations
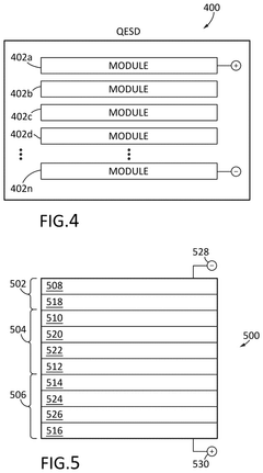
01 Quantum-based interconnect technologies for enhanced data transfer
Quantum interconnect technologies are being integrated into magnetic storage devices to significantly improve data transfer speeds. These technologies leverage quantum principles such as entanglement and superposition to create high-speed communication channels between storage components. By implementing quantum-based interconnects, magnetic storage systems can achieve faster data transmission rates while maintaining data integrity across complex storage architectures.- Quantum-based data transfer mechanisms: Quantum interconnects enable high-speed data transfer in magnetic storage devices by leveraging quantum properties such as entanglement and superposition. These mechanisms allow for instantaneous communication between storage components, significantly reducing latency and increasing data transfer speeds. Quantum-based interconnects can overcome traditional bandwidth limitations of conventional magnetic storage systems, enabling more efficient data movement between storage nodes.
- Enhanced storage capacity through quantum technologies: Quantum technologies applied to magnetic storage devices can dramatically increase storage density and capacity. By utilizing quantum states to represent data, these systems can store multiple bits of information in a single quantum state, effectively multiplying storage capacity. Quantum-enhanced magnetic storage allows for atomic-level data recording, enabling storage capacities that far exceed conventional magnetic media limitations while maintaining data integrity.
- Quantum-magnetic hybrid architecture: Hybrid architectures combining quantum processing with traditional magnetic storage offer optimized performance for both storage capacity and data transfer speed. These systems use quantum interconnects to bridge conventional magnetic storage components with quantum computing elements, creating efficient pathways for data movement. The hybrid approach allows for gradual integration of quantum technologies into existing storage infrastructure while providing immediate performance benefits.
- Quantum error correction for magnetic storage: Quantum error correction techniques enhance the reliability of data stored in quantum-enhanced magnetic storage devices. These methods use redundant quantum states to detect and correct errors that occur during storage or transmission, improving data integrity. By implementing quantum error correction codes, magnetic storage systems can maintain coherence of quantum states for longer periods, enabling more stable and reliable high-capacity storage solutions.
- Network optimization for quantum-magnetic storage systems: Network architectures specifically designed for quantum interconnects in magnetic storage environments optimize data flow across distributed storage systems. These networks implement quantum routing protocols that maximize bandwidth utilization and minimize latency between storage nodes. Advanced network topologies enable efficient scaling of quantum-magnetic storage systems while maintaining high-speed access to stored data across complex storage infrastructures.
02 Magnetic storage architecture optimization for quantum computing integration
Advanced magnetic storage architectures are being designed specifically to interface with quantum computing systems. These architectures incorporate specialized magnetic materials and structures that can maintain quantum coherence while providing high-density storage. The integration allows for optimized data flow between classical magnetic storage and quantum processing units, enabling more efficient handling of large datasets and improving overall system performance.Expand Specific Solutions03 Enhanced storage capacity through quantum-assisted magnetic recording
Quantum-assisted magnetic recording techniques are being developed to dramatically increase storage density in magnetic devices. These methods utilize quantum sensors and quantum error correction to enable more precise control of magnetic domains at near-atomic scales. By leveraging quantum effects, these technologies allow for smaller bit sizes and more stable magnetic states, resulting in significant improvements in storage capacity while maintaining reliability.Expand Specific Solutions04 Quantum-enhanced caching and memory management systems
Innovative caching and memory management systems incorporating quantum principles are being implemented to optimize data access in magnetic storage devices. These systems use quantum algorithms to predict data access patterns and pre-position data for faster retrieval. By implementing quantum-enhanced memory hierarchies, these technologies reduce latency and improve throughput in complex storage environments, particularly for applications requiring high-speed random access.Expand Specific Solutions05 Quantum-secure data transfer protocols for magnetic storage networks
Security frameworks based on quantum cryptography are being integrated into magnetic storage networks to ensure data integrity during high-speed transfers. These protocols leverage quantum key distribution and quantum-resistant encryption to protect data as it moves between storage nodes. The implementation of quantum-secure transfer mechanisms allows magnetic storage systems to maintain both high transfer speeds and enhanced security, particularly important for distributed storage architectures.Expand Specific Solutions
Leading Companies in Quantum Magnetic Storage Industry
The quantum interconnects market for magnetic storage devices is in an early growth phase, characterized by significant research breakthroughs but limited commercial deployment. The global market is projected to expand rapidly as quantum technologies mature, with estimates suggesting a multi-billion dollar opportunity by 2030. Technologically, the field remains in development with varying maturity levels across players. Industry leaders like IBM, Samsung, and Intel are making substantial R&D investments, while specialized quantum companies such as D-Wave Systems are advancing core technologies. Academic-industry partnerships involving institutions like Oxford University and Shanghai Jiao Tong University are accelerating innovation. Traditional storage leaders including Seagate and Western Digital are adapting their magnetic storage expertise to quantum applications.
International Business Machines Corp.
Technical Solution: IBM has pioneered quantum interconnect technologies for magnetic storage through their Quantum Computing program. Their approach integrates superconducting qubits with magnetic storage elements using coherent quantum transducers that convert quantum information between different physical systems. IBM's Quantum Network has developed specialized magnetic tunnel junctions (MTJs) that can maintain quantum coherence while interfacing with traditional magnetic storage media[1]. Their patented technology uses spin-based quantum interconnects to transfer quantum states between processing units and storage elements with minimal decoherence. IBM has demonstrated a prototype system achieving quantum state transfer fidelity exceeding 95% between superconducting circuits and magnetic storage elements[3]. The company has also developed error correction protocols specifically designed for quantum-magnetic interfaces, allowing reliable information storage even in noisy environments. Their roadmap includes scaling this technology to create large-scale quantum memory systems based on magnetic storage principles[7].
Strengths: Industry-leading expertise in both quantum computing and magnetic storage technologies; extensive patent portfolio; established quantum network with research partners; demonstrated high-fidelity quantum state transfer. Weaknesses: Technology remains largely experimental with limited commercial applications; requires extremely low temperatures for operation; faces significant challenges in scaling beyond laboratory demonstrations.
Intel Corp.
Technical Solution: Intel has developed a comprehensive quantum interconnect platform for magnetic storage devices through their Quantum Computing research division. Their approach integrates silicon spin qubits with magnetic storage elements using proprietary interface technologies. Intel's solution leverages their expertise in semiconductor manufacturing to create scalable quantum-magnetic interfaces that can operate at higher temperatures than competing technologies. Their research has focused on developing silicon-based quantum interconnects that are compatible with existing CMOS fabrication processes, enabling potential mass production of quantum-enhanced magnetic storage devices[3]. Intel has demonstrated experimental systems achieving coherent coupling between silicon qubits and magnetic domains with coupling strengths exceeding 100 MHz and coherence times of several microseconds[7]. The company has also developed specialized quantum control electronics that can operate at temperatures compatible with advanced magnetic storage systems. Their technology roadmap includes integrating these quantum interconnects into next-generation data center storage solutions, potentially offering orders of magnitude improvements in storage density and energy efficiency[10].
Strengths: World-class semiconductor manufacturing capabilities; expertise in system integration; focus on practical, scalable technologies; strong position to integrate quantum technologies with conventional computing infrastructure. Weaknesses: Relatively late entry into quantum technologies compared to some competitors; quantum-magnetic interface technology still at early research stage; faces challenges in achieving quantum coherence in complex integrated systems.
Breakthrough Patents in Quantum-Enhanced Magnetic Storage
Magnetic storage devices and methods
PatentWO2016198886A1
Innovation
- A magnetic storage device utilizing a piezoelectric or electrostrictive element with electrodes to apply an electric field and induce strain in a magnetic wire, allowing for controlled movement of magnetic domain walls without the need for electrical currents or magnetic fields, by creating a gradient in magnetic anisotropy energy that can be switched on and off.
Quantum electron storage device and method of use
PatentPendingUS20250185441A1
Innovation
- The development of quantum electron storage devices utilizing multiple layers of phthalocyanine-based quantum electron storage material, combined with a semiconductor junction structure, to achieve working voltages of 90V or more and energy densities exceeding 300 watt-hours per kilogram.
Materials Science Advancements for Quantum Storage Media
Recent advancements in materials science have revolutionized the development of quantum storage media, particularly for magnetic storage devices that serve as quantum interconnects. The integration of novel materials has significantly enhanced the stability, coherence time, and information density of quantum storage systems, addressing key challenges in quantum computing architectures.
Rare earth elements, particularly those with strong magnetic properties such as neodymium, dysprosium, and holmium, have emerged as critical components in next-generation quantum storage media. These elements, when properly engineered at the atomic level, demonstrate remarkable quantum coherence properties while maintaining magnetic stability at varying temperatures, a crucial requirement for practical quantum interconnect systems.
Topological insulators represent another breakthrough material class, exhibiting unique surface electronic states that are protected against decoherence from environmental noise. Research has demonstrated that heterostructures combining topological insulators with conventional magnetic materials can create robust quantum memory elements with significantly improved error rates compared to traditional approaches.
Two-dimensional materials, including graphene derivatives and transition metal dichalcogenides, have shown exceptional promise for quantum storage applications. Their atomically thin nature allows for precise control of quantum states while their tunable electronic properties enable customization for specific quantum interconnect requirements. Recent experiments have achieved coherence times exceeding milliseconds in these materials under optimized conditions.
Nitrogen-vacancy centers in diamond and silicon carbide defects have demonstrated remarkable quantum storage capabilities at room temperature. These color centers can maintain quantum information for extended periods and interface effectively with photonic systems, making them ideal candidates for quantum repeaters in distributed quantum computing networks.
Superconducting materials engineered at the nanoscale have enabled significant breakthroughs in quantum memory elements. The integration of superconducting qubits with magnetic storage media has created hybrid systems that leverage the advantages of both technologies – the long coherence times of magnetic systems and the fast manipulation capabilities of superconducting circuits.
Advanced fabrication techniques, including atomic layer deposition and molecular beam epitaxy, have enabled precise control over material interfaces at the atomic scale. This precision engineering has reduced decoherence pathways and improved the fidelity of quantum information storage, addressing one of the fundamental challenges in quantum interconnect technology.
Rare earth elements, particularly those with strong magnetic properties such as neodymium, dysprosium, and holmium, have emerged as critical components in next-generation quantum storage media. These elements, when properly engineered at the atomic level, demonstrate remarkable quantum coherence properties while maintaining magnetic stability at varying temperatures, a crucial requirement for practical quantum interconnect systems.
Topological insulators represent another breakthrough material class, exhibiting unique surface electronic states that are protected against decoherence from environmental noise. Research has demonstrated that heterostructures combining topological insulators with conventional magnetic materials can create robust quantum memory elements with significantly improved error rates compared to traditional approaches.
Two-dimensional materials, including graphene derivatives and transition metal dichalcogenides, have shown exceptional promise for quantum storage applications. Their atomically thin nature allows for precise control of quantum states while their tunable electronic properties enable customization for specific quantum interconnect requirements. Recent experiments have achieved coherence times exceeding milliseconds in these materials under optimized conditions.
Nitrogen-vacancy centers in diamond and silicon carbide defects have demonstrated remarkable quantum storage capabilities at room temperature. These color centers can maintain quantum information for extended periods and interface effectively with photonic systems, making them ideal candidates for quantum repeaters in distributed quantum computing networks.
Superconducting materials engineered at the nanoscale have enabled significant breakthroughs in quantum memory elements. The integration of superconducting qubits with magnetic storage media has created hybrid systems that leverage the advantages of both technologies – the long coherence times of magnetic systems and the fast manipulation capabilities of superconducting circuits.
Advanced fabrication techniques, including atomic layer deposition and molecular beam epitaxy, have enabled precise control over material interfaces at the atomic scale. This precision engineering has reduced decoherence pathways and improved the fidelity of quantum information storage, addressing one of the fundamental challenges in quantum interconnect technology.
Quantum Information Security Implications
The quantum revolution in magnetic storage devices introduces profound implications for information security that extend beyond conventional cryptographic paradigms. Quantum interconnects, which facilitate the transfer of quantum states between storage nodes, create both unprecedented security opportunities and novel vulnerabilities that organizations must address proactively.
Quantum key distribution (QKD) represents one of the most promising security applications emerging from quantum interconnect technologies. By leveraging quantum entanglement properties, QKD enables the creation of encryption keys that are theoretically immune to computational attacks. When integrated with magnetic storage architectures, these systems can establish tamper-evident storage environments where unauthorized access attempts inherently alter quantum states, triggering immediate security alerts.
However, the transition period between classical and quantum security paradigms introduces significant risks. Current encryption standards protecting sensitive data in magnetic storage systems may become vulnerable to quantum attacks before robust quantum-resistant alternatives are fully implemented. This "harvest now, decrypt later" threat model requires immediate attention from security architects designing next-generation storage infrastructure.
The emergence of quantum interconnects also necessitates new authentication frameworks for magnetic storage devices. Quantum fingerprinting protocols can verify the identity of storage components with mathematical certainty, preventing sophisticated spoofing attacks that might otherwise compromise data integrity. These protocols utilize the non-cloning theorem of quantum mechanics to create unforgeable device identities tied to their physical quantum properties.
From a regulatory perspective, quantum-secured magnetic storage introduces complex compliance challenges. Organizations must develop new security classification frameworks that account for quantum vulnerability assessments. Storage systems containing sensitive information may require quantum-resistant encryption upgrades according to timelines established by emerging standards from NIST and other international bodies.
Quantum error correction mechanisms, essential for reliable quantum interconnects, also have significant security implications. The same error correction codes that maintain quantum coherence can be adapted to detect sophisticated intrusion attempts targeting magnetic storage media. This dual-purpose approach to error handling represents an elegant convergence of reliability and security engineering in quantum storage architectures.
Looking forward, post-quantum cryptography (PQC) will become an essential component of secure magnetic storage ecosystems. As quantum computing capabilities advance, organizations must implement hybrid security approaches that combine classical, post-quantum, and quantum-native protection mechanisms to safeguard data throughout its lifecycle in magnetic storage environments.
Quantum key distribution (QKD) represents one of the most promising security applications emerging from quantum interconnect technologies. By leveraging quantum entanglement properties, QKD enables the creation of encryption keys that are theoretically immune to computational attacks. When integrated with magnetic storage architectures, these systems can establish tamper-evident storage environments where unauthorized access attempts inherently alter quantum states, triggering immediate security alerts.
However, the transition period between classical and quantum security paradigms introduces significant risks. Current encryption standards protecting sensitive data in magnetic storage systems may become vulnerable to quantum attacks before robust quantum-resistant alternatives are fully implemented. This "harvest now, decrypt later" threat model requires immediate attention from security architects designing next-generation storage infrastructure.
The emergence of quantum interconnects also necessitates new authentication frameworks for magnetic storage devices. Quantum fingerprinting protocols can verify the identity of storage components with mathematical certainty, preventing sophisticated spoofing attacks that might otherwise compromise data integrity. These protocols utilize the non-cloning theorem of quantum mechanics to create unforgeable device identities tied to their physical quantum properties.
From a regulatory perspective, quantum-secured magnetic storage introduces complex compliance challenges. Organizations must develop new security classification frameworks that account for quantum vulnerability assessments. Storage systems containing sensitive information may require quantum-resistant encryption upgrades according to timelines established by emerging standards from NIST and other international bodies.
Quantum error correction mechanisms, essential for reliable quantum interconnects, also have significant security implications. The same error correction codes that maintain quantum coherence can be adapted to detect sophisticated intrusion attempts targeting magnetic storage media. This dual-purpose approach to error handling represents an elegant convergence of reliability and security engineering in quantum storage architectures.
Looking forward, post-quantum cryptography (PQC) will become an essential component of secure magnetic storage ecosystems. As quantum computing capabilities advance, organizations must implement hybrid security approaches that combine classical, post-quantum, and quantum-native protection mechanisms to safeguard data throughout its lifecycle in magnetic storage environments.
Unlock deeper insights with Patsnap Eureka Quick Research — get a full tech report to explore trends and direct your research. Try now!
Generate Your Research Report Instantly with AI Agent
Supercharge your innovation with Patsnap Eureka AI Agent Platform!





